|
|
(21), (22) Заявка: 2007130548/11, 20.12.2005
(24) Дата начала отсчета срока действия патента:
20.12.2005
(30) Конвенционный приоритет:
10.01.2005 US 11/032,441
(43) Дата публикации заявки: 20.02.2009
(46) Опубликовано: 20.05.2010
(56) Список документов, цитированных в отчете о поиске:
US 2219226 А, 22.10.1940. SU 1705208 А1, 15.01.1992. SU 1794821 А1, 15.02.1993. US 1814619 А, 14.07.1931. US 3568819 А, 09.03.1971. US 2859873 А, 11.11.1958.
(85) Дата перевода заявки PCT на национальную фазу:
10.08.2007
(86) Заявка PCT:
US 2005/046384 20051220
(87) Публикация PCT:
WO 2006/076140 20060720
Адрес для переписки:
129090, Москва, ул. Б.Спасская, 25, стр.3, ООО “Юридическая фирма Городисский и Партнеры”, пат.пов. С.А.Дорофееву, рег. 146
|
(72) Автор(ы):
ПИРКОН Джон С. (US), ВЕСТФОЛЛ Роналд Э. (US), КЛАРК Грегори (US)
(73) Патентообладатель(и):
БЕНЕТЕК, ИНК. (US)
|
(54) УСТРОЙСТВО ЖЕЛОБА ДЛЯ ТОЧНОГО ПЕРЕНОСА СЫПУЧЕГО МАТЕРИАЛА
(57) Реферат:
Устройство (10) для переноса материала принимает поток материала от разгрузочного конвейера и перемещает этот материал к приемному конвейеру (18) через загрузочную трубу (28), конструкция и возможность перемещения которой позволяют избегать просыпания материала из приемного конвейера и излишнего образования пыли от перемещения материала. 6 н. и 15 з.п. ф-лы, 9 ил.
Предшествующий уровень техники
(1) Область техники, к которой относится изобретение
Настоящее изобретение относится к желобу для переноса сыпучего материала, который переносит поток материала с разгрузочного конвейера на отдельный приемный конвейер. В частности, настоящее изобретение относится к желобу для точного переноса, который принимает поток материала от разгрузочного конвейера и переносит этот материал на приемный конвейер и размещает поток материала на поверхность приемного конвейера точным образом, что позволяет избегать просыпания материала, позволяет избегать образования излишков пыли от переноса материала, уменьшает ухудшение материала, уменьшает напряжение и износ компонентов принимающего конвейера, посредством чего уменьшает стоимость технического обслуживания и ремонта и уменьшает потребляемые мощности приемного конвейера.
(2) Описание предшествующего уровня техники
Транспортирование сыпучего материала, например угля, из одной области в другую часто включает в себя перенос струи или потока материала от одного конвейерного устройства на другое конвейерное устройство. При переносе материала от одного конвейера на другой конвейер часто бывает необходимо материал разгружать с разгрузочного конца одного конвейера и перемещать на приемный конец другого конвейера. Для облегчения этого переноса сыпучих материалов были разработаны большие бункеры или желоба для переноса, которые принимают поток материала от разгрузочного конвейера и размещают или разгружают поток материала на приемный конвейер.
Конструкция желобов для переноса сыпучих материалов остается в основном неизменной в течение последних 50 лет. Обычный желоб для переноса имеет в общем коробчатую трапецеидальную конфигурацию с внутренними углами и краями, в которых могут накапливаться мелкий уголь и пыль и создавать опасность взрыва или воспламенения. Разгрузочный конвейер установлен у верхней части желоба, а приемный конвейер установлен у нижней части желоба. Верхний канал желоба для переноса имеет в общем прямоугольную форму с внутренними углами и краями и по меньшей мере одной плоской торцевой стенкой, расположенной напротив разгрузочного конца разгрузочного конвейера. Материал, например уголь, разгружаемый из разгрузочного конвейера, часто ударяется о плоскую торцевую стенку перед падением вниз во внутреннюю часть желоба под действием силы тяжести.
Уголь падает вниз через переходную секцию желоба. Переходная секция желоба имеет плоские боковые стенки, которые сходятся в скошенных внутренних углах и уменьшаются по мере их прохождения вниз, причем площадь поперечного сечения переходной секции желоба уменьшается при перемещении вниз.
Загрузочную секцию устанавливают под переходной секцией желоба. Загрузочная секция также имеет плоские боковые стенки со скошенным внутренними углами и внутренними поверхностями скольжения, которые направляют уголь в направлении и со скоростью приемного конвейера.
Загрузочное ограждение устанавливают на нижней части загрузочной секции. Загрузочное ограждение имеет боковые стенки, которые проходят вдоль участка длины приемного конвейера, и верхнюю стенку или крышку, которая проходит над участком ограждения приемного конвейера. Загрузочная секция желоба разгружает сыпучий материал на участок приемного конвейера внутри загрузочного ограждения. Боковые стенки загрузочного ограждения предотвращают просыпание угля со сторон конвейера, имеющего место в результате турбулентности материала, перемещаемого на конвейер, а верхняя стенка образует защитную камеру от пыли с боковыми стенками, чтобы свести к минимуму пыль, образующуюся из-за турбулентности. Турбулентность образуется в материале неуправляемым потоком материала через желоб и изменением скорости материала, когда материал, перемещающийся быстрее, соударяется с приемным конвейером, перемещающимся более медленно. Ограждение действует, чтобы сводить к минимуму образование пыли и просыпание сыпучего материала, который высыпают из нижней части загрузочной секции на приемный конвейер. Ограждение также предназначено для сведения к минимуму пыли, образуемой материалом, таким как уголь, засыпаемым через нижнюю часть загрузочной секции и соударяющимся с поверхностью приемного конвейера.
Резиновые уплотнения обычно выполняют вдоль внешних сторон боковых стенок ограждения, примыкающих к приемному конвейеру. Резиновые уплотнения прикрепляют к боковым стенкам ограждения с помощью устройства зажимного типа. Устройство удерживает резиновые уплотнения в контакте с приемным конвейером и образует уплотнение с приемным конвейером, которое предотвращает прохождение пыли от приемного конвейера. Резиновые уплотнения сконструированы как расходуемые детали и из-за их постоянного контакта с приемным конвейером при условии обеспечения эффективного уплотнения требуют регулярного технического обслуживания и частой замены. Кроме того, постоянное давление контакта уплотнений на приемный конвейер с обеих сторон конвейерной системы создает сопротивление трения на приемном конвейере, которое требует увеличения мощности источника движения приемного конвейера, таким образом увеличивая стоимость работы конвейера.
Описанный выше обычный желоб для переноса сыпучего материала имеет недостатки в некоторых отношениях. Сыпучий материал, разгружаемый из разгрузочного конвейера, который соударяется с желобом для переноса наверху внутренней части желоба, образует пыль, уменьшает размер материала, размещаемого в желобе, и вызывает износ стенки желоба, о которую ударяется материал. Соударение материала с внутренними поверхностями стенок и углами вызывает непрерывное накопление материала и может вызывать закупоривание желоба. Закупоривание останавливает поток материала через желоб и увеличивает риск опасности из-за потенциальной возможности возникновения огня или взрыва и увеличивает затраты на техническое обслуживание и ремонт, чтобы очищать закупорку. Материал, который падает через переходную секцию желоба, может распространять и вовлекать воздух, который несет пыль, через желоб и из желоба. В некоторых конструкциях переходной и загрузочной секций желоба свободное падение сыпучего материала через желоб и на поверхность приемного конвейера может вызывать износ конвейера и может создавать пыль или просыпание. Случайное протекание материала через желоб может вызывать загрузку материала со смещением от центра на поверхности приемного конвейера. Это часто приводит к просыпанию материала со сторон приемного конвейера, что увеличивает затраты на техническое обслуживание и ремонт для обслуживания ограждения, и представляет риск для надежности и опасность для здоровья из-за образования пыли, которую могут вдыхать люди, или может создавать опасность возникновения огня или взрыва. Необходимость в загрузочном ограждении на выходе переходной секции желоба также добавляет затраты на техническое обслуживание и ремонт и увеличивает полную стоимость и риск для общего состояния и безопасности желоба для переноса. Сопротивление движению ограждения на конвейере вызывает износ конвейера и ограждения и увеличивает потребляемые мощности конвейера. Сопротивление движению ограждения также требует ремонта ограждения и конвейера или более частой замены составных частей.
В управлении потоком и скоростью протекания материала через желоб были получены новые достижения посредством производимого с помощью компьютера моделирования дискретных компонентов (МДК). Моделирование дискретных компонентов учитывает размер частиц сыпучего материала и теоретический коэффициент трения, который моделирует изменяющиеся материалы внутренней облицовки желоба, чтобы предсказать поведение материала, когда он проходит через желоб. Угловой наклон внутренних стенок желоба выполняют и регулируют так, чтобы управлять скоростью прохождения сыпучего материала через желоб и поддерживать профиль сжатого материала, проходящего через желоб.
Хотя МДК оказалось удачным во многих применениях, этот способ конструирования желобов также имеет отдельные недостатки. МДК, когда его используют с обычной конструкцией желоба, применяет использование системы ограждения в загрузочной точке на приемном конвейере, с такими же компонентами и недостатками, как было описано ранее.
Кроме того, МДК основано на одном размере частиц сыпучего материала и коэффициенте трения, управляющем профилем материала и скоростью, когда он проходит через желоб. Часто эти конкретные критерии конструирования изменяются на протяжении предполагаемого срока службы системы обработки сыпучего материала. Часто при применении на энергетической установке размер частиц материала изменяется из-за изменения поставщиков угля и часто из-за рабочих характеристик оборудования, такого как угледробилки и грануляторы. Это изменение в размере частиц может приводить к необходимости реконструировать конструкцию желоба для точного управления скоростью и профилем прохождения материала через желоб. Условия окружающей среды, такие как высокое влагосодержание из-за условий проливного дождя и замерзания, неблагоприятно воздействуют на коэффициент трения между частицами сыпучего материала и поверхностями раздела внутренней части желоба. Это изменение коэффициента трения в результате изменяющихся условий окружающей среды приводит к неэффективности МДК в управлении скоростью материала.
Сущность изобретения
Устройство желоба для точного переноса сыпучего материала согласно настоящему изобретению преодолевает недостатки, связанные с известными желобами для переноса, обсуждавшимися выше, посредством создания регулируемой и новой конструкции желоба для переноса и загрузки, который переносит сыпучий материал с разгрузочного конвейера на приемный конвейер при управлении скоростью и профилем (формой) материала, исключая разрушение материала, уменьшая образование пыли, уменьшая накопление материала внутри желоба и уменьшая износ желоба для переноса и приемного конвейера. Желоб для переноса согласно изобретению также устраняет необходимость загрузочного ограждения, уменьшая в результате стоимость производства желоба для переноса, затраты на техническое обслуживание и ремонт, риск для безопасности и здоровья и потребление энергии. Конструкция желоба обеспечивает преимущества вертикального регулирования траектории потока желоба, чтобы он наилучшим образом подходил для состояния угля (то есть влажного или сухого). Влажный уголь может падать более вертикально, чтобы предотвращать накопление и регулировать скорость разгрузки на приемный конвейер. Горизонтальное регулирование также обеспечивает центральную загрузку приемного конвейера. Возможность регулирования позволяет избегать закупоривание желоба.
Устройство желоба для переноса сыпучего материала согласно настоящему изобретению состоит из изогнутого навеса, установленного на верхней части желоба, изогнутой или закругленной воронкообразной переходной секции и регулируемой, закругленной загрузочной трубы, установленной под переходной секцией. Составные части желоба для переноса выполнены из металла или другого износостойкого материала подобного типа и поддерживаются внешним каркасом. Разгрузочный конвейер переносит сыпучий материал, например уголь, в желоб для переноса у верхней части желоба, а приемный конвейер переносит материал, разгружаемый из нижней части желоба.
Секция навеса желоба для переноса имеет изогнутую конфигурацию. Навес установлен напротив разгрузочного конца разгрузочного конвейера и перенаправляет материал, разгружаемый из конвейера, в верхний канал переходной секции желоба. Секция навеса сконструирована так, что можно применять открывающееся устройство для обеспечения свободного доступа к внутреннему желобу. Такой способ доступа обеспечивает более низкие затраты на техническое обслуживание и ремонт и увеличенную надежность. Изогнутая форма навеса собирает материал и поддерживает его компактную форму. Навес является устойчивым к износу и уменьшает силы удара материала, вследствие этого сводя к минимуму ухудшение материала и образование пыли.
Переходная секция имеет верхний канал, который принимает материал, перенаправляемый навесом. Материал, перенаправляемый изогнутым навесом, скользит вниз через внутреннее пространство переходной секции. Переходная секция имеет в общем форму воронки с закругленными углами. Площадь поперечного сечения внутренней части переходной секции уменьшается при перемещении вдоль переходной секции вниз. Переходная секция сконструирована из вальцованных или закругленных пластин, которые обеспечивают скольжение материала через переходную секцию, чтобы концентрировать его в сжатый поток с профилем, имеющим уменьшенную площадь поперечного сечения, когда материал направлен вниз к нижней части переходной секции. Стенки переходной секции сконструированы с достаточным наклоном и изгибом, чтобы предотвращать накопление материала в переходной секции, даже если поток материала останавливают, останавливая приемный конвейер. Скошенные стенки переходной секции и уменьшающаяся площадь поперечного сечения переходной секции управляют потоком материала через секцию и сводят к минимуму объем воздуха в материале, сводят к минимуму накопление материала, сводят к минимуму разрушение материала и сводят к минимуму образование пыли благодаря уменьшенной турбулентности материала. Наклон стенок переходной секции вместе с материалами конструкции, такими как облицовочный материал, который улучшает скорость потока материала, управляют скоростью прохождения материала через секцию так, чтобы она соответствовала скорости приемного конвейера. Переходную секцию можно также оборудовать внутренней отклоняемой пластиной, которая помогает в управлении потоком материала через секцию, чтобы обеспечивать центральную загрузку материала на приемном конвейере.
Загрузочная труба устройства желоба для переноса установлена у нижней части переходной секции. Загрузочная труба имеет внутренний рассверленный канал с круглым поперечным сечением по его длине. Круглое поперечное сечение канала загрузочной трубы обеспечивает прохождение материала через трубу, чтобы удалять какое-либо образование и устранять какие-либо накопления материала в углах.
Отрезок загрузочной трубы изогнут при прохождении от переходной секции к приемному конвейеру. Отрезок изогнутой загрузочной трубы и ее регулируемый направленный вниз угол выполнены так, чтобы помещать материал, разгружаемый из трубы, на ленту конвейера под углом разгрузки, который сводит к минимуму удар материала о ленту, вследствие этого уменьшая повреждение от удара о ленту и сводя к минимуму образование пыли. Выпускной конец загрузочной трубы регулируется и по горизонтали, и по вертикали и имеет такие размеры и форму, чтобы равномерно располагать разгружаемый материал на приемном конвейере, по центру и с профилем или формой, подобными заключительному, заданному профилю материала на конвейере. Это сводит к минимуму вероятность просыпания с ленты.
Соединительный узел прикрепляет загрузочную трубу к концу нижней части переходной секции. Соединительный узел обеспечивает перемещение загрузочной трубы через дугообразный сегмент относительно устройства желоба для переноса. Резиновое уплотнение или кожух окружает соединение между загрузочной трубой и переходной секцией, чтобы обеспечивать первичное герметичное уплотнение от пыли. Внутри кожуха также выполнено вторичное уплотнение от пыли.
В предпочтительном варианте осуществления верхний конец загрузочной трубы соединен с нижним концом переходной секции шарнирным соединением. Цилиндрический нижний участок переходной секции меньше, чем цилиндрический верхний участок загрузочной трубы. Размер меньшего диаметра нижнего участка переходной секции относительно верхнего участка загрузочной трубы обеспечивает возможность продолжения загрузочной трубы наверх вокруг переходной секции, обеспечивая возможность свободного поворота загрузочной трубы относительно переходной секции.
Регулирующий механизм подсоединен между загрузочной трубой и переходной секцией желоба. Регулирование длины механизма регулирует угловое положение загрузочной трубы относительно переходной секции. Механизм обеспечивает угловое регулирование загрузочной трубы относительно приемного конвейера, вследствие этого обеспечивая возможность регулирования угла разгрузки материала из загрузочной трубы на ленту приемного конвейера. Угловое регулирование загрузочной трубы относительно приемного конвейера управляет скоростью потока материала через желоб и вследствие этого предотвращает закупоривание и сводит к минимуму просыпание материала, разгружаемого из трубы и помещенного на ленту конвейера.
Краткое описание чертежей
Дополнительные признаки устройства желоба для точного переноса сыпучего материала согласно изобретению изложены в следующем подробном описании устройства и на чертежах, на которых:
фиг.1 – вид сбоку устройства желоба для точного переноса сыпучего материала согласно изобретению, показанного расположенным между разгрузочным конвейером и приемным конвейером;
фиг.2 – вертикальная проекция, подобная виду фиг.1, но изображающая противоположный вид сбоку устройства желоба для переноса;
фиг.3 – вид сверху, изображающий относительные положения устройства желоба для переноса и разгрузочного конвейера и приемного конвейера;
фиг.4 – вид сзади верхнего участка устройства желоба для переноса;
фиг.5 – вид сверху переходной секции устройства;
фиг.6 – вид сбоку в разрезе переходной секции;
фиг.7 – частичный вид, изображающий нижний участок устройства;
фиг.8 – вид в плане вторичного уплотнения;
фиг.9 – вид сверху загрузочной трубы устройства.
Подробное описание предпочтительного варианта осуществления
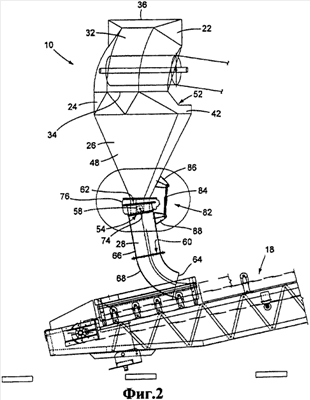
Фиг.1 и 2 представляют вариант осуществления устройства 10 желоба для точного переноса сыпучего материала согласно настоящему изобретению. Устройство 10 на фиг.1 опирается на схематично представленный каркас 14 между разгрузочным концом разгрузочного конвейера 16 и приемным концом приемного конвейера 18. Показанное снаружи устройство 10 согласно фиг.1, 2 и 3 используют для переноса сыпучего материала, например угля, из разгрузочного конвейера 16, установленного над устройством, на приемный конвейер 18, установленный под устройством. Следует понимать, что вид снаружи на фиг.1, 2 и 3, является только иллюстративным и не должен интерпретироваться как ограничительный. Как показано на фиг.1 и 2, устройство 10 для переноса сыпучего материала согласно изобретению в основном состоит из навеса 22, установленного на верхней части устройства, переходной секции 26, установленной под навесом 22, и загрузочной трубы 28, установленной под переходной секцией 26. Каждый из этих компонентов устройства образован или облицован металлом или другими типами материалов, которые являются устойчивыми к стиранию и износу. Разгрузочный конвейер 16 и приемный конвейер 18 показаны схематично для представления обычных конструкций ленточных конвейеров. С устройством желоба для переноса сыпучего материала согласно изобретению можно также использовать другие типы транспортирующих устройств.
Навес 22 показан на фиг.1, 2, 3 и 4. Навес 22 в основном состоит из вертикальной изогнутой стенки 32. Стенка 32 проходит в виде непрерывной искривленной поверхности от нижнего края 34 навеса, расположенного на переходной секции 26, и противоположного верхнего края 36 навеса, который расположен над верхним каналом переходной секции 26. Изогнутая вертикальная поверхность стенки 32 навеса направляет материал, передаваемый разгрузочным конвейером 16, в переходную секцию 26. Изогнутая вертикальная поверхность стенки 32 навеса перенаправляет сыпучий материал, например уголь, разгружаемый из разгрузочного конвейера 16, вниз в переходную секцию, уменьшая силу удара разгружаемого материала о внутреннюю поверхность навеса 22. Как лучше видно на фиг.2 и 3, стенка 32 навеса также имеет в общем горизонтальную изогнутую внутреннюю поверхность. Эта горизонтальная изогнутая стенка 32 навеса также действует для перенаправления и сведения к минимуму вовлеченного воздуха в сыпучем материале, разгружаемом из разгрузочного конвейера 16 вниз в переходную секцию 26.
Пара шарнирных узлов 38, показанных на фиг.1 и 4, соединяет нижний край 34 навеса с переходной секцией 26. Шарнирные узлы 38 обеспечивают возможность поворота навеса между первым положением, показанным на фиг.1, с верхним краем 36 навеса, расположенным непосредственно над переходной секцией 26, и вторым положением навеса относительно переходной секции 26, в котором навес 22 смещен к одной стороне переходной секцией 26. Во втором положении навеса 22 он свободен от разгрузочного конвейера 16 и переходной секции для технического обслуживания этих компонентов.
Переходная секция 26 поддерживает навес 22 на устройстве 10. Навес можно поддерживать другими отдельными конструкциями. Как лучше всего видно на фиг.3, верхняя часть переходной секции 26 имеет многоугольную форму, образованную множеством боковых стенок 42, которые окружают внутреннее пространство верхней части секции. Боковые стенки 42 определяют верхный канал внутреннего пространства желоба для переноса, которое проходит вниз в переходную секцию 26.
Фиг.5 представляет вид сверху переходной секции 26. Как показано на фиг.5, переходная секция 26 состоит из множества стеновых панелей, которые придают секции форму по существу воронки. Панели включают в себя множество удлиненных треугольных панелей 44, множество больших треугольных панелей 46 и в общем дугообразную панель 48, которые установлены рядом, чтобы определять округленную форму воронки переходной секции. Конфигурации и расположение панелей 44, 46, 48 определяют внутреннее пространство переходной секции 26, которая имеет площадь поперечного сечения, уменьшающуюся по мере прохождения переходной секции вниз от верхнего канала 52 к нижнему каналу 54 переходной секции. Множество панелей 44, 46, 48 образуют для переходной секции 26 внутреннюю поверхность, которая изогнута на всех сторонах переходной секции 26 непосредственно под навесом 22. Изогнутые поверхности предназначены для обеспечения падения материала через переходную секцию из верхнего канала 52 в нижний канал 54 для концентрации в поток с профилем уменьшенной площади поперечного сечения. Панели 44, 46, 48 можно облицовывать или образовывать из материалов, которые являются устойчивыми к стиранию или износу. Материал панелей специально выбирают так, чтобы он удовлетворял параметрам износостойкости, а также коэффициенту трения, который определяет скорость материала. Панели 44, 46, 48 переходной секции 26 создают с достаточным наклоном, чтобы предотвращать закупоривание и собирание материала в переходной секции. Комбинация наклонных панелей 44, 46, 48 переходной секции, уменьшающейся площади поперечного сечения переходной секции, коэффициента трения материала панелей и длины переходной секции управляет профилем материала и скоростью потока через секцию и сводит к минимуму вовлеченный воздух в материале, сводит к минимуму накопление материала, сводит к минимуму ухудшение материала и сводит к минимуму образование пыли из-за столкновений материала.
Отклоняющая пластина 56 прикреплена к внутренней части переходной секции 26. Отклоняющая пластина 56 расположена выше и центрирована относительно нижнего канала 54 переходной секции. Положение отклоняющей пластины определяется типом материала, который будет проходить через желоб, обычным объемом материала, подлежащим прохождению через желоб, и длиной вертикального перепада желоба с разгрузочного конвейера на приемный конвейер. Отклоняющая пластина 56 имеет -образную форму поперечного сечения с вершиной, направленной вверх, чтобы отклонять поток материала вокруг пластины и не образовывать полку, на которой материал может скапливаться. Пространство непосредственно под отклоняющей пластиной можно использовать, чтобы устанавливать другие устройства вне пути потока материала, чтобы избегать разрушения или повреждения устройств из-за контакта с потоком материала. Например, устройства, такие как устройства для противопожарной защиты, распределительные химические устройства, устройства управления и другие, можно устанавливать непосредственно под отклоняющей пластиной 56.
Отклоняющая пластина 56 расположена в центре переходной секции 26 по направлению к нижней части секции и непосредственно над кольцеобразным нижним каналом 54 секции. Отклоняющая пластина 56 действует, чтобы разъединять поток материала, когда он течет вниз по поверхности задней внутренней стенки переходной секции 26, отклоняя часть потока материала к каждой стороне нижнего канала 54 секции. Часть отклоненного материала будет течь обратно и возвращаться к задней стенке переходной секции, а часть материала будет течь свободно к передней части нижнего канала 54 секции. Такое функционирование отклоняющей пластины 56 обеспечивает равномерное распределение потока материала через нижний канал 54 переходной секции, уменьшая количество вовлеченного воздуха, проходящего с потоком материала.
В предпочтительном варианте осуществления размер диаметра нижнего канала 54 переходной секции образован с учетом эффекта соединения перемычкой, основанного на максимальном размере частиц материала, как определено стандартной практикой проектирования. Высота нижнего конца отклоняющей пластины 56, как показано на фиг.6, была определена экспериментальным путем, и она составляла полтора размера нижнего канала 54 переходной секции, чтобы учесть эффект соединения перемычкой наряду с уменьшенной скоростью материала, происходящей от соударения с отклоняющей пластиной 56.
Пара креплений шарнирных пальцев, имеющих коаксиально выровненные каналы 58, установлена на диаметрально противоположных сторонах переходной секции. Шарнирные крепления 58 установлены рядом с нижним каналом 54 переходной секции. Как будет объясняться, шарнирные крепления 58 используют в прикреплении загрузочной трубы 28 к переходной секции 26.
Как показано на фиг.1, 2 и 6, загрузочная труба 28 подвешена внизу переходной секции 26 устройства 10. Загрузочная труба 28 имеет полый внутренний рассверленный канал 60, который продолжается от впускного конца 62 трубы к выпускному концу 64 трубы. В предпочтительном варианте осуществления внутренний рассверленный канал 60 имеет круглую площадь поперечного сечения по всей длине загрузочной трубы от впускного конца 62 к выпускному концу 64. Также можно использовать некруглое поперечное сечение. Пара треугольных крыльевых направляющих 72 выступает наружу от выпускного конца 64 трубы. Как наилучшим образом видно на фиг.7, загрузочная труба 28 может состоять из множества верхних участков 66 и нижнего участка 68. Впускной конец 62 загрузочной трубы на верхнем участке 66 трубы окружает нижний канал 54 переходной секции с нижним каналом, расположенным во внутренней части загрузочной трубы 28. Пара коаксиальных шарнирных пальцев 74 выступает внутрь от диаметрально противоположных сторон от внутренней части верхнего участка 66 загрузочной трубы. Пальцы 74 зацеплены в каналах шарнирных креплений 58 на переходной секции 26. Пальцы загрузочной трубы 74 и шарнирные крепления 58 обеспечивают соединительный узел, который прикрепляет загрузочную трубу 28 к концу нижней части переходной секции 26. Шарнирное соединение обеспечивает возможность загрузочной трубе 28 поворачиваться по дуге относительно переходной секции 26 между первым и вторым положениями трубы 28, показанными пунктирными линиями на фиг.7. Можно использовать другие типы соединений, обеспечивающие возможность относительного перемещения между загрузочной трубой 28 и переходной секцией 26. Как наилучшим образом видно на фиг.7, нижний участок 68 загрузочной трубы продолжается по непрерывной кривой от верхнего участка 66 загрузочной трубы к выпускному концу 64 загрузочной трубы. Этот изогнутый участок загрузочной трубы 28 образован, чтобы помещать материал, разгружаемый из трубы на ленту приемного конвейера 18, под углом и со скоростью разгрузки, которая сводит к минимуму соударение материала с лентой и вследствие этого уменьшает повреждение от соударения с лентой и сводит к минимуму образование пыли. Способность загрузочной трубы 28 перемещаться относительно переходной секции 26 также обеспечивает возможность трубе устанавливать и профилировать разгружаемый материал правильно на ленте приемного конвейера 18, чтобы сводить к минимуму вероятность просыпания материала с ленты.
Пара крыльевых направляющих 72 образована на нижнем конце загрузочной трубы 28 на выпускном конце 64 трубы. Крыльевые направляющие 72 действуют для обеспечения направления для материала, когда он выходит из выпускного конца 64 загрузочной трубы, чтобы образовывать материал в его естественном профиле, когда его перемещают на приемный конвейер. В предпочтительном варианте осуществления высота крыльевых направляющих 72 на выпускном конце 64 загрузочной трубы и длина, до которой крыльевые направляющие продолжаются от выпускного конца, равны приблизительной высоте поперечного сечения материала, выходящего из выпускного конца трубы, как определено стандартной практикой проектирования. Для простоты изготовления и как определено экспериментальным путем, длина крыльевой направляющей равна высоте крыльевой направляющей. Как показано на виде сверху крыльевых направляющих 72 на фиг.9, крыльевые направляющие изогнуты наружу от центра выпускного конца 64 загрузочной трубы. Размер между отдаленными от центра заостренными концами крыльевых направляющих 72, как видно на фиг.9, равен обычной ширине профиля материала в естественном положении на приемном конвейере, как определено стандартной практикой проектирования.
Резиновое уплотнение или кожух 76 окружает соединение между загрузочной трубой 28 и переходной секцией 26. Уплотнение 76 обеспечивает пыленепроницаемое уплотнение между соединением загрузочной трубы 28 и переходной секцией 26.
Регулирующий механизм 82 подсоединен между загрузочной трубой 28 и переходной секцией 26 бункера устройства. В показанном примере регулирующий механизм 82 включает в себя линейный исполнительный механизм 84, который соединен шарнирными соединениями с фланцем 86, выступающим от переходной секции 26, и фланцем 88, выступающим от загрузочной трубы 28. Вместо исполнительного механизма 84 можно использовать другие механизмы, функционирующие подобным образом. Регулирование длины исполнительного механизма 84 регулирует угловое положение загрузочной трубы 28 относительно переходной секции 26. Таким образом, механизм 82 обеспечивает возможность для углового регулирования загрузочной трубы 28 относительно ленты приемного конвейера 18, посредством чего обеспечивая возможность регулирования угла разгрузки и скорости материала из загрузочной трубы 28 на ленту приемного конвейера 18. Как было установлено ранее, угловое регулирование загрузочной трубы 28 относительно приемного конвейера 18 сводит к минимуму просыпание материала, разгружаемого из трубы на ленту конвейера, сводит к минимуму накопление материала, сводит к минимуму износ ленты конвейера и сводит к минимуму образование пыли.
Кожух 76 действует как первичное уплотнение между переходной секцией 26 и загрузочной трубой 28. Как показано на фиг.7, верхняя часть первичного уплотнения 76 закреплена вокруг кругового фланца 92 на переходном желобе 26 двухсекционным круговым зажимом 94. Нижний конец первичного уплотнения 76 закреплен вокруг загрузочной трубы 28 другим двухсекционным круговым зажимом 96. Первичное уплотнение 76 действует так, чтобы устранять какой-либо выброс пыли, просачивающейся из гибкого шарнирного соединения между переходной секцией 26 и загрузочной трубой 28. Первичное уплотнение 76 предпочтительно сконструировано из химически стойкой непроницаемой перегородки, такой как нейлоновый материал с полихлорвиниловым покрытием, но не ограниченной этим. В дополнение к химической стойкости этот материал должен быть устойчивым к погодным условиям и ультрафиолетовому излучению для наружных применений. Фактические свойства материала необходимо определять стандартной практикой проектирования, основанной на конкретных применениях. Непроницаемая перегородка 76 свободно обернута вокруг переходной секции 26 на своем верхнем конце и загрузочной трубы 28 на своем нижнем конце, чтобы обеспечивать возможность свободного перемещения загрузочной трубы 28 относительно соединений 74 шарнирного пальца. Концы первичного уплотнения 76 можно термически изолировать, обматывать лентой или склеивать, чтобы образовывать непрерывную замкнутую поверхность вокруг переходной секции 26 и загрузочной трубы 28.
Вторичное уплотнение 102 обеспечено внутри основного уплотнения 76 и между переходной секцией 26 и загрузочной трубой 28. Вторичное уплотнение 102 также действует для уменьшения выброса пыли на гибком шарнирном соединении между переходной секцией 26 и загрузочной трубой 28.
Круговой фланец 104 приварен к верхнему концу передающей трубы 28. Через фланец 104 обеспечен круг болтовых каналов. Круговое вторичное уплотнение 102, показанное на фиг.8, установлено на фланце 104. Круговое стопорное кольцо 106, подобное по конструкции круговому фланцу 104, прикреплено на верхней части вторичного уплотнения 102 множеством болтов.
Как видно на фиг.9, вторичное уплотнение 102 имеет центральный канал, который имеет размер приблизительно на четыре дюйма канал, чем внешний диаметр цилиндрического нижнего канала 54 переходной секции 26. Множество прорезей 108 прорезано в уплотнении, чтобы обеспечивать возможность вставлять цилиндрический нижний канал 54 переходной секции 26 через вторичное уплотнение 102. Круглый канал и перекрывающиеся края вторичного уплотнения 102 с наружной стороной цилиндрического нижнего канала 54 переходной секции образуют эластичное полупроницаемое уплотнение, обеспечивающее возможность свободного перемещения загрузочной трубы 28 относительно шарнирных соединений 74 к переходной секции 26.
Фиг.7 и 9 показывают горизонтальные регулирующие фланцы 112, 114, которые обеспечивают возможность регулирования горизонтального положения выпускного конца 64 загрузочной трубы 28. Горизонтальные регулирующие фланцы включают в себя верхний фланец 112, который прикреплен к нижнему концу верхнего участка 66 загрузочной трубы, и нижний фланец 114, который прикреплен к верхнему концу нижнего участка 68 загрузочной трубы. Каждый из фланцев 112, 114 имеет наборы продолговатых каналов, которые в пространственном отношении выполнены вдоль окружности фланцев. Фиг.9 показывает продолговатые каналы 116 во фланце 114 нижнего участка 68 загрузочной трубы. Выровненные каналы двух фланцев 112, 114 скреплены вместе резьбовыми крепежными деталями, например гайками и болтами. Продолговатая форма каналов фланцев обеспечивает возможность нижнему участку 68 загрузочной трубы перемещаться относительно верхнего участка 66 загрузочной трубы до ограничительного предела к горизонтальному положению выпускного конца 64 загрузочной трубы над приемным конвейером 18. Если необходимо большее горизонтальное регулирование положения выпускного конца 64 загрузочной трубы, резьбовые крепежные детали можно удалить из каналов двух фланцев 112, 114, и фланцы смогут вращаться друг относительно друга, чтобы перестроить другие каналы двух фланцев для регулирования положения нижнего участка 68 загрузочной трубы относительно верхнего участка 66 загрузочной трубы и вследствие этого регулировать горизонтальное положение выпускного конца 64 загрузочной трубы.
Хотя устройство по изобретению было описано выше относительно конкретного варианта осуществления изобретения, следует понимать, что для раскрытого устройства можно выполнять изменения и модификации, не выходя за рамки объема последующей формулы изобретения.
Формула изобретения
1. Устройство для переноса материала, содержащее переходную секцию, имеющую боковую стенку, окружающую внутреннее пространство переходной секции, причем переходная секция имеет верхний канал, сообщающийся с внутренним пространством, и нижний канал, соединенный с внутренним пространством, причем верхний канал имеет такие форму и размеры, чтобы обеспечивать доступ к разгрузочному конвейеру, транспортирующему материал к переходной секции, и разгрузку материала с разгрузочного конвейера через верхний канал переходной секции во внутреннее пространство переходной секции, загрузочную трубу, имеющую отрезок трубы с противоположными впускным и выпускным концами и полый внутренний канал, проходящий через загрузочную трубу, причем внутренний канал загрузочной трубы имеет такую форму поперечного сечения, которая устраняет какие-либо углы из внутреннего канала, в которых может накапливаться материал, проходящий через загрузочную трубу, и соединительный узел, соединяющий впускной конец загрузочной трубы с переходной секцией у нижнего канала переходной секции, обеспечивая непрерывное перемещение материала от переходной секции к загрузочной трубе и перемещение загрузочной трубы между первым и вторым положениями загрузочной трубы относительно переходной секции при непрерывном прохождении материала через загрузочную трубу для регулируемого размещения выпускного конца загрузочной трубы во множестве различных ориентаций, чтобы регулировать скорость разгрузки материала из выпускного конца загрузочной трубы.
2. Устройство по п.1, в котором загрузочная труба расположена непосредственно под нижним каналом переходной секции и над приемным конвейером, причем выпускной конец загрузочной трубы выполнен с возможностью регулируемого размещенным относительно приемного конвейера, чтобы регулировать скорость потока материала из загрузочной трубы на приемный конвейер.
3. Устройство по п.2, дополнительно содержащее упругое уплотнение между впускным концом загрузочной трубы и нижним каналом переходной секции.
4. Устройство по п.2, в котором загрузочная труба имеет такую форму поперечного сечения между впускным концом загрузочной трубы и впускным концом, чтобы размещать материал, разгружаемый из загрузочной трубы, на приемный конвейер, с таким профилем, который подобен заданному профилю осажденного материала на приемном конвейере.
5. Устройство по п.2, в котором впускной конец загрузочной трубы расположен над нижним каналом переходной секции, а нижний канал переходной секции расположен внутри внутреннего канала загрузочной трубы.
6. Устройство по п.1, в котором соединительный узел включает в себя механизм, подсоединенный между переходной секцией и загрузочной трубой, который выполнен с возможностью перемещения загрузочной трубы между первым и вторым положениями относительно переходной секции.
7. Устройство по п.1, в котором соединительный узел включает в себя шарнирное соединение между переходной секцией и загрузочной трубой.
8. Устройство по п.1, в котором соединительный узел включает в себя пару коаксиально выровненных шарнирных пальцев, соединяющих загрузочную трубу с переходной секцией.
9. Устройство для переноса материала, содержащее переходную секцию, имеющую боковую стенку, окружающую внутреннее пространство переходной секции, причем переходная секция имеет верхний канал, сообщающийся с внутренним пространством, и нижний канал, сообщающийся с внутренним пространством, причем верхний канал образован и имеет такие размеры, чтобы обеспечивать доступ к разгрузочному конвейеру, транспортирующему материал к переходной секции, и выгрузку материала из разгрузочного конвейера через верхний канал переходной секции во внутреннее пространство переходной секции, загрузочную трубу, имеющую отрезок трубы с противоположными впускным и выпускным концами и полый внутренний канал, проходящий через загрузочную трубу, соединительный узел, соединяющий впускной конец загрузочной трубы с переходной секцией у нижнего канала переходной секции для перемещения загрузочной трубы между первым и вторым положениями загрузочной трубы относительно переходной секции для регулируемого размещения выпускного конца загрузочной трубы во множестве различных ориентаций, чтобы регулировать скорость разгрузки материала из выпускного конца загрузочной трубы, при этом соединительный узел включает в себя механизм, подсоединенный между переходной секцией и загрузочной трубой, которая выполнена с возможностью перемещения загрузочной трубы между первым и вторым положениями относительно переходной секции, а механизм является линейным исполнительным механизмом, подсоединенным между переходной секцией и загрузочной трубой.
10. Устройство для переноса материала, содержащее переходную секцию, имеющую боковую стенку, окружающую внутреннее пространство переходной секции, причем переходная секция имеет верхний канал, сообщающийся с внутренним пространством, и нижний канал, сообщающийся с внутренним пространством, причем верхний канал имеет такие форму и размеры, чтобы обеспечивать доступ к разгрузочному конвейеру, транспортирующему материал к переходной секции, и разгрузку материала с разгрузочного конвейера через верхний канал переходной секции во внутреннее пространство переходной секции, загрузочную трубу, имеющую отрезок трубы с противоположными впускным и выпускным концами и полый внутренний канал, проходящий через загрузочную трубу, соединительный узел, соединяющий впускной конец загрузочной трубы с переходной секцией у нижнего канала переходной секции для перемещения загрузочной трубы между первым и вторым положениями загрузочной трубы относительно переходной секции для регулируемого размещения выпускного конца загрузочной трубы во множестве различных ориентаций, чтобы регулировать скорость разгрузки материала из выпускного конца загрузочной трубы, и отрезок загрузочной трубы, образованный в виде непрерывной кривой между впускным и выпускным концами загрузочной трубы.
11. Устройство для переноса материала, содержащее переходную секцию, имеющую боковую стенку, окружающую внутреннее пространство переходной секции, причем переходная секция имеет верхний канал, сообщающийся с внутренним пространством, и нижний канал, сообщающийся с внутренним пространством, причем верхний канал имеет такие форму и размеры, чтобы обеспечивать доступ к разгрузочному конвейеру, транспортирующему материал к переходной секции, и разгрузку материала из разгрузочного конвейера через верхний канал переходной секции во внутреннее пространство переходной секции, загрузочную трубу, имеющую отрезок трубы с противоположными впускным и выпускным концами и полый внутренний канал, проходящий через загрузочную трубу, соединительный узел, соединяющий впускной конец загрузочной трубы с переходной секцией у нижнего канала переходной секции для перемещения загрузочной трубы между первым и вторым положениями загрузочной трубы относительно переходной секции для регулируемого размещения выпускного конца загрузочной трубы во множестве различных ориентаций, чтобы регулировать скорость разгрузки материала из выпускного конца загрузочной трубы, при этом соединительный узел включает в себя механизм, подсоединенный между переходной секцией и загрузочной трубой, который выполнен с возможностью перемещения загрузочной трубы между первым и вторым положениями относительно переходной секции, а механизм имеет длину, которая проходит между переходной секцией и загрузочной трубой, причем длина механизма является регулируемой для перемещения загрузочной трубы относительно переходной секции в ответ на изменение длины механизма.
12. Устройство для переноса материала, содержащее переходную секцию, имеющую боковую стенку, окружающую внутреннее пространство переходной секции, причем переходная секция имеет верхний канал, сообщающийся с внутренним пространством, и нижний канал, сообщающийся с внутренним пространством, при этом верхний канал имеет такие форму и размеры, чтобы обеспечивать доступ к разгрузочному конвейеру, транспортирующему материал к переходной секции, и выгрузку материала из разгрузочного конвейера через верхний канал переходной секции во внутреннее пространство переходной секции, загрузочную трубу, имеющую отрезок трубы с противоположными впускным и выпускным концами и полый внутренний канал, проходящий через загрузочную трубу, упругое первичное уплотнение между переходной секцией и загрузочной трубой, и упругое вторичное уплотнение между переходной секцией и загрузочной трубой и внутри первичного уплотнения.
13. Устройство по п.12, в котором первичное уплотнение прикреплено к переходной секции и прикреплено к загрузочной трубе, а загрузочная труба выполнена с возможностью перемещения относительно переходной секции.
14. Устройство по п.13, в котором вторичное уплотнение прикреплено к загрузочной трубе с возможностью перемещения с загрузочной трубой.
15. Устройство по п.14, в котором вторичное уплотнение является плоским кольцевым уплотнением.
16. Устройство по п.15, в котором первичное уплотнение является цилиндрическим уплотнением.
17. Устройство по п.12, дополнительно содержащее отклоняющую пластину внутри переходной секции, причем -образное поперечное сечение с вершиной, направленной вверх.
18. Устройство для переноса материала, содержащее переходную секцию, имеющую боковую стенку, окружающую внутреннее пространство переходной секции, причем переходная секция имеет верхний канал, сообщающийся с внутренним пространством, и нижний канал, сообщающийся с внутренним пространством, при этом верхний канал имеет такие форму и размеры, чтобы обеспечивать доступ к разгрузочному конвейеру, транспортирующему материал к переходной секции, и выгрузку материала из разгрузочного конвейера через верхний канал переходной секции во внутреннее пространство переходной секции, загрузочную трубу, имеющую отрезок трубы с противоположными впускным и выпускным концами и полый внутренний канал, проходящий через загрузочную трубу, причем загрузочная труба имеет круглое поперечное сечение вдоль отрезка загрузочной трубы от впускного конца загрузочной трубы к выпускному концу загрузочной трубы, причем отрезок загрузочной трубы сформирован в виде непрерывной кривой от впускного конца загрузочной трубы к выпускному концу загрузочной трубы.
19. Устройство по п.18, в котором кривизна загрузочной трубы располагает выпускной конец загрузочной трубы в заданной ориентации для разгрузки материала из выпускного конца загрузочной трубы на приемный конвейер.
20. Устройство по п.19, дополнительно содержащее соединительный узел, соединяющий загрузочную трубу с переходной секцией для перемещения загрузочной трубы между первым и вторым положениями относительно переходной секции.
21. Устройство по п.20, в котором соединительный узел включает в себя шарнирное соединение между загрузочной трубой и переходной секцией, которое обеспечивает загрузочной трубе возможность поворота по дуге между первым и вторым положениями загрузочной трубы относительно переходной секции.
РИСУНКИ
|
|