|
(21), (22) Заявка: 2007148537/11, 27.12.2007
(24) Дата начала отсчета срока действия патента:
27.12.2007
(43) Дата публикации заявки: 10.07.2009
(46) Опубликовано: 20.05.2010
(56) Список документов, цитированных в отчете о поиске:
ШАРОВ П. Первая в истории миссия к Плутону. Новости космонавтики, 3, 2006. RU 2293688 С1, 20.02.2007. RU 2236993 C2, 27.09.2004. US 5152482 A, 06.10.1992. FR 2649667 A1, 18.01.1991. US 3907225 A, 23.09.1975.
Адрес для переписки:
141400, Московская обл., г. Химки, ул. Ленинградская, 24, Научно-производственное объединение им. С.А. Лавочкина, начальнику патентного отдела И.И. Раб
|
(72) Автор(ы):
Полищук Георгий Максимович (RU), Пичхадзе Константин Михайлович (RU), Моишеев Александр Александрович (RU), Кудряшов Виктор Алексеевич (RU), Скрябин Марк Иванович (RU), Поляков Александр Борисович (RU)
(73) Патентообладатель(и):
Федеральное государственное унитарное предприятие “Научно-производственное объединение им. С.А. Лавочкина” (RU)
|
(54) КОСМИЧЕСКИЙ МОДУЛЬ
(57) Реферат:
Изобретение относится к конструкции космических модулей массой до 100 120 кг, предназначенных для создания мини- и микроспутников, запускаемых на орбиты ИСЗ как попутная полезная нагрузка или групповым методом. Модуль содержит несущую конструкцию с силовыми элементами (2), выполненную в виде правильной треугольной призмы. Один торец несущей конструкции перекрыт шестиугольной платформой (4) с габаритными размерами, большими размеров торца конструкции. Платформа выполнена в виде плоской трехслойной панели с несущими слоями и заполнителем. В осевом проеме несущей конструкции размещена двигательная установка со сферическим топливным баком (27), на котором установлено три блока двигателей (28). Радиаторы-излучатели (10) в виде прямоугольных трехслойных панелей с сотовым заполнителем и сложенные солнечные батареи (18) размещены параллельно боковым стенкам несущей конструкции (1). Платформа и радиаторы-излучатели снабжены тепловыми трубами для сброса избыточного тепла в космическое пространство. Часть тепловых труб проложена внутри сотового заполнителя платформы. Блоки бортовой аппаратуры (16) размещены между несущей конструкцией и торцом платформы (4). Средства радиосвязи (23) размещены на внешних элементах конструкции модуля. На концах силовых элементов (2) размещены узлы соединения (24) для крепления модуля к системе разделения смежного блока космической головной части. Техническим результатом изобретения является разработка космического модуля как конструктивной базы для создания мини- и микроспутников различного назначения, обеспечивающей эффективный сброс избыточного тепла в космическое пространство в широких диапазонах ориентации аппарата относительно Солнца и Земли. 8 з.п. ф-лы, 12 ил.
Заявляемое изобретение относится к космической технике, а именно к устройству космических модулей массой до 100 120 кг, предназначенных для создания малоразмерных мини- и микроспутников различного назначения, запускаемых на ОИСЗ как попутная полезная нагрузка с более массивными космическими аппаратами или групповым запуском нескольких малоразмерных аппаратов.
Известно техническое решение космического модуля для создания миниспутника для группового или попутного запуска (см. патент РФ 2293688, МПК B64G 1/10, опубл. 20.02.2007 г.). Это решение содержит несущую конструкцию – корпус, выполненный в форме призмы, основание которой выполнено в форме равнобедренной трапеции. Внутри несущей конструкции – корпуса и частично снаружи несущей конструкции размещена бортовая аппаратура. Кроме того, космическая платформа в этом техническом решении снабжена системой энергопитания, источник электрической энергии которой выполнен в виде двух солнечных батарей, каждая из которых выполнена из шарнирно соединенных друг с другом корневой и концевой панелей. Корневые панели солнечных батарей закреплены на боковой панели – стенке корпуса, а свободные концы концевых панелей солнечных батарей соединены между собой и закреплены к противоположной боковой стенке корпуса. При этом в сложенном положении на этапе выведения в космическое пространство панели солнечных батарей охватывают на близком расстоянии три из четырех боковых стенок корпуса, а четвертая стенка корпуса используется для крепления платформы к адаптеру, для чего на этой боковой стенке размещаются узлы соединения с системой разделения. При таком взаимном размещении панелей и корпуса достигается высокая плотность компоновки космического модуля.
При разработке мини-спутника на базе этого решения космического модуля целевая аппаратура спутника размещается внутри несущей конструкции – корпуса и частично снаружи него. Однако при использовании этого технического решения разместить на боковых стенках (панелях) корпуса некоторые виды целевой аппаратуры космических аппаратов, отличающихся значительными габаритами, не представляется возможным, так как на этапе выведения практически вплотную к боковым стенкам корпуса прилегают панели солнечных батарей, а размещение значительных по габаритам блоков целевой аппаратуры на основаниях корпуса приводит к необходимости значительного увеличения их размеров. Кроме того, в этом решении функционально не проработаны проблемы терморегулирования бортовой и целевой аппаратуры, а отсутствие в этом решении двигательной установки не дает возможности использования этого решения для разработки космических аппаратов, способных после отделения от ракетоносителя или более массивного космического аппарата совершать орбитальные маневры.
Наиболее близким аналогом заявляемому решению является решение космического модуля, использованного для разработки космического аппарата для полета к Плутону (см. П.Шаров. Первая в истории миссия к Плутону, «Новости космонавтики», 3, 2006 г.), в соответствии с которым космический модуль содержит несущую конструкцию, платформу, систему терморегулирования со средством отвода тепла в космическое пространство, систему энергопитания с источником электрической энергии и бортовую аппаратуру.
Кроме перечисленных элементов, это решение содержит двигательную установку, включающую сферический топливный бак, размещенный в осевом проеме несущей конструкции, и двигатели.
Несущая конструкция в этом техническом решении выполнена в виде цилиндра из алюминиевых сплавов. Осевой проем цилиндра ориентирован вдоль продольной оси космического аппарата.
Кроме указанных элементов, рассматриваемое техническое решение содержит корпус, выполненный из сотовых панелей, содержащих несущие слои и размещенный между ними сотовый заполнитель. Сотовые панели выполнены из алюминиевых сплавов. Конструктивно корпус аппарата представляет собой несимметричную шестиугольную призму, составленную из боковых стенок и двух платформ – оснований призмы, перекрывающих торцы несущей конструкции. Платформы этого технического решения выполнены в виде плоских панелей в форме шестиугольников. Несущая конструкция – цилиндр этого технического решения помещена внутри корпуса. Габаритные размеры платформ выбраны большими, чем габаритные размеры несущей конструкции. Так платформа, перекрывающая верхнее основание призмы, выполнена сплошной, полностью перекрывающей верхний торец основания корпуса. Платформы выполнены в виде шестиугольников, периметр которых составлен из чередующихся при его обходе коротких и длинных сторон.
Как указывалось выше, рассматриваемый аналог снабжен системой терморегулирования, системой энергопитания и бортовой аппаратурой. Система терморегулирования рассматриваемого космического аппарата включает средство отвода тепла в космическое пространство для сброса избыточного тепла от бортовой аппаратуры, размещенной внутри корпуса. Средство отвода тепла в космическое пространство в этом техническом решении выполнено в виде жалюзей, размещенных на нижней платформе модуля.
Система энергопитания этого технического решения снабжена источником электрической энергии. В этом решении источник электрической энергии выполнен в виде радиоизотопного генератора, размещенного за пределами корпуса модуля.
Бортовая аппаратура этого решения размещена внутри призмы космического аппарата.
В состав двигательной установки включен сферический топливный бак и реактивные двигатели. Топливный бак модуля размещен внутри несущей конструкции в ее осевом проеме. В этом техническом решении двигатели двигательной установки скомпонованы в восемь блоков, которые размещены по периметру корпуса модуля.
Кроме указанных систем, космический аппарат снабжен средствами радиосвязи, астроориентации, блоками научной аппаратуры.
Рассматриваемое техническое решение целесообразно использовать при разработке космических аппаратов массой 400 кг и более. Однако для использования этого решения в конструкции небольших космических аппаратов с массой, не превышающей 100 кг, и предназначенных, в основном, для попутных запусков с более массивными космическими аппаратами, это решение не является эффективным. В основном это объясняется значительной массой конструкции космического аппарата, а именно наличием, кроме несущей конструкции, массивного корпуса. Значительны и габариты модуля. Кроме того, размещение средств сброса избыточного тепла в космическое пространство на одной из платформ в процессе управления космическим аппаратом, разработанным на базе этого модуля, требует длительных периодов полета аппарата с ориентацией, обеспечивающей ориентацию этой платформы в затененную от солнечного излучения полусферу, что достигается, например, при длительных межпланетных перелетах.
Компоновка двигательной установки, включающей размещение топливного бака в осевом проеме несущей конструкции в сочетании с размещением двигателей по периметру корпуса модуля, ведет к увеличению габаритов модуля и его массы за счет увеличения массы трубопроводов и других коммуникаций топливной системы.
Однако использовании этого решения на орбитах искусственного спутника Земли с высотой орбиты до 600 700 км в сочетании с требованиями по длительной ориентации исследовательской аппаратуры спутника в определенном направлении сброс избыточного тепла от бортовой аппаратуры становится неэффективным, так как средства сброса избыточного тепла в космическое пространство при этом длительное время могут находиться под воздействием солнечного излучения.
Технической задачей, решаемой предлагаемым решением космического модуля, является разработка космического модуля, обеспечивающего создание на его базе мини- и микроспутников различного назначения, способных работать в широких диапазонах ориентации относительно Солнца, в сочетании с его небольшими габаритами и небольшой массой конструкции, допускающей эффективный сброс избыточного тепла в космическое пространство в широких диапазонах ориентации аппарата относительно Солнца и Земли.
Указанная техническая задача заявляемым космическим модулем решается следующим образом.
Известен космический модуль, содержащий несущую конструкцию, снабженную осевым проемом и размещенную вдоль продольной оси аппарата, платформу, систему терморегулирования со средством отвода тепла в космическое пространство, систему энергопитания с источником электрической энергии, бортовую аппаратуру, двигательную установку со сферическим топливным баком, размещенным в осевом проеме несущей конструкции, и двигателями.
Платформа известного космического модуля выполнена в виде плоской трехслойной панели с несущими слоями и заполнителем. Платформа выполнена в форме шестиугольника с габаритными размерами, большими габаритных размеров несущей конструкции в поперечном направлении. Периметр платформы составлен из чередующихся при его обходе коротких и длинных сторон. Платформа в известном решении размещена с перекрытием верхнего торца несущей конструкции и снабжена размещенным по ее центру вырезом, в который частично введен топливный бак двигательной установки.
В заявляемом техническом космическом модуле новым является то, что несущая конструкция выполнена в форме прямой призмы с основанием в виде правильного треугольника. Боковые стенки несущей конструкции ориентированы параллельно длинным сторонам платформы, а вдоль ее ребер пропущены продольные силовые элементы.
Кроме того, в заявляемом решении космического модуля система терморегулирования модуля снабжена тремя каскадами тепловых труб, а средство отвода тепла в космическое пространство выполнено в виде трех радиаторов-излучателей. В заявляемом решении каскады выполнены с обеспечением возможности теплового контакта между тепловыми трубами первого и второго каскадов и второго и третьего каскадов. Радиаторы-излучатели выполнены в виде прямоугольных трехслойных панелей с сотовым заполнителем, они размещены параллельно боковым стенкам несущей конструкции. Тыльные стороны радиаторов-излучателей присоединены впритык к торцам длинных сторон платформы.
В заявляемом решении модуля тепловые трубы первого и второго каскадов проложены внутри сотового заполнителя платформы. Тепловые трубы первого каскада на большей части своей длины проложены между боковыми стенками несущей конструкции и торцом платформы с обеспечением теплового контакта с несущими слоями панели платформы. Тепловая труба второго каскада на большей части своей длины размещена вдоль торцов длинных сторон платформы. Тепловые трубы третьего каскада проложены внутри сотового заполнителя радиаторов-излучателей с обеспечением теплового контакта с несущими слоями панелей радиаторов-излучателей. Упомянутая бортовая аппаратура в заявляемом решении установлена на платформе между несущей конструкцией и торцом платформы.
Кроме того, в заявляемом решении двигатели двигательной установки могут быть сгруппированы в три блока, размещенных на топливном баке напротив продольных силовых элементов несущей конструкции модуля.
Кроме того, в соответствии с заявляемым решением модуля источник электроэнергии может быть выполнен в виде трех панелей солнечных батарей, выполненных с возможностью их раскладывания, при этом в сложенном положении панели солнечных батарей уложены у радиаторов системы терморегулирования, а в разложенном положении развернуты параллельно платформе.
Кроме того, в соответствии с заявляемым решением модуля космический модуль может быть снабжен продольными силовыми стойками, размещенными за радиаторами-излучателями с небольшим наклоном к ним. Один конец стоек при этом может быть закреплен на платформе, а другой их конец соединен с радиатором-излучателем, панелью солнечной батареи и через стержни с продольными силовыми элементами несущей конструкции модуля.
Кроме того, в соответствии с заявляемым решением продольные силовые элементы несущей конструкции модуля могут быть выполнены в виде швеллеров Н-образного профиля, два ребра которого отогнуты наружу профиля.
Кроме того, космический модуль может быть снабжен узлами соединения с системой разделения смежного блока головной космической части. Эти узлы соединения с системой разделения целесообразно разместить на концах продольных силовых элементов несущей конструкции модуля.
В заявляемом решении наиболее целесообразно как длинные стороны платформы, так и короткие стороны платформы выполнить одинаковых размеров, а вершины платформы выполнить с округлением по одинаковому радиусу.
Выполнение средства сброса тепла в космическое пространство в заявляемых решениях космического модуля в виде трех прямоугольных радиаторов-излучателей, их выполнение в виде прямоугольных панелей и размещение параллельно боковым стенкам несущей конструкции, выполненной в виде правильной треугольной призмы, дает возможность эффективно производить сброс тепла в космическое пространство практически при любой ориентации космического модуля относительно Солнца, что значительно расширяет возможности модуля, позволяя на его базе разрабатывать космические аппараты различного назначения. При этом размещение тепловыделяющей бортовой аппаратуры на плоской трехслойной панели с несущими слоями и заполнителем из алюминиевых сплавов между несущей конструкцией и торцом платформы в сочетании с наличием трех каскадов тепловых труб, первые два из которых проложены внутри сотового заполнителя платформы, а третий размещен внутри сотового заполнителя радиаторов-излучателей, обеспечивает эффективную передачу избыточного тепла от бортовой аппаратуры к радиаторам излучателям.
Предложенная в заявляемом решении конструктивная схема космического модуля, включающая выполнение платформы в форме шестиугольника с периметром, составленным из чередующихся при его обходе коротких и длинных сторон, в сочетании с присоединением радиаторов-излучателей тыльными сторонами впритык к торцам длинных сторон платформы и размещением тепловой трубы второго каскада преимущественно вдоль длинных сторон платформы позволяет обеспечить перенос тепла от бортовой аппаратуры к радиаторам-излучателям с минимальными затратами массы, не используя в составе конструктивно-силовой схемы традиционного для конструкции космических аппаратов корпуса. Дополнительное снижение массы конструкции модуля может быть достигнуто группировкой двигателей двигательной установки в три блока и размещением блоков двигателей непосредственно на топливном баке напротив продольных силовых элементов несущей конструкции модуля, что существенно снижает массу трубопроводов двигательной установки.
Конструктивно-силовую схему модуля целесообразно дополнить при этом продольными силовыми стойками, размещенными за радиаторами-излучателями с небольшим наклоном к ним, при этом один конец стоек целесообразно закрепить на платформе, а другой их конец соединить с радиатором-излучателем, панелями солнечных батарей и через стержни с продольными силовыми элементами несущей конструкции модуля, что повышает общую жесткость конструкции, не приводя к существенному увеличению ее массы. Кроме того, снабжение космического модуля узлами соединения с системой разделения смежного блока головной космической части и размещение их на концах продольных силовых элементов несущей конструкции в сочетании со стержнями, стягивающими концы стоек и продольные силовые элементы, обеспечивает оптимальную передачу инерционных нагрузок на этапе выведения модуля на орбиту ИСЗ, что также снижает массу модуля.
Снижению массы модуля способствует и выполнение продольных силовых элементов в виде швеллеров Н-образного профиля, два ребра которого отогнуты наружу профиля. При этом соединение отогнутых ребер профиля с боковыми стенками несущей конструкции, а неотогнутых со стержнями дополнительно снижает массу конструкции.
Кроме того, предлагаемое решение обеспечивает разработку компактной конструкции модуля, что обеспечивается выполнением несущей конструкции в форме правильной треугольной призмы, торец которой перекрыт платформой с габаритами, превышающими габаритные размеры несущей конструкции в поперечном направлении в сочетании с радиаторами-излучателями, параллельными стенкам несущей конструкции, присоединенными к торцам платформы, и размещением блоков бортовой аппаратуры в зазоре между боковыми стенками несущей конструкцией и радиаторами-излучателями.
Снабжение платформы вырезом, размещенном в ее центре, позволяет ввести в этот вырез часть топливного бака, что позволяет уменьшить продольный габаритный размер модуля на 3 6%.
Повышению компактности заявляемому решению способствует и выполнение трех панелей солнечных батарей с возможностью их раскладывания, при этом в сложенном положении панели солнечных батарей целесообразно уложить у радиаторов системы терморегулирования, а в разложенном положении развернуть параллельно платформе.
Уменьшает габаритные размеры платформы и повышает компактность модуля и выбор одинаковых размеров длинных сторон платформ, одинаковых размеров коротких сторон платформ. При этом вершины периметра платформы целесообразно выполнить с округлением одинаковым радиусом.
Проектные проработки авторов показывают возможность разработки на базе заявляемого космического модуля космических аппаратов массой не более 100 кг, включающей научную аппаратуру массой до 60 кг. С использованием заявляемого космического модуля могут быть разработаны микроспутники различного функционального назначения: для проведения исследований по изучению Солнца и солнечно-земных связей, по наблюдению малых тел Солнечной системы, по проведению экспериментов в области астрофизики, для наблюдения Земли из космоса в интересах фундаментальных космических исследований и т.д.
Заявляемое решение космического модуля иллюстрируются следующими материалами:
фиг.1 – аксонометрическое изображение модуля со стороны двигательной установки (панели солнечных батарей сложены);
фиг.2 – модуль космический, вид снизу (панели солнечных батарей разложены);
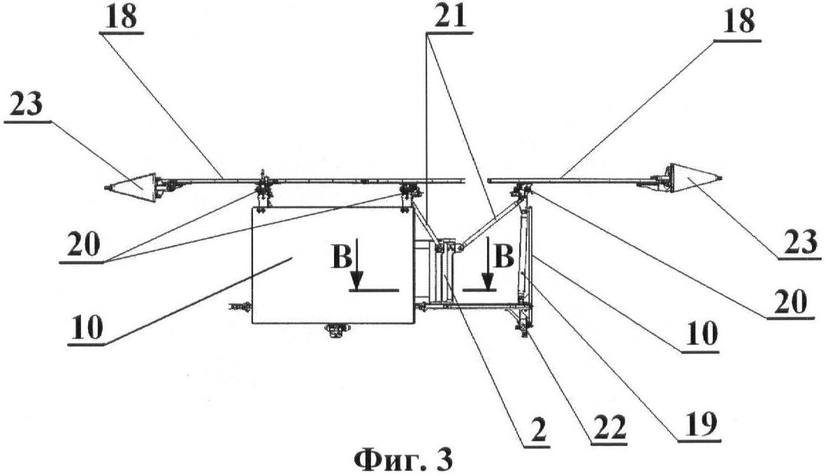
фиг.3 – модуль космический, вид сбоку;
фиг.4 – схема размещения тепловых труб первого и второго каскадов на платформе (двигательная установка условно не показана);
фиг.5 – схема размещения тепловых труб в радиаторе-излучателе (один из несущих слоев и сотовый заполнитель панели радиатора-излучателя условно не показаны);
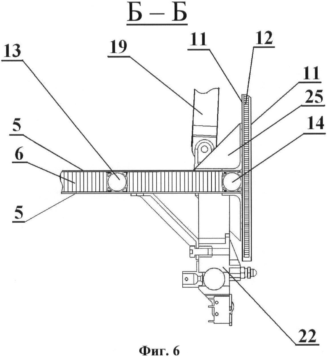
фиг.6 – схема присоединения радиаторов-излучателей к торцу длинной стороны платформы (разрез Б-Б с фиг.4);
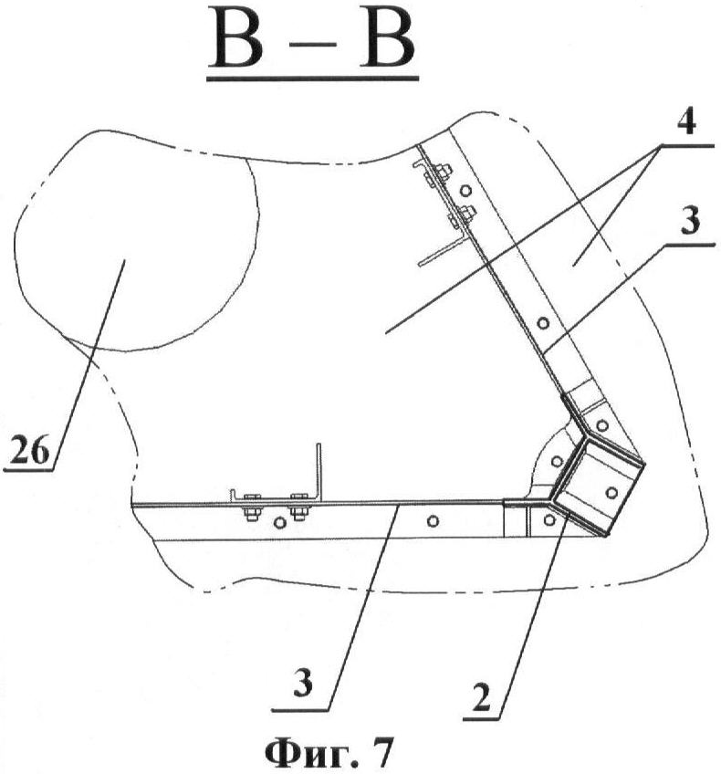
фиг.7 – продольный силовой элемент, разрез В-В с фиг.3;
фиг.8 – сечение продольного силового элемента в увеличенном масштабе;
фиг.9 – разрез модуля по продольной силовой стойке, разрез Г-Г с фиг.2;
фиг.10 – разрез модуля по баку двигательной установки (разрез Д – Д с фиг.2).
фиг.11 – аксонометрическое изображение модуля снизу с установленной бортовой аппаратурой;
фиг.12 – аксонометрическое изображение модуля со стороны платормы.
Заявляемое решение космического модуля устроено следующим образом.
Космический модуль содержит несущую конструкцию 1, выполненную в виде прямой призмы с основанием в виде правильного треугольника. Вдоль ребер призмы – несущей конструкции, пропущены продольные силовые элементы 2 (см. фиг.1, 7, 9), а боковые грани зашиты боковыми стенками 3 (см. фиг.2, 7, 10). Продольные силовые элементы 2 наиболее целесообразно выполнить, как показано на фиг.7, 8, 9 в виде Н-образного профиля, два ребра 7 которого отогнута наружу, как показано на фиг.8. Неотогнутые концы профиля соединены с боковыми стенками 3 несущей конструкции 1. Несущая конструкция 1 снабжена осевым проемом.
Кроме того, космический модуль в соответствии с заявляемым решением снабжен платформой 4. Платформа 4 выполнена в виде плоской трехслойной панели с несущими слоями 5 и заполнителем 6 (см. фиг.6, 9, 10). Наиболее целесообразно выполнить панель платформы из алюминиевых сплавов. Платформа 4 выполняется в форме шестиугольника. Габаритные размеры платформы выбираются большими, чем габаритные размеры основания несущей конструкции в поперечном направлении, при этом платформа 4 соединена с верхним торцом несущей конструкции с его перекрытием, что обеспечивает зазор между боковыми стенками несущей конструкции и торцом платформы 4.
В соответствии заявляемым решением периметр платформы составлен из чередующихся при его обходе коротких 8 и длинных 9 сторон. Боковые стенки 3 несущей конструкции 1 ориентированы параллельно длинным сторонам 9 платформы 4. Наиболее целесообразно длинные стороны платформы выполнить одинакового размера. Короткие стороны платформы также целесообразно выполнить одинакового размера. При этом вершины платформы целесообразно выполнить с округлением по одинаковому радиусу.
Космический модуль снабжается двигательной установкой, включающей сферический топливный бак 27 и двигатели (см. фиг.1, 2, 10, 11. 12). Топливный бак 27 размещается внутри осевого проема несущей конструкции 1 космического модуля. В центре платформы выполняется вырез 26 в форме круга, в который частично вводится топливный бак двигательной установки, как показано на фиг.10. Введение вершины топливного бака в центральный вырез на величину h, как показано на фиг.10, позволяет уменьшить габаритный размер модуля вдоль продольной оси. Между топливным баком 27 и торцом выреза 26 платформы целесообразно оставить небольшой зазор d, который может составлять 3 6 мм.
Двигатели двигательной установки целесообразно сгруппировать в три блока 28, размещенных на топливном баке напротив продольных силовых элементов 2 несущей конструкции модуля.
Кроме этого, космический модуль снабжен системой терморегулирования со средством отвода тепла в космическое пространство и тремя каскадами тепловых труб.
Средство отвода тепла в космическое пространство выполнено в виде трех радиаторов-излучателей 10, выполненных в виде прямоугольных трехслойных панелей, включающих несущие слои 11 и сотовый заполнитель 12 (см. фиг.6). Панели радиаторов-излучателей могут быть выполнены из алюминиевых сплавов или из углепластика, в последнем случае сотовый заполнитель может быть выполнен из неметаллических материалов.
В соответствии заявляемым решением тепловые трубы первого 13 и второго 14 каскадов проложены внутри сотового заполнителя платформы 4 (см. фиг.4).
Тепловые трубы 13 первого каскада на большей части своей длины проложены между боковыми стенками 3 несущей конструкции 1 и торцом платформы 4 с обеспечением теплового контакта с несущими слоями панели платформы 4 (см. фиг.6). Например, первый каскад тепловых труб, как показано на фиг.4, может быть составлен из трех тепловых труб, концы которых соединены друг с другом с обеспечением теплового контакта между собой вблизи коротких сторон 8 платформы 4.
Второй каскад тепловых труб может быть выполнен из одной тепловой трубы. Тепловая труба 14 второго каскада на большей части своей длины проложена вдоль торцов длинных сторон 9 платформы 4,
Тепловые трубы 13 первого каскада и тепловые трубы 14 второго каскада выполнены с обеспечением теплового контакта между ними. Тепловой контакт между тепловой трубой 14 второго каскада и тепловыми трубами 13 первого каскада может быть выполнен, как показано на фиг.4, вблизи коротких сторон платформы 4.
Тепловые трубы 15 третьего каскада проложены внутри сотового заполнителя 12 радиаторов-излучателей 10 с обеспечением теплового контакта с несущими слоями 11 панелей радиаторов-излучателей, как показано на фиг.5.
Радиаторы-излучатели 10 размещены параллельно боковым стенкам 3 несущей конструкции 1. Тыльные стороны радиаторов-излучателей присоединены впритык к торцам длинных сторон 9 платформы 4. Соединение тыльных сторон радиаторов к торцам длинных сторон платформы может быть выполнено с использованием небольших кронштейнов 25, как показано на фиг.6, 9, 10. При этом обеспечивается тепловой контакт между тепловой трубой 14 второго каскада тепловых труб и тепловыми трубами 15 третьего каскада, проложенными внутри сотового заполнителя 12 радиаторов-излучателей.
Кроме того, космический модуль в соответствии заявляемым решением снабжается бортовой аппаратурой 16, блоки которой установлены на платформе 4 между несущей конструкцией 1 и торцом платформы (см. фиг.1, 11). При этом основная масса блоков бортовой служебной аппаратуры может быть установлена на тыльной стороне платформы 4 в зазоре между боковыми стенками 3 несущей конструкции 1 космического модуля и радиаторами-излучателями 10. Часть бортовой служебной аппаратуры, например астродатчики 17 (см. фиг.12), могут быть установлены на лицевой стороне платформы 4. Кроме того, на лицевой стороне платформы может быть размещена исследовательская и научная аппаратура космического аппарата, непоказанная на чертежах.
Кроме того, заявляемое решение космического модуля снабжено системой энергопитания с источником электрической энергии, который наиболее целесообразно выполнить в виде трех панелей 18 солнечных батарей. Панели 18 солнечных батарей выполняются с обеспечением возможности их раскладывания, при этом в сложенном положении (см. фиг.1, 4) панели солнечных батарей уложены у радиаторов системы терморегулирования, а в разложенном положении развернуты параллельно платформе 4 (см. фиг.2, 3, 11, 12).
Дополнительно космический модуль в соответствии с заявляемым решением может быть снабжен продольными силовыми стойками 19. Продольные силовые стойки 19 могут быть выполнены либо в виде стержней, как показано на фиг.9, либо в виде швеллеров. Один конец продольных силовых стоек может быть закреплен у торца платформы вблизи тыльных сторон радиаторов-излучателей 10. Продольные силовые стойки целесообразно разместить с небольшим наклоном к тыльным сторонам радиаторов-излучателей. К другому концу продольных силовых стоек 19 целесообразно дополнительно закрепить радиаторы-излучатели 10. Кроме того, на этих же концах продольных силовых стоек 19 целесообразно закрепить через механизмы развертывания 20 панели солнечных батарей 18. Эти же концы продольных силовых стоек целесообразно связать с использованием стержней 21 с продольными силовыми элементами 2 несущей конструкции 1. При этом один из концов каждого из стержней 21 соединен с продольной стойкой 19, а другой с одним из неотогнутых концов Н-образного профиля продольного силового элемента 2 несущей конструкции 1. В результате использования этого приема каждый из продольных силовых элементов 2 соединен с двумя стержнями 21, каждый из которых соединен со стойкой, установленной у различных панелей радиаторов-излучателей.
Кроме механизмов развертывания 20 модуль снабжается механизмами зачековки 22 для закрепления панелей 18 солнечных батарей в сложенном положении у радиаторов-излучателей.
Для крепления модуля к системе разделения смежного блока космической головной части модуль снабжен узлами соединения 24, размещенными на концах продольных силовых элементов (см. фиг.1, 2, 9). Узел соединения к системе разделения смежного блока космической головной части может быть выполнен в виде опорной площадки, снабженной необходимыми элементами и механизмами для присоединения к смежному блоку космической головной части.
Кроме указанных систем и элементов космический модуль может быть оснащен средствами радиосвязи 23.
Заявляемый космический модуль работает следующим образом.
В процессе изготовления космический модуль дооснащается блоками научной и исследовательской аппаратуры, которая может размещаться на лицевой стороне платформы несущей конструкции, а так же, как и бортовая аппаратура, на тыльной стороне платформы в зазоре между боковыми стенками несущей конструкции и торцом платформы. Наличие небольшого зазора d (см. фиг.10) между топливным баком двигательной установки и торцом центрального выреза в платформе позволяет за счет небольшого перемещения двигательной установки в поперечном направлении (параллельно платформе) устранить отклонения центра масс модуля от продольной оси модуля.
С использованием узлов соединения модуль крепится к смежному блоку космической головной части. На этапе выведения инерционные нагрузки передаются от платформы и через стержни от солнечных батарей и радиаторов на продольные силовые элементы и через узлы соединения к смежному блоку космической головной части. После отделения от смежного блока космической головной части космический модуль с использованием двигательной установки переводится на целевую орбиту.
При этом избыточное тепло от бортовой аппаратуры, размещенной на платформе, через несущие слои и заполнитель передается на тепловые трубы первого каскада, а от тепловых труб первого каскада – на тепловые трубы второго каскада. Контакт тепловых труб второго каскада с тепловыми трубами третьего каскада, размещенными в радиаторах-излучателях, обеспечивает передачу тепловой нагрузки к радиаторам-излучателям, которые сбрасывают избыточное тепло в космическое пространство.
Заявляемое решение космического модуля может быть изготовлено на предприятиях ракетно-космической промышленности.
Формула изобретения
1. Космический модуль, содержащий несущую конструкцию, снабженную осевым проемом, систему терморегулирования со средством отвода тепла в космическое пространство, двигательную установку со сферическим топливным баком, размещенным в осевом проеме несущей конструкции, и двигателями, систему энергопитания с источником электрической энергии и бортовую аппаратуру, при этом платформа выполнена в виде плоской трехслойной панели в форме шестиугольника с несущими слоями и заполнителем, причем ее периметр составлен из чередующихся при его обходе коротких и длинных сторон, при этом платформа размещена с перекрытием верхнего торца несущей конструкции, а ее габаритные размеры выбраны большими габаритных размеров несущей конструкции в поперечном направлении, отличающийся тем, что несущая конструкция выполнена в форме прямой призмы с основанием в виде правильного треугольника, вдоль ребер которой пропущены продольные силовые элементы, при этом ее боковые стенки ориентированы параллельно длинным сторонам платформы, платформа имеет размещенный по ее центру вырез, в который частично введен топливный бак двигательной установки, система терморегулирования снабжена тремя каскадами тепловых труб, а средство отвода тепла в космическое пространство выполнено в виде трех радиаторов-излучателей, при этом каскады тепловых труб выполнены с обеспечением возможности теплового контакта между тепловыми трубами первого и второго каскадов и второго и третьего каскадов, радиаторы-излучатели выполнены в виде прямоугольных трехслойных панелей с сотовым заполнителем, размещены параллельно боковым стенкам несущей конструкции и тыльными сторонами присоединены встык к торцам длинных сторон платформы, тепловые трубы первого и второго каскадов проложены внутри сотового заполнителя платформы, при этом тепловые трубы первого каскада на большей части своей длины проложены между боковыми стенками несущей конструкции и торцом платформы с обеспечением теплового контакта с несущими слоями панели платформы, а тепловая труба второго каскада на большей части своей длины размещена вдоль торцов длинных сторон платформы, тепловые трубы третьего каскада проложены внутри сотового заполнителя радиаторов-излучателей с обеспечением теплового контакта с несущими слоями панелей радиаторов-излучателей, при этом упомянутая бортовая аппаратура установлена на платформе между несущей конструкцией и торцом платформы.
2. Космический модуль по 1, отличающийся тем, что двигатели двигательной установки сгруппированы в три блока, размещенных на топливном баке напротив продольных силовых элементов несущей конструкции модуля.
3. Космический модуль по п.1, отличающийся тем, что источник электроэнергии выполнен в виде трех панелей солнечных батарей, выполненных с возможностью их раскладывания, при этом в сложенном положении панели солнечных батарей уложены у радиаторов системы терморегулирования, а в разложенном положении развернуты параллельно платформе.
4. Космический модуль по п.3, отличающийся тем, что он снабжен продольными силовыми стойками, размещенными за радиаторами-излучателями с небольшим наклоном к ним, при этом один конец стоек закреплен на платформе, а другой их конец соединен с радиатором-излучателем, панелью солнечной батареи и через стержни с продольными силовыми элементами несущей конструкции модуля.
5. Космический аппарат по п.1, отличающийся тем, что продольные силовые элементы несущей конструкции выполнены в виде швеллеров Н-образного профиля, два ребра которого отогнуты наружу профиля.
6. Космический модуль по п.1, отличающийся тем, что он снабжен узлами соединения с системой разделения со смежным блоком головной космической части, размещенными на концах продольных силовых элементов несущей конструкции модуля.
7. Космический модуль по п.1, отличающийся тем, длинные стороны платформы выполнены одинакового размера.
8. Космический модуль по п.7, отличающийся тем, что короткие стороны платформы выполнены одинакового размера.
9. Космический модуль по п.8, отличающийся тем, что вершины периметра платформы выполнены округленными с одинаковым радиусом.
РИСУНКИ
|