|
|
(21), (22) Заявка: 2008121233/11, 24.10.2006
(24) Дата начала отсчета срока действия патента:
24.10.2006
(30) Конвенционный приоритет:
28.10.2005 FR 0511026 13.12.2005 US 60/749,628 20.12.2005 FR 0512989
(43) Дата публикации заявки: 10.12.2009
(46) Опубликовано: 20.05.2010
(56) Список документов, цитированных в отчете о поиске:
ЕР 0614806 А1, 14.09.1994. US 5456529 А, 10.10.1995. US 5868353 А, 09.02.1999. DE 4425869 А1, 01.02.1996. RU 2219080 С1, 20.12.2003.
(85) Дата перевода заявки PCT на национальную фазу:
28.05.2008
(86) Заявка PCT:
FR 2006/002378 20061024
(87) Публикация PCT:
WO 2007/048914 20070503
Адрес для переписки:
129090, Москва, ул.Б.Спасская, 25, стр.3, ООО “Юридическая фирма Городисский и Партнеры”, А.В.Мицу
|
(72) Автор(ы):
БОК Томас-Матиас (FR)
(73) Патентообладатель(и):
ЭРБЮС (FR)
|
(54) ДВЕРЦА БАГАЖНОЙ ПОЛКИ И БАГАЖНАЯ ПОЛКА
(57) Реферат:
Изобретение относится к области самолетостроения, в частности к багажной полке летательного аппарата. Багажная полка содержит отсек с фактически плоской нижней поверхностью (2) и первую створку (14), которая в закрытом положении наклонена внутрь багажной полки относительно плоскости (20), перпендикулярной нижней поверхности (2) багажной полки. Первая створка (14) устанавливается с возможностью поворота вокруг первой оси (26). Данная полка содержит вторую створку (16), расположенную относительно багажной полки с внешней стороны первой створки (14) и шарнирно установленную на первой створке (14). Вторая створка (16) в закрытом положении багажной полки вытянута от нижнего края багажной полки до панели потолка (10). Технический результат заключается в создании багажной полки, позволяющей обеспечить более надежное удержание предметов багажа. 3 н. и 6 з.п. ф-лы, 8 ил.
Настоящее изобретение относится к дверце багажной полки, в частности – багажной полки в летательном аппарате, а также к соответствующей багажной полке.
Обычно поперечное сечение багажной полки в летательном аппарате в целом имеет трапециевидную форму, при этом большее основание трапеции образует нижнюю поверхность багажной полки. Длинная нижняя часть багажной полки обеспечивает размещение крупногабаритных предметов багажа, в то время как более узкая верхняя часть позволяет удерживать багаж, располагаемый на багажной полке на другом предмете багажа, и не допускает его выпадения, например, во время открытия дверцы багажной полки.
Такая трапециевидная форма, которая определяется техническими требованиями, делает внутренний вид салона летательного аппарата менее привлекательным с эстетической точки зрения. Багажные полки располагаются непосредственно под потолком, при этом место соединения багажной полки с потолком нарушает эстетическую целостность салона.
Задачей настоящего изобретения является разработка дверцы багажной полки, которая предоставляла бы максимальную свободу дизайнерам при разработке формы, которую они хотели бы придать внутреннему пространству летательного аппарата.
В связи с этим предлагается багажная полка, которая снабжена дверцей, обеспечивающей доступ в отсек, включающий в себя нижнюю поверхность, которая на конце дверцы содержит фактически плоскую зону, при этом дверца в закрытом положении содержит первую створку, наклоненную внутрь багажной полки относительно плоскости, перпендикулярной фактически плоской зоне нижней поверхности багажной полки, при этом данная первая створка устанавливается с возможностью вращения вокруг первой оси.
Согласно настоящему изобретению, дверца, обеспечивающая доступ в пространство багажной полки, дополнительно содержит вторую створку, которая относительно багажной полки устанавливается с внешней стороны первой створки и шарнирно соединяется с первой створкой; при этом вторая створка при закрытом положении багажной полки простирается от нижнего края багажной полки до кромки потолка.
Вышеупомянутые первая и вторая створки образуют вместе с другими возможными конструктивными элементами дверцу багажной полки, согласно изобретению. Дверца багажной полки, изготовленная на основе известного уровня техники, содержит только одну створку, которая обычно может также называться дверцей или обеспечивающей доступ дверцей. Две створки багажной полки взаимодействуют друг с другом с целью закрытия багажной полки. Створка предназначена, в частности, для удержания багажа (предметов багажа) на багажной полке, в то время как другой створке придается форма, отвечающая искомым эстетическим требованиям. Такая дверца, состоящая из двух створок, позволяет одновременно обеспечить эстетичный внешний вид и надежное удержание предметов багажа внутри багажной полки.
В багажной полке, в соответствии с изобретением, вторая створка, согласно предпочтительному варианту осуществления, шарнирно соединяется с первой створкой, что обеспечивает возможность ее вращения относительно данной первой створки вокруг второй оси вращения, которая фактически параллельна первой. В соответствии с данным вариантом осуществления изобретения, в открытом положении багажной полки две створки могут складываться одна на другую и, таким образом, полностью освобождать доступ к багажной полке, облегчая доступ внутрь последней.
Согласно варианту осуществления изобретения, первая створка лишь частично закрывает багажную полку. Это позволяет, в частности, добиться большего наклона первой створки относительно нижней поверхности багажной полки и обеспечить более эффективное удержание предметов багажа на полке.
Для облегчения перемещения дверцы багажной полки, последняя преимущественно дополнительно содержит средства, позволяющие в процессе открытия дверцы сохранять контакт второй створки с этой кромкой потолка. Таким образом, вторая створка с одной стороны шарнирно соединена с первой створкой, а с другой стороны подается к кромке потолка. Согласно данному варианту осуществления изобретения, средства, позволяющие сохранять контакт второй створки с кромкой потолка, включают в себя, например, пружинное устройство, обеспечивающее отведение второй створки от первой створки. Данное пружинное устройство преимущественно интегрируется в шарнирное соединение между двумя створками для снижения габаритных размеров и более гармоничного встраивания в дверцу.
Для удержания в закрытом положении створок багажной полки, согласно изобретению, на второй створке могут устанавливаться, например, средства крепления.
Настоящее изобретение также относится к салону летательного аппарата, отличающемуся тем, что он содержит, по меньшей мере, одну багажную полку, описание которой приведено выше, причем летательный аппарат содержит, по меньшей мере, одну такую багажную полку.
В дальнейшем изобретение поясняется его описанием, приводимым со ссылками на прилагаемые чертежи, в числе которых:
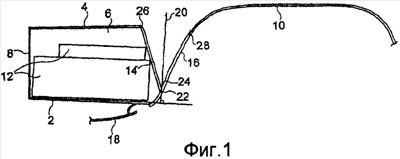
Фиг.1 изображает поперечный разрез багажной полки, согласно изобретению, находящейся в закрытом положении;
Фиг.2 и 3 – вид, который соответствует виду, представленному на фиг.1, при этом багажная полка находится в полуоткрытом положении;
Фиг.4 – поперечный разрез багажной полки, согласно изобретению в полностью открытом положении;
Фиг.5 – вид в изометрии багажной полки, согласно изобретению в закрытом положении;
Фиг.6 – вид в изометрии багажной полки, согласно изобретению в открытом положении;
Фиг.7 и 8 иллюстрируют в изометрии размещение предметов багажа на багажной полке, изображенной на фиг.5 и 6.
Багажная полка, согласно изобретению, содержит, как правило, нижнюю поверхность 2, верхнюю поверхность 4 и располагаемые между нижней поверхностью 2 и верхней поверхностью 4 две боковые стенки 6 и одну стенку основания 8. Доступ в багажную полку осуществляется со стороны, противоположной стенке основания и снабженной дверцей.
Багажная полка, изображенная на чертежах, размещается под потолком салона летательного аппарата, над пассажирскими креслами (не показаны), устанавливаемыми в салоне.
Нижняя поверхность 2 багажной полки предназначена для размещения на ней одного или нескольких предметов багажа 12. Согласно представленному варианту осуществления изобретения, нижняя поверхность 2 является плоской. Она слегка наклонена относительно горизонтальной плоскости для облегчения снятия багажа 12 с багажной полки.
Боковые стенки 6, стенка основания 8 и верхняя поверхность 4 определяют объем багажной полки. Эти стенки могут быть непосредственно стенками багажной полки, как это изображено в данном примере. Речь может также идти об общих с другими конструктивными элементами стенках, например, другой багажной полки. Основание 8, например, также может являться боковой стенкой салона летательного аппарата, в частности, для багажных полок, располагаемых над пассажирскими креслами, которые устанавливаются рядом с такой боковой стенкой. Что касается верхней поверхности 4, то она может быть частью потолка салона летательного аппарата.
Изображенная на чертежах багажная полка закрыта дверцей, состоящей из двух створок: первой створки 14 и второй створки 16.
Для пользователя, размещающего багаж 12 на багажной полке или снимающего с нее предметы багажа, вторая створка 16 представляет собой видимую часть дверцы багажной полки. Эта вторая створка 16 связывает нижнюю поверхность 2 багажной полки с панелью потолка 10 салона летательного аппарата. Форма данной второй створки 16 может быть приведена в соответствие с существующими эстетическими нормами, которые хотелось бы воплотить при создании внутреннего вида салона летательного аппарата. Эта створка предпочтительно служит для гармоничного, эстетического сочетания имеющей обтекаемую форму детали 18, размещаемой, как правило, под багажной полкой и включающей в себя обычно элементы, предназначенные для обеспечения комфорта, в том числе средства освещения, вентиляционные отверстия и т.д., с панелью потолка 10.
Первая створка 14 располагается между второй створкой 16 и пространством, предназначенным для размещения предметов в багажной полке. Эта первая створка 14 видна только тогда, когда багажная полка открыта. Она, в частности, предназначена для удержания на месте багажа 12 и предотвращения падения багажа 12 с багажной полки, в частности, во время открывания дверцы путем удержания багажа 12 внутри багажной полки. Данная первая створка 14 также полезна в случае, когда, как это показано на фиг.1-4, предметы багажа 12 небольшого размера размещаются на других предметах багажа 12. Очевидно (фиг.1), что в случае отсутствия первой створки 14 расположенный сверху багаж 12 небольшого размера способен соскользнуть, достичь второй створки 16 и упасть. При открытии дверцы указанный багаж 12 может упасть на пассажира. Первая створка 14 позволяет надежно предотвратить такое падение.
Первая створка 14 в целом имеет фактически плоскую форму. Она наклонена относительно нижней поверхности 2 багажной полки внутрь полки, когда багажная полка находится в закрытом положении. Таким образом, угол, образуемый плоскостью, в которой расположена нижняя поверхность 2, и плоскостью, включающей в себя первую створку 14, составляет менее 90°. В том случае, если, например, первая створка 14 не является плоской, можно предусмотреть, чтобы данная первая створка 14 находилась в положении закрытой дверцы багажной полки внутри двугранного угла, образованного, с одной стороны, нижней поверхностью 2 и, с другой стороны, плоскостью 20, перпендикулярной нижней поверхности 2 и проходящей через нижний край 22 первой створки 14 (ср. фиг.1).
Первая 14 и вторая 16 створки шарнирно соединены друг с другом на уровне нижнего края 22 первой створки 14. Данное шарнирное соединение может обеспечиваться, например, посредством шарнирной петли, соединяющей две створки. Оно позволяет осуществлять вращение одной створки относительно другой вокруг первой, фактически горизонтальной оси 24.
Первая створка также шарнирно соединяется вокруг второй оси 26, параллельной первой оси 24. Эта вторая, также горизонтальная ось 26, соответствует, например, как это показано на чертежах, верхнему краю первой створки 14. Шарнирное соединение может осуществляться на уровне верхней поверхности 4 багажной полки. В представленном примере данное шарнирное соединение выполнено, если быть более точным, на свободном конце верхней поверхности 4 багажной полки. Это шарнирное соединение могло бы, согласно другому варианту осуществления изобретения, производиться на уровне потолка салона летательного аппарата.
В закрытом положении дверцы багажной полки, изображенной на фиг.1, две створки 14 и 16 образуют фактически двугранный угол относительно первой оси 24. Одна из створок располагается фактически с одной стороны плоскости 20, перпендикулярной нижней поверхности 2 багажной полки, в то время как другая створка располагается фактически с другой стороны этой перпендикулярной плоскости 20.
Первая створка 14 необязательно простирается на всю высоту багажной полки, находящейся в закрытом положении, что соответствует предпочтительному варианту осуществления изобретения, изображенному на чертежах. Между нижним краем 22 первой створки 14 и нижней поверхностью 2 багажной полки может существовать определенное пространство. Данное пространство прикрыто нижней частью второй створки 16. Данный вариант осуществления изобретения позволяет наклонять первую створку внутрь багажной полки, не занимая много внутреннего объема багажной полки. В данном случае на нижней части второй створки 16 предусмотрен механизм крепления (не показан), позволяющий удерживать дверцу в закрытом положении. Такой механизм крепления известен специалистам, в связи с чем его описание опущено.
Для обеспечения соединения второй откидной дверцы 16 с панелью потолка 10 верхний край второй створки 16 содержит продольную выемку 28 (видна, в частности, на фиг.2-4), принимающей в закрытом положении дверцы багажной полки край панели потолка 10, ориентированной к багажной камере.
На фиг.1-4 изображен процесс открытия и закрытия дверцы, описание которой приведено выше.
Как уже отмечалось, на фиг.1 изображена дверца в закрытом положении. Багаж 12 располагается на нижней поверхности 2. Вторая створка 16 располагается, с одной стороны, на уровне своего верхнего края и своей продольной выемки 28 на соответствующем краю панели потолка 10, и, с другой стороны, ее нижний край удерживается посредством механизма крепления непосредственно рядом со свободным краем нижней поверхности 2 багажной полки. Что касается первой створки 14, то она удерживается между двумя шарнирными соединениями, одно из которых соединяет ее со второй створкой 16, а другое – со свободным краем верхней поверхности багажной полки.
Для открытия багажной полки приводится в действие механизм крепления, освобождающий вторую створку 16. Таким образом, производится двойное действие.
В соответствии с первым движением, первая створка 14 и вторая створка 16 поворачиваются одна относительно другой вокруг первой оси 24, уменьшая (во время открытия дверцы) угол , образуемый между двумя створками. В соответствии со вторым движением, первая створка 14 поворачивается вокруг свободного края верхней поверхности 4, т.е. вокруг второй оси 26.
Эти два движения выполняются одновременно. В процессе этих движений внешняя поверхность, т.е. видимая сторона, второй створки 16 продолжает контактировать со свободным краем панели потолка 10, который занимает место в продольной выемке 28 при закрытом положении дверцы багажной полки.
Для сохранения контакта между второй створкой 16 и краем панели потолка 10 между двумя створками предусматриваются эластичные средства, предназначенные для отстранения створок друг от друга. На чертежах такие средства не изображены. Они могут быть интегрированы, например, на уровне первой оси шарнирного соединения 24. Могут быть предусмотрены и другие средства. Для сохранения контакта между второй створкой 16 и панелью потолка могут рассматриваться и другие средства. Таким образом, на краю панели потолка 10 могут быть предусмотрены, например, направляющие, при этом вторая створка 16 снабжается дополнительными средствами.
При открытии дверцы, как это показано на чертежах, вторая створка 16 складывается на первой створке 14. Движение открытия дверцы прекращается, когда две створки располагаются напротив друг друга и начинают упираться в край панели потолка 10. В этом случае дверца открыта максимально. После того, как две створки разместятся напротив друг друга, открытие будет таким же большим, как при наличии только одной створки (обычная дверца, выполненная на основе известного уровня техники).
Закрытие дверцы багажной полки осуществляется способом, обратным открытию, который был описан выше.
На фиг.5-8 изображена в изометрии багажная полка, представленная на фиг.1-4. На этих чертежах, что, с одной стороны, вторая створка 16 (видна только часть находящейся в закрытом положении дверцы багажной полки) позволяет эстетично прикрыть багажную полку, а с другой стороны, дверца, согласно изобретению, ни в коей мере не мешает снятию (или размещению) багажа с багажной полки. В закрытом положении дверцы первая створка 14 (снаружи не видна) удерживает багаж 12 на багажной полке. Первая створка 14 также эффективна, когда два предмета багажа, имеющие меньший размер, чем изображенный, размещаются друг на друге. Первая створка 14 ограничивает тем самым возможность скольжения багажа, располагаемого сверху, в направлении дверцы багажной полки.
Находящаяся в открытом положении дверца, описание которой приведено выше, складывается в направлении потолка, освобождая тем самым доступ для перемещения багажа, занимающего положение на соответствующей багажной полке.
Настоящее изобретение не ограничивается вышеприведенным предпочтительным вариантом его осуществления. Оно охватывает все возможные варианты в рамках приводимой ниже формулы изобретения.
Формула изобретения
1. Багажная полка, содержащая дверцу, обеспечивающую доступ к отсеку с нижней поверхностью (2), которая на краю дверцы имеет фактически плоскую зону, при этом дверца в закрытом положении содержит первую створку, наклоненную внутрь багажной полки относительно плоскости (20), перпендикулярной практически плоской зоне нижней поверхности (2) багажной полки, при этом данная первая створка (14) устанавливается с возможностью поворота вокруг первой оси (26), отличающаяся тем, что дверца, обеспечивающая доступ к багажу, дополнительно содержит вторую створку (16), располагаемую относительно багажной полки с внешней стороны первой створки (14) и шарнирно установленную на первой створке (14), причем вторая створка (16) в закрытом положении багажной полки простирается от нижнего края багажной полки до кромки потолка (10).
2. Багажная полка по п.1, отличающаяся тем, что вторая створка (16) шарнирно соединяется с первой створкой (14) с возможностью поворота относительно этой первой створки (14) вокруг второй оси (24) вращения, которая практически является параллельной первой оси (26).
3. Багажная полка по любому из пп.1 или 2, отличающаяся тем, что первая створка (14) закрывает багажную полку лишь частично.
4. Багажная полка по любому из пп.1 или 2, отличающаяся тем, что багажная полка дополнительно содержит средства, позволяющие помимо открытия поддерживать контакт второй створки (16) с данной кромкой потолка.
5. Багажная полка по п.4, отличающаяся тем, что средства, обеспечивающие поддержание контакта второй створки (16) с кромкой потолка (10), включают в себя пружинное устройство, которое удаляет вторую сворку (16) от первой створки (14).
6. Багажная полка по п.5, отличающаяся тем, что пружинное устройство интегрировано в шарнирное соединение между двумя дверцами.
7. Багажная полка по любому из пп.1 или 2, отличающаяся тем, что средства крепления располагаются на второй створке (16).
8. Салон летательного аппарата, отличающийся тем, что содержит, по меньшей мере, одну багажную полку по любому из пп.1-7.
9. Летательный аппарат, отличающийся тем, что содержит, по меньшей мере, одну багажную полку по любому из пп.1-7.
РИСУНКИ
|
|