|
|
(21), (22) Заявка: 2008151486/11, 25.12.2008
(24) Дата начала отсчета срока действия патента:
25.12.2008
(30) Конвенционный приоритет:
17.10.2006 RU 2006000534
(46) Опубликовано: 20.05.2010
(56) Список документов, цитированных в отчете о поиске:
RU 2233769 С1, 10.08.2004. Энциклопедия. Авиация, Научное издательство Большая Российская Энциклопедия, ЦАГИ, 1994, с.220, 287. US 3997132 A, 14.12.1976.
(85) Дата перевода заявки PCT на национальную фазу:
25.12.2008
Адрес для переписки:
115597, Москва, ул. Ясеневая, 32, корп.1, кв.83, В.Т. Шведову
|
(72) Автор(ы):
Шведов Владимир Тарасович (RU)
(73) Патентообладатель(и):
Шведов Владимир Тарасович (RU)
|
(54) ЗАКОНЦОВКА КРЫЛА ЛЕТАТЕЛЬНОГО АППАРАТА И ГЕНЕРАТОР ВИХРЯ ДЛЯ НЕЕ
(57) Реферат:
Изобретение относится к области авиации. Законцовка крыла летательного аппарата, устанавливаемая на торце концевой части крыла, включает генератор вихря, противоположного по направлению вращения возникающему на крыле концевому вихрю, и кожух. Генератор вихря выполнен в виде гондолы с входным, выходным и закручивающим устройствами. Кожух выполнен в виде тонкостенной конструкции с внутренней поверхностью постоянного радиуса, простирающейся вдоль концевой хорды крыла с незамкнутым поперечным сечением, образующим продольный вырез. Закручивающее устройство выполнено с диффузором. Кожух выполнен с продольным вырезом в средней своей части так, что верхняя кромка выреза образует центральный угол на оси кожуха, а нижняя кромка образует центральный угол на оси кожуха. Входное устройство может быть выполнено с конфузором, отклоненным осью от плоскости хорд крыла вниз, а хвостовая часть кожуха выполнена отклоненной вверх. Изобретение направлено на повышение аэродинамического качества и несущих свойств крыла. 2 н. и 8 з.п. ф-лы, 7 ил.
Область техники
Изобретение относится к авиации, к устройствам для изменения аэродинамических характеристик с помощью вихрей, и может быть использовано в конструкции несущих поверхностей летательных аппаратов, преимущественно самолетов, для повышения их несущих свойств и аэродинамического качества.
Уровень техники.
Известна законцовка крыла летательного аппарата, представляющая собой концевую часть крыла с установленным на ней генератором вихревого потока, противоположного по направлению вращения концевому вихрю, имеющим гондолу с входным устройством и соплом, при этом гондола снабжена на своей поверхности заборными устройствами для отбора части набегающего потока воздуха и направления его вовнутрь с тангенциальной составляющей вектора скорости для закручивания внутреннего потока в направлении, противоположном вращению концевого вихря, возникающему у конца крыла, а концевая часть крыла снабжена продольными элементами, выполненными в виде верхней ограничительной поверхности, выступающей над крылом на высоту, равную примерно толщине профиля, и нижней направляющей поверхности, выступающей вниз от нижней поверхности крыла на примерно одну третью часть толщины профиля, взаимодействующих с вихревым потоком, создаваемым генератором. (См. «Законцовку несущей поверхности летательного аппарата», патент РФ 2116936 С1, 1998 г.)
Недостатком такой конструкции является то, что поток, перетекающий с нижней поверхности крыла на верхнюю, воздействует на вихревой поток от генератора под прямым углом, сминая его и создавая дополнительное сопротивление, снижающее эффективность законцовки. Кроме того, дополнительное сопротивление создают и заборные устройства. В результате снижается выигрыш в аэродинамическом качестве.
Известен концевой генератор вихря для аэродинамической несущей поверхности, содержащий пустотелую гондолу с высоким соотношением проходного сечения и миделя, снабженную входным устройством с диффузором, соплом и закручивающим устройством. Внутренняя поверхность диффузора выполнена с направляющими элементами, отклоняющими поток в тангенциальном направлении так, чтобы проходящий воздух через гондолу закручивался бы в направлении, противоположном направлению вращения концевого вихря. (См. патент РФ 2148529, С1, 2000 г.)
При этом генератор вихря установлен на конце крыла.
Недостатком такой конструкции является дополнительное сопротивление, создаваемое при взаимодействии потока, перетекающего с нижней поверхности крыла на верхнюю, с вихревым потоком от генератора, что снижает эффективность устройства.
Известна законцовка крыла летательного аппарата, включающая генератор вихревого потока, противоположного по направлению вращения концевому вихрю, имеющий гондолу с входным устройством, диффузором с закручивающим устройством и соплом. Концевая часть крыла выполнена с кожухом с незамкнутым радиусным поперечным сечением, образующим продольный вырез с верхней и нижней кромками на своей внешней боковой поверхности и закрепленным срединной своей частью на конце крыла.
В передней своей части кожух выполнен цилиндрическим, а в хвостовой части – сужающимся в виде поверхности с криволинейной образующей, т.е. поверхность кожуха выполнена с переменным радиусом.
При этом кожух выполнен так, что в поперечном сечении верхняя кромка образует центральный угол на оси кожуха, равный 80-110° вверх от горизонта, а нижняя кромка – 60-110° вниз от горизонта.
Более того, в законцовке крыла кожух выполнен с вырезом, переменным по ширине вдоль концевой нервюры крыла, и с верхней кромкой, плавно сходящей к задней кромке крыла. (См. описание к патенту РФ 2233769, В64С 23/06, 2004 г.)
При этом диффузор гондолы выполнен с углом расхождения более 15° (как следует из графических материалов описания к патенту), что создает значительное торможение потока внутри гондолы. Кроме того, как показали испытания в аэродинамической трубе выполнение кожуха таким, что в поперечном сечении верхняя кромка образует центральный угол на оси кожуха, равный 80-110° вверх от горизонта, а нижняя кромка – 60-110° вниз от горизонта, недостаточно защищает вихревой поток от поперечного потока, перетекающего с нижней поверхности крыла на верхнюю, что также создает дополнительное сопротивление. Более того, законцовка характеризуется резким увеличением сопротивления при увеличении угла атаки крыла. В результате – эффективность законцовки снижается.
Сущность изобретения.
Задачей изобретения является разработка такой законцовки крыла летательного аппарата, которая обеспечивала бы повышение аэродинамического качества и несущих свойств крыла за счет снижения собственного сопротивления законцовки и повышения воздействия на возникающий концевой вихрь крыла.
Поставленная задача достигается тем, что в законцовке крыла летательного аппарата, устанавливаемой на торце концевой части крыла и включающей генератор вихревого потока, противоположного по направлению вращения возникающему на крыле концевому вихрю, и примыкающий к нему кожух, при этом генератор вихря выполнен в виде пустотелой гондолы с входным устройством и сообщающейся с ним вихревой камерой, выполненной в виде диффузора с закручивающим устройством, при этом диффузор выполнен с углом расхождения, равным 3-12°, а кожух выполнен в виде тонкостенной поверхности с внутренней поверхностью постоянного радиуса по всей своей длине, простирающейся вдоль концевой хорды крыла, с незамкнутым поперечным сечением, образующим продольный вырез в средней своей части так, что верхняя кромка выреза образует центральный угол на оси кожуха, равный 115°-155° вверх, а нижняя кромка образует центральный угол на оси кожуха, равный 20°-59° вниз от горизонта соответственно.
Кроме того, в законцовке входное устройство может быть выполнено с конфузором с углом схождения, равным 2-12°, и отклоненным своей осью от плоскости хорд крыла вниз (при виде сбоку) на угол, равный 2°-6°, а хвостовая часть кожуха выполнена отклоненной вверх (при виде сбоку) от плоскости хорд крыла на угол, равный 2°-6°.
Кожух может быть выполненным в виде тонкостенной трубы, пристыкованной к выходу гондолы, а гондола может быть выполнена с конфузором и диффузором, имеющими криволинейные образующие соответствующие постоянному градиенту давления в потоке по своей длине.
Более того, входное устройство может быть снабжено инициирующим вихрь устройством, выполненным в виде расположенных по окружности на поверхности горловины канавок, направление которых составляет с осью входного устройства заданный угол.
Возможно выполнение генератора вихря таким образом, что диффузор выполнен с внутренней поверхностью, образованной в передней своей части конусом с углом расхождения, равным 1-5°, и в задней части торцевым раструбом с криволинейной образующей, а закручивающее устройство может быть выполнено в виде направляющих лопаток, установленных на поверхности конуса.
Выполненное в соответствии с изобретением концевое устройство крыла позволяет полностью компенсировать потери от концевого вихря и за счет улучшения потока на верхней поверхности, низкого собственного сопротивления повысить несущие свойства всего крыла и аэродинамическое качество всего летательного аппарата.
Перечень фигур на чертежах.
Изобретение поясняется чертежами, на которых:
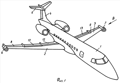
– Фиг.1 показывает общий вид пассажирского самолета, снабженного законцовками, выполненными в соответствии с изобретением;
– Фиг.2 показывает левую законцовку при виде сбоку на конец крыла (по стрелке В Фиг.1), с частичным вырывом в передней части гондолы по оси симметрии;
– Фиг.3 показывает сечение «С-С» Фиг.2
– Фиг.4 показывает левую законцовку при виде сверху на конец крыла (по стрелке А Фиг.2);
– Фиг.5 показывает левую законцовку при виде сверху на конец крыла (по стрелке А Фиг.2) для варианта кожуха, выполненного в виде трубы;
– Фигура 6 показывает вариант выполнения генератора вихря с инициирующим вихрь устройством;
– Фигура 7 показывает еще один вариант выполнения генератора вихря.
Осуществление изобретения.
Изобретение поясняется на примере пассажирского самолета.
Самолет (см. Фиг.1) содержит фюзеляж 1 с маршевысми двигателями, установленными в хвостовой его части, и пассажирской кабиной, правое 2 и левое 3 полукрылья, вертикальное оперение 4, хвостовое горизонтальное оперение 5 и другие известные системы и оборудование, необходимые для его нормального функционирования.
Правое 2 и левое 3 полукрылья на своих концах снабжены правой 6 и левой 7 законцовками, выполненными в соответствии с изобретением.
Правое 2 и левое 3 полукрылья снабжены соответственно элеронами 8, 9 и закрылками 12, 13.
Законцовка 7 (см. Фиг.2, 3, 4) устанавливается на концевой части крыла, в частности, на торцевой нервюре крыла 14, и включает генератор вихря 15, вырабатывающий при движении самолета из набегающего наружного воздуха 16 вихревой поток 17, противоположный по направлению вращения возникающему на конце крыла концевому вихрю 18, и примыкающий к нему кожух 19, выполненный в виде тонкостенной поверхности, простирающейся вдоль концевой хорды крыла.
Генератор вихря 15 выполнен в виде пустотелой гондолы 20 с круговой внутренней поверхностью и имеющей высокое соотношение площади проходного внутреннего сечения к площади ее миделя. Гондола содержит входное устройство 21 и вихревую камеру 22. Входное устройство 21 выполнено в виде конфузора, внутренняя поверхность входного сечения которого с помощью передней губы плавно совмещается с наружной поверхностью гондолы, а выходное сечение конфузора совмещено с входом вихревой камеры.
Вихревая камера 22 выполнена в виде диффузора с закручивающим устройством, сообщающегося входным сечением с выходом конфузора и образующего с ним горловину гондолы 24. На внутренней поверхности диффузора установлено закручивающее устройство 25, выполненное в виде тонкостенных направляющих лопаток, установленных по периметру сечения диффузора.
Лопатки установлены под углом к продольной оси диффузора (при виде на внутреннюю поверхность диффузора) так, что обеспечивают отклонение воздушного потока у поверхности диффузора в тангенциальном направлении, что приводит к закрутке воздушного потока, проходящего через гондолу, превращая его в вихревой. Угол установки лопаток может быть выбран в пределах диапазона 5-30°. При этом выбор угла меньше 5° не обеспечивает требуемую интенсивность создаваемого вихревого потока, а при угле свыше 30° резко увеличиваются потери полного напора потока.
При этом направление угла отклонения лопаток выбрано таким образом, чтобы проходящий поток закручивался бы в направлении 17, противоположном направлению вращения возникающего на крыле концевого вихря 18. Таким образом, установки лопаток в гондолах на концах правого и левого полукрыльях должны быть зеркально отраженными.
Диффузор вихревой камеры 22 выполнен с углом расхождения, равным 3-12°. При этом, уменьшение угла расхождения диффузора менее 3° приводит к увеличению потерь потока на трение ввиду увеличения длины диффузора, а увеличение угла расхождения более 12° приводит к увеличению потерь потока из-за наличия динамического удара при внезапном расширении.
Аналогичным образом входное устройство может быть выполнено с конфузором с углом схождения, равным 2-12°. И здесь выбор диапазона угла схождения конфузора объясняется вышеприведенными факторами.
Внутренние поверхности конфузора и диффузора могут быть выполнены в виде конусов, т.е. образующие поверхностей будут выполнены в виде прямых линий. Однако поверхности, определяемые прямыми образующими, вносят дополнительное сопротивление потоку. Для уменьшения потерь целесообразно образующие конфузора и диффузора выполнять криволинейными вогнутыми внутрь (к оси гондолы), например, кривыми второго порядка, обеспечивающими плавные вход набегающего потока в конфузор и дальнейшее продвижение его в диффузор вихревой камеры. При этом необходимые углы схождения конфузора и расхождения диффузора будут рассчитываться исходя из разницы половины диаметров входного и выходного сечений, отнесенной к длине конфузора и диффузора.
Для достижения минимальных потерь напора потока гондола может быть выполнена с конфузором и диффузором, имеющими криволинейные образующие, соответствующие постоянному градиенту давления в потоке по всей длине гондолы.
Кроме того, в законцовке входное устройство может быть выполнено с конфузором, отклоненным своей осью от плоскости хорд крыла вниз (при виде сбоку) на угол 37, равный 2°-6°. Что также уменьшает собственное аэродинамическое сопротивление законцовки на крейсерских режимах полета самолета.
Диффузор своим выходным сечением совмещен с выходным устройством 23, выполненным в виде цилиндрического сопла.
Сопло в общем случае может быть выполнено с гондолой заодно, однако, в приведенном варианте изобретения в целях упрощения конструкции сопло выполнено заодно с кожухом 19.
Гондола может быть цельной или разъемной и выполнена из металла или композиционных материалов на основе существующих технологий, и снабжена крепежными элементами для крепления ее к передней части концевой нервюры крыла и кожуха.
Кожух 19 выполнен тонкостенной конструкции, выполненной с радиусным поперечным сечением с центром, расположенным снаружи торцевой кромки крыла, простирающейся от гондолы вдоль торца крыла до его задней кромки, и вверх от верхней и вниз от нижней поверхностей крыла. При этом кожух выполнен с внутренней поверхностью постоянного по всей длине радиуса. В передней своей части кожух выполнен цилиндрическим замкнутым в сечении и сопряженным с соплом гондолы. В оставшейся части (в данном примере воплощения изобретения) кожух имеет в поперечном сечении незамкнутый радиусный профиль, образующий продольный вырез 28 с верхней 26 и нижней 27 кромками на своей внешней боковой поверхности. При этом, кожух выполнен с внутренней поверхностью постоянного по всей длине радиусом. Кроме того, кожух выполнен с продольным вырезом в средней боковой своей части так, что верхняя кромка выреза образует центральный угол 29 на оси кожуха 31, равный 115°-155° вверх, а нижняя кромка образует центральный угол 30 на оси кожуха, равный – 20°-59° вниз от горизонта соответственно. При этом, для верхней кромки меньшие значения углов выбираются при высокой интенсивности вихревого потока, создаваемого генератором, а большие значения углов – при низкой интенсивности вихревого потока. Для нижней кромки меньшие значения углов выбираются при высокой интенсивности вихревого потока, перетекающего с нижней поверхности крыла на верхнюю (что соответствует большей интенсивности возникающего концевого вихря), а большие значения углов – при низкой интенсивности этого потока.
Средней своей частью кожух 19 закреплен на концевой нервюре крыла крепежными элементами (на чертеже не показано). При этом ось кожуха 31 может находиться в плоскости хорд 32 концевой части крыла либо выше или ниже ее. В хвостовой части кожух выполнен также цилиндрическим и с открытым торцем, с прямолинейной нижней кромкой 34 и криволинейной верхней кромкой 33, сводящей к нулю верхнюю поверхность кожуха над верхней поверхностью крыла к его задней кромке.
С наружной поверхности, примыкающей к крылу, кожух снабжен верхним зализом 35 и нижним зализом (не показан), улучшающими обтекание законцовки.
Кожух может быть выполненным из металла или композиционных материалов, предпочтительно трехслойной конструкции по известным технологиям.
Возможно выполнение продольного выреза 28 кожуха 19 переменным по ширине вдоль концевой нервюры крыла.
Это достигается тем, что центральные углы кромок 29, 30 выполняются переменными вдоль хорды крыла. Так, целесообразно выполнение центрального угла 30 уменьшающимся к задней кромке крыла для большей защиты вихревого потока, создаваемого генератором, от потока, перетекающего с нижней поверхности крыла на верхнюю и создающего концевой вихрь.
Кроме того, хвостовая часть кожуха может быть выполнена отклоненной вверх (при виде сбоку) от плоскости хорд 32 крыла на угол 38, равный 2°-6° для уменьшения сопротивления законцовки на крейсерском режиме полета самолета.
Кожух законцовки может быть выполнен в виде тонкостенной трубы. Такая законцовка (см. Фиг.5) включает гондолу генератора вихревого потока 15 с цилиндрическим соплом 39. К соплу 39 пристыкован кожух 40, выполненный в виде тонкостенной трубы и закрепленный на торцевой нервюре крыла 14 так, что ось кожуха 31 параллельна ей.
Кожух 40 снабжен в хвостовой части вырезом 41, обеспечивающим воздействие вихревого потока, создаваемого в гондоле 15, с потоком 18, перетекающим с нижней поверхности крыла и создающим концевой вихрь для его ослабления. Параметры выреза 41 выбираются из условия максимального воздействия на вихрь с учетом интенсивности создаваемого вихревого потока. Верхняя кромка 42 выреза выполнена криволинейной, сводящей верхнюю поверхность кожуха на ноль к задней кромке крыла. Нижняя кромка 43 может быть выполнена эквидистантой верхней кромке.
Генератор вихря для законцовки, представленный выше, не является единственно возможным и может быть выполнен в различных вариантах.
Вариант 1.
Генератор вихря (см. Фиг.6) выполнен в виде пустотелой гондолы 44 с предпочтительно круговой внутренней поверхностью. Гондола содержит входное устройство 45 и вихревую камеру 46. Входное устройство 45 выполнено в виде конфузора 47 с углом схождения 48, равным 2-12°. Внутренняя поверхность входного сечения конфузора с помощью передней губы плавно совмещается с наружной поверхностью гондолы.
Вихревая камера 46 выполнена в виде диффузора 49 с углом расхождения, равным 3°-12°. Диффузор 49 своим передним сечением соединен с выходом конфузора с помощью цилиндрической горловины 51 гондолы 44. При этом входное устройство снабжено инициирующим вихрь устройством. Инициирующее вихрь устройство может быть выполнено в виде насечки, выступов, канавок и т.п. на поверхности передней губы, конфузора. Параметры таких устройств должны быть выбраны таким образом, чтобы поток наружного воздуха, проходя через входное устройство, сворачивался бы в свободный вихрь.
Целесообразно, чтобы инициирующее вихрь устройство было выполнено в виде расположенных по окружности на поверхности горловины канавок 52.
Направление канавок составляет с осью горловины заданный угол 53, равный 5-30°. Выходное сечение диффузора 49 сообщено с сопловым аппаратом кожуха 54.
Вариант 2.
Генератор вихря (см. Фиг.7) выполнен в виде пустотелой гондолы 55 с предпочтительно круговой внутренней поверхностью. Гондола содержит входное устройство 56 и вихревую камеру 57. Входное устройство 56 выполнено в виде конфузора 58, выполненного с криволинейными вогнутыми внутрь образующими с углом схождения, определяемым входным и выходным сечениями и равным 2-12°.
Вихревая камера 57 выполнена в виде диффузора 60 с углом расхождения 61. Своим входным сечением диффузор 60 совмещен с выходным сечением конфузора 58, образуя горловину 59. Диффузор 60 выполнен с внутренней поверхностью, образованной в передней своей части конусом 62 с углом расхождения 64, равным 1-5°, и в задней части – торцевым раструбом с криволинейной образующей, обеспечивающей плавное расширение потока до выходного сечения диффузора.
Выходное сечение диффузора 60 сообщено с соплом 65 кожуха 66 антивихревой законцовки крыла. При этом закручивающее устройство, например, в виде направляющих лопаток 67, выполнено на поверхности конуса.
Законцовка крыла в одном из воплощений изобретения работает следующим образом.
При движении летательного аппарата набегающий поток 16 (см. Фиг.2, 3), проходя через гондолу 20 генератора вихря 15, закручивается на закручивающем устройстве 25 и превращается в вихревой поток 16, направление вращения которого противоположно направлению вращения возникающему на крыле концевому вихрю 18. Вихревой поток 17 взаимодействует с концевым вихрем крыла, уменьшая его интенсивность. Уменьшение интенсивности концевого вихря приводит к улучшению структуры воздушного потока над крылом, уменьшению скосов потока, и в конечном итоге – к повышению несущих свойств крыла. При этом нижняя часть кожуха предохраняет вихревой поток от генератора от нежелательного воздействия потока с нижней поверхности крыла, а верхняя часть кожуха предохраняет поток на верхней поверхности крыла. Таким образом, уменьшается собственное сопротивление устройства. Все это вместе приводит к повышению аэродинамического качества крыла. Работа законцовок крыльев других вариантов воплощения изобретения, в том числе с другими генераторами вихрей, различными кожухами происходит аналогичным образом. Изобретение применимо в качестве концевых устройств различных аэродинамических, гидродинамических несущих поверхностей (создающих подъемную силу) и может быть использовано в конструкции пассажирских, транспортных самолетов для повышения их пассажирской и транспортной эффективности за счет снижения интенсивности завихренности в районе аэропортов. Изобретение может быть также использовано на лопастях вертолетов, воздушных винтов, лопастей гидромашин для повышения их эффективности.
Законцовки описанных конструкций могут быть выполнены из металлических, композиционных материалов и изготовлены по известным в практике технологиям.
Формула изобретения
1. Законцовка крыла летательного аппарата, устанавливаемая на торце концевой части крыла и содержащая генератор вихря, вырабатывающий из набегающего воздуха вихревой поток, противоположный по направлению вращения возникающему на крыле концевому вихрю, и примыкающий к нему кожух, при этом генератор вихря выполнен в виде пустотелой гондолы с входным устройством, сообщающейся с ним вихревой камерой, выполненной в виде диффузора, и с закручивающим устройством, а кожух выполнен в виде тонкостенной конструкции с радиусным поперечным сечением, простирающейся вдоль торца крыла до его задней кромки, отличающаяся тем, что кожух выполнен с внутренней поверхностью постоянного радиуса по всей своей длине, а диффузор вихревой камеры выполнен с углом расхождения, равным 3÷12°.
2. Законцовка крыла летательного аппарата по п.1, отличающаяся тем, что входное устройство выполнено с конфузором с углом схождения, равным 2÷8°.
3. Законцовка крыла летательного аппарата по п.1 или 2, отличающаяся тем, что кожух выполнен с продольным вырезом в боковой своей части так, что верхняя кромка выреза образует центральный угол на оси кожуха, равный 115÷455° вверх, а нижняя кромка образует центральный угол на оси кожуха, равный – 20÷-59° вниз от горизонта соответственно.
4. Законцовка крыла летательного аппарата по п.1 или 2, отличающаяся тем, что входное устройство выполнено отклоненным своей осью от плоскости хорд крыла вниз на угол, равный 2÷6°.
5. Законцовка крыла летательного аппарата по п.1 или 2, отличающаяся тем, что хвостовая часть кожуха выполнена отклоненной вверх от плоскости хорд крыла на угол, равный 2÷6°,
6. Законцовка крыла летательного аппарата по п.2, отличающаяся тем, что гондола выполнена с конфузором и диффузором, имеющими криволинейные образующие, соответствующие постоянному градиенту давления в потоке по всей длине гондолы.
7. Законцовка крыла летательного аппарата по любому из пп.1-6, отличающаяся тем, что входное устройство снабжено инициирующим вихрь устройством, выполненным в виде канавок на поверхности передней губы.
8. Законцовка крыла летательного аппарата по любому из пп.1-5, отличающаяся тем, что конфузор и диффузор соединены между собой цилиндрической горловиной, выполненной с расположенными на ее поверхности канавками, направление которых составляет с осью горловины заданный угол.
9. Законцовка крыла летательного аппарата по любому из пп.1-5, 7, отличающаяся тем, что диффузор выполнен с внутренней поверхностью, образованной в передней своей части конусом с углом расхождения, равным 1÷5° и в задней части – торцевым раструбом с криволинейной образующей, обеспечивающим плавное расширение потока до выходного сечения диффузора.
10. Генератор вихря, преимущественно для законцовки крыла летательного аппарата, включающий гондолу с входным устройством, содержащим конфузор, и вихревую камеру в виде диффузора, отличающийся тем, что диффузор выполнен с внутренней поверхностью, образованной в передней своей части конусом с углом расхождения, равным 1÷5° и в задней части – торцевым раструбом с криволинейной образующей, обеспечивающим плавное расширение потока до выходного сечения диффузора, а закручивающее устройство выполнено в виде направляющих лопаток, установленных на поверхности конуса.
РИСУНКИ
|
|