|
|
(21), (22) Заявка: 2009100839/11, 07.06.2007
(24) Дата начала отсчета срока действия патента:
07.06.2007
(30) Конвенционный приоритет:
13.06.2006 FR 0605237
(46) Опубликовано: 20.05.2010
(56) Список документов, цитированных в отчете о поиске:
Николаев Л.Ф. Аэродинамика и динамика полета транспортных самолетов. – М.: Транспорт, 1990, с.132-133. ЕР 1498794 А1, 19.01.2005. FR 2817535 А1, 07.06.2006.
(85) Дата перевода заявки PCT на национальную фазу:
13.01.2009
(86) Заявка PCT:
FR 2007/000940 20070607
(87) Публикация PCT:
WO 2007/144485 20071221
Адрес для переписки:
129090, Москва, ул.Б.Спасская, 25, стр.3, ООО “Юридическая фирма Городисский и Партнеры”, пат.пов. А.В.Мицу, рег. 364
|
(72) Автор(ы):
ДЕЛЯПЛЯС Франк (FR), РИХТЕР Мартин (DE), ЛАНГ Дитер (DE)
(73) Патентообладатель(и):
ЭРБЮС ФРАНС (FR), ЭЙРБАС ДОЙЧЛАНД ГМБХ (DE)
|
(54) СПОСОБ ПИЛОТИРОВАНИЯ ЛЕТАТЕЛЬНОГО АППАРАТА В ФАЗЕ ЗАХОДА НА ПОСАДКУ
(57) Реферат:
Изобретение относится к способу пилотирования летательного аппарата в фазе приземления на посадочную полосу. Способ заключается в том, что одновременно и автоматически выдвигают увеличивающие подъемную силу предкрылки (13) и увеличивающие подъемную силу закрылки (14), когда скорость летательного аппарата равна или ниже порога AES. Достигается ускорение перехода от одной конфигурации к другой без использования сверхмощных, тяжелых и объемных средств привода предкрылков и закрылков. 2 н. и 7 з.п. ф-лы, 5 ил.
Настоящее изобретение касается пилотирования летательного аппарата, в частности гражданского транспортного летательного аппарата, в фазе приземления, в которой упомянутый летательный аппарат перемещается по горизонтальному участку захода на посадку, теряя скорость перед тем, как начать финальное снижение к посадочной полосе. Изобретение преимущественно касается летательных аппаратов, крылья которых снабжены увеличивающими подъемную силу предкрылками передней кромки и увеличивающими подъемную силу закрылками задней кромки, при этом каждый из упомянутых предкрылков и закрылков является управляемым для того, чтобы принимать либо втянутое внутрь положение, либо, по меньшей мере, выдвинутое положение.
Известно, что перед тем как начать горизонтальный участок при заходе на посадку, крылья летательного аппарата имеют гладкую конфигурацию без увеличения подъемной силы, для чего упомянутые предкрылки и упомянутые закрылки втянуты. Затем, когда летательный аппарат начинает горизонтальный участок захода на посадку и его скорость попадает под первое предварительно определенное значение, пилот может путем воздействия на рычаг управления предкрылками и закрылками придать крыльям первую, слегка увеличивающую подъемную силу конфигурацию, в которой упомянутые предкрылки выдвинуты средне и наклонены, тогда как закрылки остаются втянутыми. Затем, когда скорость летательного аппарата, который следует по упомянутому горизонтальному участку захода на посадку, попадает под второе предварительно определенное значение, меньше первого, крылья принимают вторую конфигурацию со средне увеличенной подъемной силой, при которой упомянутые предкрылки выпущены средне и наклонены, как в первой конфигурации, и упомянутые закрылки выдвинуты средне и наклонены.
Таким образом, на упомянутом горизонтальном участке захода на посадку вначале осуществляют умеренное выдвижение упомянутых предкрылков, затем умеренное выдвижение упомянутых закрылков. Отсюда следует, что общая продолжительность перехода от гладкой конфигурации к упомянутой второй конфигурации равна, по меньшей мере, сумме продолжительности выдвижения предкрылков и продолжительности выдвижения закрылков.
Если выдвижение предкрылков и выдвижение закрылков происходит медленно, следует предусмотреть длинный горизонтальный участок захода на посадку, что может быть неудобным в том, что касается авиационного трафика.
Напротив, если выдвижение предкрылков и выдвижение закрылков происходит быстро, горизонтальный участок захода на посадку может быть более коротким, но это требует для упомянутых предкрылков и закрылков более мощных, объемных и тяжелых гидравлических или электрических приводных устройств.
Целью настоящего изобретения является ускорение перехода от гладкой конфигурации ко второй конфигурации без использования сверхмощных, тяжелых и объемных средств привода упомянутых предкрылков и закрылков.
Для достижения этой цели в соответствии с настоящим изобретением в способе пилотирования летательным аппаратом, перемещающимся по горизонтальному участку захода на посадку, теряя скорость перед тем, как начать финальное снижение к посадочной полосе, крылья упомянутого летательного аппарата снабжены увеличивающими подъемную силу предкрылками передней кромки и увеличивающими подъемную силу закрылками задней кромки, при этом упомянутые предкрылки и закрылки выполнены с возможностью управления посредством рычага управления для того, чтобы, в частности, придать упомянутым крыльям:
– перед тем как упомянутый летательный аппарат начинает упомянутый горизонтальный участок захода на посадку – гладкую конфигурацию, не увеличивающую подъемную силу, в которой упомянутые предкрылки и упомянутые закрылки втянуты;
– когда упомянутый летательный аппарат начинает упомянутый горизонтальный участок захода на посадку и когда его скорость проходит под первым предварительно определенным значением, – первую конфигурацию, очень мало увеличивающую подъемную силу, для которой упомянутые предкрылки выдвинуты средне и наклонены, в то время как закрылки остаются втянутыми;
– когда упомянутый летательный аппарат следует по упомянутому горизонтальному участку захода на посадку и когда его скорость проходит под вторым предварительно определенным значением, меньше упомянутого первого значения, – вторую конфигурацию со средне увеличенной подъемной силой, для которой упомянутые предкрылки выдвинуты средне и наклонены как в упомянутой первой конфигурации, и упомянутые закрылки выдвинуты средне и наклонены,
способ, отличающийся тем, что:
– автоматически придают упомянутым крыльям летательного аппарата, когда упомянутый рычаг управления находится в положении, соответствующем упомянутой первой конфигурации, и когда упомянутый летательный аппарат проходит первый порог скорости, выше упомянутого второго порога скорости, по меньшей мере, одну промежуточную конфигурацию, слегка увеличивающую подъемную силу, для которой упомянутые предкрылки выдвинуты средне и наклонены как в упомянутых первой и второй конфигурациях, а закрылки выдвинуты меньше, чем в упомянутой второй конфигурации;
– когда упомянутые крылья находятся в упомянутой промежуточной конфигурации и когда скорость летательного аппарата увеличивается, вместо того чтобы понизиться, и проходит второй порог скорости, выше упомянутого первого порога скорости, автоматически осуществляют втягивание упомянутых закрылков для того, чтобы упомянутые крылья вернулись к упомянутой первой конфигурации.
Таким образом, благодаря настоящему изобретению осуществляют частичное выдвижение закрылков при выдвижении предкрылков для того, чтобы переход ко второй конфигурации был ускорен. Во всяком случае, тогда, когда скорость летательного аппарата повысилась бы до превышения упомянутого второго порога, использовалась бы упомянутая первая конфигурация.
Предпочтительно упомянутый первый порог скорости находится близко от упомянутого первого предварительно определенного значения; предпочтительно он, к тому же, превышает последнее.
Упомянутый второй порог, превышающий упомянутый первый порог, позволяет исключить попеременное выдвижение и втягивание упомянутых закрылков в случае, когда скорость самолета колебалась бы около упомянутого первого порога. Этот второй порог может быть равен первому порогу, увеличенному на несколько узлов.
В упомянутой промежуточной конфигурации выдвинутые закрылки могут быть наклонены или нет. Если они наклонены, то, предпочтительно, меньше, чем в упомянутой второй конфигурации.
Такая промежуточная конфигурация, в которой закрылки выдвинуты и наклонены, может соответствовать обычной конфигурации со слегка увеличенной подъемной силой, используемой при некоторых обстоятельствах взлета.
Прилагаемые чертежи помогут лучше понять реализацию изобретения. На этих чертежах идентичные позиции обозначают подобные элементы.
Фиг.1 схематично изображает вид сверху в аксонометрии самолета, позволяющего осуществить способ в соответствии с настоящим изобретением.
Фиг.2 изображает различные конфигурации крыльев самолета по фиг.1.
Фиг.3 схематично изображает процесс посадки самолета по фиг.1.
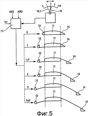
Фиг.4 и 5 изображают два примера промежуточных конфигураций посадки в соответствии с настоящим изобретением.
Гражданский транспортный самолет 10 известного типа, представленный на фиг.1, содержит два крыла 11, расположенных симметрично относительно фюзеляжа упомянутого самолета.
Упомянутые крылья 11 известным образом снабжены, кроме того, управляющими аэродинамическими поверхностями, увеличивающими подъемную силу предкрылками 13 передней кромки и увеличивающими подъемную силу закрылками 14 задней кромки.
Предкрылки 13 и закрылки 14 выполнены подвижными и управляемыми пилотом самолета 10 путем воздействия на рычаг 15, контролирующий средства управления и привода 16 упомянутых предкрылков и закрылков, как это схематично изображено на фиг.2. На последней фигуре изображено также, что рычаг 15, в общем, может принимать пять различных положений, обозначенных соответственно 0, 1, 2, 3 и Full (полное), соответствующих пяти различным конфигурациям с теми же позициями. Таким образом, как изображено на фиг.2:
– когда рычаг 15 находится в положении 0, соответствующая конфигурация 0 крыльев 11 является гладкой и не увеличивающей подъемную силу, предкрылки 13 и закрылки 14 полностью убраны, образуя аэродинамически единое целое с упомянутыми крыльями 11;
– когда рычаг 15 находится в положении 1 (см. позицию 15.1 на фиг.4 и 5), соответствующая конфигурация 1 крыльев 11 является очень мало увеличивающей подъемную силу, при этом предкрылки 13 выдвинуты средне вперед упомянутых крыльев и наклонены по отношению к последним, в то время как закрылки 14 полностью убраны (как в конфигурации 0);
– когда рычаг 15 находится в положении 2, соответствующая конфигурация 2 крыльев 11 является средне увеличивающей подъемную силу, предкрылки 13 выдвинуты средне перед упомянутыми крыльями и наклонены по отношению к последним (как в конфигурации 1), тогда как закрылки 14 также выдвинуты средне сзади упомянутых крыльев и наклонены относительно последних;
– когда рычаг 15 находится в положении 3, соответствующая конфигурация 3 крыльев 11 является значительно увеличивающей подъемную силу, предкрылки 13 полностью выдвинуты вперед упомянутых крыльев и наклонены по отношению к последним, в то время как закрылки 14 сильно выдвинуты сзади упомянутых крыльев в положение, более выступающее и более наклоненное, чем в средне выдвинутом положении по конфигурации 2; и
– когда рычаг 15 находится в положении Full, соответствующая конфигурация Full крыльев 11 полностью увеличивает подъемную силу, при этом предкрылки 13 полностью выдвинуты вперед упомянутых крыльев и наклонены по отношению к последним (как в конфигурации 3), в то время как закрылки 14 полностью выдвинуты сзади упомянутых крыльев 11 в положение, более выдвинутое и более наклоненное, чем в сильно выдвинутом положении конфигурации 3.
На фиг.3 схематично изображено обычное использование различных конфигураций, описанных выше, когда самолет 10 находится в фазе захода на посадку и приземления. Когда самолет 10 находится на траектории крейсерского полета 18 на высоте крейсерского полета НС, очевидно, что конфигурация крыльев 11 является гладкой конфигурацией 0, не увеличивающей подъемную силу. Упомянутые крылья 11 сохраняют гладкую конфигурацию 0, не увеличивающую подъемную силу, в процессе того, как самолет 10 следует по траектории снижения 19 в направлении горизонтального участка 20 захода на посадку, теряя при этом скорость.
Начиная горизонтальный участок 20 захода на посадку, пилот воздействует на рычаг 15 для того, чтобы крылья приняли конфигурацию 1, очень мало увеличивающую подъемную силу, когда скорость самолета 10 достигает первого предварительно определенного значения V1. Затем самолет 10 продолжает терять скорость на горизонтальном участке 20 захода на посадку высотой НА, и пилот воздействует на упомянутый рычаг 15 для того, чтобы упомянутые крылья 11 перешли от конфигурации 1, очень мало увеличивающей подъемную силу, к конфигурации 2, средне увеличивающей подъемную силу, такой переход имеет место при второй предварительно определенной скорости V2, меньшей V1.
Затем крылья 11 переходят из конфигурации 2 к конфигурации 3, когда самолет 10 начинает, при третьей предварительно определенной скорости V3, меньшей V2, финальное снижение при заходе на посадку 21, затем при четвертой предварительно определенной скорости V4, меньшей V3, пилот управляет переходом от конфигурации 3 к конфигурации Full для приземления на полосу 22.
Таким образом, на горизонтальном участке 20 захода на посадку констатируют, что в первый период времени предкрылки 13 выходят для того, чтобы перейти из втянутого положения в конфигурации 0 в положение выдвинутых средне в конфигурации 1, затем во второй период времени закрылки 14 выходят для того, чтобы перейти из втянутого положения в конфигурациях 0 и 1 в положение выдвинутых средне в конфигурации 2.
Очевидно, что выход предкрылков 13 и выход закрылков 14 не осуществляется мгновенно, но, напротив, продолжительность каждого из них составляет многие десятки секунд, например 40 секунд.
Отсюда следует, что время, необходимое для перехода из конфигурации 0 в начале горизонтального участка 20 захода на посадку к конфигурации 2 в конце этого участка, соответствует сумме упомянутых продолжительностей или 80 секундам в приведенном примере.
Для уменьшения этого времени в соответствии с настоящим изобретением, как изображено на фиг.4 и фиг.5, между конфигурациями 1 и 2 предусматривается промежуточная конфигурация, слегка увеличивающая подъемную силу 1ext или 1+F, в которой предкрылки 13 выдвинуты средне и наклонены, как в конфигурации 1 и 2, а закрылки 14 выдвинуты, но меньше, чем в конфигурации 2.
В промежуточной конфигурации 1ext по фиг.4 закрылки 14 просто выдвинуты назад без наклона. Напротив, в промежуточной конфигурации в 1+F по фиг.5 закрылки 14 выдвинуты и наклонены. Эта промежуточная конфигурация 1+F может соответствовать обычной конфигурации взлета самолета 10 с несколько увеличенной подъемной силой.
Впрочем, на фиг.4 и 5 средства управления и привода по фиг.2 заменены средствами управления и привода 17, на которые поступают данные о скорости Vc самолета 10, а также о порогах скорости AES и ARS. Первый порог AES выше второй, предварительно определенной скорости V2 и, предпочтительно, близок к первому предварительно определенному значению V1 и даже слегка выше последнего. Второй порог ARS выше первого порога AES на несколько узлов.
Когда рычаг 15 переводится в положение 15.1, соответствующее конфигурации 1, и когда скорость Vc самолета 10 становится равной, затем меньшей первого порога AES, средства управления и привода 17 управляют предкрылками 13 и закрылками 14 для того, чтобы последние приняли промежуточную конфигурацию 1ext или 1+F. Если первый порог AES выше первого, предварительно определенного значения V1, предкрылки 13 и закрылки 14 принимают упомянутое промежуточное положение, минуя конфигурацию 1. Напротив, если первый порог AES ниже упомянутого первого предварительно определенного значения V1, упомянутые предкрылки 13 и закрылки 14 управляются так, чтобы сначала принять конфигурацию 1, затем промежуточную конфигурацию 1ext или 1+F.
Затем, когда пилот управляет рычагом 15 и приводит его в положение, соответствующее конфигурации 2, крылья 11 переходят от промежуточной конфигурации 1ext или 1+F к конфигурации 2.
Если, несмотря на то, что крылья 11 находятся в промежуточной конфигурации 1ext или 1+F, скорость Vc самолета 10 увеличивается (вместо того, чтобы продолжать снижаться) до второго порога ARS, упомянутые средства 17 привода и управления управляют упомянутыми закрылками 14 для их втягивания для того, чтобы упомянутые крылья вернулись в конфигурацию 1.
Из вышесказанного понятно, что под действием средств 17 и несмотря на то, что рычаг 15 находится в положении 15.1, переход из конфигурации 0 или из конфигурации 1 к промежуточной конфигурации 1ext или 1+F и, напротив, возможный переход из промежуточной конфигурации в конфигурацию 1 выполняются полностью автоматически и не создают дополнительной нагрузки пилоту при пилотировании.
Кроме того, следует отметить, что в соответствии с настоящим изобретением возможно совместно использовать – и не только в качестве вариантов – две промежуточных конфигурации 1ext и 1+F. Например, можно предусмотреть, чтобы, когда рычаг 15 переведен в положение 15.1, крылья 11 переходили в условиях уменьшающейся скорости из конфигурации 0 или из конфигурации 1 сначала к промежуточной конфигурации 1ext, затем к промежуточной конфигурации 1+F.
Формула изобретения
1. Способ пилотирования летательного аппарата (10), перемещающегося по горизонтальному участку (20) захода на посадку, теряя скорость перед тем, как начать финальное снижение (21) к посадочной полосе (22), при этом крылья (11) упомянутого летательного аппарата (10) снабжены увеличивающими подъемную силу предкрылками (13) передней кромки и увеличивающими подъемную силу закрылками (14) задней кромки, причем упомянутые предкрылки и закрылки выполнены с возможностью управления рычагом управления (15) для придания, в частности, упомянутым крыльям перед тем, как упомянутый летательный аппарат (10) начинает упомянутый горизонтальный участок (20) захода на посадку, гладкой конфигурации (0) без увеличения подъемной силы, при которой предкрылки и закрылки втянуты, когда упомянутый летательный аппарат (10) начинает упомянутый горизонтальный участок (20) захода на посадку, и его скорость (Vc) падает ниже первого предварительно определенного значения (V1), по меньшей мере, одной первой конфигурации (1) с очень мало увеличенной подъемной силой, для которой упомянутые предкрылки (13) выдвинуты средне и наклонены, в то время как упомянутые закрылки (14) остаются втянутыми, и когда упомянутый летательный аппарат (10) следует по упомянутому горизонтальному участку (20) захода на посадку, и его скорость падает ниже второго предварительно определенного значения (V2), меньше, чем первое упомянутое значение (V1), второй конфигурации (2) со средней увеличенной подъемной силой, при которой упомянутые предкрылки (13) выдвинуты средне и наклонены, как в первой упомянутой конфигурации (1), и упомянутые закрылки (14) выдвинуты средне и наклонены, в котором автоматически придают упомянутым крыльям (11) летательного аппарата (10), когда упомянутый рычаг (15) управления находится в положении, соответствующем первой упомянутой конфигурации (1), и когда упомянутый летательный аппарат проходит первый порог скорости (AES), больше, чем упомянутое второе значение скорости (V2), по меньшей мере, одну промежуточную конфигурацию со слегка увеличенной подъемной силой (lext, 1+F), при которой упомянутые предкрылки (13) выдвинуты средне и наклонены, как в упомянутых первой (1) и второй (2) конфигурациях, а закрылки меньше выдвинуты, чем в упомянутой второй конфигурации, и когда упомянутые крылья (11) имеют упомянутую промежуточную конфигурацию (lext, 1+F), и когда скорость летательного аппарата повышается вместо того, чтобы уменьшаться, и проходит второй порог скорости (ARS), больше, чем упомянутый первый порог скорости (AES), при этом автоматически осуществляют втягивание упомянутых закрылков (14) для того, чтобы упомянутые крылья (11) вернулись к упомянутой первой конфигурации (1).
2. Способ по п.1, в котором упомянутый первый порог скорости (AES) близок к упомянутому первому предварительно определенному значению скорости (V1).
3. Способ по п.2, в котором упомянутый первый порог скорости (AES) больше, чем упомянутое первое предварительно определенное значение скорости (V1).
4. Способ по п.1, в котором упомянутый второй порог скорости (ARS) больше, чем упомянутый первый порог скорости (AES) на несколько узлов.
5. Способ по п.1, в котором в упомянутой промежуточной конфигурации (lext) упомянутые закрылки (14) выдвинуты, но не наклонены.
6. Способ по п.1, в котором в упомянутой промежуточной конфигурации (1+F) упомянутые закрылки (14) выдвинуты и наклонены.
7. Способ по п.6, в котором в упомянутой промежуточной конфигурации (1+F) упомянутые закрылки (14) менее наклонены, чем в упомянутой второй конфигурации (2).
8. Способ по п.6, в котором упомянутая промежуточная конфигурация (1+F) соответствует конфигурации взлета со слегка увеличенной подъемной силой летательного аппарата.
9. Летательный аппарат, в котором осуществлен способ по п.1.
РИСУНКИ
|
|