|
|
(21), (22) Заявка: 2008109339/11, 11.03.2008
(24) Дата начала отсчета срока действия патента:
11.03.2008
(43) Дата публикации заявки: 20.09.2009
(46) Опубликовано: 20.05.2010
(56) Список документов, цитированных в отчете о поиске:
RU 2074833 C1, 16.08.1948. GB 606524 A, 16.08.1948. GB 2254893 A, 21.10.1992. RU 2272750 C2, 27.03.2006. SU 133760 A1, 01.01.1960.
Адрес для переписки:
432072, г.Ульяновск, пр-кт Туполева, 14, кв.297, Э.В. Жданову
|
(72) Автор(ы):
Кормильченко Геннадий Мстиславич (RU)
(73) Патентообладатель(и):
Кормильченко Геннадий Мстиславич (RU)
|
(54) УСТРОЙСТВО КРЕПЛЕНИЯ ЛОПАСТИ ВОЗДУШНОГО ВИНТА ИЗМЕНЯЕМОГО ШАГА
(57) Реферат:
Изобретение относится к авиационной технике, в частности к устройству крепления лопасти воздушного изменяемого шага, выполненной из пластика, углепластика и металлических. Устройство содержит стакан, имеющий цилиндрическую часть и рукав втулки. Комлевая часть лопасти расположена внутри стакана и прикреплена к нему. Устройство снабжено вкладышем, вклеенным в комель лопасти. Стакан закреплен к комле лопасти посредством болта, установленного вдоль продольной оси стакана. Болт содержит конусную головку, которая утопает в отверстии, выполненном в горизонтальной поверхности стакана. Верхняя часть отверстия со стороны головки болта, выполненного вдоль продольной оси болта, выполнена шестигранной формы и переходит в круглое сквозное отверстие. На торцевых кромках головки болта выполнены три полукруглой формы выемки. Через выемки в местах сопряжения головки болта с горизонтальной поверхностью стакана выполнены три сквозных резьбовых отверстия, проходящие через головку болта и горизонтальную поверхность стакана. Сквозные резьбовые отверстия переходят в три глухих резьбовых отверстия, выполненные в местах сопряжения внешней круглой поверхности вкладыша с внутренней круглой поверхностью комля лопасти. В сквозные и глухие резьбовые отверстия ввинчены три болта. Достигается увеличение прочности, надежности и долговечности. 6 ил.
Устройство крепления лопасти воздушного винта изменяемого шага.
Изобретения относится к авиационной технике, в частности к устройству крепления лопастей воздушного винта изменяемого шага, выполненных из пластика, углепластика и металлических.
Из аналогов уровня техники известно изобретение «Устройство крепления лопасти воздушного винта», содержащее стакан, имеющий цилиндрическую часть, при этом комлевая часть лопасти расположена внутри стакана и закреплена к стакану (Авторское свидетельство СССР 
Недостатки известного изобретения следующие.
1. Устройство служит для крепления деревянных лопастей и не сможет обеспечить высокую точность положения лопасти, выполненной из пластика или углепластика, относительно стакана.
2. Меньшая прочность и надежность конструкции устройства относительно заявляемого изобретения.
Из аналогов уровня техники наиболее близким техническим решением по количеству общих существенных признаков – прототипом, может быть принято изобретение «Устройство крепления лопасти воздушного винта», содержащее стакан, имеющий цилиндрическую часть, рукав втулки, при этом комлевая часть лопасти расположена внутри стакана и закреплена к стакану (RU 2074833, B64C 11/04, заявка на изобретение 95101680/11) от 03.02.1995 г. опубликован 10.03.1997 г., изобретатель и патентообладатель Лошконов Вадим Вавилович).
Недостатки принятого за прототип изобретения следующие.
1. Устройство служит для крепления деревянных лопастей и не сможет обеспечить высокую точность положения лопасти, выполненной из пластика или углепластика, относительно стакана.
2. Имеет меньшую прочность и надежность конструкции устройства относительно заявляемого изобретения.
Техническим результатом заявляемого изобретения «Устройство крепления лопасти воздушного винта изменяемого шага» по сравнению с изобретением, принятым за прототип, является следующее.
1. Устройство обеспечивает более высокую точность положения лопасти, выполненной из пластика или углепластика, относительно стакана.
2. Увеличение прочности, надежности и долговечности «Устройства крепления лопасти воздушного винта изменяемого шага».
Технический результат достигается тем, что по сравнению с принятым за прототип изобретением «Устройство крепления лопасти воздушного винта», содержащим стакан, имеющий цилиндрическую часть, рукав втулки, при этом комлевая часть лопасти расположена внутри стакана и закреплена к стакану, в заявляемом изобретении «Устройство крепления лопасти воздушного винта изменяемого шага» устройство снабжено вкладышем, вклеенным в комель лопасти и вставленным в стакан, при этом упомянутый стакан закреплен к комлю лопасти посредством болта, установленного вдоль продольной оси стакана, содержащего конусную головку, которая утопает в конусном отверстии, выполненном в горизонтальной поверхности стакана, а также содержащего цилиндрическую направляющую часть болта, плотно прилегающую к цилиндрической направляющей части, расположенной в осевом отверстии упомянутого вкладыша со стороны его свободного торца и фиксирующую болт от проворота относительно вкладыша, резьбовую часть, ввинченную в резьбовое отверстие во вкладыше, и отверстие, выполненное вдоль продольной оси болта, у которого верхняя часть со стороны головки болта выполнена шестигранной формы, с возможностью завинчивания болта во вкладыш, и переходит в круглое сквозное отверстие, причем на торцевых кромках головки болта выполнены три полукруглой формы выемки, расположенные равномерно через 120 градусов по окружности относительно продольной оси стакана, через которые в местах сопряжения головки болта с горизонтальной поверхностью стакана выполнены три сквозные резьбовые отверстия, проходящие через головку болта и горизонтальную поверхность стакана и плавно переходящие в три глухих резьбовых отверстия, выполненные в местах сопряжения внешней круглой поверхности вкладыша с внутренней круглой поверхностью комля лопасти, которые образованы одной полукруглой выемкой, выполненной на внешней круглой поверхности вкладыша и другой полукруглой выемкой, выполненной на внутренней круглой поверхностью комля лопасти, при этом через три упомянутые сквозные и глухие резьбовые отверстия ввинчены три болта, в которых на поперечной резьбовой части выполнены отверстия, через которые болты закреплены от поворота контровочной проволокой.
Технический результат заявляемого изобретения по сравнению с изобретением, принятым за прототип, обеспечение более высокой точности положения лопасти, выполненной из пластика или углепластика относительно стакана, достигается за счет конструкции вкладыша и болта, позволяющей выполнить точное позиционирования вкладыша при вклеивании его в комель лопасти.
Технический результат заявляемого изобретения по сравнению с изобретением, принятым за прототип, увеличение прочности, надежности и долговечности устройства крепления лопасти воздушного винта изменяемого шага за счет конструкции вкладыша и болта, увеличивающих прочность соединения стакана с комлем лопасти, и их направляющих, которые за счет удлинения направляющих, уменьшения резьбовой части в месте соединения болта со вкладышем, обеспечивают увеличение прочности соединения болта с комлем лопасти, поджимая стакан к комлю лопасти.
Увеличение прочности, надежности и долговечности устройства крепления лопасти воздушного винта изменяемого шага достигается также за счет точного позиционирования вкладыша при вклеивании вкладыша в комель лопасти.
Заявляемое изобретение «Устройство крепления лопасти воздушного винта изменяемого шага» поясняется следующими чертежами.
Фиг.1. Устройство крепления лопасти воздушного винта изменяемого шага, общий вид на втулку винта.
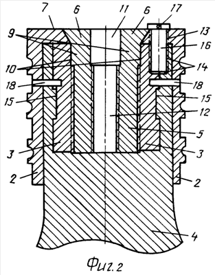
Фиг.2. Устройство крепления лопасти воздушного винта изменяемого шага, вид спереди в разрезе.
Фиг.3. Устройство крепления лопасти воздушного винта изменяемого шага, вид сверху.
Фиг.4. Вкладыш, вид спереди в разрезе.
Фиг.5. Болт, вид спереди в разрезе.
Фиг.6. Болт, вид сверху.
Сущность изобретения. Устройство крепления лопасти воздушного винта изменяемого шага содержит втулку винта 1 (фиг.1), стакан 2 (фиг.2, 3). Устройство снабжено вкладышем 3 (фиг.2, 4), вставленным в стакан 2 (фиг.2, 3) и вклеенным в комель лопасти 4 (фиг.2). Стакан 2 (фиг.2, 3) насажен на комель лопасти 4 (фиг.2), а также закреплен к комлю лопасти 4 (фиг.2) посредством болта 5 (фиг.2, 5). Болт 5 (фиг.2, 5) содержит конусную головку 6 (фиг.2, 3, 5, 6), утопающую в конусном отверстии, выполненном в горизонтальной поверхности 7 (фиг.2, 3) стакана 2 (фиг.2, 3). На торцевых кромках головки 6 (фиг.6) болта 5 (фиг.2, 5) выполнены три полукруглой формы выемки 8 (фиг.6), расположенные равномерно через 120 градусов по окружности относительно продольной оси стакана 2 (фиг.2, 3). Болт 5 (фиг.2, 5) содержит цилиндрическую направляющую часть 9 (фиг.2, 5), которая плотно прилегает к цилиндрической направляющей части 10 (фиг.2, 4) вкладыша 3 (фиг.2, 4), расположенной в его осевом отверстии со стороны свободного торца и фиксирующей болт 5 (фиг.2, 5) от поворота относительно вкладыша 3 (фиг.2. 4). Вдоль продольной оси болта 5 (фиг.2, 5) со стороны его головки 6 (фиг.2, 5) выполнено шестигранной формы отверстие 11 (фиг.2, 5) для завинчивания болта 5 (фиг. 2, 5) во вкладыше 3 (фиг.2, 4), которое затем плавно переходит в сквозное круглое резьбовое отверстие 12 (фиг.2, 5) в болте 5 (фиг.2, 5). В местах сопряжения полукруглой формы выемок 8 (фиг.6) в торцевых кромках головки 6 (фиг.6) болта 5 (фиг.2) с горизонтальной поверхностью 7 (фиг.2, 3) стакана 2 (фиг.2, 3) выполнены три сквозных резьбовых отверстия 13 (фиг.2, 3), проходящие через головку 6 (фиг.2, 3) болта 5 (фиг.2) и горизонтальную поверхность 7 (фиг.2, 3) стакана 2 (2, 3) и плавно переходящие в три глухих резьбовых отверстия 14 (фиг.2), выполненные в местах сопряжения внешней круглой поверхности 15 (фиг.2, 4) вкладыша 3 (фиг.2, 4) с внутренней круглой поверхностью комля лопасти 4 (фиг.2), образованных одной полукруглой выемкой (не показана), выполненной на внешней круглой поверхности вкладыша 3 (фиг.2,) и другой полукруглой выемкой (не показана), выполненной на внутренней круглой поверхностью комля лопасти 4 (фиг.2). Через три сквозных резьбовых отверстия 13 (фиг.2, 3), проходящие через полукруглой формы выемки 8 (фиг.6), выполненные в головке 6 (фиг.2, 3), болта 5 (фиг.2) и горизонтальную поверхность 7 (фиг.2, 3) стакана 2 (2, 3) и через плавно переходящие три глухие резьбовые отверстия 14 (фиг.2), выполненные в местах сопряжения внешней круглой поверхности 15 (фиг.2, 4) вкладыша 3 (фиг.2, 4) с внутренней круглой поверхностью комля лопасти 4 (фиг.2), образованных одной полукруглой выемкой (на чертеже не показана), выполненной на внешней круглой поверхности вкладыша 3 (фиг.2) и другой полукруглой выемкой (не показана), выполненной на внутренней круглой поверхностью комля лопасти 4 (фиг.2), ввинчены три болта 16 (фиг.2). В головках трех болтов 16 (фиг.2) выполнены отверстия 17 (фиг.2), через которые болты 16 (фиг.2) фиксируется от проворота контровочной проволокой (на чертеже не показана). На расположенных радиально противоположно на боковой поверхностях стакана 2 (фиг.2) выполнены технологические отверстия 18 (фиг.2, 4), которые проходят через стакан 2 (фиг.2), комель лопасти 4 (фиг.2) и частично выполнены во вкладыше 3 (фиг.2, 4).
Устройство работает следующим образом.
Втулка 1 через фланец крепится на вал редуктора (не показаны). Вкладыш 3 вклеивают в комель лопасти 4. Стакан 2 надевают на комель лопасти 4. А также стакан 2 закрепляют к комлю лопасти 4 посредством болта 5, который ввинчивают в резьбовое отверстие вкладыша 3, при этом конусная головка 6 болта 5 утопает в конусном отверстии, выполненном в горизонтальной поверхности 7 стакана 2. Через шестигранной формы отверстие 11 завинчивают болт 5 во вкладыш 3, при этом цилиндрическая направляющая часть 10 болта 5 плотно прилегает к цилиндрической направляющей части 10 вкладыша 3, расположенной в его осевом отверстии со стороны свободного торца, обеспечивая плотную точную поводку. Затем на торцевых кромках конусной головки 8 болта 5 выполняют полукруглой формы выемки 8. На горизонтальной поверхности 7 стакана 2 выполнены три сквозных резьбовых отверстия 13, проходящих через головку 6 болта 5, переходящих в три глухих резьбовых отверстия 14, выполненные в местах сопряжения внешней круглой поверхности 15 вкладыша 3 с внутренней круглой поверхностью комля лопасти 4, образованных одной полукруглой выемкой, выполненной на внешней круглой поверхности 15 вкладыша 3, и другой полукруглой выемкой, выполненной на внутренней круглой поверхностью комля лопасти 4. Через три сквозные резьбовые отверстия 13 и три глухие резьбовые отверстия 14 ввинчивают три болта 16, проходящие через горизонтальную поверхность 7 стакана 2 и частично через места сопряжения внешней круглой поверхности 15 вкладыша 3 с внутренней круглой поверхностью комля лопасти 4. Три полукруглых выемки 8 в головки 6 болта 5 позволяют избежать самопроизвольного выворачивания болта 5 из вкладыша 3. В головках трех болтов 16 выполняют отверстия 17, через которые болты 16 фиксируются от поворота контровочной проволокой (не показана) с целью исключения их самопроизвольного откручивания.
Формула изобретения
Устройство крепления лопасти воздушного винта изменяемого шага, содержащее стакан, имеющий цилиндрическую часть и рукав втулки, при этом комлевая часть лопасти расположена внутри стакана и прикреплена к стакану, отличающееся тем, что устройство снабжено вкладышем, вклеенным в комель лопасти и вставленным в стакан, при этом упомянутый стакан прикреплен к комлю лопасти посредством болта, установленного вдоль продольной оси стакана, содержащего конусную головку, которая утопает в конусном отверстии, выполненном в горизонтальной поверхности стакана, цилиндрическую направляющую часть, плотно прилегающую к цилиндрической направляющей части, расположенной в осевом отверстии упомянутого вкладыша со стороны его свободного торца, и фиксирующую болт от поворота относительно вкладыша резьбовую часть, ввинченную в резьбовое отверстие во вкладыше, и выполненное вдоль продольной оси болта отверстие, у которого верхняя часть со стороны головки болта выполнена шестигранной формы с возможностью завинчивания болта во вкладыш, и плавно переходит в круглое сквозное отверстие, причем на торцевых кромках головки болта выполнены три полукруглой формы выемки, расположенные равномерно через 120° по окружности относительно продольной оси стакана, через которые в местах сопряжения головки болта с горизонтальной поверхностью стакана выполнены три сквозные резьбовые отверстия, проходящие через головку болта и горизонтальную поверхность стакана и плавно переходящие в три глухих резьбовых отверстия, выполненных в местах сопряжения внешней круглой поверхности вкладыша с внутренней круглой поверхностью комля лопасти, которые образованы одной полукруглой выемкой, выполненной на внешней круглой поверхности вкладыша, и другой полукруглой выемкой, выполненной на внутренней круглой поверхности комля лопасти, при этом в три упомянутые сквозные и глухие резьбовые отверстия ввинчены три болта, в которых на поперечной резьбовой части выполнены отверстия, через которые болты закреплены от поворота контровочной проволокой.
РИСУНКИ
|
|