|
|
(21), (22) Заявка: 2008108485/11, 26.04.2006
(24) Дата начала отсчета срока действия патента:
26.04.2006
(30) Конвенционный приоритет:
08.08.2005 DE 102005037827.7 08.12.2005 DE 102005058749.6
(43) Дата публикации заявки: 20.09.2009
(46) Опубликовано: 20.05.2010
(56) Список документов, цитированных в отчете о поиске:
DE 19806106 C1, 09.09.1999. EP 0936138 A2, 18.08.1999. EP 0287692 A, 26.10.1988. RU 27049 U1, 10.01.2003.
(85) Дата перевода заявки PCT на национальную фазу:
11.03.2008
(86) Заявка PCT:
EP 2006/003878 20060426
(87) Публикация PCT:
WO 2007/016981 20070215
Адрес для переписки:
119034, Москва, Пречистенский пер., 14, стр. 1, 4-й этаж, “Гоулингз Интернэшнл Инк.”, Ю.В.Дементьевой
|
(72) Автор(ы):
КРАН Стефан (DE)
(73) Патентообладатель(и):
ЭЙРБАС ДОЙЧЛАНД ГМБХ (DE)
|
(54) БЛОК ИЛЛЮМИНАТОРА, ВСТАВЛЯЕМЫЙ В ВЫРЕЗ ДЛЯ ИЛЛЮМИНАТОРА ВО ВНЕШНЕЙ ОБШИВКЕ ЛЕТАТЕЛЬНОГО АППАРАТА
(57) Реферат:
Изобретение относится к области самолетостроения, более конкретно к блоку иллюминатора, вставляемому в вырез для иллюминатора во внешней обшивке. Блок (1) иллюминатора для установки в вырезе (3) во внешней обшивке (4) летательного аппарата содержит раму (2, 34, 40) для установки в ней пакета (6). Также блок содержит прижимную раму (25, 36). Рама (2, 34, 40) иллюминатора может быть прикреплена к внутренней поверхности (5) внешней обшивки (4) в зоне выреза при помощи заклепок. Кроме того, к раме (2, 34, 40) иллюминатора и к внешней обшивке (4) присоединяется, в частности с использованием заклепок, одно крепежное устройство (14) для крепления прижимной рамы (25, 36), и рама (2, 34, 40) иллюминатора имеет в поперечном сечении в целом Г-образную или прямоугольную геометрическую форму. Технический результат направлен на упрощение конструкции рамы иллюминатора и увеличение поверхности остекления иллюминатора. 12 з.п. ф-лы, 5 ил.
ОБЛАСТЬ ТЕХНИКИ
Настоящее изобретение относится к блоку иллюминатора, вставляемому в вырез для иллюминатора во внешней обшивке летательного аппарата, с рамой иллюминатора для установки пакета иллюминатора и прижимной рамой.
ПРЕДПОСЫЛКИ СОЗДАНИЯ ИЗОБРЕТЕНИЯ
Известные варианты блоков иллюминаторов для пассажирских летательных аппаратов имеют довольно сложную конструкцию. В частности, рама иллюминатора для установки пакета иллюминатора представляет собой сложную конструкцию, в целом имеющую Т-образную форму в поперечном сечении, с наклонной стенкой, и такую конструкцию ввиду ее сложной формы, как правило, получают штамповкой как цельную деталь, в качестве материала для которой может использоваться, например, алюминий. При использовании известных конструкций рам иллюминаторов возникают по меньшей мере два края во внешней обшивке конструкции фюзеляжа, которые ухудшают аэродинамику и приводят к увеличению лобового сопротивления. Кроме того, крепление пакета иллюминатора в раме иллюминатора с помощью прижимной рамы требует использования так называемых болтов с проушинами, которые прикрепляются к раме иллюминатора с помощью заклепок, причем необходимость выравнивания этих болтов, которое в производственном процессе не может быть выполнено идеально, осложняет последующую установку пакета иллюминатора с помощью прижимной рамы. Более того, сложная геометрическая форма рамы иллюминатора осложняет ее изготовление из композиционных материалов, армированных волокнами.
СУЩНОСТЬ ИЗОБРЕТЕНИЯ
Объектом настоящего изобретения, среди прочего, является создание блока иллюминатора для летательного аппарата, в котором в значительной степени могут быть устранены вышеуказанные недостатки известных технических решений.
Поскольку рама иллюминатора может быть прикреплена к внутренней поверхности внешней обшивки в зоне выреза для иллюминатора, в частности может быть прикреплена с помощью заклепок, причем к раме иллюминатора и к внешней обшивке присоединяется, в частности с использованием заклепок, по меньшей мере одно крепежное устройство для крепления прижимной рамы, и рама иллюминатора имеет в поперечном сечении в целом Г-образную или прямоугольную геометрическую форму, то может быть получена достаточно простая конструкция предлагаемого в изобретении блока иллюминатора, в частности рамы иллюминатора.
По сравнению с известными техническими решениями предлагаемый в изобретении блок иллюминатора для одного и того же выреза для иллюминатора может обеспечить большую поверхность остекления иллюминатора, поскольку рама иллюминатора не выступает или выступает совсем немного в вырез для иллюминатора, поэтому площадь остекления, если и уменьшается, то совсем ненамного.
Кроме того, упрощенная геометрическая форма рамы иллюминатора, Г-образная или прямоугольная, дает возможность экономичного производства всего блока иллюминатора, с использованием композиционных материалов, армированных волокнами, в случае необходимости. Далее, предлагаемый в изобретении блок иллюминатора может упростить испытания материалов и обеспечивает снижение веса по сравнению с известными техническими решениями. Кроме того, упрощена конструкция уплотнения пакета иллюминатора, поскольку в предлагаемом блоке используется меньше кромок уплотнения. Также упрощается установка блока иллюминатора, поскольку при этом отпадает необходимость в выравнивании болтов с проушинами, используемых в известных конструкциях для установки пакета и прижимной рамы иллюминатора, то есть в приведении болтов в перпендикулярное положение для того, чтобы можно было поставить на место прижимную раму для фиксации пакета иллюминатора. В соответствии с изобретением соединительные болты с резьбой креплений прижимной рамы всегда устанавливаются перпендикулярно к раме иллюминатора так, чтобы прижимная рама, обеспечивающая прижатие пакета иллюминатора к раме, могла быть без труда установлена на эти болты и прикреплена, например, с помощью гаек. Наконец, предлагаемый в изобретении блок иллюминатора имеет всего один край во внешней обшивке, влияющий на обтекающий поток так, что лобовое сопротивление снижается.
В зоне креплений прижимной рамы эти крепления, вместе с рамой иллюминатора, прочно прикреплены, в частности с использованием заклепок, к внешней обшивке. Рама иллюминатора, или крепления прижимной рамы, предпочтительно прикрепляются к внешней обшивке летательного аппарата заклепками, расположенными в два ряда, проходящих по периметру и отстоящих друг от друга на некотором расстоянии, причем в любом случае заклепки располагаются равномерно по периметру выреза для иллюминатора.
В соответствии с другим вариантом осуществления изобретения по меньшей мере одно крепление прижимной рамы имеет упорную поверхность для пакета иллюминатора. В этом случае пакет иллюминатора может направляться или выравниваться внутри рамы иллюминатора в процессе установки.
В соответствии с другим вариантом осуществления изобретения по меньшей мере одно крепление прижимной рамы выполнено как одна цельная деталь и содержит по меньшей мере один соединительный элемент, в частности по меньшей мере один соединительный болт с резьбой, причем по меньшей мере один соединительный элемент установлен в целом перпендикулярно к раме иллюминатора.
Прежде всего, такая конструкция крепления прижимной рамы обеспечивает возможность упрощения и удешевления изготовления таких креплений на автоматическом производственном оборудовании. Соединительные элементы, один из которых предпочтительно имеет форму соединительного болта с резьбой, установленного перпендикулярно на креплении прижимной рамы, упрощает установку пакета иллюминатора, поскольку прижимная рама, обеспечивающая прижатие пакета иллюминатора с имеющимися на ней проходными отверстиями, расположенными в соответствующих местах, может быть надвинута на соединительные болты без дополнительного выравнивания.
В соответствии с еще одним вариантом осуществления изобретения в каждом случае по меньшей мере одно крепление прижимной рамы прикреплено с помощью по меньшей мере двух соединительных элементов, в частности с помощью по меньшей мере двух заклепок, к раме иллюминатора и к внешней обшивке.
Соединение с помощью заклепок обеспечивает надежную фиксацию крепления прижимной рамы к раме иллюминатора или к внешней обшивке летательного аппарата.
В соответствии с еще одним вариантом осуществления изобретения на раме иллюминатора располагаются по меньшей мере два крепления прижимной рамы, которые находятся примерно на одинаковом расстоянии друг от друга. В этом случае обеспечивается равномерное распределение статического усилия, прижимающего пакет иллюминатора к раме иллюминатора с помощью прижимной рамы. В одном из конкретных вариантов осуществления изобретения используются шесть креплений прижимной рамы, которые равномерно располагаются по периметру рамы иллюминатора.
В соответствии с еще одним вариантом осуществления предлагаемого в изобретении блока иллюминатора пакет иллюминатора содержит внешний и внутренний элементы остекления, причем они охватываются по периметру уплотнением иллюминатора. В такой конструкции может в значительной степени предотвращаться конденсация влаги на элементах остекления иллюминатора. Кроме того, улучшаются теплоизоляционные характеристики блока иллюминатора.
Еще в одном варианте осуществления изобретения по меньшей мере в одном креплении прижимной рамы имеется упорная поверхность, которая примерно параллельна внешней поверхности уплотнения иллюминатора и в целом перпендикулярна к раме иллюминатора. В результате обеспечивается надежное направление пакета иллюминатора в процессе его установки. В соответствии с одним из конкретных вариантов осуществления изобретения между наружной поверхностью уплотнения иллюминатора и соответствующими упорными поверхностями креплений прижимной рамы имеется небольшой зазор, обеспечивающий возможность компенсации допусков в процессе установки и эксплуатации.
В соответствии с еще одним вариантом осуществления изобретения рама иллюминатора содержит окружную опорную поверхность для пакета иллюминатора. В этом случае обеспечивается самоцентрирование пакета иллюминатора внутри рамы иллюминатора в процессе его прижатия прижимной рамой.
КРАТКОЕ ОПИСАНИЕ ЧЕРТЕЖЕЙ
Настоящее изобретение описывается ниже более подробно со ссылками на прилагаемые чертежи,
где фиг.1 – вид сверху блока иллюминатора в направлении его установки (изнутри конструкции фюзеляжа);
фиг.2 – вид крепления прижимной рамы с направления В;
фиг.3 – вид поперечного сечения первого варианта блока иллюминатора;
фиг.4 – вид поперечного сечения второго варианта блока иллюминатора;
фиг.5 – вид поперечного сечения третьего варианта блока иллюминатора.
Одинаковые или аналогичные элементы на всех чертежах указаны одинаковыми ссылочными обозначениями. Изображения на чертежах являются схематическими и выполнены без соблюдения масштаба.
ПОДРОБНОЕ ОПИСАНИЕ
На фиг.1 представлен вид сверху предлагаемого в изобретении блока иллюминатора в направлении установки, то есть изнутри конструкции фюзеляжа.
Блок иллюминатора содержит, среди прочего, раму 2 иллюминатора, которая охватывает вырез 3 для иллюминатора во внешней обшивке 4 конструкции фюзеляжа летательного аппарата. Рама 2 иллюминатора опирается на внутреннюю поверхность 5 внешней обшивки 4. Для полной сборки блока 1 иллюминатора в раме 2 иллюминатора устанавливается пакет 6 иллюминатора. В представленном варианте рама 2 иллюминатора соединяется с внешней обшивкой 4 летательного аппарата с помощью крепежных элементов, например с помощью заклепок, из которых на чертеже изображены только заклепки 7-13 (остальные заклепки такие же и расположены в таком же порядке). В такой конструкции заклепки 7-13 размещены, например, в два ряда, линии которых параллельны, причем заклепки в каждом ряду разнесены друг от друга на равное расстояние по периметру рамы 2 иллюминатора.
С помощью заклепок 11-13 крепление 14 прижимной рамы одновременно соединяется с рамой 2 иллюминатора и с внешней обшивкой 4. В целом по периметру рамы 2 иллюминатора размещено еще пять креплений (не показаны), предпочтительно разнесенных друг от друга на равные расстояния, причем эти крепления имеют такую же конструкцию, как и крепление 14, и присоединены к раме 2 иллюминатора и к внешней обшивке 4 с помощью заклепок. В отличие от рассматриваемого варианта блока 1 иллюминатора, который содержит в общей сложности шесть креплений прижимной рамы, также возможны варианты, содержащие 2, 3, 4, 5, 7 и более таких креплений.
Рама 2 иллюминатора и крепление 14 прижимной рамы, а также остальные такие крепления могут присоединяться к внутренней поверхности 5 внешней обшивки 4, например, с помощью клеевого соединения или других соединительных средств (вместо заклепок).
На фиг.2 представлен вид крепления 14 прижимной рамы с направления В (см. фиг.1).
Крепление 14 прижимной рамы содержит, среди прочего, соединительный болт 15 с резьбой, используемый в качестве соединительного элемента, а также упорную поверхность 16. Эта упорная поверхность 16 используется в частности для направления пакета 6 иллюминатора внутри рамы 2. Крепление 14 прижимной рамы предпочтительно выполняется как одна цельная часть и может быть, например, изготовлено из сплошной заготовки путем удаления лишнего материала. В качестве материалов для изготовления крепления 14 прижимной рамы могут использоваться алюминий, алюминиевые сплавы, титан, титановые сплавы, сталь или легированная сталь. В качестве альтернативного варианта крепление 14 прижимной рамы также может быть выполнено из пластмасс, армированных волокнами, получаемых, например, с использованием инжекционного или литьевого прессования. На конце 17 соединительного болта 15 имеется часть 18 с резьбой, на которую могут навинчиваться подходящие крепежные элементы, такие как, например, гайки и т.п. Крепление 14 прижимной рамы опирается на верхнюю часть рамы 2 иллюминатора, которая, в свою очередь, опирается на внутреннюю поверхность 5 внешней обшивки 4 конструкции фюзеляжа летательного аппарата.
В отличие от других заклепок (на фиг.2 не показаны) заклепки 11, 13 используются прежде всего для жесткого соединения крепления 14 прижимной рамы и рамы 2 иллюминатора к внешней обшивке 4 конструкции фюзеляжа летательного аппарата.
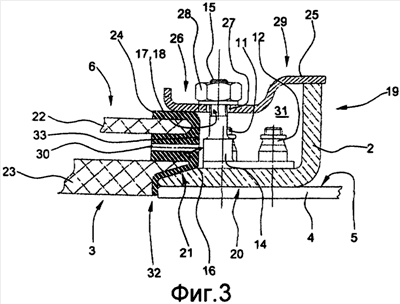
На фиг.3 представлено поперечное сечение блока 1 иллюминатора по линии А-А, причем заклепка 13 не изображена, чтобы не загромождать чертеж.
Рама 2 иллюминатора опирается на внутреннюю поверхность 5 внешней обшивки 4 конструкции фюзеляжа. Рама 2 иллюминатора или крепление 14 прижимной рамы соединяется с внешней обшивкой 4 конструкции фюзеляжа с помощью заклепок 11 и 12, а также заклепки 13 (не показана). Рама 2 иллюминатора имеет простую, в целом Г-образную форму, в поперечном сечении с первой частью 19 и второй частью 20.
Назначением первой части 19, примерно перпендикулярной к внешней обшивке 4 летательного аппарата, является прежде всего повышение жесткости блока 1 иллюминатора. Кроме того, рама 2 иллюминатора содержит окружную опорную поверхность 21, которая служит опорой пакета 6 иллюминатора и центрирует его. Для этого опорная поверхность 21 наклонена в направлении выреза 3 иллюминатора, то есть имеет коническую конфигурацию, так что пакет 6 иллюминатора сам устанавливается по центру.
Пакет 6 иллюминатора включает внутренний элемент 22 и внешний элемент 23 остекления иллюминатора, которые охватываются по периметру уплотнением 24 иллюминатора, обеспечивающим герметичность. Кроме того, для крепления пакета 6 иллюминатора в раме 2 иллюминатора используется прижимная рама 25. Первая часть 26 прижимной рамы 25 содержит проходное отверстие 27, сквозь которое может проходить по меньшей мере конец 17 соединительного болта 15 с частью 18 с резьбой. Прижимная рама 25 может быть соединена с креплением 14 с помощью гайки 28. Прижимная рама 25 содержит еще пять проходных отверстий, сквозь которые могут проходить соединительные болты остальных пяти креплений прижимной рамы, так что она может быть прижата к раме 2 иллюминатора для фиксации пакета 6 иллюминатора между прижимной рамой 25 и рамой 2 иллюминатора с помощью еще пяти гаек. В результате вторая часть 29 прижимной рамы 25 опирается на первую часть 19 рамы 2 иллюминатора. Крепления прижимной рамы предпочтительно распределены по периметру рамы 2 иллюминатора таким образом, чтобы они находились примерно на одинаковом расстоянии друг от друга.
Хотя первая часть 26 и вторая часть 29 прижимной рамы не находятся в одной плоскости в варианте осуществления изобретения, показанном на фиг.3, однако возможен также вариант, в котором эти части находятся в одной плоскости. В этом случае может оказаться необходимым уменьшить длину первой части 19 рамы 2 иллюминатора.
Соединительный болт 15 с резьбой устанавливается так, чтобы он был примерно перпендикулярен ко второй части 20 рамы 2 иллюминатора или к внешней обшивке 4 конструкции фюзеляжа. В процессе установки предлагаемого в изобретении блока 1 иллюминатора сначала рама 2 иллюминатора прикрепляется к внешней обшивке 4 с помощью заклепок. В процессе клепания одновременно прикрепляются также и крепления прижимной рамы. После этого пакет 6 иллюминатора помещается на опорную поверхность 21 рамы 2 иллюминатора и выравнивается. В такой конструкции выравнивание пакета 6 иллюминатора осуществляется в основном с помощью упорных поверхностей креплений прижимной рамы, расположенных примерно перпендикулярно. Благодаря соединительным болтам 15 с резьбой, которые всегда устанавливаются примерно перпендикулярно, прижимная рама 25 может быть установлена на эти болты для завершения процесса сборки без предварительного выравнивания и для зажима пакета 6 между прижимной рамой 25 и рамой 2 иллюминатора, прижимная рама 25 может быть просто плотно прижата с помощью гаек 28. В этом случае установка предлагаемого в изобретении блока 1 иллюминатора может быть осуществлена легко и быстро в вырезе 3 для иллюминатора во внешней обшивке 4 конструкции фюзеляжа летательного аппарата, в частности пассажирского самолета.
Кроме того, в уплотнении 24 иллюминатора выполняется по меньшей мере один вентиляционный канал 30. Прижимная рама 25 вместе с уплотнением 24 иллюминатора и рама 2 иллюминатора формируют окружное незаполненное пространство 31, которое вместе с вентиляционным каналом 30 используется для вентиляции внешнего элемента 23 остекления иллюминатора.
Для отвода влаги, которая конденсируется внутри незаполненного пространства 31, прижимная рама 25 может быть снабжена в ее самой нижней точке дренажным отверстием, через которое сконденсировавшаяся влага может выходить наружу.
Кроме того, на фиг.3 показано, что только один внешний край 32, ухудшающий аэродинамику поверхности, образуется между внешней обшивкой 4 и внешним элементом 23 остекления иллюминатора, так что предлагаемый в изобретении узел иллюминатора практически не ухудшает аэродинамические характеристики внешней обшивки конструкции фюзеляжа летательного аппарата.
Упорная поверхность 16 или остальные пять упорных поверхностей по существу направляют или выравнивают пакет 6 иллюминатора вместе с уплотнением 24 иллюминатора, которое охватывает пакет 6 иллюминатора в блоке 1 иллюминатора в процессе его установки или эксплуатации. В такой конструкции имеется небольшой зазор между упорной поверхностью и окружной внешней поверхностью 33 уплотнения 24 иллюминатора, обеспечивающий компенсацию допусков. В одном из альтернативных вариантов этот зазор может быть уменьшен до нуля. Кроме того, может использоваться конструкция, в которой обеспечивается небольшой натяг между опорными поверхностями креплений прижимной рамы или упорной поверхностью 16 и уплотнением 24 пакета 6 иллюминатора.
На фиг.4 представлен вид поперечного сечения второго варианта предлагаемого в изобретении блока иллюминатора.
В отличие от рамы 2 иллюминатора варианта осуществления изобретения, показанного на фиг.3, рама 34 иллюминатора имеет в целом прямоугольную геометрическую форму в поперечном сечении, в результате чего сборка блока иллюминатора еще больше упрощается. Поскольку в раме 34 иллюминатора нет вертикальной части, то ее механическая жесткость ниже, чем в первом варианте блока иллюминатора. Рама 34 также содержит окружную опорную поверхность 35, которая для обеспечения центрирования пакета 6 иллюминатора также имеет коническую конфигурацию, причем рама 34 иллюминатора опирается на внутреннюю поверхность внешней обшивки 4 конструкции фюзеляжа. Крепление 14 прижимной рамы имеет такую же конструкцию, как и в первом варианте, и прикрепляется к внешней обшивке 4 с помощью заклепок 11 -13, так что в этом отношении можно сослаться на описание конструкции, представленной на фиг.3.
В отличие от первого варианта осуществления изобретения (см. фиг.3), в котором прижимная рама 25 имеет две плоские части 26, 29, сдвинутые по высоте относительно друг друга, в данном случае прижимная рама 36 содержит первую часть 37, которая соединяется со второй криволинейной частью 38. После затягивания гаек 28 уплотнение 24 пакета 6 иллюминатора прижимается прижимной рамой 36 к опорной поверхности 35 и таким образом осуществляется герметизация относительно рамы 34 иллюминатора. Первая часть 37 прижимной рамы 36 в целом опирается на уплотнение 24 иллюминатора, а вторая часть 38 опирается непосредственно на плоскую раму 34 иллюминатора, которая, если не учитывать конической опорной поверхности 35, имеет в поперечном сечении прямоугольную геометрическую форму.
Прижимная рама 36 вместе с уплотнением 24 и рамой 34 иллюминатора, так же, как и в предыдущем случае, формирует незаполненное пространство 39, которое вместе с вентиляционным каналом 30 используется для вентиляции внешнего 23 или внутреннего 22 элементов остекления иллюминатора.
На фиг.5 представлен еще один вариант предлагаемого в изобретении блока 1 иллюминатора.
В отличие от рам 2 и 34 блоков 1 иллюминатора, показанных на фиг.3 и 4, в данном случае рама 40 иллюминатора содержит направленную вниз или наружу утолщенную часть 42 ниже наклонной (конической) опорной поверхности 41 для пакета 6 иллюминатора. Первая часть 43 рамы 40 иллюминатора, которая имеет в поперечном сечении примерно Г-образную геометрическую форму, аналогична конструкции рамы 2 иллюминатора, представленной на фиг.3, и направлена в целом перпендикулярно к внешней обшивке 4 конструкции фюзеляжа. Вторая часть 44 рамы 40 иллюминатора, опирающаяся на внутреннюю поверхность 5 внешней обшивки 4, имеет большую длину по сравнению с вариантом, представленным на фиг.3, так что одна краевая зона 45 с утолщенной частью 42 выступает в вырез 3 для иллюминатора.
В результате, пакет 6 иллюминатора с немного уменьшенной площадью может быть установлен в раме 40 иллюминатора, поскольку утолщенная часть 42 или краевая зона 45 второй части 44 с опорной поверхностью 41 слегка входит в вырез 3 для иллюминатора. В такой конструкции поверхность с утолщенным концом 46 утолщенной части 42 рамы 40 иллюминатора выполняется таким образом, чтобы она была примерно вровень с пакетом 6 иллюминатора и внешней обшивкой 4 конструкции фюзеляжа. За исключением двух краев 47, 48 такая конструкция обеспечивает в целом гладкую внешнюю обшивку без каких-либо существенных возвышений или углублений, в результате чего в целом предотвращается образование нежелательной турбулентности.
В таком варианте конструкции рамы 40 иллюминатора, кроме прочего, облегчается окраска и нанесение покрытий на внешнюю обшивку 4 конструкции фюзеляжа летательного аппарата, поскольку красочный слой или защитная пленка наносится, как правило, на поверхность с утолщенной частью 46 уже на заводе, так что отпадает необходимость в защите пакета 6 иллюминатора перед окраской внешней обшивки 4.
Кроме того, утолщенная часть 42 улучшает механические свойства, в частности сопротивление кручению, рамы 40 иллюминатора и в целом всего блока 1 иллюминатора.
Так же, как и варианте, представленном на фиг.3, пакет 6 иллюминатора прижимается к раме 40 иллюминатора с помощью прижимной рамы 25, крепления 14 прижимной рамы и гайки (не показана, чтобы не загромождать чертеж).
Сама рама 40 иллюминатора прочно прикреплена к внешней обшивке 4 конструкции фюзеляжа с помощью набора заклепок, из которых на фиг.5 показаны только заклепки 11, 12.
В другом варианте осуществления изобретения (на чертежах не показан) рама иллюминатора может иметь в поперечном сечении в целом прямоугольную геометрическую форму аналогично варианту рамы 34 иллюминатора, представленному на фиг.4, с утолщенной частью 42, показанной на фиг.5. В этом случае крепление пакета 6 иллюминатора осуществляется с помощью прижимной рамы, которая имеет в поперечном сечении такую же геометрическую форму, как и прижимная рама 36, показанная на фиг.4.
Перечень ссылочных обозначений
1 Блок иллюминатора
2 Рама иллюминатора
3 Вырез для иллюминатора
4 Внешняя обшивка (конструкция фюзеляжа)
5 Внутренняя поверхность
6 Пакет иллюминатора
7 Заклепка
8 Заклепка
9 Заклепка
10 Заклепка
11 Заклепка
12 Заклепка
13 Заклепка
14 Крепление прижимной рамы
15 Соединительный болт с резьбой
16 Упорная поверхность
17 Концевая часть
18 Часть с резьбой
19 Первая часть (рама иллюминатора)
20 Вторая часть (рама иллюминатора)
21 Опорная поверхность
22 Внутренний элемент остекления иллюминатора
23 Внешний элемент остекления иллюминатора
24 Уплотнение иллюминатора
25 Прижимная рама
26 Первая часть (прижимная рама)
27 Проходное отверстие
28 Гайка
29 Вторая часть (прижимная рама)
30 Вентиляционный канал
31 Незаполненное пространство
32 Край, возмущающий поток
33 Внешняя поверхность (уплотнение иллюминатора)
34 Рама иллюминатора
35 Опорная поверхность
36 Прижимная рама
37 Первая часть
38 Вторая часть
39 Незаполненное пространство
40 Рама иллюминатора
41 Опорная поверхность
42 Утолщенная часть
43 Первая часть
44 Вторая часть
45 Концевая часть
46 Поверхность утолщенной части
47 Край, нарушающий поток
48 Край, нарушающий поток
Формула изобретения
1. Блок (1) иллюминатора для установки в вырезе (3) для иллюминатора во внешней обшивке (4) летательного аппарата, содержащий раму (2, 34, 40) иллюминатора для установки в ней пакета (6) иллюминатора и прижимную раму (25, 36), причем рама (2, 34, 40) иллюминатора может быть прикреплена к внутренней поверхности (5) внешней обшивки (4) в зоне выреза (3) для иллюминатора, в частности может быть прикреплена к внешней обшивке с помощью заклепок, и, кроме того, к раме (2, 34, 40) иллюминатора и к внешней обшивке (4) присоединяется, в частности с использованием заклепок, по меньшей мере одно крепежное устройство (14) для крепления прижимной рамы (25, 36), и рама (2, 34, 40) иллюминатора имеет в поперечном сечении в целом Г-образную или прямоугольную геометрическую форму.
2. Блок (1) иллюминатора по п.1, в котором по меньшей мере одно крепление (14) прижимной рамы содержит упорную поверхность (16) для пакета (6) иллюминатора.
3. Блок (1) иллюминатора по п.1, в котором по меньшей мере одно крепление (14) прижимной рамы выполнено как одна цельная деталь и содержит по меньшей мере один соединительный элемент, в частности по меньшей мере один соединительный болт (15) с резьбой, причем по меньшей мере один соединительный элемент установлен в целом перпендикулярно к раме (2, 34, 40) иллюминатора.
4. Блок (1) иллюминатора по п.1, в котором по меньшей мере одно крепление (14) прижимной рамы прикреплено с помощью по меньшей мере двух соединительных элементов, в частности с помощью двух заклепок (11-13), к раме (2, 34, 40) иллюминатора и к внешней обшивке (4).
5. Блок (1) иллюминатора по п.1, в котором по меньшей мере два крепления (14) прижимной рамы установлены на раме (2, 34, 40) иллюминатора примерно на одинаковом расстоянии друг от друга.
6. Блок (1) иллюминатора по п.1, в котором пакет (6) иллюминатора содержит внутренний элемент (22) и внешний элемент (23) остекления иллюминатора, охваченные по периметру уплотнением (24) иллюминатора.
7. Блок (1) иллюминатора по п.1, в котором упорная поверхность (16) по меньшей мере одного крепления (14) прижимной рамы примерно параллельна внешней поверхности (33) уплотнения (24) иллюминатора и проходит так, что она в целом перпендикулярна к раме (2, 34, 40) иллюминатора.
8. Блок (1) иллюминатора по п.1, в котором рама (2, 34, 40) иллюминатора содержит окружную опорную поверхность (21, 35,41) для пакета (6) иллюминатора.
9. Блок (1) иллюминатора по п.1, в котором опорная поверхность (21, 35, 41) имеет коническую форму.
10. Блок (1) иллюминатора по п.1, в котором прижимная рама (25, 36) содержит по меньшей мере одну выемку, в частности проходное отверстие (27) для прохода через него по меньшей мере одного соединительного элемента.
11. Блок (1) иллюминатора по п.1, в котором пакет (6) иллюминатора может быть прижат с помощью прижимной рамы (25, 36) к раме (2, 34, 40) иллюминатора с помощью по меньшей мере одного крепежного элемента, который может быть установлен по меньшей мере на одном соединительном элементе, в частности с помощью по меньшей мере одной гайки (28).
12. Блок (1) иллюминатора по п.1, в котором рама (2, 34, 40) иллюминатора и прижимная рама (25, 36), а также уплотнение (24) иллюминатора формируют незаполненное пространство (31, 39) для вентиляции пакета (6) иллюминатора.
13. Блок (1) иллюминатора по любому из пп.1-12, в котором уплотнение (24) иллюминатора содержит по меньшей мере один вентиляционный канал (30) для вентиляции внешнего элемента (23) остекления иллюминатора.
РИСУНКИ
|
|