|
|
(21), (22) Заявка: 2008148004/11, 05.12.2008
(24) Дата начала отсчета срока действия патента:
05.12.2008
(46) Опубликовано: 20.05.2010
(56) Список документов, цитированных в отчете о поиске:
(56)US 4427086 А, 24.01.1984. SU 548478 A1, 28.02.1977. RU 53999 A1, 10.06.2006. Армейские автомобили. Конструкция и расчет. Часть вторая. / Под ред. АНТОНОВА А.С. Военное издательство Министерства обороны СССР. – М.: – 1970.
Адрес для переписки:
124482, Москва, г. Зеленоград, корп. 302Б, кв.70, Г.С. Туктакиеву
|
(73) Патентообладатель(и):
Лужков Юрий Михайлович (RU)
|
(54) АВТОМОБИЛЬ ПОВЫШЕННОЙ ПРОХОДИМОСТИ
(57) Реферат:
Изобретение относится к автомобилестроению, преимущественно к автомобилям повышенной проходимости. Автомобиль повышенной проходимости содержит два ведущих моста с механическим приводом: один основной мост и один подкатной мост. Основной мост выполнен проходным с установленным в нем механизмом отключения привода подкатного моста. Подкатной мост выполнен портальным и снабжен устройством его подъема в отключенном состоянии. Портальный мост имеет ось вращения колес, не совпадающую с осью расположения приводных полуосей. Диаметр колес подкатного моста меньше, чем основного. Передаточное отношение привода подкатного моста больше, чем основного. Колея подкатного моста меньше колеи основного на сумму максимальных размеров по ширине проекций на горизонтальную плоскость соответственно одного колеса основного и одного колеса подкатного мостов. Достигается увеличение тягового усилия и улучшение проходимости автомобиля. 2 з.п. ф-лы, 2 ил.
Изобретение относится к автомобилестроению, преимущественно к автомобилям повышенной проходимости, и может быть использовано в любой отрасли народного хозяйства.
Известен автомобиль повышенной проходимости, содержащий, по меньшей мере, два ведущих моста с механическим приводом, выполненные с возможностью изменения их положения относительно рамы автомобиля (см. патент Великобритании 2317598, МПК B62D 21/04, опубл. 01.04.1998, автор BROWN DAVID JOHN BOWES), в котором имеется устройство отключения ведущих мостов в виде многодискового сцепления, установленного после раздаточной коробки. Основным недостатком известного автомобиля повышенной проходимости является повышенная сложность конструкции из-за наличия дополнительного многодискового сцепления и сложной системы управления положением ведущих мостов и возможности только синхронного изменения положения задних или передних мостов, имеющих постоянный не отключаемый привод.
Известен (см. патент Великобритании 2048179, МПК B60G 17/04, опубл. 10.12.1980, автор JOHANSSON SIXTEN А.М.) автомобиль повышенной проходимости с ведущими мостами, содержащий, по меньшей мере, два моста с механическим приводом, один из которых ведущий и снабжен устройством его подъема в нерабочее положение путем поворота двухосной тележки с опорой на неведущий мост. Основным недостатком данной конструкции является необходимость введения устройства отключения поднятого моста в раздаточной коробке, в противном случае он будет вращать колеса поднятого моста и при наличии межосевого дифференциала приведет к невозможности передачи крутящего момента на второй ведущий мост. Опора на неведущий мост ограничивает угол подъема ведущего моста.
Известен автомобиль повышенной проходимости с ведущим мостом, который снабжен устройством его подъема в отключенном состоянии (см. патент Великобритании 2306414, МПК B60G 9/00, опубл. 07.05.1997, авторы BARLAS SERGE ALEXANDER; BRANNIGAN MICHAEL; BUNNE JONATHAN MARK; HILLMAN DAVID HARRY; LIE TJONG THIAM). Основным недостатком известной конструкции является ограниченная высота подъема ведущей оси, величина которой определяется разностью высот между рабочим положением ведущего моста и его положением на упорах. При этом просвет между дорогой и поднятым ведущим мостом ограничен суммой расстояний от упоров моста до оси колес и от оси до опорной поверхности колеса, то есть величиной радиуса штатных ведущих колес моста.
Известен автомобиль повышенной проходимости, содержащий, по меньшей мере, два ведущих моста с механическим приводом, один основной мост и один подкатной мост (см. патент США 4427086, МПК B60V 1/00, опубл. 24.01.1984, автор DE COISELET DE F CLAUDE). Основным недостатком конструкции, имеющей наибольшее количество совпадающих и аналогичных признаков и выбранной нами в качестве прототипа, является ограниченное смещение оси колеса подкатного моста и отсутствие средств отключения, когда потребности в тяговом усилии не будет.
Технической задачей предложения будет создание дополнительного тягового усилия и увеличение проходимости автомобиля в экстремальных условиях без значительного увеличения габаритов и нагрузки на ведущие оси при ординарных условиях движения.
Указанная техническая задача решается тем, что автомобиль повышенной проходимости содержит в своем составе, по меньшей мере, два ведущих моста с механическим приводом: один основной мост и один подкатной мост, причем основной мост выполнен проходным с установленным в нем механизмом отключения привода подкатного моста, а подкатной мост выполнен портальным и снабжен устройством его подъема в отключенном состоянии. Портальный мост, в котором ось вращения колес не совпадает с осью расположения приводных полуосей, позволяет увеличить просвет между колесом и поверхностью дороги в поднятом нерабочем состоянии на величину несоосности осей колес и полуосей.
Автомобиль повышенной проходимости, в котором подкатной мост имеет колеса меньшего диаметра, чем в основном, а передаточное отношение привода подкатного моста больше, чем основного, настолько, чтобы линейные скорости протекторов колес основного и подкатного мостов были одинаковы, будет иметь улучшенную проходимость потому, что это позволяет синхронизировать тяговые усилия на всех колесах без их взаимного проскальзывания. А меньший диаметр колес подкатного моста уменьшает его габариты и позволяет увеличить дорожный просвет и угол преодолеваемого автомобилем препятствия при отключенном состоянии подкатного моста.
Автомобиль повышенной проходимости, в котором колея подкатного моста меньше колеи основного на сумму максимальных размеров по ширине проекций на горизонтальную плоскость соответственно одного колеса (одинарного или сдвоенного) основного и одного колеса подкатного мостов, что позволяет увеличить тяговое усилие за счет движения подкатного моста по грунту, не разрушенному движением других ведущих колес.
На фигуре 1 показан схематичный вид сбоку на ведущий и подкатной мосты в рабочем положении. При этом положение подкатного моста в поз. А схематично показывает его рабочее положение, а поз. В – нерабочее положение.
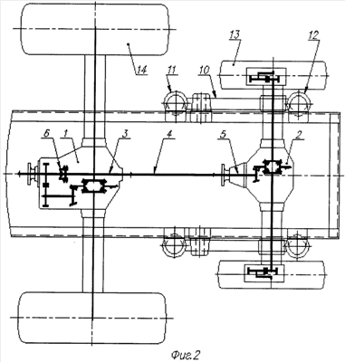
На фигуре 2 показан схематичный вид сверху на ведущий и подкатной мосты.
Автомобиль повышенной проходимости, содержащий, по меньшей мере, два ведущих моста с механическим приводом: один основной мост 1 и один подкатной мост 2. Основной мост 1 выполнен проходным, то есть через него насквозь проходит приводной вал 3 для привода при помощи карданного вала 4 силового вала 5 подкатного моста 2. Приводной вал 3 выполнен составным с установленным в его разрыве механизмом 6 отключения привода подкатного моста 2, например, в виде отключаемой кулачковой муфты. Подкатной мост 2 выполнен портальным и снабжен устройством его подъема в отключенном состоянии. Устройство 7 подъема подкатного моста включает кронштейн 8 с шарниром 9, на котором установлен качающийся рычаг 10, по концам которого размещены резинотканевые рессоры 11 и 12. На качающемся рычаге 10 установлен ведущий подкатной мост 2 с колесами 13 меньшего диаметра, чем колеса 14 ведущего основного моста 1.
Автомобиль повышенной проходимости, в котором подкатной мост 2 имеет колеса 13 меньшего диаметра, чем в основном, а передаточное отношение привода от силового вала 5 подкатного моста 2 больше, чем основного моста 1, настолько, чтобы линейные скорости протекторов соответственно колес 14 основного 1 и 13 подкатного 2 мостов были одинаковы. Это достигается расчетом или подбором передаточных чисел подкатного моста 2. Незначительные разности указанных линейных скоростей, например, вызванных неравномерной деформацией протекторов, могут быть скомпенсированы их проскальзыванием относительно грунта.
Автомобиль повышенной проходимости, в котором колея подкатного моста 2 меньше колеи основного 1 на сумму максимальных размеров по ширине проекций на горизонтальную плоскость соответственно одного колеса 14 основного моста 1 и одного колеса 13 подкатного моста 2, что позволяет избежать попадания колес 13 подкатного моста 2 в колейное углубление, пробитое в грунте колесами 14 основного моста 1. Указанное соотношение выбрано потому, что в автомобилестроении ширина колеи автомобиля считается по расстоянию между средними сечениями соответствующих колес (одинарных или сдвоенных).
Автомобиль повышенной проходимости работает следующим образом.
При движении по дороге с твердым покрытием или проселочной дороге, или по пересеченной местности с достаточно прочным грунтом подкатной мост 2 находится в поднятом состоянии. Механизм 6 отключения привода подкатного моста 2 находится в состоянии, при котором составные части приводного вала 3 разобщены. Такое положение показано на Фиг.1 – положение В.
При начале буксования во время движения по слабо несущим грунтам автомобиль повышенной проходимости в течение кратковременной остановки или во время движения при помощи соответствующего увеличения объема резинотканевой рессоры 12 и уменьшения резинотканевой рессоры 11 начинает опускать подкатной мост 2, прижимая его к грунту до момента надежного контакта (положение А Фиг.1) для передачи дополнительного тягового усилия. После установления указанного контакта включается механизм 6, и привод подкатного моста 2 начинает работать. Колеса 13 подкатного моста 2, находясь в более надежном зацеплении с неразрушенным участком грунта между колейными углублениями ведущих колес 14 основного моста 1, увеличивают тяговое усилие, и автомобиль повышенной проходимости продолжает движение вперед. Кроме этого перераспределяется давление на грунт и уменьшается его среднее значение, что также способствует повышению проходимости автомобиля из-за менее глубокой деформации грунта.
На Фиг.1 и 2 показаны только, по меньшей мере, два соответственно задние или передние основной 1 и подкатной 2 ведущие мосты (в зависимости от направления движения автомобиля), например для неполноприводного автомобиля повышенной проходимости. Аналогично будет работать один подкатной мост и в условиях полноприводного автомобиля. При этом очевидно, что каждый из ведущих мостов и спереди, и сзади полноприводного автомобиля может быть снабжен дополнительным подкатным мостом. При использовании полноприводных многоосных тележек подкатной мост может быть установлен за крайним ведущим мостом многоосной тележки.
Наиболее эффективной и дорогой будет установка двух подкатных мостов спереди и сзади автомобиля, так как при этом давление на грунт будет распределяться наиболее равномерно, и указанное ранее разрушение грунта в колейных углублениях будет минимальным, а проходимость наивысшей.
Формула изобретения
1. Автомобиль повышенной проходимости, содержащий, по меньшей мере, два ведущих моста с механическим приводом, один основной мост и один подкатной мост, причем основной мост выполнен проходным с установленным в нем механизмом отключения привода подкатного моста, а подкатной мост выполнен портальным и снабжен устройством его подъема в отключенном состоянии.
2. Автомобиль повышенной проходимости по п.1, в котором подкатной мост имеет колеса меньшего диаметра, чем в основном, а передаточное отношение привода подкатного моста больше, чем основного, настолько, чтобы линейные скорости протекторов колес основного и подкатного мостов были одинаковы.
3. Автомобиль повышенной проходимости по п.1, в котором колея подкатного моста меньше колеи основного на сумму максимальных размеров по ширине проекций на горизонтальную плоскость соответственно одного колеса основного и одного колеса подкатного мостов.
РИСУНКИ
|
|