Патент на изобретение №2389628
|
||||||||||||||||||||||||||
(54) ПРИВОД ТОРМОЗА ВАГОНА
(57) Реферат:
Изобретение относится к области железнодорожного транспорта, в частности к тормозным устройствам пассажирских и грузовых вагонов. Привод содержит закрепленный на кузове вагона пневмоцилиндр и Н-образный клещевой механизм. Ведущий и ведомый рычаги Н-образного клещевого механизма шарнирно связаны между собой поперечной затяжкой. Конец ведущего плеча ведущего рычага шарнирно присоединен к штоку пневмоцилиндра. Конец ведущего плеча ведомого рычага шарнирно присоединен к «мертвой» точке. Ведомые плечи обоих рычагов выполнены одинаковой длины, при этом конец каждого из этих плеч оборудован шарниром для присоединения к тормозной тяге тележки вагона, расположенной относительно пневмоцилиндра по ту же сторону, что и соответствующее плечо, Ведущие плечи ведущего и ведомого рычагов клещевого механизма выполнены разной длины. Клещевой механизм выполнен в соответствии с соотношением:
где a, c – длина ведущих плеч ведущего и ведомого рычагов соответственно; b – длина ведомых плеч рычагов; n – отношение нагрузки от веса вагона на тележку, связанную тормозной тягой с ведомым рычагом к нагрузке на тележку, связанную тормозной тягой с ведущим рычагом привода тормоза вагона. Достигается повышение эффективности тормоза. 2 ил.
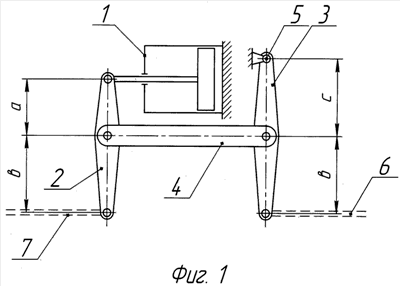
Область техники Изобретение относится к железнодорожному транспорту и касается тормозных устройств пассажирских и грузовых вагонов. Уровень техники Известна тормозная рычажная передача железнодорожного вагона (Патент РФ Известна также тормозная рычажная передача железнодорожного транспортного средства (Патент РФ Известен привод тормоза вагона (Иноземцев В.Г. Тормоза железнодорожного подвижного состава. – М.: Транспорт, 1979 г., стр.249, рис.180 – [3]), содержащий закрепленный на кузове вагона пневмоцилиндр и Н-образный клещевой механизм, ведущий и ведомый рычаги которого связаны между собой шарнирно поперечной затяжкой. Ведущий рычаг одним концом шарнирно присоединен к штоку тормозного цилиндра, другим через тормозную тягу связан с рычажной тормозной передачей одной из тележек вагона. На другую тележку тормозное нажатие передается посредством тяги, связанной шарнирно с ведомым плечом ведомого рычага, ведущее плечо которого шарнирно прикреплено к «мертвой» точке. В известных конструкциях привода [2, 3], ведущие плечи обоих рычагов равны по длине. Ведомые плечи рычагов клещевого механизма также равны между собой. Эта симметрия клещевого механизма обеспечивает равенство усилий тормозного нажатия, передаваемых от привода тормоза на тележки вагона. Это является оптимальным для вагонов с симметричным распределением веса по тележкам. Однако большинство пассажирских вагонов, например из-за несимметричного расположения отопительного котла, оборудования для кондиционирования воздуха и т.п., имеют «разновес» по тележкам до 10%, а ряд специальных вагонов – до 20% и более. В таких вагонах тормозное нажатие, во избежание юза колес при торможении, рассчитывается по наименее нагруженной тележке, в то время как под другой тележкой «сцепной» вес недоиспользуется, что в целом снижает эффективность тормозной системы вагона. Сущность изобретения В основу изобретения поставлена задача создания для вагона такого привода тормоза, который обеспечивает значения передаваемых им на тележки усилий тормозного нажатия пропорционально степени «разновеса» вагона по этим тележкам. Это дает возможность повысить эффективность тормоза. Решение поставленной задачи достигается тем, что в приводе тормоза вагона, содержащем закрепленный на кузове вагона пневмоцилиндр и Н-образный клещевой механизм, ведущий и ведомый рычаги которого шарнирно связаны между собой поперечной затяжкой, причем конец ведущего плеча ведущего рычага шарнирно присоединен к штоку пневмоцилиндра, конец ведущего плеча ведомого рычага шарнирно присоединен к «мертвой» точке, а ведомые плечи обоих рычагов выполнены одинаковой длины, конец каждого из этих плеч оборудован шарниром для присоединения к тормозной тяге тележки вагона, расположенной относительно пневмоцилиндра по ту же сторону, что и соответствующее плечо, согласно изобретению клещевой механизм выполнен в соответствии с соотношением
где a, с – длина ведущих плеч ведущего и ведомого рычагов соответственно; b – длина ведомых плеч рычагов: n – отношение нагрузки от веса вагона на тележку, связанную тормозной тягой с ведомым рычагом к нагрузке на тележку, связанную тормозной тягой с ведущим рычагом привода тормоза вагона. При анализе технического решения на соответствие критерию «новизна» выявлено, что часть признаков заявленной совокупности является новой (ведущие плечи ведущего и ведомого рычагов клещевого механизма выполнены разной длины в соответствии с приведенным соотношением), следовательно, изобретение соответствует критерию «новизна». При анализе изобретения на соответствие критерию «изобретательский уровень» выявлено, что введение новых отличительных признаков приводит к получению нового технического свойства: позволяет получить силы тормозного нажатия, пропорциональные нагрузке на каждую тележку от веса вагона, и дает возможность повысить эффективность тормоза вагона. Краткое описание чертежей Сущность изобретения поясняется графическими материалами – фиг.1, 2. На фиг.1 представлена схема конструкции предлагаемого привода тормоза вагона. На фиг.2 представлена схема силового взаимодействия элементов привода. В графических материалах использованы следующие обозначения: 1 – пневмоцилиндр привода тормоза; 2 – ведущий рычаг; 3 – ведомый рычаг; 4 – затяжка; 6, 7 – тормозные тяги, передающие усилия тормозного нажатия на тормозные рычажные передачи тележек вагона. a – ведущее плечо ведущего рычага; c – ведущее плечо ведомого рычага; b – ведомые плечи ведущего и ведомого рычагов; Рц – сила на штоке пневмоцилиндра; Nст – сила на затяжке (стяжке); N1, N2 – сила на тормозных тягах 7 и 6. Лучший вариант осуществления Предлагаемая конструкция привода тормоза вагона содержит пневмоцилиндр 1 (см. фиг.1), корпус которого закреплен на кузове вагона, Н-образный клещевой механизм, с ведущим рычагом 2 и ведомым рычагом 3, которые шарнирно связаны между собой затяжкой 4. Шток цилиндра 1 присоединен к концу ведущего плеча (а) рычага 2, а ведущее плечо (с) рычага 3 закреплено шарнирно в «мертвой» точке 5. Ведомые плечи (в) рычагов 3 и 2 соответственно через тяги 6 и 7 связаны с рычажными передачами тележек вагона (на схеме тележки не показаны). Клещевой механизм привода тормоза по предлагаемому техническому решению выполнен с соотношением его параметров по формуле (1). При учете «разновеса» вагона по тележкам (n Предлагаемый привод тормоза вагона работает следующим образом. При торможении вагона тормозной цилиндр 1 наполняется сжатым воздухом. Шток тормозного цилиндра перемещается влево (по чертежу), вызывая перемещение рычагов 2 и 3. Ведущее плечо a рычага 2 перемещается влево, создавая усилие на затяжке (стяжке) Nст и усилия N1 и N2 на тормозных тягах 7 и 6. При торможении вагона с «разновесом» по тележкам привод тормоза обеспечивает силы нажатия N1 и N2 (по фиг.2) пропорционально коэффициенту (n), то есть пропорционально отношению нагрузки от веса вагона на тележку, связанную тормозной тягой с ведомым рычагом привода-тормоза (на фиг.1, 2 эта тележка расположена справа) к нагрузке на тележку, связанную тормозной тягой с ведущим рычагом привода тормоза (тележка слева), достигая тем самым более полного использования сцепления колес с рельсами. Привод тормоза обеспечивает, таким образом, следующее соотношение сил тормозного нажатия на тягах 6 и 7:
Для доказательства того, что предлагаемое устройство выполняет это условие, рассмотрим приведенную на фиг.2 схему силовых факторов, возникающих в элементах привода при включении его в работу (при подаче сжатого воздуха в пневмоцилиндр 1). Из условия равновесия ведущего рычага 2:
где Рц – сила на штоке пневмоцилиндра 1, Nст – сила на затяжке (стяжке), N1 – сила на тормозной тяге 7, передающей усилие на левую, менее нагруженную тележку, N2 – сила на тормозной тяге 6, передающей усилие на правую, более нагруженную тележку, Из условия равновесия ведомого рычага 3
откуда
Подставив в формулу (4) значение c по соотношению (1) и проведя соответствующие алгебраические преобразования, получим
С учетом формулы (2) N2=N1·n, что и требовалось доказать. Созданные усилия тормозного нажатия N1 и N2 на тягах 7 и 6 передаются на тормозные рычажные передачи тележек вагона и далее, в итоге, на тормозные колодки (на чертеже не показаны). В результате тормозные колодки прижимаются к колесам более нагруженной (правой по чертежу) и менее нагруженной (левой по чертежу) с разным усилием в соответствии с разновесом. Следовательно, известный по прототипу [3] привод тормоза при выполнении клещевого механизма по данному изобретению способен обеспечить силы тормозного нажатия, пропорциональные степени нагрузки тележек от веса вагона. Это обеспечивает более полное использование сцепного веса под обеими тележками вагона и по сравнению с прототипом увеличивает эффективность тормоза вагона. Для серийного пассажирского вагона, имеющего «разновес» вагона по тележкам в среднем около (10-15)% увеличение тормозной эффективности составляет примерно (5-7)%. Предложенное техническое решение может быть осуществлено с помощью доступных средств и методов и позволяет получить новый технический результат. Изобретение может быть тиражировано и, следовательно, соответствует критерию «промышленная применимость». Промышленная применимость Предложенный привод тормоза вагона изготовлен и успешно испытан. Готовится внедрение в производство. Источники информации 1. Тормозная рычажная передача железнодорожного вагона. Патент РФ 2. Тормозная рычажная передача железнодорожного транспортного средства. Патент РФ 3. Иноземцев В.Г. Тормоза железнодорожного подвижного состава. – М.: Транспорт, 1979 г., стр.249, рис.180. Прототип.
Формула изобретения
Привод тормоза вагона, содержащий закрепленный на кузове вагона пневмоцилиндр и Н-образный клещевой механизм, ведущий и ведомый рычаги которого шарнирно связаны между собой поперечной затяжкой, причем конец ведущего плеча ведущего рычага шарнирно присоединен к штоку пневмоцилиндра, конец ведущего плеча ведомого рычага шарнирно присоединен к «мертвой» точке, а ведомые плечи обоих рычагов выполнены одинаковой длины, конец каждого из этих плеч оборудован шарниром для присоединения к тормозной тяге тележки вагона, расположенной относительно пневмоцилиндра по ту же сторону, что и соответствующее плечо, отличающийся тем, что ведущие плечи ведущего и ведомого рычагов клещевого механизма выполнены разной длины, а именно клещевой механизм выполнен в соответствии с соотношением
РИСУНКИ
|
||||||||||||||||||||||||||

,
2106272, МПК 6 B61H 13/20, 1998 г. – [1]), которая применяется для грузовых вагонов.
1) в отличие от прототипа ведущие плечи рычагов по длине не равны между собой (c





,
