|
| На основании пункта 1 статьи 1366 части четвертой Гражданского кодекса Российской Федерации патентообладатель обязуется заключить договор об отчуждении патента на условиях, соответствующих установившейся практике, с любым гражданином Российской Федерации или российским юридическим лицом, кто первым изъявил такое желание и уведомил об этом патентообладателя и федеральный орган исполнительной власти по интеллектуальной собственности. |
|
(21), (22) Заявка: 2008134101/11, 19.08.2008
(24) Дата начала отсчета срока действия патента:
19.08.2008
(46) Опубликовано: 20.05.2010
(56) Список документов, цитированных в отчете о поиске:
SU 1397644 A1, 23.05.1988. SU 403586 A1, 26.10.1973. RU 2143350 C1, 27.12.1999. DE 2522542 A1, 02.12.1976.
Адрес для переписки:
61174, Украина, г. Харьков, пр-кт Победы, п/о 61174, до востребования, Ю.Ф. Чернякову
|
(72) Автор(ы):
Черняков Юрий Феликсович (UA)
(73) Патентообладатель(и):
Черняков Юрий Феликсович (UA)
|
(54) ТРАКТОР
(57) Реферат:
Изобретение относится к автомобилестроению и тракторостроению. Трактор содержит корпус, двигатель, трансмиссию с планетарными редукторами привода колес. Привод колес установлен на рукавах ведущего моста посредством подшипников качения в колесных ступицах, к каждой из которых метизами прикреплены диск ведущего колеса и водило-корпус с шестернями-сателлитами планетарного редуктора. Коронная шестерня водила-корпуса постоянно зафиксирована неподвижно относительно рукава балки ведущего моста, а солнечная шестерня соединена шлицами с вращаемой полуосью ведущего моста. С водилом-корпусом планетарного редуктора жестко соединена крышка в виде соосного с солнечной шестерней зубчатого венца внутреннего зацепления. Солнечная шестерня установлена с возможностью перемещения по шлицам вдоль вращаемой полуоси ведущего моста до вывода ее из зацепления с шестернями-сателлитами водила-корпуса и с последующим вводом в зацепление с зубчатым венцом внутреннего зацепления в крышке водила-корпуса. Достигается повышение производительности труда и уменьшение расхода моторного топлива. 1 ил.
Изобретение относится к тракторному и транспортному машиностроению.
Известны тракторы, содержащие корпус, двигатель, трансмиссию и ведущие колеса с планетарными редукторами их привода. Например: ЛТЗ-155 с диапазоном скоростей от 2 до 35 км/ч [1], с.16; ХТЗ-120 с диапазоном скоростей от 1,4 до 33 км/ч [2], с.34; Т-150К с диапазоном скоростей от 1,8 до 30 км/ч [3], с.4; а также транспортное средство с переключаемым колесным редуктором по RU 3143350 [4], фиг.1; и другие.
Недостаток названных выше тракторов [1, 2, 3] в том, что их максимальная скорость в 2,5 3 раза меньше скорости грузового автомобиля с соизмеримой мощностью двигателя, а недостаток транспортного средства с переключаемым колесным редуктором по [4] – в большой сложности устройства и управления переключением. Действительно, на каждое ведущее колесо с колесным редуктором по [4] необходимы шесть подшипников качения трех типоразмеров (кроме подшипников шестерен сателлитов) и две подвижные муфты (одна с двумя, другая с тремя зубчатыми венцами). Посредством переключения этих муфт ведущему колесу сообщают вращение то одинаковое с вращением солнечной шестерни этого редуктора и по направлению, и по частоте, то одинаковое по направлению вращения, но с уменьшенной частотой. На наш взгляд, из-за большой сложности применять колесные редукторы по [4] на тракторах нецелесообразно. Их и не применяют, а действие патента RU 2143350 с 16.06.2008 прекращено.
Известен также трактор, содержащий корпус, двигатель, трансмиссию с планетарными редукторами привода правого и левого ведущих колес, установленных на балке ведущего моста посредством подшипников качения в колесных ступицах, к каждой из которых метизами прикреплены диск ведущего колеса и водило-корпус с шестернями-сателлитами планетарного редуктора, коронная шестерня которого зафиксирована неподвижно относительно рукава балки ведущего моста, а солнечная установлена на вращаемой полуоси ведущего моста, например трактор Т-150К [3], с.144, рис.102, и он принят за прототип.
Недостаток его в том, что при транспортировке прицепа с грузом мощность двигателя и нагрузочные возможности трансмиссии используют полностью только вне дороги (в поле), а при выезде на шоссе, например асфальтобетонное, мощность двигателя используют менее чем на половину, так как коэффициент сопротивления качению колес уменьшается [5], с.4, а скорость ограничена особенностями тракторной трансмиссии.
Техническим результатом изобретения являются увеличение транспортной скорости трактора до величины, соизмеримой со скоростью грузового автомобиля, повышение производительности труда и экономия моторного топлива.
Сущность изобретения – трактор, содержащий корпус, двигатель, трансмиссию с планетарными редукторами привода правого и левого ведущих колес, установленных на рукавах балки ведущего моста посредством подшипников качения в колесных ступицах, к каждой из которых метизами прикреплены диск ведущего колеса и водило-корпус с шестернями-сателлитами планетарного редуктора, коронная шестерня которого постоянно зафиксирована неподвижно относительно рукава балки ведущего моста, а солнечная шестерня соединена шлицами с вращаемой полуосью ведущего моста, причем по изобретению с водилом-корпусом планетарного редуктора жестко соединена крышка с углублением в виде соосного с солнечной шестерней зубчатого венца внутреннего зацепления, профиль впадин между зубьями которого повторяет профиль зубьев солнечной шестерни, установленной с возможностью перемещения по шлицам вдоль вращаемой полуоси ведущего моста до вывода ее из зацепления с шестернями-сателлитами водила-корпуса и с последующим вводом в зацепление с зубчатым венцом внутреннего зацепления в крышке водила-корпуса, а также с возможностью перемещения солнечной шестерни до вывода ее из зацепления с зубчатым венцом в крышке водила-корпуса и с последующим вводом в зацепление с шестернями-сателлитами водила-корпуса планетарного редуктора.
Тем самым наименьшее передаточное число трансмиссии, например трансмиссии трактора Т-150К, уменьшают в 4,59 раза. При этом максимальная нагрузка и частота вращения двигателя, а также деталей трансмиссии (кроме ведущего колеса) не превышает штатных. Поэтому скорость движения по шоссе увеличивают до 80 км/ч с груженным прицепом общей массой до 20 22 т (вычисления), например с прицепом МАЗ-5336 [6], с.141, рис.77, или с ЗПТС-14Б5 модели 8573 [7], с.868, рис.49, или с другими.
Устроен трактор следующим образом.
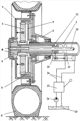
На чертеже изображена принципиальная схема ведущего колеса, соединенного с колесным планетарным редуктором (далее редуктор) типа редуктора трактора Т-150К [3], с.144, рис.102, позиции 1, 3, 6, 8, 24.
Условные обозначения на чертеже
1 – рукав балки ведущего моста (далее балка),
2 – шина и диск ведущего колеса (далее колесо),
3 – ступица ведущего колеса (далее ступица),
4 – водило-корпус планетарного редуктора (далее водило),
5 – шестерня-сателлит (далее сателлит),
6 – коронная шестерня планетарного редуктора (далее эпицикл),
7 – ступица-фиксатор эпицикла (далее фиксатор),
8 – солнечная шестерня (далее шестерня),
9 – крышка с зубчатым венцом внутреннего зацепления (далее крышка),
10 – вращаемая полуось привода водила 4 с колесом 2 ведущего моста (далее полуось),
11 – втулка с канавкой для подвижной вилки (далее втулка),
12 – подвижная вилка включения планетарного редуктора или передачи вращающего момента от полуоси 10 непосредственно ведущему колесу 2 перемещением шестерни 8 по шлицам полуоси 10 (далее вилка),
13 – гидроцилиндр перемещения вилки 12 (далее цилиндр),
14 – маслопроводы,
15 – секция гидрораспределителя трактора (далее распределитель),
16 – гидронасос трактора (далее насос),
17 – масляный бак трактора (далее бак).
Получают устройство, например, доработкой трактора Т-150К, что соответствует сущности изобретения:
a) на водило 4 редуктора устанавливают крышку 9 с зубчатым венцом внутреннего зацепления. Впадины между ее зубьями повторяют форму зубьев шестерни 8;
б) взамен серийной полуоси устанавливают полуось 10 со шлицами для подвижной посадки шестерни 8;
в) на ступицу шестерни 8 напрессовывают втулку 11 с кольцевой канавкой для вилки 12 на другом конце и устанавливают их на полуось 10. Пунктиром показана позиция шестерни 8 при включенном редукторе;
г) к стенке балки 1 прикрепляют цилиндр 13 с вилкой 12 на штоке и вводят ее в кольцевую канавку втулки 11 через окно в стенке балки 1;
д) полости цилиндра 13 сообщают с распределителем 15 маслопроводами 14;
е) для длительной транспортной работы на колеса 2 устанавливают шины соответствующей категории.
Шестерня 8 и крышка 9 образуют муфту твердого соединения и разъединения водила 4 с полуосью 10, передающей вращающий момент от двигателя.
Работает трактор следующим образом.
Пусть требуется перевозить сахарную свеклу (далее свеклу) от свеклоуборочной машины, например от самоходной свеклоуборочной машины КС-6Б [8], на сахарный завод. Для этого трактор агрегатируют с прицепом ЗПТС-14,5 модели 8573 с объемом кузова 26 м3, что позволяет загрузить его свеклой на полную грузоподъемность. Общая масса тракторного поезда (далее поезд) 30 т.
Распределителем 15 по маслопроводам 14 при помощи насоса 16 подают масло из бака 17 в штоковую полость цилиндра 13. Поэтому шток с вилкой 13 на конце втягивают в цилиндр 13 и выводят шестерню 8 из зацепления с крышкой 9 при помощи втулки 11, а далее вводят шестерню 8 в зацепление с сателлитами 5 редуктора. Этим устанавливают передаточное число от коленвала двигателя трактора к колесу 2 в диапазоне 150,8 16,8, то есть как штатное у трактора Т-150К. Затем поезд перемещают по полю рядом с машиной КС-6Б до полной загрузки прицепа. При этом их рабочая скорость 5,0 11,0 км/ч.
После загрузки прицепа выезжают на шоссе и распределителем 15 по маслопроводам 14 подают масло в бесштоковую полость цилиндра 13. Поэтому шток с вилкой 12 выдвигают из цилиндра 13 и при помощи втулки 11 выводят шестерню 8 из зацепления с сателлитами 5 редуктора, а далее вводят ее в зацепление с зубьями крышки 9. Этим устанавливают передаточное число от двигателя к колесу в диапазоне 32,8 3,7, что соизмеримо с передаточным числом грузового автомобиля с дизельным двигателем.
Таким образом, водило 4 с крышкой 9 и шестерня 8 выполняют две функции: то служат звеньями зубчатой муфты непосредственного соединения-разъединения полуоси 10 с колесом 2, то служат водилом-корпусом и солнечной шестерней планетарного колесного редуктора.
Так как коэффициент качения шин по асфальтобетонной поверхности в 5 10 раз меньше, чем по полю [5], то скорость движения по шоссе трактора с суммарной массой груженного прицепа 22,0 т возможна до 80 км/ч (вычисления). Поэтому доставку, например, свеклы от свеклоуборочной машины КС-6Б на завод существенно ускоряют и обратный рейс порожняком выполняют столь же быстро, благодаря чему повышают производительность труда и экономят моторное топливо. Кроме того, в периоды свободные от полевых работ трактором с прицепом перевозят грузы автомобильной скоростью. Поэтому его годовая загрузка в сельскохозяйственном предприятии больше, чем известных тракторов или известных автомобилей, что эффективнее и экономически выгодно.
Литература
1. Сельхозтехника 90. Экспонаты СССР. – М.: Внешторгиздат, 1990.
2. Тракторы ХТХ-120, ХТЗ-121. Инструкция по эксплуатации. Харьков. ХТЗ. 1994, 348 с.
3. Трактор Т-150К. Устройство и эксплуатация. Под ред. Б.П.Кашубы, И.А.Коваля. – М.: Колос. 1976, 312 с.
4. RU 2143350 C1, Кл. B60K 17/30. Опубликован 27.12.1999, реферат, фиг.1.
5. В.Н.Шлягин, Р.Б.Финкель. К вопросу агрегатирования с.-х. колесных тракторов на транспортных работах. – Тракторы и сельхозмашины, 1983, 4, с.3 7.
6. Транспортные прицепы и полуприцепы. В.А.Павлов и др. – М.: Воениздат, 1981, 191 с.
7. Эксплуатация и ремонт тракторных прицепов. В.И.Миркитанов, В.А.Андреев.- М.: Агропромиздат, 1985, 224 с.
8. Машина корнеуборочная самоходная КС-6Б. Инструкция по эксплуатации. Тернополь. ПО «Тернопольский комбайновый завод», 1984, 250 с.
Формула изобретения
Трактор, содержащий корпус, двигатель, трансмиссию с планетарными редукторами привода левого и правого ведущих колес, установленных на рукавах ведущего моста посредством подшипников качения в колесных ступицах, к каждой из которых метизами прикреплены диск ведущего колеса и водило-корпус с шестернями-сателлитами планетарного редуктора, коронная шестерня которого постоянно зафиксирована неподвижно относительно рукава балки ведущего моста, а солнечная шестерня соединена шлицами с вращаемой полуосью ведущего моста, отличающийся тем, что с водилом-корпусом планетарного редуктора жестко соединена крышка с углублением в виде соосного с солнечной шестерней зубчатого венца внутреннего зацепления, профиль впадин между зубьями которого повторяет профиль зубьев солнечной шестерни, установленной с возможностью перемещения по шлицам вдоль вращаемой полуоси ведущего моста до вывода ее из зацепления с шестернями-сателлитами водила-корпуса и с последующим вводом в зацепление с зубчатым венцом внутреннего зацепления в крышке водила-корпуса, а также с возможностью перемещения солнечной шестерни до вывода ее из зацепления с зубчатым венцом внутреннего зацепления в крышке водила-корпуса и с последующим вводом в зацепление с шестернями-сателлитами водила-корпуса планетарного редуктора.
РИСУНКИ
|
|