|
(21), (22) Заявка: 2007121593/11, 09.06.2007
(24) Дата начала отсчета срока действия патента:
09.06.2007
(43) Дата публикации заявки: 20.12.2008
(46) Опубликовано: 20.05.2010
(56) Список документов, цитированных в отчете о поиске:
SU 718306 A1, 29.02.1980. SU 510620 A1, 08.06.1976. SU 1397644 A1, 15.06.1988. US 5908366 A, 01.06.1999.
Адрес для переписки:
160006, Республика Казахстан, г. Шымкент, ул. Макарова, 114, В.Ф. Полещуку
|
(72) Автор(ы):
Полещук Владимир Федорович (KZ)
(73) Патентообладатель(и):
Полещук Владимир Федорович (KZ)
|
(54) МОСТ С КОЛЕСНЫМ РЕДУКТОРОМ
(57) Реферат:
Изобретение относится к области автомобилестроения, а именно к автомобильному мосту с колесным редуктором с меняющимся передаточным числом оборотов. Несущий кожух полуоси автомобильного моста с колесным редуктором изготавливается увеличенного диаметра. Отверстие под полуось смещается вверх для прямого взаимодействия шестерни полуоси с шестерней ступицы. Внутри смещенного отверстия кожуха полуоси устанавливается двухсторонняя манжета и делается посадочное место под опорный подшипник полуоси. Подшипник с внутренней стороны упирается в выступ кожуха, а с наружной стороны стопорится стопорным кольцом в канавке кожуха. На полуоси подшипник с внутренней стороны упирается в выступ, который одновременно служит дорожкой для двухсторонней манжеты, а с наружной стороны стопорится кольцевым стопором в канавке полуоси. Достигается упрощение конструкции. 5 ил.
Изобретение относится к области автомобилестроения. Известно устройство, применяемое на Минском автозаводе(а/м МАЗ 5335-504 В, тех. описание и инструкция по эксплуатации, г.Минск, издат. «Полымя», 1977 год). Колесная передача моста, состоящая из полуоси, шестерни полуоси, водила, оси, подшипника, шестерен, сателлитов и ведомой шестерни ступицы, вышеуказанная конструкция громоздка и не отвечает современным требованиям.
Задачей изобретения является создание колесного редуктора с меняющимся передаточным числом оборотов и прямым взаимодействием ведущей прямозубой шестерни полуоси с ведомой шестерней ступицы. Поставленная задача достигается следующим образом: несущий кожух полуоси изготавливается увеличенного диаметра, отверстие под полуось смещается в верх, такое смещение дает возможность прямого взаимодействия шестерни полуоси с шестерней ступицы, внутри смещенного отверстия кожуха полуоси устанавливается двухсторонняя манжета, и делается посадочное место под опорный подшипник полуоси, подшипник с внутренней стороны упирается в выступ кожуха, а с наружной стороны стопорится стопорным кольцом в канавке кожуха, на полуоси подшипник с внутренней стороны упирается в выступ, который одновременно служит дорожкой для двухсторонней манжеты, а с наружной стороны стопорится кольцевым стопором в канавке полуоси.
Сборка производится – подшипник устанавливается на полуось, затем устанавливается в кожух. С внешнего края на полуоси имеются шлицы, на которые устанавливается прямозубая ведущая шестерня полуоси и стопорится стопором в канавке полуоси, ведомая прямозубая шестерня крепиться к ступице болтами через сквозные отверстия, расположенные по окружности и имеющие с наружной стороны потай для утопления головок болтов, так как шестерня закрывается крышкой, которая имеет по окружности канавку с уплотнительным резиновым кольцом, на крышке имеется заливное отверстие с пробкой, крышка крепится болтами в резьбовые отверстия шестерни, подшипники и сама ступица увеличиваются согласно размеру кожуха полуоси, передаточное число редуктора меняется путем замены ведущей и ведомой шестерни с нужным количеством зубьев.
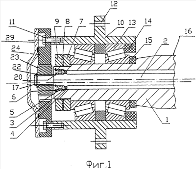
Фиг. 1. Мост с колесным редуктором в сборе:
1. Увеличенный кожух полуоси
2. Смещенное отверстие полуоси
3. Двухсторонняя манжетка
4. Упорный выступ подшипника
5. Опорный подшипник полуоси
6. Кольцевой стопор кожуха полуоси
7. Гайка подшипников ступицы
8. Стопорная шайба
9. Контрогайка
10. Ступица
11. Болт крепления шестерни к ступице
12. Отверстие для шпилек крепления дисков колес
13. Подшипник ступицы
14. Манжета ступицы
15. Опорная обойма подшипника
16. Корпус моста
17. Полуось
20. Кольцевой стопор подшипника полуоси
22. Кольцевой стопор шестерни полуоси
23. Прямозубая шестерня полуоси
24. Прямозубая шестерня ступицы
29. Крышка ступицы
Фиг.2. Полуось с подшипником:
17. Полуось
18. Шлицы для редуктора моста
19. Упорный выступ – дорожка манжеты 5. Опорный подшипник
20. Кольцевой стопор подшипника
21. Шлицы для установки шестерни
30. Канавка-подкольцевой стопор шестерни
Фиг.3. Ведущая шестерня полуоси:
31. Шлицевое отверстие шестерни
23. Прямозубая шестерня
Фиг.4. Ведомая шестерня ступицы:
24. Прямозубая шестерня
25. Отверстие для болтов крепления с потаем подголовки болтов
26. Резьбовые отверстия для крепления крышки
Фиг.5. Крышка ступицы:
26. Отверстия крепления
27. Канавка для резинового уплотнительного кольца
28. Заливное отверстие с пробкой
29. Крышка ступицы
Конструкция проста и удобна в применении, немаловажен и факт увеличения полезной нагрузки на ось за счет увеличения размеров кожуха полуоси.
Формула изобретения
Автомобильный мост с колесным редуктором, содержащий полуоси, шестерни полуосей, шестерни ступиц и несущий кожух полуосей, на краю полуоси имеются шлицы, на которые устанавливается ведущая шестерня полуоси и стопорится кольцевым стопором в канавке полуоси, ведущая шестерня полуоси закрывается крышкой, имеющей по окружности канавку с уплотнительным резиновым кольцом, на крышке имеется заливное отверстие с пробкой, крышка крепится болтами в резьбовые отверстия ведомой шестерни ступицы, отличающийся тем, что в несущем кожухе полуосей отверстие под полуоси смещено вверх с возможностью прямого взаимодействия ведущей шестерни полуоси с ведомой шестерней ступицы, а ведомая шестерня ступицы крепится к ступице болтами через сквозные отверстия, расположенные по окружности, внутри несущего кожуха полуоси устанавливается двухсторонняя манжета и делается посадочное место под опорный подшипник полуоси, который с внутренней стороны упирается в выступ несущего кожуха полуоси, а с наружной стороны стопорится стопорным кольцом в канавке кожуха; на полуоси подшипник с внутренней стороны упирается в выступ, который одновременно служит дорожкой для двухсторонней манжеты, с наружной стороны стопорится кольцевым стопором в канавке полуоси, а отверстия на наружной стороне ведомой шестерни ступицы выполнены потайными для утопления головок болтов, крепящих ведомую шестерню ступицы к ступице.
РИСУНКИ
|