|
|
(21), (22) Заявка: 2008111322/03, 26.03.2008
(24) Дата начала отсчета срока действия патента:
26.03.2008
(43) Дата публикации заявки: 10.10.2009
(46) Опубликовано: 20.05.2010
(56) Список документов, цитированных в отчете о поиске:
SU 810653 A1, 07.03.1981. SU 591318 A1, 05.02.1978. SU 1650441 A1, 23.05.1991. RU 2111115 C1, 20.05.1998. SU 810654 A1, 07.03.1981. RU 2019408 C1, 15.09.1994.
Адрес для переписки:
127422, Москва, а/я 5, А.В. Карташеву
|
(72) Автор(ы):
Бобров Юрий Леонидович (RU), Матвиевский Александр Анатольевич (RU), Петухова Екатерина Юрьевна (RU)
(73) Патентообладатель(и):
ОАО “МАКСМИР” (RU)
|
(54) ПОТОЧНАЯ ЛИНИЯ ДЛЯ ИЗГОТОВЛЕНИЯ ИЗДЕЛИЙ ВЕРТИКАЛЬНО-СЛОИСТОЙ СТРУКТУРЫ НЕПОСРЕДСТВЕННО ИЗ КОВРА ГОРИЗОНТАЛЬНО-СЛОИСТОЙ СТРУКТУРЫ И СПОСОБ ЕЕ ФУНКЦИОНИРОВАНИЯ
(57) Реферат:
Изобретение относится к средствам для изготовления эффективных волокнистых изделий, в частности теплозвукоизоляционных слоистых изделий, с вертикальной слоистостью и может быть использовано в промышленности теплоизоляционных строительных материалов. Поточная линия для изготовления изделий вертикально-слоистой структуры непосредственно из ковра горизонтально-слоистой структуры включает камеру волокноосаждения, подающий транспортер, ножи продольной и поперечной резки формуемого ковра, массопровод для изменения ориентации волокон с преимущественно горизонтальной на преимущественно вертикальную, узлы для нанесения покрытий на верхнюю и нижнюю поверхности сформированного однослойного ковра вертикальной слоистости, узлы регулировки плотности и толщины трехслойного ковра, камеру термообработки, обеспечивающую получение слоистого отвержденного ковра, узел резки слоистого ковра с получением готовых изделий. Плавильный агрегат и волокнообразователь размещены перед камерой волокноосаждения. После камеры термообработки размещены узлы наклейки изоляционных и/или отделочных покрытий на поверхности слоистого отвержденного ковра, после узла резки слоистого ковра, содержащего ножи продольной и поперченной резки, размещен узел упаковки готовых изделий. Узлы для нанесения покрытий на верхнюю и нижнюю поверхности сформированного однослойного ковра выполнены с возможностью нанесения сетчатых армирующих и/или отделочных покрытий. Верхний и нижний приемный транспортеры камеры термообработки выполнены с узлом регулирования их скоростей для синхронизации таким образом, чтобы сохранить вертикальную ориентацию волокон в формуемом ковре, и для регулирования плотности формуемого ковра. Приемный транспортер камеры термообработки выполнен ленточным из гибких перфорированных материалов, обладающих пониженными адгезионными свойствами к синтетическим связующим веществам, используемым при изготовлении волокнистого ковра. Охарактеризован способ функционирования поточной линии. Технический результат: упрощение устройства и снижение его материалоемкости, снижение энергозатрат при производстве теплоизоляционных изделий повышенной прочности на сжатие и разрыв поперек волокон. 2 н. и 3 з.п. ф-лы, 1 ил.
Изобретение относится к средствам для изготовления эффективных волокнистых изделий, в частности теплозвукоизоляционных слоистых изделий, с вертикальной слоистостью и может быть использовано в промышленности теплоизоляционных строительных материалов.
Известно устройство для формования минераловатных или стекловатных изделий, содержащее камеру волокноосаждения, подающий транспортер, ножи горизонтальной продольной резки ковра на слои, нож поперечной резки среднего слоя ковра, толкатель, массопровод, механизм непрерывной подачи ковра, компенсатор длины, механизм периодической подачи среднего слоя ковра на резку, причем массопровод изогнут под прямым углом, в вершине которого установлен совмещенный с толкателем нож поперечной резки, кинематически соединенный с механизмом периодической подачи (1).
Недостатками известного устройства для формования является относительная сложность конструкции, повышенные энергозатраты и металлоемкость, обусловленные периодичностью процесса производства, присутствием в конструкции четырех металлоемких транспортеров (горизонтального, двух наклонных и подпрессовочного), наличием в данной конструкции относительно сложных механизмов, например, кривошипно-шатунного механизма с сегментной шестерней и компенсатора длины, выполненного, например, в виде изогнутого по кривой копира.
Кроме того, следует отметить недостаточную прочность изготавливаемых трехслойных изделий на сжатие и разрыв поперек волокон.
Задачей заявляемого технического решения является разработка более простого и надежного конструктивного средства, включающего устройство и способ его функционирования для обеспечения непрерывного процесса изготовления эффективных однослойных волокнистых изделий, в частности теплозвукоизоляционных изделий, вертикально-слоистой структуры.
Технический результат состоит в упрощении конструкции устройства и снижении его материалоемкости, увеличении прочности готовых изделий на сжатие и разрыв поперек волокон, повышения их заводской готовности, а также снижении энергозатрат производства.
Указанный технический результат достигается тем, что поточная линия для изготовления однослойных изделий вертикально-слоистой структуры непосредственно из ковра горизонтально-слоистой структуры, содержащая камеру волокноосаждения, подающий транспортер, устройство для изменения ориентации волокон с преимущественно горизонтальной на преимущественно вертикальную, камеру термообработки, ножи продольной и поперечной резки ковра на плиты заданных размеров, содержит на входе плавильный агрегат и волокнообразователь, последовательно установленные до камеры термообработки узел регулировки плотности и толщины ковра, узел выравнивания верхней поверхности формируемого ковра с вертикальной ориентацией слоев, узлы для нанесения сетчатых армирующих и/или отделочных покрытий на верхнюю и нижнюю поверхности формируемого однослойного ковра вертикальной слоистости, а после камеры термообработки размещены узлы наклейки изоляционных и/или отделочных покрытий на поверхности отвержденного ковра, узел продольной и поперечной резки отвержденного ковра, причем приемный транспортер камеры термообработки содержит верхнюю ветвь (верхний приемный транспортер), выполненную из ленточных гибких перфорированных материалов, поверхности которых обладают пониженными адгезионными свойствами к синтетическим связующим веществам, используемым в производстве в качестве основных компонентов, а массопровод выполнен плавно изогнутым.
При этом выполнение верхней ветви приемного транспортера камеры термообработки позволяет сохранить сформированную структуру вертикально-слоистого ковра в камере термообработки, снизить затраты на саму тепловую обработку за счет создания оптимального тепло- и массообмена в камере термообработки, а также снизить массу верхнего транспортера, за счет использования гибких перфорированных материалов.
При этом устройство для изменения ориентации волокон с преимущественно горизонтальной на преимущественно вертикальную включает подвижный нож поперечной резки 6, толкатель 7, непрерывно формирующий волокнистый ковер 8 с преимущественно вертикально-ориентированными волокнами, массопровод 9, узел регулировки 10 толщины формируемого ковра 8, узел выравнивания 11 верхней поверхности формируемого ковра 8.
Кроме того, поточная линия отличается тем, что дополнительно введен узел регулирования скорости приемного транспортера камеры термообработки.
Также поточная линия отличается тем, что величина отверстий в верхнем и нижнем приемных транспортерах много больше величины отверстий в наносимых сетчатых армирующих и/или отделочных покрытиях.
Также поточная линия отличается тем, что в качестве гибких перфорированных материалов верхнего приемного транспортера камеры термообработки применяют, например, металлические, металлополимерные или резинополимерные армированные ленты.
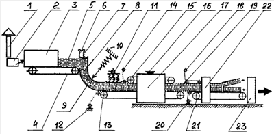
Поточная линия для изготовления однослойных изделий вертикально-слоистой структуры непосредственно из ковра горизонтально-слоистой структуры изображена на чертеже.
Изображенная на чертеже поточная линия для изготовления однослойных изделий вертикально-слоистой структуры непосредственно из ковра горизонтально-слоистой структуры содержит следующие компоненты: плавильный агрегат 1, волокнообразователь 2, камеру волокноосаждения 3, подающий транспортер 4, волокнистый ковер 5 (преимущественно горизонтальной структуры), подвижный нож поперечной резки 6, толкатель 7, непрерывно формирующий волокнистый ковер 8 с преимущественно вертикально-ориентированными волокнами, массопровод 9, узел регулировки толщины формируемого ковра 10, узел выравнивания верхней поверхности формируемого ковра 11, нижний узел наклейки сетчатых покрытий 12, нижний приемный транспортер 13, верхний узел наклейки сетчатых покрытий 14, верхний приемный транспортер 15, узел регулировки скорости приемного транспортера 16, камеру термообработки 17, верхний узел наклейки изоляционных (отделочных) покрытий 18, непрерывную ленту отвержденного после термообработки ковра 19 для получения из него готовых изделий, нижний узел наклейки изоляционных (отделочных) покрытий 20, транспортер подачи отвержденного после термообработки ковра на резку и упаковку готовых изделий 21, узел продольной и поперечной резки (в том числе и по толщине) отвержденного после термообработки ковра 22, узел упаковки готовых изделий 23.
Работа устройства состоит в следующем.
Минеральный расплав, выходящий из плавильного агрегата 1, преобразуется в волокнообразователе 2 в волокно, которое осаждается в камере волокноосаждения 3, куда одновременно впрыскивается водный раствор связующего, используемого в качестве клеящегося вещества. В результате на подающем транспортере 4 формируется непрерывный волокнистый ковер 5, преимущественно горизонтальной структуры, который после вертикальной резки подвижным ножом поперечной резки 6, толкателем 7, преобразовывается в волокнистый ковер 8 с преимущественно вертикально-ориентированными волокнами, на нижнюю поверхность которого наносится с помощью узла 12 сетчатое покрытие, а верхняя часть этого ковра вначале выравнивается с помощью узла выравнивания 11, после чего на нее наносится сетчатое покрытие с помощью верхнего узла наклейки сетчатых покрытий 14, затем нижним приемным транспортером 13 и верхним приемным транспортером 15 волокнистый ковер 8 подается в камеру термообработки 17 (для полимеризации связующего), при этом скорость нижнего приемного транспортера 13 может регулироваться с помощью узла регулировки скорости приемного транспортера 16. Из камеры термообработки 17 непрерывная лента отвержденного после термообработки ковра 19, с предварительно наклеенными (при необходимости) изоляционными и/или отделочными покрытиями с помощью верхнего 18 и нижнего 20 узлов наклейки, подается транспортером 21 на узел продольной и поперечной резки отвержденного ковра 22, откуда готовые изделия подаются транспортером 21 в узел упаковки готовых изделий 23.
Способ функционирования линии для изготовления однослойных изделий вертикально-слоистой структуры непосредственно из ковра горизонтально-слоистой структуры, включающий расплавление исходного сырья в плавильном агрегате, образование волокна из расплава в волокнообразователе, осаждение волокна преимущественно горизонтальной структуры на подающем транспортере в камере волокноосаждения, подачу его на резку, формование ковра с вертикальной слоистостью, его подачу толкателем в камеру термообработки, в которой происходит закрепление структуры сформованного ковра, транспортирование непрерывной ленты отвержденного после термообработки сформованного ковра на узел продольной и поперечной резки, где его разрезают на готовые изделия заданных размеров, отличается тем, что обеспечивают непрерывность как процесса формования, так и подачи сформованного ковра вертикальной слоистости в камеру термообработки за счет согласованного действия связанных между собой толкателя и подвижного ножа поперечной резки, причем до подачи его в камеру термообработки наносят сетчатые армирующие и/или отделочные покрытия нижней части и предварительно выровненной верхней части сформованного ковра, причем изделия изготавливают на основе однословного ковра вертикально-ориентированной структуры, который непрерывно формуют на нижнем приемном транспортере по сетчатым армирующим и/или отделочным покрытиям и закрепляют полученную структуру в камере термообработки, а для устранения возможного нарушения вертикальной ориентации волокон сформованного ковра при его термообработке синхронизируют скорости верхнего и нижнего приемных транспортеров.
Кроме того, способ отличается тем, что для повышения заводской готовности изделий на готовые изделия наклеивают изоляционное и/или отделочное покрытие.
Также способ отличается тем, что для изменения толщины и плотности формуемого ковра изменяют расстояние между внутренними поверхностями массопровода.
Вместе с тем способ отличается и тем, что заданную плотность и преимущественно вертикальную ориентацию формуемого ковра осуществляют путем регулировки (синхронизации) скоростей обоих ветвей приемного транспортера камеры термообработки.
(1) SU 810653 A1, C04B 37/10, 07.03.1981.
Формула изобретения
1. Поточная линия для изготовления изделий вертикально слоистой структуры непосредственно из ковра горизонтально-слоистой структуры, включающая камеру волокноосаждения, подающий транспортер, ножи продольной и поперечной резки формуемого ковра, массопровод для изменения ориентации волокон с преимущественно горизонтальной на преимущественно вертикальную, узлы для нанесения покрытий на верхнюю и нижнюю поверхности сформированного однослойного ковра вертикальной слоистости, узлы регулировки плотности и толщины трехслойного ковра, камеру термообработки, обеспечивающую получение слоистого отвержденного ковра, узел резки слоистого ковра с получением готовых изделий, отличающаяся тем, что она содержит плавильный агрегат и волокнообразователь, размещенные перед камерой волокноосаждения, размещенные после камеры термообработки узлы наклейки изоляционных и/или отделочных покрытий на поверхности слоистого отвержденного ковра и размещенный после узла резки слоистого ковра, содержащего ножи продольной и поперечной резки, узел упаковки готовых изделий, при этом узлы для нанесения покрытий на верхнюю и нижнюю поверхности сформированного однослойного ковра выполнены с возможностью нанесения сетчатых армирующих и/или отделочных покрытий, верхний и нижний приемный транспортеры камеры термообработки выполнены с узлом регулирования их скоростей для синхронизации таким образом, чтобы сохранить вертикальную ориентацию волокон в формуемом ковре, и для регулирования плотности формуемого ковра, причем приемный транспортер камеры термообработки выполнен ленточным из гибких перфорированных материалов, обладающих пониженными адгезионными свойствами к синтетическим связующим веществам, используемым при изготовлении волокнистого ковра.
2. Поточная линия по п.1, отличающаяся тем, что величина отверстий в верхнем и нижнем приемных транспортерах больше величины отверстий в наносимых сетчатых и/или отделочных покрытиях.
3. Поточная линия по п.1 или 2, отличающаяся тем, что в качестве указанных перфорированных материалов используют металлические, металлополимерные или резинополимерные армированные ленты.
4. Способ функционирования поточной линии для изготовления изделий вертикально-слоистой структуры, включающий осаждение волокна преимущественно горизонтальной структуры на подающем транспортере в камере волокноосаждения, подачу его на продольную резку подвижным ножом, изменение в массопроводе ориентации волокон с преимущественно горизонтальной на преимущественно вертикальную за счет синхронизированных действий связанных между собой толкателя и ножа поперечной резки, нанесение покрытий на нижнюю части и верхнюю части сформованного ковра, его подачу в камеру термообработки, в которой происходит закрепление структуры сформованного ковра, транспортирование непрерывной ленты отвержденного после термообработки сформованного ковра на узел резки, где его разрезают на готовые изделия заданных размеров, отличающийся тем, что минеральное сырье для получения осаждаемого волокна расплавляют в плавильном агрегате, образуют волокна из расплава в волокнообразователе, и волокнообразователь, размещенные перед камерой волокноосаждения, после камеры термообработки наклеивают изоляционные и/или отделочные покрытия на поверхности слоистого отвержденного ковра, а после резки слоистого ковра ножами продольной и поперечной резки, полученные готовые изделия упаковывают, при этом покрытия на верхней и нижней поверхностях сформированного однослойного ковра сетчатые армирующие и/или отделочные, скорости верхнего и нижнего приемных транспортеров камеры термообработки синхронизируют таким образом, чтобы сохранить вертикальную ориентацию волокон в формуемом ковре, и для регулирования плотности формуемого ковра, причем в камере термообработки используют приемный транспортер, выполненный ленточным из гибких перфорированных материалов, обладающих пониженными адгезионными свойствами к синтетическим связующим веществам, используемым при изготовлении волокнистого ковра.
5. Способ по п.4, отличающийся тем, что для изменения толщины формуемого ковра с вертикальной слоистостью изменяют расстояние между внутренними поверхностями массопровода.
РИСУНКИ
|
|