|
(21), (22) Заявка: 2008127071/02, 04.07.2008
(24) Дата начала отсчета срока действия патента:
04.07.2008
(43) Дата публикации заявки: 10.01.2010
(46) Опубликовано: 20.05.2010
(56) Список документов, цитированных в отчете о поиске:
SU 1743811 A1, 30.06.1992. RU 2215639 C1, 10.11.2003. SU 135359 A, 01.01.1961. SU 933391 A, 07.01.1982. SU 1634448 A1, 15.03.1991. FR 2358240 A, 10.02.1978.
Адрес для переписки:
141200, Московская обл., г. Пушкино, Московский пр-кт, 27, кв.174, В.И.Кутепову
|
(72) Автор(ы):
Кутепов Владимир Иванович (RU)
(73) Патентообладатель(и):
Кутепов Владимир Иванович (RU)
|
(54) ПРИСПОСОБЛЕНИЕ ДЛЯ РУЧНОЙ ЗАТОЧКИ СВЕРЛ (ВАРИАНТЫ)
(57) Реферат:
Приспособление содержит сверлодержатель и основание в виде скобы. На одной стороне скобы размещена поперечная опора, а на другой – винты, оси которых расположены по разные стороны плоскости симметрии поперечной опоры. По другому варианту приспособление содержит сверлодержатель и основание, выполненное в виде двух губок, взаимодействующих с винтом или винтами и разрезным хомутом, насаженным на винт с возможностью поворота вокруг винта и перемещения вдоль винта. По третьему варианту приспособление содержит сверлодержатель с базовым элементом, передним и боковым упорами. Сверлодержатель выполнен в виде платформы с размещенной на ней с возможностью перемещения и поворота кареткой, а базовый элемент выполнен в виде призмы, одна полка которой образована платформой, а другая – кареткой. По четвертому варианту приспособление содержит сверлодержатель с передним и боковым упорами и снабжено штоком с упругим элементом. Упоры размещены на штоке с возможностью перемещения вместе с ним вдоль оси затачиваемого сверла и упругого возврата от шлифовального круга. Технический результат: упрощение конструкции, повышение ее технологичности, быстросъемности и компактности, возможность установки на подручнике электроточила и заточки широкого диапазона различных типоразмеров сверл и буров. 4 н. и 5 з.п. ф-лы, 3 ил.
Приспособление относится к машиностроению и предназначено к использованию на заточных и производственных участках со сверлильными операциями, а также в ремонтных мастерских и мастерами-индивидуалами.
Ближайшим аналогом изобретения является приспособление для ручной заточки сверл с основанием в виде скобы для установки сверлодержателя на подручнике электроточила (SU 1743811, В24В 3/24, 1992), но у него нет механизма регулировки заднего угла .
Другим ближайшим аналогом изобретения является «Приспособление для ручной заточки сверл» (варианты) по патенту RU 2215639 (В24В 3/24, 2002). Недостатками этого ближайшего аналога изобретения являются неприспособленность его к установке на подручнике обычного электроточила и сложность механизма для установки заднего угла . Второй его недостаток – необходимость изготовления базового элемента – призмы. А третий в том, что нет механизма автоматического отвода упора от шлифовального круга (при поворотах сверла на 180°), который мог бы облегчить процесс заточки, особенно, при самом простом способе заточки сверл – по плоскостям.
Задачей изобретения является устранение отмеченных выше недостатков ближайших аналогов, т.е. создание простого и технологичного, компактного и быстросъемного приспособления для установки его на подручнике обычного электроточила, с универсальным сверлодержателем, обеспечивающего качественную «ручную» заточку широкого диапазона различных типоразмеров спиральных сверл и буров.
Предлагаемые изобретения изображены на приложенных к описанию графических материалах:
– на фиг.1 – приспособление с основанием в виде скобы;
– на фиг.2 – приспособление с основанием в виде двух губок;
– на фиг.3 – вид сверху по фиг.2.
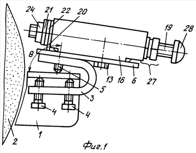
Поставленная задача по созданию простого механизма регулировки заднего угла заточки сверла решается тем, что в приспособлении для ручной заточки сверл, содержащем сверлодержатель и основание в виде скобы, на одной стороне скобы (верхней) размещена поперечная опора, а на другой (верхней) – винты, оси которых расположены по разные стороны плоскости симметрии опоры. Пример этого решения – на фиг.1.
На подручнике 1 (см. фиг.1) электроточила со шлифовальным кругом 2 устанавливается приспособление с основанием в виде скобы 3 и зажимными винтами 4. Двумя винтами 5, концы которых выполнены одинаковой длины и образуют поперечную опору (с плоскостью симметрии между винтами 4), платформа 6 сверлодержателя крепится к скобе.
Заметим, что задний угол заточки сверла связан с углом (между плоскостью опоры и плоскостью подручника), т.е. он может регулироваться теми же винтами 4, у которых стало две функции.
Для других вариантов исполнения подручников точил поставленная задача по установке приспособления на подручнике точила и по созданию простого механизма регулировки заднего угла заточки сверла решается тем, что в приспособлении для ручной заточки сверл, содержащем сверлодержатель и основание, само основание выполнено в виде двух губок, взаимодействующих с винтом (или винтами) и разрезным хомутом, насаженным на винт с возможностью поворота вокруг винта и перемещения вдоль винта.
Такое исполнение этой части решения задачи изображено на фиг.2. На подручнике 7 (см. фиг.2) электроточила со шлифовальным кругом 8 устанавливается приспособление с основанием в виде двух губок (захватов) 9. Крепится оно затяжкой гаек 10 на винте 11. На этом же винте (штанге) установлен упругий разрезной хомут 12, который может поворачиваться вокруг винта (для регулировки заднего угла заточки ) и перемещаться вдоль винта. Фиксируется хомут винтом 13 и им же (или другим) крепится к платформе 6 сверлодержателя.
Для решения поставленной задачи и упрощения конструкции в приспособлении для ручной заточки сверл, содержащем сверлодержатель с базовым элементом, сверлодержатель выполнен в виде платформы с размещенной на ней, с возможностью перемещения и поворота, кареткой, а его базовый элемент – в виде призмы, одной полкой которой служит платформа, а другой – каретка. При этом плоскость симметрии «призмы» наклонена под 45° к плоскости, проходящей через ось сверла параллельно его режущим кромкам, что облегчает удержание сверла при заточке.
Указанное исполнение решения задачи изображено на фиг.2 и 3.
Сам сверлодержатель приспособления выполнен в виде платформы 6 с размещенной на ней кареткой 16. Пазы 14 в платформе и 15 в каретке (фиг.3) позволяют каретке перемещаться и поворачиваться в плоскости платформы и фиксироваться винтом 13. Тем самым базовый элемент сверлодержателя – «призму» (т.е. платформа 6 с боковиной 17 каретки 16) можно установить с углом (угол в плане сверла 18).
Для облегчения процесса заточки в приспособлении для ручной заточки сверл, содержащем сверлодержатель с передним и боковым упорами, установлен шток с упругим элементом, а упоры размещены на штоке с возможностью перемещения вместе со штоком вдоль оси затачиваемого сверла и упругого возврата от шлифовального круга (у аналога – наоборот).
Указанное исполнение решения задачи изображено на фиг.2 и 3.
Для этого в каретках 16 размещен шток 19, ось которого параллельна боковине 17. В передней части штока неподвижно установлена планшайба 20, к которой, на штоке, размещают передний 21 и боковой 22 упоры (а при необходимости, и упорку 23) и зажимают гайкой 24. А в средней части штока установлены пружина 25 с муфтой 26 для отталкивания штока с упорами назад – от камня.
Кроме того, для решения поставленной задачи и удобства пользования приспособлением в нем использовано еще пять новшеств (ниже).
1. На штоке установлена фрикционная муфта, передвигая которую вдоль штока, можно менять усилие сжатия пружины.
Эта фрикционная (самофиксирующаяся) муфта 26 выполнена с возможностью перемещения вдоль оси штока (фиг.3).
2. На штоке установлен самостопорящийся регулятор подачи, исключающий самопроизвольное перемещение вдоль штока при вибрации.
Самостопорящийся регулятор подачи 28 состоит из гайки с контргайкой и размещенным между ними резиновым кольцом. А усилие его торможения зависит от взаимной затяжки гаек (фиг.2 и 3).
3. На штоке неподвижно установлена планшайба с минимальным зазором с платформой для препятствия повороту штока вокруг оси.
К планшайбе 20 прижимают упоры с упоркой (фиг.2 и 3).
4. Кроме того, на штоке установлена травмобезопасная кнопка для удобства подачи упоров в направлении шлифовального круга.
Кнопка 28 насажена на заднем (от камня) конце штока (фиг.2 и 3).
5. Для регулировки «вылетов» упоров и угла наклона рабочей грани переднего упора упоры установлены с возможностью поворота и перемещения в плоскости, перпендикулярной оси штока.
В упорах 21, 22 и в упорке 23 выполнены пазы для их перемещения и поворота в плоскости планшайбы 20 (фиг.2 и 3).
Рассмотрим последовательность наладки и работу этих вариантов предлагаемого приспособления (способ заточки сверл – по плоскостям).
1. Устанавливают приспособление на подручнике электроточила с выставлением по шаблонам углов заточки сверла и : по первому варианту с помощью винтов 4 и 13; по второму варианту – винта 13.
2. Уложив в «призму» сверло 18, так чтобы его режущие кромки располагались горизонтально, и ослабив гайку 24 штока, подводят сверло и упоры до касания боковым упором ленточки сверла (в уголке), а передний упор – с «вылетом» на 1-3 мм. Зажимают гайку 24.
Введем понятие – «удерживать сверло в базовом положении»: большим пальцем левой руки сверло прижимают к платформе, каретке и упорам, а другие ее пальцы – под платформой; пальцами правой руки сверло держат так, чтобы его режущие кромки располагались в горизонтальной плоскости, а кисть этой руки – касалась кнопки штока.
3. Удерживая сверло в базовом положении и нажимая на кнопку, регулятором подачи 27 и руками продвигают сверло вдоль оси до касания шлифовального круга. Снимают сверло и, при необходимости, регулируют упругость пружины 25 перемещением вдоль штока муфты 26.
4. Включают точило и производят несколько циклов заточки, поворачивая сверло на 180° после каждого цикла.
Понятие цикла заточки:
а) удерживать сверло в базовом положении;
б) нажимая одновременно на кнопку и сверло, продвинуть его вдоль оси до предела, ограниченного регулятором подачи;
в) отодвинуть сверло назад (на величину отхода штока).
5. Проверяют заточку и, при необходимости, меняют величину подачи, а в заключение выводят ее на «0» и производят «выхаживание».
При использовании упорки ее размещают на штоке между упорами. Для заточки сверл большого диаметра используют накладную призму, а сверл малого диаметра – накладной блок, как у аналога.
Формула изобретения
1. Приспособление для ручной заточки сверл, содержащее сверлодержатель и основание в виде скобы, отличающееся тем, что на одной стороне скобы размещена поперечная опора, а на другой – винты, оси которых расположены по разные стороны плоскости симметрии поперечной опоры.
2. Приспособление для ручной заточки сверл, содержащее сверлодержатель и основание, отличающееся тем, что основание выполнено в виде двух губок, взаимодействующих с винтом или винтами и разрезным хомутом, насаженным на винт с возможностью поворота вокруг винта и перемещения вдоль винта.
3. Приспособление для ручной заточки сверл, содержащее сверлодержатель с базовым элементом, передним и боковым упорами, отличающееся тем, что сверлодержатель выполнен в виде платформы с размещенной на ней с возможностью перемещения и поворота кареткой, а базовый элемент выполнен в виде призмы, одна полка которой образована платформой, а другая – кареткой.
4. Приспособление для ручной заточки сверл, содержащее сверлодержатель с передним и боковым упорами, отличающееся тем, что оно снабжено штоком с упругим элементом, а упоры размещены на штоке с возможностью перемещения вместе с ним вдоль оси затачиваемого сверла и упругого возврата от шлифовального круга.
5. Приспособление по п.4, отличающееся тем, что упругий элемент установлен с возможностью регулировки усилия его сжатия.
6. Приспособление п.4, отличающееся тем, что на штоке установлен самостопорящийся регулятор подачи.
7. Приспособление п.4, отличающееся тем, что оно снабжено планшайбой, установленной на штоке неподвижно и с минимальным зазором с платформой.
8. Приспособление п.4, отличающееся тем, что на штоке установлена кнопка.
9. Приспособление по п.4, отличающееся тем, что передний и/или боковой упоры установлены с возможностью поворота и перемещения в плоскости, перпендикулярной оси штока.
РИСУНКИ
|