|
|
(21), (22) Заявка: 2008131391/02, 29.07.2008
(24) Дата начала отсчета срока действия патента:
29.07.2008
(46) Опубликовано: 20.05.2010
(56) Список документов, цитированных в отчете о поиске:
US 2003172772 А1, 18.09.2003. US 5578108 А, 26.11.1996. JP 60116705 А, 24.06.1985. RU 2238174 С1, 20.10.2004. RU 2015843 С1, 15.07.1994.
Адрес для переписки:
630054, г.Новосибирск, а/я 38, Е.А.Вагановой
|
(72) Автор(ы):
Безруков Иван Андреевич (RU), Малышев Сергей Николаевич (RU)
(73) Патентообладатель(и):
Закрытое акционерное общество “НАУЧНО-ПРОИЗВОДСТВЕННОЕ ПРЕДПРИЯТИЕ ЭЛЕКТРОПЛАЗМЕННОГО ОБОРУДОВАНИЯ И СИСТЕМ ЭПОС” (RU), Государственное образовательное учреждение высшего профессионального образования “Новосибирский государственный технический университет”(НГТУ) (RU)
|
(54) СПОСОБ ПОЛУЧЕНИЯ МЕЛКОДИСПЕРСНОГО ОЧИЩЕННОГО ПОРОШКА ТУГОПЛАВКИХ МЕТАЛЛОВ И УСТРОЙСТВО ДЛЯ ЕГО ОСУЩЕСТВЛЕНИЯ
(57) Реферат:
Изобретение относится к области порошковой металлургии, а именно к процессам обработки в вакууме исходного порошка тугоплавкого металла. Исходный порошок подают в столб плазмы через установленную внутри катода водоохлаждаемую трубку и нагревают его до температуры расплавления с получением очищенных частиц порошка. Частицы охлаждают посредством приведения их в соприкосновение с группой из по меньшей мере двух мишеней. При необходимости их разделяют по фракциям и накапливают в по меньшей мере одной приемной емкости. Устройство содержит вакуумную камеру с размещенными в ней анодом и катодом для формирования плазменного столба, механизм крепления катода к катододержателю и по меньшей мере одну приемную емкость для конечного порошка. При этом оно снабжено группой из по меньшей мере двух охлаждаемых мишеней, установленных с зазором, выполненных в виде тела вращения с самостоятельным механизмом перемещения и управления скоростью и направлением вращения и покрытых слоем материала, совпадающего по химическому составу с исходным, а также узлом слежения за зазором между мишенями. Катод выполнен полым с каналом для подачи плазмообразующего газа и снабжен установленной внутри него водоохлаждаемой трубкой для подачи исходного порошка в столб плазмы. Кроме этого, по меньшей мере, одна мишень снабжена возбудителем высокочастотных механических колебаний. Обеспечивается получение мелкодисперсного очищенного порошка, откалиброванного по максимальному геометрическому размеру частиц, обладающего заданной формой и развитой удельной поверхностью. 2 н. и 1 з.п. ф-лы, 2 ил.
Изобретение относится к области порошковой металлургии, а именно к процессам обработки в вакууме исходного порошка тугоплавкого металла (тантала, ниобия или другого, полученного, например, алюмо- или натрийтермическим способом) с целью получения мелкодисперсного очищенного порошка с заданными параметрами, например, с развитой удельной поверхностью. Конечный порошок может применяться, в частности, для производства высокоемких конденсаторов.
Традиционный метод получения очищенного порошка тугоплавкого металла, предполагающий формирование слитка металла из исходного порошка с последующим его механическим измельчением, позволяет получить порошок осколочной формы. Получаемый таким образом порошок не удовлетворяет требованиям чистоты и развитости поверхности при производстве, в частности, высокоемких конденсаторов. Проблема переработки и улучшения параметров порошков тугоплавких металлов, полученных механическим размолом, остается актуальной и нерешенной.
Наиболее близкими к предлагаемому изобретению по технической сущности являются способ очистки мелкодисперсного порошка тугоплавкого металла, включающий подачу исходного порошка в столб плазмы, нагрев до температуры расплавления, очистку в плазменном столбе с получением очищенных частиц порошка, их охлаждение и накапливание в по меньшей мере одной приемной емкости, а также устройство для получения мелкодисперсного очищенного порошка тугоплавких металлов, содержащее вакуумную камеру с размещенными в ней анодом и катодом для формирования плазменного столба, механизм крепления катода к катододержателю и по меньшей мере одну приемную емкость для конечного порошка (US 2003172772 А1, B22F 1/00, публ. 18.09.2003).
Указанные способ и устройство не позволяют получать откалиброванные по геометрическому размеру частицы порошка с заданной формой и развитой удельной поверхностью.
Целью изобретения является разработка способа получения мелкодисперсного очищенного порошка тугоплавких металлов с заданными параметрами из исходного порошка и устройства для осуществления данного способа.
Для этого в известном способе очистки мелкодисперсного порошка тугоплавкого металла, включающем подачу исходного порошка в столб плазмы, нагрев до температуры расплавления, очистку в плазменном столбе с получением очищенных частиц порошка, их охлаждение и накапливание в по меньшей мере одной приемной емкости, исходный порошок подают в столб плазмы через установленную внутри катода водоохлаждаемую трубку, а охлаждение очищенных частиц проводят посредством приведения их в соприкосновение с группой из по меньшей мере двух перемещающихся вращающихся охлаждаемых мишеней, установленных с зазором между ними и покрытых слоем материала, совпадающего по химическому составу с исходным. При необходимости частицы порошка разделяют по фракциям.
Для реализации предлагаемого способа известное устройство для получения мелкодисперсного очищенного порошка тугоплавких металлов, содержащее вакуумную камеру с размещенными в ней анодом и катодом для формирования плазменного столба, механизм крепления катода к катододержателю и по меньшей мере одну приемную емкость для конечного порошка, снабжено группой из по меньшей мере двух охлаждаемых мишеней, установленных с зазором между ними, и узлом слежения за зазором. Мишени выполнены в виде тела вращения с самостоятельным механизмом перемещения и управления скоростью и направлением вращения и покрыты слоем материала, совпадающего по химическому составу с исходным. Кроме того, катод выполнен полым с каналом для подачи плазмообразующего газа и снабжен установленной внутри него водоохлаждаемой трубкой для подачи исходного порошка в столб плазмы.
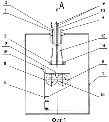
Сущность изобретения поясняется чертежами. На фиг.1 изображено устройство для получения мелкодисперсного очищенного порошка тугоплавких металлов, на фиг.2 – устройство, вид сверху.
Устройство состоит из вакуумной камеры 1 с размещенными в ней полым катодом 2, закрепленным на катододержателе 3 с помощью механизма крепления катода к катододержателю 4, анодом 5, группой охлаждаемых мишеней 6, узлом слежения за зазором между мишенями 7 и приемной емкостью 8. Катод 2 снабжен каналом для подачи плазмообразующего газа 9 и водоохлаждаемой трубкой для подачи исходного порошка 10. Каждая из мишеней 6 оснащена механизмом перемещения и управления скоростью и направлением вращения 11.
Реализация способа и работа устройства осуществляется следующим образом. В вакуумной камере 1 электронно-плазменной печи устанавливают взаимное расположение полого катода 2 и анода 5, соответствующее требуемому режиму. Вакуумную камеру 1 откачивают до давления 10-1÷10-5 мм рт.ст. В канал 9 подают плазмообразующий газ. После этого подают напряжение между катодом и анодом, вследствие чего в межэлектродном пространстве зажигается электрический разряд и формируется столб плазмы. Исходный порошок спутной струей инертного газа через водоохлаждаемую трубку 10 подают в вертикальный столб плазмы 12. При этом порошок подвергается избирательному ионно-электронному нагреву до температур расплавления, очистке, рафинированию и дополнительному ускорению за счет газодинамических и электродинамических сил. Очистка частиц порошка осуществляется за счет термоэмиссионных, диффузионных и испарительных процессов более легкоплавких веществ и за счет меньшей термоэмиссионной энергии. Затем поток частиц порошка 13 через отверстие в аноде 14 пролетает в направлении группы перемещающихся, вращающихся, охлаждаемых мишеней 6, выполненных каждая в виде тела вращения, например конуса или цилиндра, с установленным заданным зазором 15 между ними и покрытых слоем материала, совпадающего по химическому составу с исходным, который препятствует загрязнению частиц конечного порошка посторонними примесями. Частицы ударяются о поверхность мишеней, деформируются, охлаждаются, затвердевают, калибруются зазором до установленной величины. Затвердевшие частицы конечного порошка под действием центробежных сил, механического воздействия и газодинамического взаимодействия со столбом плазмы отлетают от поверхностей мишеней в по крайней мере одну приемную емкость 8. Самостоятельные механизмы перемещения и управления скоростью и направлением вращения каждой мишени позволяют регулировать в широком диапазоне взаимное расположение мишеней, величину зазора между ними и скорость их встречного либо спутного вращения, а следовательно, размер, скорость и направление отлета частиц конечного порошка.
Для облегчения очистки поверхностей мишеней от частиц порошка, по крайней мере, одну из мишеней подсоединяют к возбудителю высокочастотных колебаний 16, подключаемому при необходимости.
Таким образом, получают металлический порошок, состоящий из очищенных, откалиброванных по максимальному геометрическому размеру частиц, обладающих заданной формой и развитой удельной поверхностью.
Формула изобретения
1. Способ получения мелкодисперсного очищенного порошка тугоплавкого металла, включающий подачу исходного порошка в столб плазмы, нагрев до температуры расплавления, очистку в плазменном столбе с получением очищенных частиц порошка, их охлаждение и накапливание в по меньшей мере одной приемной емкости, отличающийся тем, что исходный порошок подают в столб плазмы через установленную внутри катода водоохлаждаемую трубку, а охлаждение очищенных частиц проводят посредством приведения их в соприкосновение с группой из по меньшей мере двух перемещающихся вращающихся охлаждаемых мишеней, установленных с зазором между ними, покрытых слоем материала, совпадающего по химическому составу с исходным и при необходимости разделяют частицы по фракциям.
2. Устройство для получения мелкодисперсного очищенного порошка тугоплавкого металла, содержащее вакуумную камеру с размещенными в ней анодом и катодом для формирования плазменного столба, механизм крепления катода к катододержателю и по меньшей мере одну приемную емкость для конечного порошка, отличающееся тем, что оно снабжено группой из по меньшей мере двух охлаждаемых мишеней, установленных с зазором, выполненных в виде тела вращения с самостоятельным механизмом перемещения и управления скоростью и направлением вращения и покрытых слоем материала, совпадающего по химическому составу с исходным, а также узлом слежения за зазором между мишенями, при этом катод выполнен полым с каналом для подачи плазмообразующего газа и снабжен установленной внутри него водоохлаждаемой трубкой для подачи исходного порошка в столб плазмы.
3. Устройство по п.2, в котором по меньшей мере одна мишень снабжена возбудителем высокочастотных механических колебаний.
РИСУНКИ
|
|