|
|
(21), (22) Заявка: 2007131881/02, 22.08.2007
(24) Дата начала отсчета срока действия патента:
22.08.2007
(43) Дата публикации заявки: 27.02.2009
(46) Опубликовано: 20.05.2010
(56) Список документов, цитированных в отчете о поиске:
RU 2207197 C2, 27.06.2003. RU 2084298 C1, 20.07.1997. SU 1388124 A1, 15.04.1988. SU 433934, 30.06.1974. WO 2007014911 A1, 04.12.1990.
Адрес для переписки:
623112, Свердловская обл., г.Первоуральск, ул.Торговая, 1, ОАО “Первоуральский новотрубный завод”, начальнику научно-исследовательских работ А.В.Серебрякову
|
(72) Автор(ы):
Чечулин Юрий Борисович (RU), Марков Дмитрий Всеволодович (RU), Гайнанов Вадим Родомирович (RU), Кузнецов Лев Николаевич (RU), Трескин Валерий Владимирович (RU), Клемперт Ефим Давыдович (RU), Свиридов Борис Павлович (RU), Песин Юрий Вольфович (RU)
(73) Патентообладатель(и):
Открытое акционерное общество “Первоуральский новотрубный завод” (RU), Государственное образовательное учреждение высшего профессионального образования “Уральский государственный технический университет-УПИ” (RU)
|
(54) ТРЕХВАЛКОВАЯ РАБОЧАЯ КЛЕТЬ АВТОМАТИЧЕСКОГО ТРУБОПРОКАТНОГО СТАНА
(57) Реферат:
Изобретение относится к области обработки металлов давлением, а точнее к станам для прокатки на короткой оправке. Трехвалковая рабочая клеть автоматического трубопрокатного стана содержит корпус с расположенными в нем валками и средством их привода, выполненным в виде конических шестерен, одна из которых жестко закреплена на приводном валу, валки жестко закреплены на ступицах шестерен, установленных через подшипниковые опоры на неподвижно закрепленных в корпусе осях. Рабочая клеть снабжена вторым приводным валом, на котором расположен третий валок. Корпус установлен в станине с возможностью перемещения перпендикулярно оси второго приводного вала. Ручьи валков выполнены с выпусками в пределах от 31 до 35°. Изобретение наиболее эффективно может быть использовано для прокатки труб на автомат-стане в два или более проходов, при этом обеспечивается повышение качества прокатки на автоматическом прокатном стане путем использования трехвалковой прокатки. 1 ил.
Изобретение относится к области обработки металлов давлением, а точнее к станам для прокатки на короткой оправке. Полезная модель наиболее эффективно может быть использована для прокатки труб на автомат-стане в два или более проходов.
Известна двухвалковая рабочая клеть автоматического трубопрокатного стана, содержащая станину, подшипниковые опоры, расположенные на станине, верхний и нижний приводные валы, установленные в подшипниковых опорах, верхний и нижний прокатные валки, установленные на приводных валах, и механизм разведения прокатных валков (см. патент РФ 2084298, B21B 17/02, В21В 39/20, «Автоматический трубопрокатный стан», опубликованный 20.07.1997 г.).
Недостатком известной рабочей клети является то, что в связи с переменным радиусом катающего валка, который уменьшается от краев валка к его середине, в разноудаленных от середины валка точках скорость вращения валка опережает или отстает от скорости вращения трубы, в результате чего возникает проскальзывание, вызывающее дефекты трубы, например риски. В связи с высокой степенью неконтролируемой деформации при двухвалковой прокатке и неравномерным распределением усилия происходит неравномерное течение материала, что вызывает овальность и отклонение по толщине стенки трубы. Кроме того, высокое усилие прокатки, предаваемое на два валка, уменьшает срок службы валков.
Наиболее близкой по технической сущности является трехвалковая рабочая клеть редукционного стана, содержащая соединенный с приводным валом корпус, расположенные в нем цилиндрические валы с установленными на них приводными валками, коническими шестернями и подшипниковыми опорами, а также уплотнительные элементы, корпус клети выполнен из двух половин, связанных болтовыми соединениями, а уплотнительные элементы со стороны валков состоят из отдельных блоков и установлены в расточки, выполненные на обеих половинах корпуса, при этом каждый цилиндрический вал выполнен с полой расточкой, соосно его оси, и снабжен тягой, установленной в этой расточке и стягивающей между собой подшипниковые опоры, валок и конические шестерни (см. патент РФ 2207197, 7 В21b 17/04, В21b 17/14, В21b 13/10, «Трехвалковая рабочая клеть редукционного стана», опубликованный 27.02.2003 г.).
Известная трехвалковая рабочая клеть позволяет получить трубы с высоким качеством, однако она применяется в сложных в трубопрокатных агрегатах для редуцирования труб и не может быть использована в автоматических прокатных станах в связи с тем, что в ней отсутствует необходимый для обратной подачи трубы в автомат-стане механизм раздвижения валков.
Техническим результатом изобретения является повышение качества прокатки труб на автоматическом прокатном стане путем использования трехвалковой прокатки.
Указанный технический результат достигается тем, что в трехвалковой рабочей клети автоматического трубопрокатного стана, содержащей корпус с расположенными в нем двумя валками и средством их привода, выполненным в виде конических шестерен, при этом одна шестерня жестко закреплена на приводном валу, согласно изобретению, валки жестко закреплены на ступицах шестерен, установленных через подшипниковые опоры на неподвижно закрепленных в корпусе осях, рабочая клеть снабжена вторым приводным валом, на котором расположен третий валок, корпус установлен в станине с возможностью перемещения перпендикулярно оси второго приводного вала, при этом валки выполнены с углом выпуска ручьев в пределах от 31 до 35°.
Жесткое крепление валков на ступицах шестерен, установленных через подшипниковые опоры на неподвижно закрепленных в корпусе осях, позволяет от приводного вала через расположенную на нем коническую шестерню передавать вращение на два валка, расположенных под углом 120° друг к другу, что позволяет создать компактный двухвалковый узел, жестко закрепленный в корпусе.
Наличие второго приводного вала, на котором расположен третий валок, и установка корпуса в станине с возможностью перемещения перпендикулярно оси второго приводного вала позволяет поднимать валки 2 и 3 относительно валка 11, обеспечивая степень свободы трубе и возможность обратной ее подачи при прокатке.
Выполнение валков с углом выпуска ручьев в пределах от 31° до 35° обеспечивает свободный вывод валков из зацепления с трубой при их подъеме. Выполнение валков с углом выпуска ручьев менее 31° не позволяет вывести валок из зацепления с трубой. Выполнение валков с углом выпуска ручьев более 35° приводит к ухудшению качества прокатки вследствие увеличения неконтролируемой зоны прокатки.
Технических решений, совпадающих с совокупностью существенных признаков изобретения, не выявлено, что позволяет сделать вывод о соответствии изобретения условию патентоспособности «новизна».
Заявляемые существенные признаки изобретения, предопределяющие получение указанного технического результата, явным образом не следуют из уровня техники, что позволяет сделать вывод о соответствии изобретения условию патентоспособности «изобретательский уровень».
Условие патентоспособности «промышленная применимость» подтверждено на примере конкретного выполнения трехвалковой рабочей клети автоматического трубопрокатного стана.
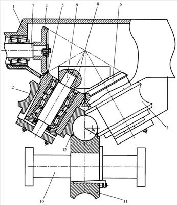
На чертеже изображена трехвалковая рабочая клеть автоматического трубопрокатного стана.
Трехвалковая рабочая клеть автоматического трубопрокатного стана содержит корпус 1 с расположенными в нем валками 2, 3 и средством их привода, выполненным в виде конических шестерен 4, 5 и 6. Шестерня 4 жестко закреплена на приводном валу 7. Валки 2 и 3 жестко закреплены на ступицах шестерен 5 и 6, установленных через подшипниковые опоры 8 на неподвижно закрепленных в корпусе 1 осях 9. Рабочая клеть снабжена вторым приводным валом 10, на котором расположен третий валок 11. Корпус 1 установлен в станине (не показана на чертеже) с возможностью перемещения перпендикулярно оси второго приводного вала 10. Валки 2, 3 и 11 выполнены с углом выпуска ручьев 12, равным 33°.
Трехвалковая рабочая клеть автоматического трубопрокатного стана работает следующим образом. Опускают корпус 1, при этом валки 2 и 3, закрепленные на ступицах шестерен 5 и 6, также опускаются вниз по направлению к валку 11 и, благодаря тому, что угол выпуска ручьев 12 равен 33°, валки 2 и 3 свободно проходят максимальный размер трубы, равный ее диаметру, и охватывают трубу. Таким образом, все три валка 2, 3, и 11 сведены на трубе, а ролики обратной подачи (не показаны) разведены. Проводят прокатку первым прямым ходом до тех пор, пока прокатываемая труба не выйдет полностью за пределы валков 2 и 3. Затем поднимают корпус 1 вверх, разъединяя валки 2 и 3 с трубой, при этом сводят на прокатываемой трубе ролики обратной подачи. Труба, полученная после первого прохода, возвращается на стол загрузки. Выполняют поворот трубы на 180°. Опускают корпус 1, сводят валки 2 и 3 с валком 11, при этом разводят ролики обратной подачи, и процесс прокатки повторяют во втором проходе. Подъем и опускание корпуса 1 осуществляют любым известным средством, например, кулачковым механизмом.
Формула изобретения
Трехвалковая рабочая клеть автоматического трубопрокатного стана, содержащая корпус с расположенными в нем двумя валками и средством их привода, выполненным в виде конических шестерен, при этом одна шестерня жестко закреплена на приводном валу, валки жестко закреплены на ступицах шестерен, установленных через подшипниковые опоры на неподвижно закрепленных в корпусе осях, рабочая клеть имеет второй приводной вал, на котором расположен третий валок, корпус установлен в станине с возможностью перемещения перпендикулярно оси второго приводного вала, а валки выполнены с углом выпуска ручьев в пределах от 31 до 35°.
РИСУНКИ
|
|