|
(21), (22) Заявка: 2008137036/28, 15.09.2008
(24) Дата начала отсчета срока действия патента:
15.09.2008
(46) Опубликовано: 20.05.2010
(56) Список документов, цитированных в отчете о поиске:
US 2003132329 A1, 17.07.2003. US 2007187536 A1, 16.08.2007. WO 9728924 A1, 14.08.1997. SU 1622010 A1, 23.01.1991.
Адрес для переписки:
105066, Москва, ул. Новая Басманная, 20, ФГУП “ЦНИРТИ им. Академика А.И. Берга”, БРИЗ
|
(72) Автор(ы):
Кузьминых Александр Сергеевич (RU), Сверчков Виктор Филиппович (RU), Фесенко Максим Владимирович (RU), Хлопов Борис Васильевич (RU)
(73) Патентообладатель(и):
Российская Федерация,от имени которой выступает государственный заказчик-Министерство обороны Российской Федерации (RU), Федеральное Государственное Унитарное Предприятие “Центральный научно-исследовательский радиотехнический институт имени академика А.И.Берга” (RU)
|
(54) УСТРОЙСТВО УНИЧТОЖЕНИЯ ИНФОРМАЦИИ С ОПТИЧЕСКИХ И МАГНИТООПТИЧЕСКИХ ДИСКОВ
(57) Реферат:
Предложено устройство уничтожения информации с оптических и магнитооптических дисков. Оно содержит устройство подключения, блок управления и исполнительный механизм уничтожения информации. Исполнительный механизм содержит: корпус механизма, электродвигатель уничтожения информации, электродвигатель подачи дисков, два датчика подачи дисков, датчик температуры, бункер для уничтожаемых дисков, планетарный редуктор, ходовой винт, резцедержатель с резцом, стол для поддержания диска во время его уничтожения, толкатель, питатель, рычаг подачи стола, приемник отходов утилизации, рычаг подачи дисков, кулису, крышку, хвостовик, две пары подшипников. Техническим результатом изобретения является автоматизация процесса уничтожения информации с нескольких дисков, повышение надежности уничтожения, повышение быстродействия уничтожения. 3 з.п. ф-лы, 4 ил.
Изобретение относится к вычислительной технике, а именно к системам защиты информации, содержащейся на оптических и магнитооптических дисках, от несанкционированного доступа.
В специализированных учреждениях, информационная безопасность в которых имеет первостепенное значение, появляется необходимость иметь высоконадежные устройства уничтожения информации с дисков CD, CD-R/RW, DVD, DVD±R/RW, DVD±R D1. Это государственные финансовые учреждения, военные объекты, коммерческие, научно-исследовательские и многие другие учреждения.
Известно настольное устройство для уничтожения данных на оптических дисках – «шредер» Plex Eraser PX-OE100E (Plextor Europe BESS@00:02) содержит корпус, приемный лоток для дисков, адаптер питания, тумблер – устройство включения питания, устройство очистки поверхности диска, электродвигатель. Устройство работает следующим образом. Диск помещают в приемный лоток, затем включают тумблер, подают питание на электродвигатель и очищают диск от информационных данных. Устройство сохраняет носитель информации в невредимости. Признаком успешного стирания информации с оптического носителя являются три концентрические окружности на его поверхности. Оранжевый цвет приемного лотка – предостережение от случайного стирания не с информационной стороны диска. После чего диск можно отправить на утилизацию. Время стирания информации с одного носителя типа DVD±R/RW не менее 4 минут. Время стирания информации с одного носителя типа DVD±R D1 не менее 8 минут.
Недостатками такого устройства для уничтожения данных на оптических дисках являются:
– критерий стирания информации «три концентрические окружности» на поверхности диска и необходимость дальнейшей утилизации диска;
– низкое быстродействие, время стирания информации с одного оптического диска более 4 минут;
– невозможность уничтожения информации одновременно с нескольких носителей информации;
– ограниченное использование, люди с ограниченными возможностями по зрению не могут быть использованы в качестве операторов, т.к. оператору необходимо различать цвета «оранжевый»;
– низкая категория секретности – «четвертая», с которой диски допускаются уничтожению информации с носителей.
Также известен настольный уничтожитель информации на CD (Shred – ET100DX, производитель GMP, Южная Корея).
Уничтожитель информации на CD содержит: корпус, устройство подачи дисков, двигатель, вторичный источник питания, стальные валики с точечной накаткой (выступами) из высококачественной стали, устройство распознавания (датчик), устройство автоматического включения при подаче диска, устройство автоматического отключения при перегреве двигателя.
При подаче в устройство диска происходит автоматическое распознавание и включение двигателя, который обеспечивает проход диска через валики, повреждающие верхний слой диска, несущий информацию. Степень секретности – четыре. Напряжение питания 220 В, 50 Гц, мощность 65 Вт. Время уничтожения информации с одного диска типа CD не менее 1,0 минуты.
Недостатками такого устройства являются:
– точечное повреждение верхнего слоя, несущего информацию;
– возможность уничтожения информации поочередно только с одного носителя, при последовательной подаче дисков и только после уничтожения информации с предыдущего носителя можно приступить к уничтожению информации с последующего носителя;
– низкое быстродействие, время уничтожения информации не менее 1,0 минуты;
– большое энергопотребление, для уничтожения информации с диска с максимальной шириной листа 128 мм необходимо израсходовать не менее 65 Вт/ч;
– низкая категория секретности – «четвертая», с которой диски допускаются к уничтожению информации с носителей.
Наиболее близким аналогом изобретения является переносной быстродействующий аппарат уничтожения записанной на DVD диске информации, охраняемый патентом USA на изобретение «Способ и устройство уничтожения записанной на DVD диске информации» (USA, патент 6685119, класс 241/260.1; 241/279, 03.02.2004).
Устройство для уничтожения информации с DVD дисков содержит: двигатель для вращения резца, профилированный резец цилиндрической формы, систему для захвата диска из пакета дисков и его установки, устройство прижатия диска к вращающемуся параллельно резцу для снятия с внешней поверхности диска слоя с зашитой информацией, устройство управление двигателем с микровыключателем, консоль исполнительного механизма, система захвата и установки диска включает прижимной ролик с пружиной, который прижимает вставленный диск к шариковому подшипнику, щетку для очистки ролика, систему сбора пыли, средство для сбора стружки. Резец, соединенный с двигателем, вращается с высокой скоростью от 10000 до 30000 об/мин параллельно плоскости диска и снимает слой с информацией. Операция уничтожения информации происходит последовательно с каждого диска в отдельности. Время уничтожения информации с одного носителя составляет не менее 10 секунд, масса устройства не менее 10 кг.
Недостатками такого устройства являются:
– последовательное уничтожение информации с каждого диска;
– после уничтожения информации с носителя от диска остается кольцо;
– требуется дополнительная утилизация остатков диска после уничтожение информации;
– отсутствует регистрация количества уничтоженных дисков;
– отсутствует распознавание стороны диска с нанесенной информацией, что может привести к ошибке при уничтожении информации;
– низкое быстродействие, операция уничтожения информации с одного диска осуществляется за время не менее 10 секунд.
Техническим результатом изобретения является автоматизация процесса уничтожения дисков с информацией, повышение надежности уничтожения и категории секретности информации, окончательно уничтожаемой сразу с нескольких дисков без дополнительной утилизации с большим быстродействием и регистрацией количества уничтоженных дисков и уменьшение веса устройства (вес менее 5 кг).
Изобретение поясняется чертежами.
На фиг.1 представлена электрическая блок-схема устройства уничтожения информации с оптических и магнитооптических носителей информации (дисков).
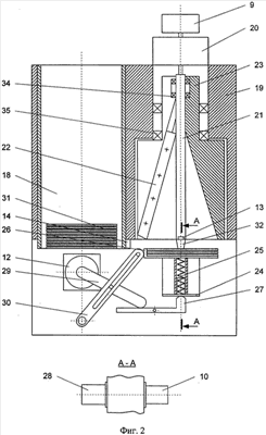
На фиг.2 представлена конструкция исполнительного механизма устройства уничтожения информации с оптических и магнитооптических дисков в режиме готовности к уничтожению.
На фиг.3 представлена конструкция исполнительного механизма устройства уничтожения информации с оптических и магнитооптических дисков в режиме загрузки дисков в бункер исполнительного механизма.
На фиг.4 представлены циклограммы работы устройства уничтожения информации с оптических и магнитооптических дисков.
На чертежах введены обозначения:
1 – устройство подключения (УП); 2 – преобразователь напряжения (ПН); 3 – выключатель питания (ВП); 4 – индикатор питания (ИП); 5 – делитель напряжения (ДН); 6 – микроконтроллер (МК); 7 – устройство регистрации (УР); 8 и 15 – первый (КУ1) и второй (КУ2) ключи управляемые; 9 и 12 – первый (Д1) и второй (Д2) электродвигатели; 10 – вентилятор (В); 11 – индикатор работы вентилятора (ИВ); 13 и 14 – первый (ДП1) и второй (ДП2) оптические датчики; 16 – датчик температуры (ДТ); 17 – блок управления (БУ); 18 – бункер (Б); 19 – корпус (К) исполнительного механизма; 20 – планетарный редуктор (Р); 21 – ходовой винт (ВР); 22 – резец (Р); 23 – резцедержатель (РД); 24 – стол (С); 25 – толкатель (Т); 26 – питатель (П); 27 – рычаг перемещения стола; 28 – приемник отходов утилизации (ПОУ); 29 – рычаг привода кулисы; 30 – кулиса (КС); 31 – диск оптический (ДО); 32 – крышка конусная (КК) торца ходового винта; 33 – хвостовик (X) питателя; 34 – первая пара подшипников (ПШ1); 35 – второй пара подшипников (ПШ2).
Цифры на блок-схеме, выполненные мелким шрифтом, обозначают номера их входов и выходов. В тексте описания изобретения эти цифры заключены в круглые скобки.
Технический результат изобретения достигается благодаря тому, что устройство уничтожения информации с оптических и магнитооптических дисков содержит: блок управления 17 (фиг.1), резцедержатель 23 для крепления и вращения не менее двух резцов 22, первый электродвигатель 9, соединенный с резцами кинематически, систему для захвата и фиксации дисков 31, приемник 28 отходов утилизации (пыль, стружка) (фиг.2, 3). Кроме того, устройство уничтожения информации включает: устройство 1 подключения к сети блока управления 17, корпус 19 исполнительного механизма, второй электродвигатель 12, планетарный редуктор 20 с двумя коаксиальными выходными валами с возможностью вращения в противоположные стороны, два оптических датчика 13 и 14, датчик температуры 16 и вентилятор 10 и первую 34 и вторую 35 пару подшипников (фиг.1). Первая пара подшипников 34 служит для крепления в корпусе ходового винта 21 с возможностью его вращения, а вторая 35 – для крепления в корпусе резцедержателя 23 с возможностью его вращения.
Блок управления 17 содержит: преобразователь напряжения ПН 2; выключатель питания ВП 3, индикатор питания ИП 4, делитель напряжения ДН 5, микроконтроллер МК 6, устройство регистрации УР 7, первый КУ1 8 и второй КУ2 15 ключи управляемые, индикатор ИВ 11 работы вентилятора 10 (фиг.1).
Входы-выходы электрических блоков и узлов (фиг.2, 3)
Блок управления БУ 17 имеет: два выхода питания (6) и (7) и пять входов. Первый вход (1) питания, второй (2), третий (3), четвертый (4) и пятый (5) сигнальные входы.
Устройство подключения УП 1 имеет вход (1) и выход (2) питания сети переменного тока напряжением 220 В, 50 Гц.
Преобразователь напряжения ПН 2 имеет вход (1) переменного тока 220 В, 50 Гц и выход (2) питания постоянного тока напряжением плюс 27±0,5 В.
Выключатель питания ВП 3 имеет вход (1) и выход (2) питания.
Индикатор питания ИП 4 имеет вход (1) питания.
Делитель напряжения ДН 5 имеет: вход (1) питания и первый (2) 27±0,5 В и второй (3) 5±0,2 В выходы питания.
Микроконтроллер 6 имеет: вход (1) питания и первый (2), второй (3), третий (7) входы сигнальные и три выхода: первый (5) и второй (6) сигнальные и третий (4) управления.
Устройство регистрации 7 имеет вход (1) сигнальный.
Ключи управляемые 8 и 15 имеют: входы первый (1) питания, второй (3) сигнальный и выходы (2) питания (фиг.1).
Индикатор ИВ 11 работы вентилятора 10 имеет вход (1) сигнальный.
Вентилятор В 10 имеет вход (1) питания и выход (2) сигнальный.
Индикатор работы вентилятора ИВ 11 имеет вход (1) сигнальный.
Первый 9 и второй 12 электродвигатели имеют вход (1) питания.
Оптические датчики ДП1 13 и ДП2 14 имеют по одному выходу (1) сигнальному.
Датчик температуры ДТ 16 имеет выход (1) сигнальный.
Конструкция исполнительного механизма (фиг.2, 3)
Корпус 19 исполнительного механизма выполнен в форме прямоугольного параллелепипеда и разделен горизонтальной перегородкой на верхнюю и нижнюю части. Верхняя часть корпуса монолитная и в ней выполнены два вертикальных сквозных цилиндрических отверстия до нижней полой прямоугольной части корпуса. В верхней части корпуса первое сквозное отверстие служит бункером 18 для дисков 31. Второе сквозное отверстие служит для установки внутри него резцедержателя 23 – устройства крепления и вращения профилированных резцов 22. Нижняя часть корпуса служит для установки и крепления системы для захвата и фиксации дисков 31 и приемника отходов 28 (фиг.2, 3).
Бункер Б 18 выполнен в форме цилиндрической трубы с внутренним диаметром больше диаметра дисков 31 и длиной больше нескольких (5-80) толщин дисков.
Резцедержатель 23 выполнен в виде ступенчатого цилиндра с конической внутренней поверхностью с углом конуса при вершине, равным 10-15°. Резцедержатель установлен во втором сквозном цилиндрическом отверстии корпуса на подшипниках 35 с возможностью его вращения вокруг оси отверстия и через первый выходной вал планетарного редуктора 20 кинематически соединен с первым электродвигателем 9 (фиг.2, 3).
Система для захвата и фиксации диска включает: второй электродвигатель 12 с жестко закрепленным на валу двигателя рычагом 29, кулисный механизм (кулиса 30), соединенный через рычаг 29 со вторым электродвигателем 12, питатель 26, подвижно соединенный с кулисой 30, стол 24, рычаг 27 для перемещения стола 24, подвижно соединенный с рычагом 29 второго электродвигателя 12. Толкатель 25, жестко установленный на столе 24 соосно резцедержателю 23 и ходовому винту 21, который соединен со вторым выходным валом планетарного редуктора 20 (фиг.2, 3).
Первый электродвигатель Д1 9 предназначен для привода вращения резцов 22 для уничтожения дисков 31 с информацией и жестко закреплен на верху верхней части корпуса 19.
Вентилятор В 10 установлен на корпусе с выходом воздуховода во внутреннюю часть конусной полости между резцами 22.
Индикатор работы вентилятора ИВ 11 установлен в блоке управления 17.
Второй электродвигатель Д2 12 предназначен для привода кулисы, которая с помощью питателя 26 подает диски в зону их уничтожения. Электродвигатель 12 жестко закреплен в нижней части корпуса 19.
Первый оптический датчик 13 установлен на стенке корпуса у нижнего края бункера 18, а второй оптический датчик 14 – на торце ходового винта 21, который на подшипниках 34 закреплен в резцедержателе по его оси. Датчик температуры 16 установлен в верхней части конусной полости резцедержателя 23.
Планетарный редуктор Р 20 установлен в верхней части корпуса 19 и обеспечивает с помощью первого электродвигателя 9 вращения резцедержателя 23 и ходового винта 21 в противоположные стороны, для чего он имеет два соосных выходных вала. Один вал жестко соединен с резцедержателем, а другой – с ходовым винтом.
Ходовой винт ВР 21 выполнен из металла с ленточной резьбой и установлен с помощью подшипников 34 в верхней части корпуса соосно второму сквозному отверстию и жестко соединен с одной осью планетарного редуктора. Внутренний диаметр резьбы винта ВР 21 равен диаметру отверстия в центре уничтожаемого диска 31. На нижнем торце винта 21 выполнена цилиндрическая полость для размещения датчика ДП1 13. Датчик 13 закрыт конусной крышкой 32 с отверстием для обеспечения подачи светового сигнала от датчика. Винт 21 установлен на подшипниках 34 внутри резцедержателя 23 и соосно с ним.
Резцы Р 22 выполнены из металла и имеют профилированное перо и отверстия, размещенные вдоль всего основания резцов 22, под винты крепления на резцедержателе 23.
Резцедержатель РД 23 выполнен из металла и представляет собой ступенчатый цилиндр с конической внутренней поверхностью с углом конуса при вершине 10-15°. На наружной поверхности резцедержателя вдоль образующей выполнены не менее двух пазов под установку резцов 22. Резцедержатель с возможностью вращения закреплен во втором, ступенчатом сквозном отверстие корпуса 19 на подшипниках 35.
Стол 24 выполнен в виде металлического диска не менее чем с двумя выемками на периферии для размещения направляющих вертикального перемещения стола и закреплен в нижней части корпуса 19.
Толкатель 25 выполнен в виде двух гильз, размещенных одна в другой соосно. Во внутренней гильзе установлена цилиндрическая пружина (фиг.2, 3). Толкатель жестко прикреплен к столу 24.
Питатель П 26 выполнен в виде совка с плоским дном. По центру питателя от середины к открытому концу проходит паз, в который входит толкатель при подаче дисков в резцедержатель. В другой части питателя имеются два отверстия, в которые вставляются ось для соединения питателя с кулисой 30. Кроме того, питатель имеет резьбовые отверстия для крепления хвостовика питателя (фиг.2).
Первый рычаг Рч 27 предназначен для обеспечения вертикального движения стола от толкателя и представляет собой фигурную пластину с отверстием под установку его оси, закрепленной в противоположных стенках нижней части корпуса 19. Один конец рычага 27 контактирует со вторым рычагом 29, другой конец рычага 27, на котором выполнен выступ с радиусной поверхностью, контактирует со столом 24.
Приемник отходов ПОУ 28 выполнен из металла в форме корыта и размещен в нижней части корпуса 19 с возможностью выдвижения наружу (фиг.2).
Второй рычаг ПРч 29 представляет собой пластину с отверстием для жесткого крепления на валу электродвигателя 12 и пазом под палец рычага 29 для соединения с кулисой 30 и служит приводом кулисы (фиг.2).
Кулиса КС 30 выполнена из металла и представляет собой пластину с отверстием на одном конце для установки ее оси, закрепленной в стенке нижней части корпуса, продольной щели для установки и перемещения пальца подающего рычага 29 и оси питателя (фиг.2).
Крышка 32 винта 21 выполнена из металла в форме конуса и имеет отверстие для подачи светового луча датчика подачи дисков 13 (фиг.2).
Хвостовик Х 33 питателя выполнен в виде пластины и закреплен на питателе 26 с габаритами, позволяющими закрыть нижнее, выходное отверстие бункера 19 (фиг.2).
Подшипник 35 установлен между корпусом и резцедержателем, подшипник ПШ1 34 установлен на винте 21 в резцедержателе (фиг.2).
Подшипник ПШ2 35 разделяет вращающийся резцедержатель 23 от корпуса 19 и вращающегося в противоположную сторону винта 21 (фиг.2).
Диск оптический или магнитооптический 31 с записанной информацией в центре имеет отверстие, равное диаметру внутренней резьбы винта 21.
Электрические соединения устройства (фиг.1)
Устройство подключения 1, преобразователь 2 напряжения и выключатель 3 питания соединены последовательно. Выход выключателя питания соединен с входом индикатора 4 питания и входом делителя 5 напряжения. Первый выход (2) делителя напряжения соединен с входом (1) питания микроконтроллера 6, а второй выход (3) делителя напряжения соединен с входами (1) питания первого 8 и второго 15 ключей управляемых. Выход (2) второго ключа управляемого 12 соединен с входом второго электродвигателя 12. Выход (2) первого ключа управляемого 8 соединен с входом первого электродвигателя 9 и входом вентилятора 10. Выход вентилятора соединен с входом индикатора 11 работы вентилятора.
Второй (2), третий (3) и четвертый (7) входы микроконтроллера 6 соединены соответственно с выходами датчика температуры 16, первого 13 и второго 14 оптических датчиков. Первый выход (4) микроконтроллера 6 соединен с входом устройства регистрации 7. Второй выход (5) микроконтроллера 6 соединен с сигнальным входом (3) первого ключа 8 управляемого. Третий выход (6) микроконтроллера 6 соединен с сигнальным входом (3) второго ключа 15 управляемого.
Работа устройства (фиг.1-4)
Диски 31 для уничтожения записанной информации размещают в полости бункера 18 (фиг.2). На устройство УП 1 через розетку питания промышленной сети подается однофазное переменное напряжение питания 220 В, 50 Гц, которое преобразуется в преобразователе ПН 2 в напряжение питания постоянного тока 27±0,5 В. Включают включатель ВП 3 питания 27 В, через который питание подается на блоки: ИП 4, ДН 5, МК 6, КУ 8 и КУ 15 блока управления 17 (фиг.1).
Микроконтроллер 6 управляет работой механических устройств и блоков электронной части устройства уничтожения записанной информации. МК 6, запитанный напряжением 5 В постоянного тока, поступающим с выхода (2) ДН 5, при наличии дисков в бункере 18 и сигнала датчика ДП2 14, подает сигналы управления с выхода (6) на вход (3) второго ключа КУ2 15, которые замыкают его контакты (1-2), что обеспечивает подачу напряжения питания 27 В с выхода (2) второго ключа КУ2 15 на вход (1) питания двигателя подачи дисков Д2 12 (фиг.4а), который вращает вал со скоростью в пределах 1500-2000 оборотов в минуту, приводит в движение подающий рычаг 29 и кулису 30. Питатель 26, соединенный с кулисой 30, из бункера 18 подает диски 31 дискретно и сигналом с датчика ДП1 13, поступающим через МК 6, регистрируются в устройстве УР 7 (фиг.4в).
Датчик ДП2 13 при поступлении диска 31 в зону резцедержателя 23 вырабатывает управляющий сигнал на выходе (1), который поступает на вход (3) МК 6. С выхода (6) МК 6 управляющий сигнал поступает на ключ КУ2 15, подающий рычаг 29 своим концом давит на рычаг 27, толкатель 25 подает к ходовому винту 21 диск 31 (фиг.4б). В тоже время с выхода (5) МК 6 управляющий сигнал подается на вход (3) ключа КУ1 8, который обеспечивает подачу питания на двигатель Д1 9 (фиг.4г) и вентилятор В 10 (фиг.4е). Двигатель Д1 9 через планетарный редуктор 20 вращает резцедержатель 23 с резцами 22 и винт 21 навстречу друг другу. Винт 21 захватывает диск 31 и по его резьбе подает диск во внутреннюю полость конуса, образованного вращающимися резцами 22, размещенными в резцедержателе 23. Одновременно сигналы питания поступают с выхода (2) ключа КУ1 8 на входы (1) вентилятора В 10 (фиг.4е). Электродвигатель вентилятора 10 приводит в движение крыльчатку, обеспечивает циркуляцию воздушного потока и дополнительный напор воздушного потока во внутренней конусной полости, образованной вращающимися резцедержателем 23 и резцами 22. Воздушный поток сдувает пыль и стружку с резцов 22 и выбрасывает пыль и стружку в приемник отходов утилизации ПОУ 28 (фиг.4д), установленный в нижней части корпуса.
Ускоренное уничтожение информации осуществляется путем подачи дисков 31 с помощью толкателя 25 до окончания цикла уничтожения предыдущего диска 31 (фиг.4д). После уничтожения диска 31 с сигнального выхода (4) МК 6 сигнал (фиг.4в) поступает на сигнальный вход (1) устройства УР 7, которое производит окончательную регистрацию и считает количество уничтоженных дисков. За 15 секунд устройство уничтожает 5 дисков при скорости уничтожения одного диска за 3 секунды.
Устройство уничтожения информации с оптических и магнитооптических дисков останавливается при поступлении сигнала выключения с датчика подачи дисков ДП2 14, размещенного в области бункера 18 на стенке корпуса. Это сигнал об окончании работы автоматического устройства.
Механическая часть устройства уничтожения дисков работает следующим образом.
После того как питатель 26 заполнен дисками 31 из бункера 18 (фиг.3), включается ключом управления КУ2 15 второй электродвигатель Д2 12 (фиг.4а). Электродвигатель 12 через редуктор вращает подающий рычаг 29, который качает кулису 30 и переводит питатель 26 в положение подачи дисков 31 к резцедержателю 23 на уничтожение. В это время ключом КУ1 8 включается первый электродвигатель Д1 9 (фиг.4г), который через редуктор 20 вращает резцедержатель 23 с резцами 22 и винт 21. Вращение винта 21 и резцедержателя осуществляется навстречу друг другу.
Рычаг кулисы 29 вращается и нажимает на рычаг 27 вертикального перемещения стола, который поднимает стол 24 с диском 31, до тех пор пока ходовой винт 21 не захватит этот диск. Винт 21 поочередно захватывает диски 31 и подает в резцедержатель 23, где происходит уничтожение дисков путем резания. Стружка и пыль воздухом от вентилятора выдуваются в приемник отходов утилизации 28 для сбора стружки (фиг.4д). Второй рычаг 29 сходит с конца первого рычага 27, который со столом 24 возвращается в исходное положение. Рычаг 29, взаимодействуя с кулисой 30, переводит питатель 26 в положение загрузки.
Цикл уничтожения одного диска закончен и устройство готово к уничтожению следующего диска
Пример выполнения устройства уничтожения информации с оптических и магнитооптических дисков (фиг.1, 2, 3)
Устройство выполнено в соответствии с электрической блок-схемой фиг.1, а его исполнительный механизм выполнен в соответствии с эскизами фиг.2, 3.
В качестве устройства подключения УП 1 использован пакетный выключатель типа ЭЛ6Ф101-3/25 С25.
Преобразователь напряжения ПН 2 выполнен с использованием трансформатора ТТП-15.
Выключатель питания ВП 3 выполнен на микросхеме ВТВ24.
И индикатор питания ИП 4 выполнен на светодиоде АЛ307К.
Делитель напряжения ДН 5 выполнен на резисторе С-33.
Микроконтроллер МК 6 выполнен на микросхеме типа КР581ИК1.
Устройство регистрации УР 7 выполнено на монохромном жидкокристаллическом дисплее ИЖЦ 13-8/7.
Ключи 8 и 15 выполнены на реле типа РЭС-30.
В качестве электродвигателей уничтожения Д1 9 и подачи Д2 12 дисков 31 применены электродвигатели типа ДПМ.
Вентилятор В 10 типа ВН-2.
Индикатор работы вентилятора ИВ 11 выполнен на светодиоде АЛ307Р.
Оптические датчики подачи дисков ДП1 13 и ДП2 14 выполнены в виде фотодиодов типа ВРХ43-3.
Электродвигатель уничтожения Д1 9 и электродвигатель подачи дисков Д2 12 типа ДПМ.
Вентилятор В 10 типа ВН-2.
Датчик температуры ДТ 16 типа ТМР-3.
Корпус 19 исполнительного механизма выполнен из стали СТ3 в форме прямоугольного параллелепипеда с размерами: длина × ширина × высота = 300×160×180 мм и разделен горизонтальной перегородкой на верхнюю и нижнюю части с соответствующими размерами 300×160×120 мм и 300×160×60 мм. Верхняя часть корпуса монолитна и в ней выполнены два вертикальных сквозных отверстия до нижней полой части корпуса.
Первое сквозное отверстие в верхней части корпуса 19 служит для размещения бункера 18 и имеет диаметр 150 мм и глубину 120 мм для размещения 80 дисков. Второе сквозное отверстие ступенчатое и служит для крепления внутри него: редуктора 20, ходового винта 21 и резцедержателя 23 с резцом 22. Первая ступень второго отверстия имеет диаметр 50 мм и глубину 65 мм, вторая ступень имеет диаметр 80 мм и глубину 30 мм, третья ступень имеет диаметр 160 мм и глубину 25 мм.
Ходовой винт ВР 21 выполнен из стали СТ3 с ленточной резьбой. Длина винта 105 мм, наружный диаметр резьбы 20 мм, внутренний 16 мм, шаг резьбы 2,5 мм. Внутренний диаметр резьбы равен диаметру отверстия в центре уничтожаемого диска 31. Резец Р 22 выполнен из стали марки Р9 и имеет профилированное перо и отверстия, размещенные вдоль всего основания резца 22 под винты крепления на резцедержателе 23. Габариты резцов: длина × ширина × толщина = 80×15×4 мм.
Резцедержатель РД 23 выполнен из стали СТ3 и представляет собой ступенчатый цилиндр с конической внутренней поверхностью с углом конуса при вершине 15°. Диаметр входного отверстия конуса равен 125 мм.
Габариты резцедержателя 160×105 мм.
Стол С 24 выполнен из СТ3 с габаритами: диаметр × толщина = 60×20 мм.
Толкатель Т 25 выполнен из стали СТ3 с габаритами: диаметр × длина = 20×60 мм.
Питатель П 26 выполнен из стали СТ3 в виде совка с плоским дном и габаритами: длина × ширина × толщина = 130×130×20 мм.
Рычаг Рч 27 выполнен из стали СТ3 с габаритами: длина × ширина × толщина = 120×30×4 мм.
Приемник отходов ПОУ 28 выполнен из стали СТ3 в форме корыта с габаритами: длина × ширина × высота = 120×30×4 мм.
Рычаг ПРч 29 выполнен из стали СТ3 с габаритами: длина × ширина × высота 130×30×4 мм.
Кулиса КС 30 выполнена из стали СТ3 с габаритами: длина × ширина × высота = 140×40×10 мм.
Крышка 32 винта 21 выполнена из стали СТ3 диаметром 120 мм.
Хвостовик Х 3 выполнен из стали СТ3 с габаритами: длина × ширина × толщина = 130×130×2 мм.
Подшипники 34 и 35 шариковые.
Устройство выполнено переносным и имеет вес 4,5 кг.
Технический результат изобретения достигнут. Автоматизирован процесс уничтожения дисков с информацией, повышена надежность уничтожения и категории секретности информации. За одну загрузку бункера производится уничтожение нескольких дисков (до 80 шт.) без дополнительной утилизации с большим быстродействием – 3 с один диск. Предусмотрена регистрация количества уничтоженных дисков.
Формула изобретения
1. Устройство уничтожения информации с оптических и магнитооптических дисков (исполнительный механизм), содержащее: блок управления, устройство крепления и вращения профилированного резца (резцедержатель), электродвигатель, соединенный с резцом, систему для захвата и фиксации диска, систему сбора пыли и стружки, отличающееся тем, что в него введено устройство подключения блока управления к электросети, корпус исполнительного механизма, второй электродвигатель, дополнительно не менее одного резца, планетарный редуктор с двумя соосными коаксиальными выходными валами с возможностью вращения в противоположные стороны, два оптических датчика, датчик температуры и вентилятор, причем блок управления содержит: преобразователь напряжения, выключатель питания, индикатор питания, делитель напряжения, микроконтроллер, устройство регистрации, первый и второй ключи управляемые, индикатор работы вентилятора, кроме того, корпус выполнен в форме прямоугольного параллелепипеда и разделен горизонтальной перегородкой на верхнюю и нижнюю части, верхняя часть корпуса монолитная и в ней выполнены два вертикальных сквозных цилиндрических отверстия до нижней полой прямоугольной части корпуса, первое сквозное отверстие в корпусе служит бункером для уничтожаемых дисков, а второе служит для установки внутри него устройство крепления и вращения профилированного резца (резцедержателя), нижняя часть корпуса служит для установки и крепления системы для захвата и фиксации диска, причем резцедержатель, выполненный в виде ступенчатого цилиндра с конической внутренней поверхностью с углом конуса при вершине 10-15°, установленный во втором сквозном цилиндрическом отверстии верхней части корпуса с возможностью вращения вокруг оси отверстия и через первый выходной вал планетарного редуктора соединенный с первым электродвигателем, жестко закрепленным на верху верхней части корпуса, кроме того, система для захвата и фиксации диска включает: второй электродвигатель, кулисный механизм (кулису), соединенный через рычаг со вторым электродвигателем, питатель подвижно соединенный с кулисой, стол, рычаг для перемещения стола, подвижно соединенный с рычагом второго электродвигателя, толкатель жестко установленный на столе соосно резцедержателю и ходовому винту, который жестко соединен со вторым выходным валом планетарного редуктора, причем устройство подключения имеет вход и выход питания сети переменного тока, преобразователь напряжения имеет вход питания переменного тока и выход питания постоянного тока, выключатель питания имеет вход и выход питания постоянного тока, индикатор питания имеет вход питания постоянного тока, делитель напряжения имеет: вход питания постоянного тока и первый и второй выходы питания постоянного тока, микроконтроллер имеет: вход питания постоянного тока и первый, второй и третий входы сигнальные и три выхода: первый сигнальный и второй и третий управляющие, устройство регистрации имеет вход сигнальный, ключи управляемые имеют: входы первый питания постоянного тока, второй сигнальный и выход питания постоянного тока, кроме того, устройство подключения, преобразователь напряжения и выключатель питания соединены последовательно, выход выключателя питания соединен с входом индикатора питания и входом делителя напряжения, первый выход делителя напряжения соединен с входом питания микроконтроллера, а второй выход делителя напряжения соединен с входами питания первого и второго ключей управляемых, выход второго ключа управляемого соединен с входами второго электродвигателя, выход первого ключа управляемого соединен с входами первого двигателя и вентилятора, выход которого соединен с входом индикатора работы вентилятора, второй, третий и четвертый входы микроконтроллера соединены соответственно с выходами датчика температуры, первого и второго оптического датчика, первый выход микроконтроллера соединен с входом устройства регистрации, второй его выход соединен с сигнальным входом первого ключа управляемого, а третий его выход соединен с сигнальным входом второго ключа управляемого, причем первый оптический датчик установлен на стенке корпуса у нижнего края бункера, а второй оптический датчик – на торце ходового винта, датчик температуры установлен в верхней части конусной полости резцедержателя, вентилятор установлен в корпусе с выходом воздуховода во внутреннюю часть конусной полости резцедержателя.
2. Устройство уничтожения информации с оптических и магнитооптических дисков по п.1, отличающееся тем, что стол выполнен в виде металлического диска не менее чем с тремя выемками на периферии для размещение направляющих перемещения стола.
3. Устройство уничтожения информации с оптических и магнитооптических дисков по п.1, отличающееся тем, что толкатель выполнен в виде двух соосных гильз одна в другой внутри одной установлена цилиндрическая пружина.
4. Устройство уничтожения информации с оптических и магнитооптических дисков по п.1, отличающееся тем, что питатель выполнен в виде совка с плоским дном, по центру которого от середины к открытому концу проходит паз, в другой стороне питателя имеются два отверстия, в которых расположена ось для соединения питателя с кулисой, кроме того, питатель имеет резьбовые отверстия для закрепления хвостовика.
РИСУНКИ
|