Патент на изобретение №2389531

Published by on




РОССИЙСКАЯ ФЕДЕРАЦИЯ



ФЕДЕРАЛЬНАЯ СЛУЖБА
ПО ИНТЕЛЛЕКТУАЛЬНОЙ СОБСТВЕННОСТИ,
ПАТЕНТАМ И ТОВАРНЫМ ЗНАКАМ
(19) RU (11) 2389531 (13) C1
(51) МПК

B01D47/06 (2006.01)

(12) ОПИСАНИЕ ИЗОБРЕТЕНИЯ К ПАТЕНТУ

Статус: по данным на 09.08.2010 – действует

На основании пункта 1 статьи 1366 части четвертой Гражданского кодекса Российской Федерации патентообладатель обязуется заключить договор об отчуждении патента на условиях, соответствующих установившейся практике, с любым гражданином Российской Федерации или российским юридическим лицом, кто первым изъявил такое желание и уведомил об этом патентообладателя и федеральный орган исполнительной власти по интеллектуальной собственности.

(21), (22) Заявка: 2009114789/15, 21.04.2009

(24) Дата начала отсчета срока действия патента:

21.04.2009

(46) Опубликовано: 20.05.2010

(56) Список документов, цитированных в отчете о
поиске:
RU 79448 U1, 10.01.2009. SU 1095963 A, 07.06.1984. SU 1562014 A1, 07.05.1990. SU 1000080 A, 28.02.1983. US 3701237 A, 31.10.1972. Распыливающие устройства в химической промышленности./ Под ред. Д.Г.Пажи. – М.: Химия, 1975, с.7-9, 95, 101-102, рис.41 (в).

Адрес для переписки:

123458, Москва, ул. Твардовского, 11, кв.92, О.С. Кочетову

(72) Автор(ы):

Кочетов Олег Савельевич (RU)

(73) Патентообладатель(и):

Кочетов Олег Савельевич (RU)

(54) ФОРСУНОЧНЫЙ СКРУББЕР КОЧЕТОВА

(57) Реферат:

Изобретение относится к технике очистки газов от пыли и может использоваться в металлургии, преимущественно для охлаждения и увлажнения газа. Скруббер содержит цилиндрический корпус, конфузор, входной и выходной патрубки, систему орошения и бункер. В нижней части корпуса расположен входной патрубок, ось которого образует с осью цилиндрической поверхности корпуса острый угол в диапазоне 30÷60°, при этом конец входного патрубка погружен в жидкость, расположенную в коническом бункере. Бункер снабжен клапаном с контргрузом и смывным патрубком, сливным каналом и гидрозатвором с переливом и люком. В верхней части скруббера размещено оросительное устройство, состоящее из поясов орошения со шнековыми форсунками. Подвод воды к поясам орошения осуществляют через коллекторы, которые расположены снаружи корпуса и выполнены в виде кольцевых участков трубопровода, соединенных с подводящими трубопроводами с регулирующими задвижками. Форсунки присоединены к коллекторам радиально с определенным шагом через трубки. Длину трубок подбирают таким образом, чтобы сечение корпуса было полностью перекрыто факелами распыла форсунок. В каждом поясе орошения установлено 8÷16 форсунок, а орошение осуществляют со следующим направлением факела форсунок: нижних поясов – вверх, а верхних поясов – вниз. Технический результат – повышение эффективности очистки газов от пыли и вредных веществ. 2 з.п. ф-лы, 3 ил.

Изобретение относится к технике очистки газов от пыли и химических вредностей, получившей широкое распространение в металлургии, преимущественно для охлаждения и увлажнения газа, необходимых для последующей тонкой очистки газа.

Наиболее близким к заявляемому объекту по технической сущности и достигаемому результату является устройство для очистки газов по авторскому свидетельству СССР 942287, кл. B01D 47/10, 1979 г., содержащее корпус, конфузор, входной и выходной патрубки, систему орошения и бункер (прототип).

Недостатком известного устройства является то, что при больших количествах очищаемых газов возрастают энергозатраты на систему регулирования системы орошения, а также за счет отсутствия устройств для тонкого распыливания жидкости.

Технический результат – повышение эффективности очистки газов от пыли и химических вредностей.

Это достигается тем, что в форсуночном скруббере, включающем корпус, конфузор, входной и выходной патрубки, систему орошения и бункер, корпус выполнен цилиндрическим, в нижней части которого расположен входной патрубок диаметром d1, ось которого образует с осью цилиндрической поверхности корпуса острый угол в диапазоне 30÷60°, при этом конец входного патрубка погружен в жидкость, расположенную в коническом бункере, снабженном клапаном с контргрузом и смывным патрубком, а для поддержания постоянного уровня жидкости в бункере предусмотрен сливной канал и гидрозатвор с высотой перелива К, а для технического осмотра скруббера предусмотрен люк, при этом в верхней части скруббера размещено оросительное устройство высотой М, состоящее по крайней мере из четырех поясов орошения с форсунками, создающими равномерный поток мелкодиспергированных капель жидкости, движущихся под действием силы тяжести вниз, а нижняя часть скруббера, оканчивающаяся коническим бункером высотой L, заполнена водой, уровень которой поддерживается постоянным, причем подвод воды к поясам орошения осуществляется через коллекторы, которые расположены снаружи скруббера и выполнены в виде кольцевых участков трубопровода, соединенных с подводящими трубопроводами с регулирующими задвижками, оппозитно которым расположены промывочные задвижки, а форсунки присоединены к коллекторам радиально с определенным шагом через трубки посредством демпфирующих вставок, причем длина трубок подбирается таким образом, чтобы сечение корпуса скруббера было полностью перекрыто факелами распыла форсунок, причем орошение осуществляется в четырех поясах со следующим направлением факела форсунок: нижних поясов – вверх, а верхних поясов – вниз.

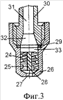
На фиг.1 приведена схема форсуночного скруббера для охлаждения и увлажнения доменного газа, на фиг.2 – схема расположения форсунок, на фиг.3 изображен общий вид форсунки для распыливания жидкостей.

Форсуночный скруббер (фиг.1) содержит цилиндрический корпус 14 диаметром D, в нижней части которого расположен входной патрубок 15 диаметром d1, ось которого образует с осью цилиндрической поверхности корпуса 14 острый угол в диапазоне 30÷60°. Конец входного патрубка 15 диаметром d1, входящего в корпус скруббера, погружен в жидкость, расположенную в коническом бункере 19, снабженном клапаном 1 с контргрузом, смывным патрубком 2. Для поддержания постоянного уровня жидкости в бункере предусмотрен сливной канал 3 и гидрозатвор 4 с высотой перелива К. Для технического осмотра скруббера предусмотрен люк 5.

В верхней части скруббера (фиг.1) размещено оросительное устройство высотой М, состоящее по крайней мере из четырех поясов орошения 9, 10, 11, 12 с форсунками 23, создающими равномерный поток мелкодиспергированных капель, движущихся под действием силы тяжести вниз. Нижняя часть скруббера, оканчивающаяся коническим бункером 19 высотой L, заполнена водой, уровень которой поддерживается постоянным. Образовавшийся шлам собирается в нижней части скруббера, откуда непрерывно удаляется промывочной водой по сливному каналу 3. Параллельно с очисткой газ, проходящий через скруббер, охлаждается чаще всего до 40÷50°С и увлажняется обычно до состояния насыщения. Скорость газа в скруббере устанавливают равной 0,7÷1,5 м/с. При больших скоростях начинается капельный унос влаги, что способствует образованию отложений на выходном патрубке 16 диаметром d2 скруббера и в газопроводах.

Подвод воды к поясам орошения осуществляется через коллекторы, которые расположены снаружи скруббера (фиг.2) и выполнены в виде кольцевых участков трубопровода, соединенных с подводящими трубопроводами 7 с регулирующими задвижками 6, оппозитно которым расположены промывочные задвижки 13.

Форсунки 23 присоединяют к коллекторам радиально с определенным шагом через трубки 20 и 21 посредством демпфирующих вставок 22, причем длина трубок 20 и 21 подбирается таким образом, чтобы сечение корпуса скруббера было полностью перекрыто факелами распыла форсунок. При этом, не отключая скруббер, можно прочистить, продуть и сменить каждую из них.

В скруббере применяются центробежные форсунки с диаметром отверстия 12÷40 мм, которые менее требовательные к чистоте поступающей воды. В каждом поясе устанавливают 8÷16 форсунок, размещая их так, чтобы все сечение было равномерно перекрыто диспергированной жидкостью в количестве, соответствующем заданному удельному расходу. Орошение осуществляется в четырех ярусах с направлением факела форсунок нижних поясов 11 и 12 вверх, а верхних поясов 9 и 10 – вниз.

Центробежная форсунка (фиг.3) состоит из корпуса 26, внутри которого расположен шнек 24, запрессованный в корпус 26. Внешняя поверхность шнека 24 представляет собой винтовую канавку с правой (или левой) нарезкой. Внутри шнека 24 выполнено отверстие 25 с левой (или правой) винтовой нарезкой. В днище корпуса 26 выполнено дроссельное отверстие 27, ось которого совпадает с осью отверстия 25 в шнеке 24. Между нижним торцом шнека 24 и срезом дроссельного отверстия 27 расположена коническая камера смешения 28. Подача раствора (жидкости) осуществляется через штуцер 30, закрепленный в верхней части корпуса 26 через герметизирующую прокладку 29. Внутри штуцера 30 выполнено цилиндрическое отверстие 31, переходящее в диффузор 32, который соединен с цилиндрической камерой 33, выполненной в корпусе 26, в которую запрессован шнек 24.

Форсуночный скруббер работает следующим образом.

Подводимый запыленный газ по входному патрубку 15 направляется на зеркало воды для осаждения наиболее крупных частиц пыли, после чего, распределяясь по всему сечению скруббера, газ движется вверх навстречу потоку капель воды. В процессе промывки капли жидкости захватывают частицы пыли и коагулируют. Образовавшийся шлам собирается в нижней части скруббера, откуда непрерывно удаляется промывочной водой по сливному каналу 3. Параллельно с очисткой газ, проходящий через скруббер, охлаждается чаще всего до 40÷50°С и увлажняется обычно до состояния насыщения. Скорость газа в скруббере устанавливают равной 0,7÷1,5 м/с. При больших скоростях начинается капельный унос влаги, что способствует образованию отложений на выходном патрубке 16 диаметром d2 скруббера и в газопроводах. Поддержание постоянного уровня воды в скруббере нормального давления осуществляют с помощью гидрозатвора 4. При повышенном давлении газа уровень воды в скруббере регулируют с помощью поплавковых регуляторов (на чертеже не показано). Изменение положения поплавка влияет на степень открытия дроссельного клапана, в результате чего уровень воды автоматически поддерживается постоянным. В целях резервирования каждый скруббер снабжается двумя подобными устройствами. Для обслуживания поясов орошения, регуляторов уровня, клапанов и свечей с наружной стороны скруббера размещают лестницы и площадки.

Удельный расход воды на скруббер обычно находится в пределах 3÷6 дм/м3 газа. Гидравлическое сопротивление полых скрубберов незначительно и не превышает 250 Па. При орошении горячего газа холодной водой в скруббере идут тепло- и массообменные процессы. Газ входит в скруббер по патрубку 15 не насыщенным влагой, поэтому в нижней части скруббера идет испарительное охлаждение, при этом испаряющаяся вода увеличивает влагосодержание газа до тех пор, пока при какой-то температуре он не становится насыщенным. Все это время охлаждение газа протекает при постоянной энтальпии, так как образующийся пар подмешивается к газу, возвращая ему тепло, затраченное в процессе парообразования. Температура воды все это время также остается постоянной и равной температуре мокрого термометра, так как тепло, получаемое водой от газа, полностью расходуется на парообразование. В момент достижения газом состояния насыщения парообразование прекращается. В период испарительного охлаждения температура газа снижается наиболее интенсивно. В верхней части скруббера, в конфузоре 18 высотой N, связанном с выходным патрубком 16 посредством криволинейного колена 17, в котором установлена свеча 8, протекает процесс конденсационного охлаждения. С момента насыщения газа водяными парами дальнейшее охлаждение его вызывает конденсацию части паров. Выделяющееся при этом тепло, как и тепло, передаваемое воде за счет разности температур газа и воды, затрачивается на нагрев воды, который продолжается до тех пор, пока вода не достигнет температуры мокрого термометра. Эта стадия процесса сопровождается уменьшением энтальпии и влагосодержания газа. Граница между испарительным и конденсационным режимами охлаждения газа в скруббере зависит от плотности орошения.

Центробежная форсунка (фиг.3) для распыливания жидкостей работает следующим образом. Жидкость подается по цилиндрическому отверстию 31 в диффузор 32, а из него в камеру 33, из которой под давлением поступает одновременно по двум направлениям: во-первых, в винтовую внешнюю полость шнека 24 и, во-вторых, в отверстие 25 с винтовой нарезкой. Вращающийся поток жидкости из винтовой внешней полости шнека 24 поступает в камеру смешения 28. С другой стороны, в камеру 28 поступает жидкость из отверстия 25 с винтовой нарезкой, совершая вращение в сторону, противоположную внешнему потоку, идущему по шнеку 24, либо совершая попутное (одинаковое) вращение. При взаимодействии вращающихся потоков в камере 28 происходит дополнительное дробление капель жидкости за счет их соударения в попутных или противоположно вращающихся потоках жидкости (внешнего и внутреннего). Суммарный мелкодисперсный вращающийся поток выходит через дроссельное отверстие 27, причем направление его вращения определяется гидравлическим сопротивлением соответственно внешней или внутренней винтовых полостей и канавок шнека 24. Шнек 24 форсунки может быть выполнен из твердых материалов: карбида вольфрама, рубина, сапфира.

Для эффективной работы форсуночного скруббера следует выбирать следующие оптимальные соотношения его параметров: оптимальное соотношение между высотой скруббера Н и его диаметром D находится в интервале величин H/D=2÷3; оптимальное соотношение между высотой скруббера Н и высотой М оросительного устройства находится в интервале величин Н/М=0,8÷1,2; оптимальное соотношение между высотой L конического бункера 19 и высотой N конфузора 18 находится в интервале величин L/N=2÷3; оптимальное соотношение между высотой L конического бункера 19 и высотой перелива К гидрозатвора 4 находится в интервале величин L/К=2,0÷4,5; оптимальное соотношение между диаметром d1 входного патрубка 15 и диаметром D скруббера находится в интервале величин d1/D=0,2÷0,3; оптимальное соотношение между диаметром d1 входного патрубка 15 и диаметром d2 выходного патрубка 16 скруббера находится в интервале величин d1/d2=0,8-1,4; оптимальный размер капель жидкости в оросительном устройстве скруббера 0,8÷1 мм.

Общий коэффициент эффективности очистки скруббера, работающего в системе очистки доменного газа, составляет 60÷70%. В форсуночных скрубберах достаточно эффективно улавливаются частицы пыли размером более 10÷15 мкм; они получили широкое распространение в металлургии, преимущественно для охлаждения и увлажнения газа, необходимых для последующей тонкой очистки газа.

Формула изобретения

1. Форсуночный скруббер, включающий корпус, конфузор, входной и выходной патрубки, систему орошения и бункер, отличающийся тем, что корпус выполнен цилиндрическим, в нижней части корпуса расположен входной патрубок, ось которого образует с осью цилиндрической поверхности корпуса острый угол в диапазоне 30÷60°, при этом конец входного патрубка погружен в жидкость, расположенную в коническом бункере, снабженном клапаном с контргрузом и смывным патрубком, в бункере предусмотрен сливной канал и гидрозатвор с переливом, а для технического осмотра скруббера предусмотрен люк, при этом в верхней части скруббера размещено оросительное устройство, состоящее, по крайней мере, из четырех поясов орошения со шнековыми форсунками, а нижняя часть скруббера, оканчивающаяся коническим бункером, заполнена водой, уровень которой поддерживают постоянным, причем подвод воды к поясам орошения осуществляют через коллекторы, которые расположены снаружи скруббера и выполнены в виде кольцевых участков трубопровода, соединенных с подводящими трубопроводами с регулирующими задвижками, оппозитно которым расположены промывочные задвижки, а форсунки присоединены к коллекторам радиально с определенным шагом через трубки посредством демпфирующих вставок, причем длину трубок подбирают таким образом, чтобы сечение корпуса скруббера было полностью перекрыто факелами распыла форсунок, диаметр отверстия которых лежит в диапазоне 12÷40 мм, при этом в каждом поясе орошения оросительного устройства установлено 8÷16 форсунок, а орошение осуществляют в четырех поясах со следующим направлением факела форсунок: нижних поясов – вверх, а верхних поясов-вниз.

2. Форсуночный скруббер по п.1, отличающийся тем, что соотношение между высотой скруббера Н и его диаметром D находится в интервале величин: H/D=2÷3; соотношение между высотой скруббера Н и высотой М оросительного устройства находится в интервале величин: Н/М=0,8÷1,2; соотношение между высотой L конического бункера и высотой N конфузора находится в интервале величин: L/N=2÷3; соотношение между высотой L конического бункера и высотой перелива К гидрозатвора находится в интервале величин: L/K=2,0÷4,5; соотношение между диаметром d1 входного патрубка и диаметром D скруббера находится в интервале величин: d1/D=0,2÷0,3; соотношение между диаметром d1 входного патрубка и диаметром d2 выходного патрубка скруббера находится в интервале величин: d1/d2=0,8÷1,4; размер капель жидкости в оросительном устройстве скруббера 0,8÷1 мм.

3. Форсуночный скруббер по п.1, отличающийся тем, что внутри шнека форсунки выполнено отверстие с винтовой нарезкой, направление которой совпадает или противоположно направлению внешней винтовой нарезки шнека, а над дроссельным отверстием расположена коническая камера смешения, при этом шнек форсунки выполнен из твердых материалов: карбида вольфрама, рубина, сапфира

РИСУНКИ

Categories: BD_2389000-2389999