|
|
(21), (22) Заявка: 2008141921/13, 22.10.2008
(24) Дата начала отсчета срока действия патента:
22.10.2008
(46) Опубликовано: 20.05.2010
(56) Список документов, цитированных в отчете о поиске:
SU 1473812 A1, 23.04.1989. SU 1535600 A1, 15.01.1990. SU 1639722 A1, 07.04.1991.
Адрес для переписки:
394000, г.Воронеж, пр-кт Революции, 19, Воронежская государственная технологическая академия (ВГТА), консалтинговый отдел
|
(72) Автор(ы):
Добромиров Владимир Евгеньевич (RU), Гавриленков Александр Михайлович (RU), Бредихин Павел Сергеевич (RU)
(73) Патентообладатель(и):
Государственное образовательное учреждение высшего профессионального образования “Воронежская государственная технологическая академия” (RU)
|
(54) СПОСОБ ОЧИСТКИ ОТРАБОТАННЫХ ГАЗОВ КОПТИЛЬНОЙ КАМЕРЫ С ПОСЛЕДУЮЩЕЙ УТИЛИЗАЦИЕЙ КОПТИЛЬНЫХ ВЕЩЕСТВ
(57) Реферат:
Изобретение относится к пищевой промышленности. Способ включает мокрую очистку отработанных дымовых газов и очистку отработанной жидкости с помощью сорбирующего фильтра. Очищенная жидкость вновь направляется на очистку отработанного дымового газа. После исчерпания сорбционной способности сорбирующего агента его прожигают в дымогенераторе, в результате чего коптильные вещества возвращаются в коптильную камеру. Изобретение позволяет снизить затраты на очистку дымовых газов и повысить ее эффективность. 1 ил.
Изобретение относится к пищевой промышленности, в частности к мясной и молочной промышленности, и может быть использовано для очистки отработанных газов в коптильных камерах.
Наиболее близким по технической сущности и достигаемому эффекту является способ очистки отработанных газов путем фильтрации через сорбирующий фильтр, реализованный с помощью очистителей газов (ФяС-С) [Оборудование для очистки воздушных выбросов и сточных вод пищевых предприятий. / А.М.Гавриленков, Е.А.Рудыка. ГИОДР. Санкт-Петербург, 2008], где используются сорбирующие фильтры, состоящие из корпуса с решетками, содержащими сорбирующий агент.
Недостатки способа очистки отработанных газов путем фильтрации через сорбирующий фильтр заключаются в высоком аэродинамическом сопротивлении, что ведет к увеличению энергозатрат на процесс очистки, а также сложность или невозможность регенерации сорбирующего агента фильтра и потеря сорбированных веществ.
Наиболее близким по технической сущности и достигаемому эффекту является способ очистки газов на основе различных распылителей (скрубберы) [А.С SU 1535600 опуб. бюл. 2 в 1990 г.], предусматривающий очистку отработанного дымового газа высокодисперсным факелом жидкости, полученным при помощи распылителя, при этом происходит сорбция загрязняющих веществ в жидкость и дымовой газ очищается. Скруббер представляет собой корпус, на горизонтально расположенном валу которого насажен ороситель в виде двух усеченных конусов, прикрепленных большими основаниями с помощью диска к валу, на внешней поверхности конусов в чередующемся порядке с отверстиями установлены пучки щетины, имеющие одинаковую длину, в полость конусов подается жидкость и при вращении щетки происходит распыление.
Недостаток известного способа для очистки отработанных газов заключаются в возникновении проблемы утилизации жидкости, с которой теряются ценные коптильные вещества.
Техническая задача изобретения заключается в разработке способа для очистки дымовых газов коптильных камер с последующей утилизацией коптильных веществ, позволяющего повысить эффективность очистки, снизить удельные энергозатраты на очистку дымовых газов, обеспечить дешевый способ регенерации сорбента и утилизации коптильных веществ.
Техническая задача изобретения достигается тем, что в способе очистки отработанных дымовых газов коптильной камер с последующей утилизацией коптильных веществ, включающем мокрую очистку отработанных дымовых газов и последующую очистку отработанной жидкости через сорбирующий фильтр, новым является то, что мокрую очистку дымовых газов осуществляют в два этапа: на первом этапе осуществляют очистку газа жидкостью, а на втором этапе пропускают жидкость с растворенными в ней веществами через сорбирующий фильтр, после чего жидкость вновь направляется на очистку отработанного дымового газа, а коптильные вещества, после исчерпания сорбционной способности сорбирующего агента, возвращаются в коптильную камеру путем прожига сорбирующего агента в дымогенераторе.
Технический результат заключается в повышении качества очистки, сохранении ценных коптильных веществ, обогащении дыма коптильными веществами, в утилизации сорбирующей жидкости, заключающейся в том, что отработанная и очищенная от примесей вода возвращается в камеру распыления, снижении энергозатрат на фильтрование и регенерацию твердого сорбирующего агента.
Способ очистки отработанных дымовых газов коптильной камеры с последующей утилизацией коптильных веществ заключается в использовании двухступенчатого метода очистки.
Способ для очистки отработанных газов с последующей утилизацией отработанной жидкости работает следующим образом.
Для того чтобы очистить дымовоздушную смесь перед выбросом в атмосферу от коптильных веществ, можно применить способ для очистки, который состоит из двух этапов:
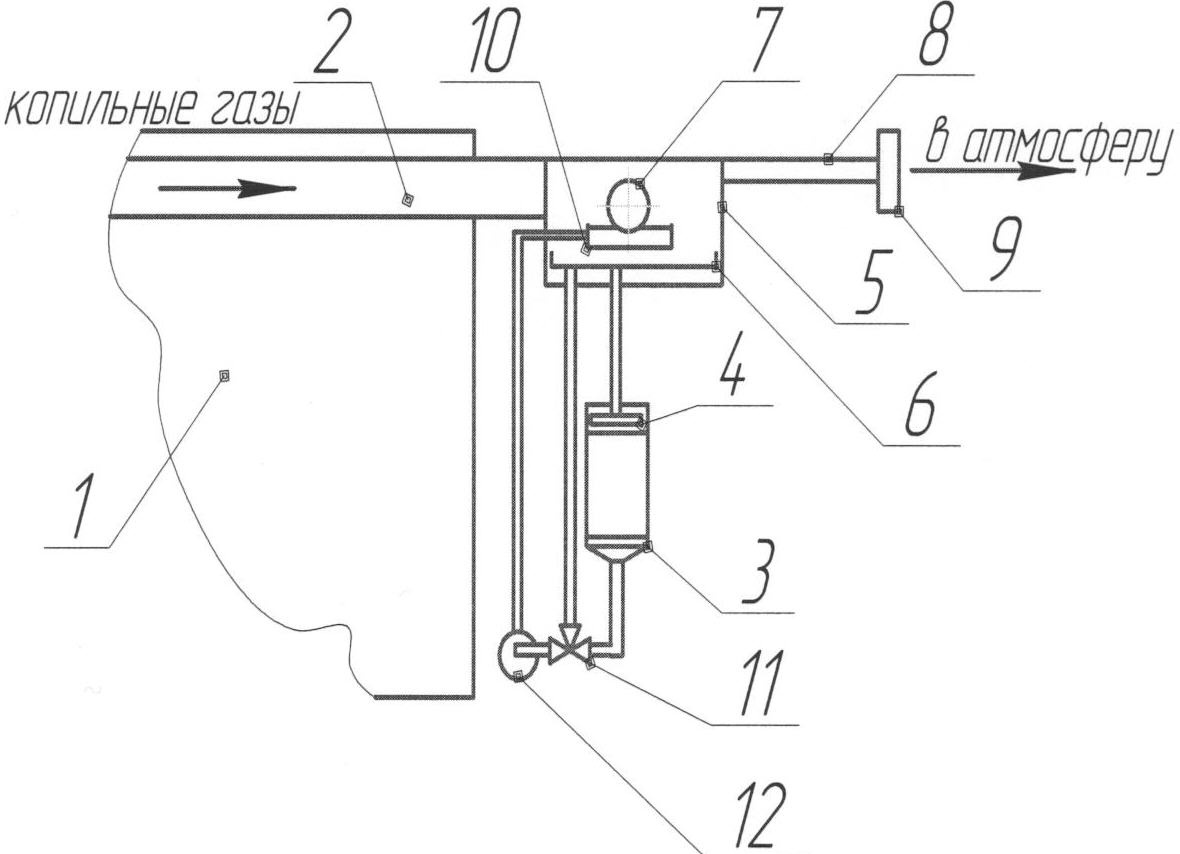
На первом этапе отработанный газ, поступающий из коптильной камеры 1, направляется для очистки по отводному каналу 2 в камеру распыления 5, где происходит мокрая очистка загрязненного дымового газа с помощью распылителя. В камере распыления 5 используется щетка 7, погруженная щетиной в ванну 10.
В ванну подается жидкость, подлежащая распылу. При вращении щетки происходит распыление жидкости и капли, поглотившие частицы коптильных веществ, собираются на поддоне 6. Очищенный газ поступает по каналу вывода очищенного газа 8, откуда, проходя через каплеуловитель 9, где собираются остатки жидкости, выводится в атмосферу.
Второй этап – очистка отработанной жидкости путем фильтрации через сорбирующий фильтр с насыпным слоем сорбирующего агента. Жидкость, собранная на поддоне 6, подается в сорбирующий фильтр 3, где через распределительную головку 4 равномерно орошает слой твердого фильтрующего абсорбирующего вещества, например керамзита. Жидкость поступает в сорбирующий фильтр 3, где фильтруется с низкой скоростью, проходя через высокий слой сорбирующего агента, что позволяет увеличить время контакта коптильных веществ с сорбирующим агентом. Очищенная жидкость через трехходовой кран 11 насосом 12 перекачивается в ванну 10. В случае если количество жидкости недостаточно для поддерживания в ванне определенного уровня, ванна заполняется жидкостью, собранной на поддоне 6. После исчерпания сорбционной емкости сорбирующего фильтра его с целью более эффективного использования коптильных веществ и обеспечения дешевой регенерации сорбирующего агента необходимо поместить в дымогенератор для проведения термической обработки. При проведении термической обработки коптильные вещества удаляются из сорбента и он восстанавливает прежнюю сорбционную способность. При использовании этого устройства можно снизить энергетические затраты на процесс очистки дымовоздушной смеси.
Предлагаемый способ позволяет:
– снизить удельные энергозатраты благодаря использованию щеточного распылителя и двухступенчатой сорбции с использованием на первой ступени жидкого, а на второй твердого сорбента с фильтрацией первого сорбента сквозь слой второго с повышением концентрации улавливаемых веществ в первом сорбенте путем неоднократного его использования, при этом время контакта улавливаемых веществ с первым и вторым сорбентом меняется независимо друг от друга;
– при процессе фильтрования жидкости через слой сорбента жидкость проходит через фильтровальный агент под действием сил гравитации, что исключает необходимость в других приспособлениях;
– коптильные вещества, поглощенные сорбентом, могут повторно использоваться при загрузке керамзита в дымогенератор, что увеличивает качество продукции.
Данное устройство позволяет многократно использовать сорбирующую жидкость, что исключает необходимость ее утилизации. Жидкость движется по замкнутому контуру и многократно используется в процессе абсорбции.
Формула изобретения
Способ очистки отработанных газов коптильных камер с последующей утилизацией отработанных дымовых газов коптильной камер с последующей утилизацией коптильных веществ, включающий два последовательных способа очистки – мокрую очистку отработанных дымовых газов и очистку отработанной жидкости с помощью сорбирующего фильтра, отличающийся тем, что мокрую очистку дымовых газов осуществляют в два этапа: на первом этапе осуществляют очистку газа жидкостью, а на втором этапе пропускают жидкость с растворенными в ней веществами через сорбирующий фильтр, после чего жидкость вновь направляется на очистку отработанного дымового газа, а коптильные вещества, после исчерпания сорбционной способности сорбирующего агента, возвращаются в коптильную камеру путем прожига сорбирующего агента в дымогенераторе.
РИСУНКИ
|
|