Патент на изобретение №2389517

Published by on




РОССИЙСКАЯ ФЕДЕРАЦИЯ



ФЕДЕРАЛЬНАЯ СЛУЖБА
ПО ИНТЕЛЛЕКТУАЛЬНОЙ СОБСТВЕННОСТИ,
ПАТЕНТАМ И ТОВАРНЫМ ЗНАКАМ
(19) RU (11) 2389517 (13) C2
(51) МПК

A61N1/32 (2006.01)
H03K3/00 (2006.01)

(12) ОПИСАНИЕ ИЗОБРЕТЕНИЯ К ПАТЕНТУ

Статус: по данным на 09.08.2010 – действует

(21), (22) Заявка: 2007111726/14, 30.08.2005

(24) Дата начала отсчета срока действия патента:

30.08.2005

(30) Конвенционный приоритет:

31.08.2004 US 10/929,455

(43) Дата публикации заявки: 10.10.2008

(46) Опубликовано: 20.05.2010

(56) Список документов, цитированных в отчете о
поиске:
US 5690692, 25.11.1997. RU 2179465 С1, 20.02.2002. RU 2129419 С1, 27.04.1999. RU 2109273 С1, 20.04.1998. WO 1998/029156, 09.07.1998. ПОНОМАРЕНКО Г.Н. Электромагнитотерапия и светолечение. – СПб., 1995.

(85) Дата перевода заявки PCT на национальную фазу:

02.04.2007

(86) Заявка PCT:

CA 2005/001312 20050830

(87) Публикация PCT:

WO 2006/024150 20060309

Адрес для переписки:

103735, Москва, ул. Ильинка, 5/2, ООО “Союзпатент”, пат.пов. Ю.Б.Перегудовой

(72) Автор(ы):

МЁРФИ Патрик (CA)

(73) Патентообладатель(и):

МЁРФИ ПАТРИК (CA)

(54) МНОГОЧАСТОТНЫЙ ГЕНЕРАТОР ЭЛЕКТРИЧЕСКОГО ПОЛЯ И ЕГО ИСПОЛЬЗОВАНИЕ

(57) Реферат:

Группа изобретений относится к области медицины. Устройство для лечения от патогенов в теле содержит пару электропроводных электродов, выполненных с возможностью электропроводного соединения с физически разнесенными точками на теле, и устройство генерирования сигнала. При этом устройство генерирования сигнала содержит средство генерирования сигнала для генерирования колебательного сигнала с выбранной частотой в диапазоне частот, причем этот диапазон частот может изменяться между первым уровнем частот в 5,4 МГц и вторым уровнем частот в 660 МГц, средство, обеспечивающее шаговое изменение частоты указанного средства генерирования сигнала от одного уровня частоты до другого из указанных уровней частоты с заданными шагами изменения частоты при поддержании каждого уровня частоты в течение заданного интервала времени, и средство передачи энергии, управляемое указанным средством генерирования сигнала, для подачи напряжения на указанные электроды, причем это напряжение колеблется с указанной выбранной частотой. Данная группа изобретений позволяет повысить эффективность лечения. 2 н. и 17 з.п. ф-лы, 1 ил.

Область техники, к которой относится изобретение

Настоящее изобретение относится к области электрических устройств и, в частности, к системе, способу и устройству для лечения различных заболеваний, болезней или заболеваний, вызванных патогенами, путем применения электрического поля с низким напряжением в определенном диапазоне электрических частот.

Уровень техники

Известно использование электрических полей низкого напряжения для индуцирования электрических сигналов в ткани или в клетках млекопитающих, и применение таких сигналов доказало свою эффективность при лечении различных заболеваний, болезней и болезней, вызванных различными патогенами.

В 1995 г. доктор Hulda Clark издала книгу под названием “The Cure for all Diseases.” В ней раскрыто, что применение электрической энергии с частотой 30 кГц позволяет убивать вирусы, бактерии, паразитов, токсины и плесневые грибки.

В патенте США 5,690,692 раскрыт точный синтезатор частоты для генерирования сигналов в диапазоне от 0,00004 Гц до 3 МГц в виде прямоугольных импульсов с коэффициентом заполнения 50%. Этот сигнал предназначается для инактивации микроорганизмов и вирусов у млекопитающих. При обработке микроорганизма определенным электрическим сигналом с точной частотой было возможно инактивировать или убивать организм, не влияя на другие микроорганизмы или ткани.

В патенте США 5,817,142 была раскрыта схема электрического генератора аналогичного назначения, в котором использовалась частота колебаний от 100 до 900 кГц.

В патенте США 5,925,071 описано устройство, в котором электрическое поле 9 вольт формировали с шаговым изменением частоты от 70 кГц до 880 кГц, с шагом 1 кГц, с коротким периодом остановки между каждым циклом.

В патенте США 6,304,782 описано снижение физиологического стресса, индуцированного вирусами, благодаря использованию электронной диагностики и лечения, при котором пациента сканировали электрическим полем в диапазоне от 2 кГц до 6 кГц.

Устройства такого типа известны и многими используются для лечения патогенов тела. Обычно эти устройства обеспечивают небольшое количество выходных частот, и пользователь выбирает одну из заранее установленных выходных частот. Например, несколько устройств имеют две или 3 выбранные частоты, которые следует использовать. Однако каждая частота используется одновременно, и эти частоты обычно ниже, чем 1,0 МГц, и, как правило, ниже, чем или равны 30 кГц, как было предложено доктором Clark.

При использовании для лечения в большинстве устройств прикладывается напряжение к телу или через тело пользователя с использованием электродов (или катушек), удерживаемых или прикрепляемых к противоположным конечностям (например, в каждой руке или на одной лодыжке и противоположном запястье). Как правило, частота прикладываемого напряжения поддерживается на постоянном уровне 2,5 кГц или 30 кГц, и уровень напряжения (между электродами) поддерживается на уровне или ниже 1 В.

Хотя эти устройства использовались для лечения различных заболеваний или болезней, было бы предпочтительно создать устройство, которое позволило бы обеспечить расширенные частотные диапазоны для достижения большей гибкости при использовании такого устройства для лечения заболеваний, вызванных патогенами. Кроме того, было бы предпочтительно разработать устройство, которое могло бы автоматически отрабатывать цикл в определенном диапазоне частот. Кроме того, было бы предпочтительно создать устройство, позволяющее применять более широкий диапазон напряжений.

Раскрытие изобретения

Было определено, что дополнительная терапевтическая польза может быть получена при воздействии на тело млекопитающего и, в частности, человека полями с низким напряжением с переменной частотой вплоть до 450 МГц или, что более предпочтительно, вплоть до уровня частоты 660 МГц. Кроме того, для обеспечения преимущества использования широкого диапазона частот было бы предпочтительно создать устройство, которое позволяет формировать множество разных частот на одном этапе лечения. Еще более предпочтительно было бы применять лечение на множестве разных частот одновременно.

Следующая особенность – желательно было бы создать устройство, которое позволит обеспечить звуковую индикацию, которая могла бы представлять прикладываемую частоту, что обеспечило бы для пользователя положительную обратную связь при использовании устройства. Такой звуковой сигнал также можно было бы использовать для звуковой терапии, или в других случаях он мог бы оказывать успокаивающий эффект на пользователя.

В соответствии с этим настоящее изобретение направлено на создание устройства для лечения патогенов в теле, содержащее:

по меньшей мере, пару электропроводных электродов, выполненных с возможностью электрического подключения к физически разделенным точкам на теле; и

устройство генерирования сигнала, содержащее:

средство генерирования сигнала, предназначенное для генерирования колебательного сигнала на выбранной частоте в некотором диапазоне частот, причем этот диапазон частот может изменяться между первым уровнем частоты и вторым уровнем частоты, и при этом второй уровень частоты больше, чем 1,0 МГц;

средство, обеспечивающее шаговое изменение частоты средства генерирования сигнала от одного уровня частоты до другого из указанных уровней частоты с заданными шагами изменения частоты при подержании каждого уровня частоты в течение заданного периода времени;

средство передачи энергии, управляемое указанным средством генерирования сигнала, для подачи напряжения на указанные электроды, причем это напряжение колеблется с указанной выбранной частотой.

Во втором аспекте в настоящем изобретении предложено устройство генерирования сигнала, описанное выше.

В третьем аспекте настоящее изобретение также направлено на создание способа лечения от патогенов в теле млекопитающих (как человека, так и не человека), содержащего: прикрепление пары электропроводных электродов к физически разделенным точкам на теле, подсоединение указанных электродов к устройству генерирования сигнала, как описано выше, и управление указанным устройством генерирования сигнала так, чтобы на указанное тело воздействовало электрическое поле в диапазоне от указанного первого уровня частоты до указанного второго уровня частоты с заданными шагами изменения частоты в течение заданных интервалов.

Краткое описание чертежа

Варианты выполнения настоящего изобретения будут описаны ниже, только в качестве примера совместно с прилагаемым чертежом, причем на чертеже схематично представлено устройство, предложенное в соответствии с настоящим изобретением.

Осуществление изобретения

Новые свойства, которые, как считается, характеризуют настоящее изобретение в отношении его структуры, организации, использования и способа работы вместе с другими его целями и преимуществами, будут более понятны из чертежа, на котором будет представлен, только в качестве примера, предпочтительный в настоящее время вариант выполнения изобретения. На чертеже одинаковыми ссылочными позициями обозначены одинаковые элементы.

Однако следует понимать, что чертеж предназначен только для иллюстрации и описания и не предназначен для определения объема изобретения.

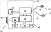
На чертеже показано устройство 10 для лечения от патогенов в теле. Тело (не показано), предпочтительно, представляет собой тело человека, но может представлять собой тело млекопитающего, в котором требуется провести лечение от патогенов.

Устройство 10, предпочтительно, содержит пару электродов 12, которые функционально соединены с телом и устройством 14 генерирования сигнала, которое представлено схематично.

Каждый из электродов 12 выполнен в виде браслета из стальной цепочки, который оборачивают вокруг запястья пользователя и подключают к устройству 14, используя провод 16 определенной длины. Хотя можно использовать любой соответствующий провод, включая коаксиальный кабель или тому подобное, для данного варианта применения предпочтительным является использование одного провода соответствующей толщины. Кроме того, длина каждого провода 16, предпочтительно, по существу, является одинаковой для обоих электродов 12. Электроды другого типа также можно использовать, включая, например, медные трубки или другие типы ремешков или цепочек для запястьев из различных (предпочтительно) электропроводных материалов, которые предназначены для оборачивания вокруг запястий или лодыжек пользователя. В качестве альтернативы электроды могут удерживаться на месте с помощью средства крепления, такого как лента, или с использованием разъемного крепления, такого как крепление VelcroТМ. Электроды также могут представлять собой электроды, специально разработанные для закрепления на теле, такие как электроды, используемые для снятия показаний ЭКГ и т.п. Все электроды могут использоваться с применением или без применения электропроводных кремов или гелей.

Обычно электроды находятся в реальном физическом контакте с телом (то есть, прикасаются к телу), однако, это не является существенным при условии, что может быть установлено электрическое поле вокруг тела или через тело.

Кроме того, для получения улучшенных характеристик должны использоваться выбранные области тела, что способствует прохождению напряжения сквозь тело или как-то иначе через тело. Например, закрепление одного электрода на виске или в области левой стороны верхней губы, как оказалось, является предпочтительным в некоторых вариантах применения при использовании в комбинации с электродом, размещенным вокруг правой лодыжки. Однако чаще всего электроды прикрепляют к каждому из запястий, используя ремешки для запястий, и эта методика позволяет пользователю выполнять другие задачи во время лечения.

Устройство 14 генерирования сигнала подключают к источнику питания, который может включать в себя батарею 18, но также может включать в себя внешний источник питания (такой как автомобильный аккумулятор или тому подобное) или трансформатор, который подключен к источнику питания переменного тока. Однако в этом варианте применения можно использовать любой подходящий источник питания.

Устройство 14 генерирования сигнала имеет средство 20 генерирования сигнала, которое, предпочтительно, представляет собой интегральную микросхему, такую как, например, микросхема DDS (ПЦС, прямой цифровой синтез аналогового сигнала), предназначенную для формирования выходного сигнала с требуемой частотой, и которую можно программировать, используя средство для шагового изменения частоты указанного средства генерирования сигнала. Наиболее предпочтительно, такое средство шагового изменения частоты указанного средства генерирования представляет собой программируемый контроллер 22, который обеспечивает генерирование микросхемой ПЦС набор выходных частот. Микросхема ПЦС, таким образом, формирует набор частот между первым и вторым уровнем частот. Предпочтительно, этот диапазон между уровнями частот составляет от 0,001 до 660 МГц, более предпочтительно от 0,001 до 450 МГц, еще более предпочтительно от 0,01 до 260 МГц, еще более предпочтительно от 0,2 до 150 МГц и наиболее предпочтительно от 0,25 МГц до 100 МГц.

В любом случае верхний (или второй) уровень частоты, предпочтительно, должен быть выше, чем 1,0 МГц, предпочтительно выше, чем 5,4 МГц, более предпочтительно выше, чем 7,5 МГц, еще более предпочтительно выше, чем 10 МГц и наиболее предпочтительно выше, чем 35 МГц.

При этом предпочтительный диапазон уровней частот представляет собой диапазон, в котором первый уровень частоты составляет 0,01 МГц или выше, и второй уровень частоты находится от 5,4 МГц до 660 МГц, или более предпочтительно от 5,4 МГц до 450 МГц. Еще более предпочтительно, диапазон уровней частот представляет собой диапазон, в котором первый уровень частоты равен 0,1 МГц, и второй уровень частоты находится от 5,4 до 260 МГц. Наиболее предпочтительный диапазон частот, однако, представляет собой диапазон, в котором первый уровень частоты составляет 1,0 МГц, и второй уровень частоты составляет 5,4 МГц.

Однако первый уровень частоты может быть установлен на любом требуемом значении. Обычно, однако, первый уровень частот устанавливают на уровне или выше, чем 0,001 МГц.

С целью этого описания первый уровень частот обычно представляет собой любое значение ниже, чем второй уровень частот, в результате чего уровень частот будет увеличиваться с течением времени. Однако для специалиста в данной области техники будет понятно, что уровни частот могут быть изменены на обратные так, чтобы происходило понижение прикладываемой частоты.

В конкретном варианте выполнения средство 20 генерирования сигнала представляет собой микросхему AD9858 DDS, поставляемую компанией Analog Devices, типично имеющую выходную частоту до 400 МГц. Другие аналогичные устройства также можно использовать в зависимости от требуемых параметров применения. Однако следует отметить, что микросхема AD9858 DDS может быть выполнена так, что она будет генерировать частоты вплоть до 450 МГц, и этот диапазон даже может быть расширен, и могут быть получены частоты вплоть до 660 МГц.

Программируемый контроллер 22, который в данном примере представляет собой микросхему микроконтроллера PIC16F870SS, поставляет множество производителей, но может представлять собой любую соответствующую интегральную микросхему, используется для шагового увеличения выходной частоты. Его можно использовать для получения постепенного повышения, но, предпочтительно, выходную частоту повышают с шаговым изменением. Шаг изменения может иметь любой подходящий размер, но обычно составляет от 1 до 500 кГц и, более предпочтительно, от 25 до 400 кГц. Наиболее предпочтительный шаг изменения представляет собой 150-300 кГц.

Обычно шаговое изменение приводит к увеличению уровня частоты со временем. Однако изменение уровня частоты может начинаться с более высокого значения и уменьшаться с шаговым изменением.

Время и порядок применения каждой выбранной частоты также могут изменяться, но предпочтительно программируемый контроллер 22 просто увеличивает частоту от первого уровня частоты до второго уровня частоты с шаговым изменением частоты. Такое шаговое изменение, предпочтительно, происходит за нормальный период времени от 1 до 200 миллисекунд, более предпочтительно от 20 до 175 миллисекунд, наиболее предпочтительно через каждые 25-150 миллисекунд.

Программируемый контроллер 22 может быть запрограммирован так, чтобы начинать работу на первом уровне частоты и повышать выходную частоту с шаговым изменением, и поддерживать каждую выходную частоту в течение заданного периода времени до второго уровня частоты. Программируемый контроллер в случае необходимости также может быть запрограммирован на прекращение приложения электрического поля к телу в течение выбранного периода остановки. Период остановки может изменяться по времени, от 2 до 60 минут, и после периода остановки программируемый контроллер 22 снова включает систему для приложения выходной частоты к телу через электроды 12.

Предпочтительно, однако, чтобы выбранный диапазон частот для лечения прикладывался в ходе одного цикла применения, без использования каких-либо периодов остановки.

Программируемый контроллер также можно использовать для одновременного приложения набора частот, для уменьшения времени применения и/или для обеспечения более эффективного режима лечения. При этом в предпочтительном свойстве программируемый контроллер одновременно прикладывает, по меньшей мере, две выходных частоты, по меньшей мере одна из которых удовлетворяет установленным выше критериям частот. Предпочтительно, одновременно применяют от 2 и 10 частот для лечения, и более предпочтительно для лечения одновременно применяют от 3 до 6 частот.

Предпочтительно, все одновременно прикладываемые частоты удовлетворяют критериям частоты, установленным выше. Одна микросхема ПЦС может использоваться для предоставления такой многочастотной функции или можно использовать набор микросхем ПЦС.

Кроме того, программируемый контроллер также можно использовать для исключения вывода каких-либо нежелательных частот. Например, если диапазон частот, скажем, от 5,4 МГц до 35 МГц будет определен, как ненужный или нежелательный для применения для определенного тела, программируемый контроллер может быть запрограммирован так, что он будет «обходить» этот диапазон выходных сигналов.

Таким образом, программируемый контроллер 22 может быть предварительно запрограммирован в отношении числа периодов лечения, первого и второго уровней используемых частот, временных интервалов и количества шаговых изменений частоты, временных интервалов любых программируемых изменений режима лечения или длительности периода (периодов) остановки, или любых других управляемых параметров устройства. Эти аспекты могут быть заранее запрограммированы перед установкой программируемого контроллера в устройство 14 или могут быть запрограммированы на месте поставщиком или оператором устройства, используя различные устройства ввода, включая, например, входные устройства, такие как сенсорный дисплей или клавиатура 30, на устройстве 14. Кроме того, программируемый контроллер может содержать предварительно установленные программы, которые управляют всеми аспектами или свойствами режима лечения.

Программируемый контроллер также может быть подключен к внешнему средству программирования, такому как компьютер, КПК или тому подобное, в котором параметры программирования могут быть выбраны или изменены.

Программы могут быть сохранены в микросхеме 36 запоминающего устройства, такой как микросхема запоминающего устройства 24LC256.

Сигнал от средства генерирования сигнала, предпочтительно, передают к электродам, используя средство передачи энергии, которое может увеличивать доступное напряжение и/или доступный ток. На чертеже усилитель 32 мощности усиливает напряжение от выходного сигнала 0,5 В до 2,5 В. Однако действительные используемые напряжения могут изменяться в зависимости от свойств тела, проходящего курс лечения пациента, выбранных диапазонов частоты, и/или обрабатываемого патогена. Обычно, однако, напряжение между электродами, предпочтительно, должно быть меньше, чем 25 вольт, более предпочтительно меньше, чем 10 вольт и еще более предпочтительно меньше, чем 6 вольт. Для специалистов в данной области техники будет понятно, как определить соответствующие напряжения для использования для конкретного тела и/или обрабатываемого патогена и обеспечить усилитель, позволяющий подавать требуемые выходные напряжения. Предпочтительное минимальное напряжение может представлять собой любое напряжение, большее, чем 0,1 вольт.

Для пользователя и/или программируемого контроллера также может быть предусмотрена возможность управления выходным уровнем для регулирования выходной интенсивности усилителя мощности. Таким образом, выходная мощность для пользователя может быть, например, увеличена в ходе выполнения последовательности запрограммированного лечения.

Выходной сигнал, предпочтительно, представляет собой сигнал переменного тока или его имитацию. В предпочтительном свойстве средство передачи энергии используется для разделения сигнала так, чтобы положительные сигналы передавались к одному электроду, в то время как отрицательные сигналы подают на другой электрод. Таким образом увеличивается кажущаяся разность потенциалов между электродами.

Устройство 14 также может быть снабжено различными дисплеями, световыми индикаторами и т.п., используемыми для обозначения состояния устройства. Они могут включать в себя таймер, который представляет, например, время, остающееся для лечения или периода отдыха, или тому подобное. Для специалистов в данной области техники будет понятно, какого типа информация может быть представлена таким образом.

В частности, однако, предусмотрен звуковой генератор 40, который соединен со средством 20 генерирования сигнала для предоставления звукового выхода, который соответствует, но не равен приложенной частоте. Например, диапазон звуковых частот от 200 Гц до 3000 Гц можно выбрать для представления приложенного диапазона частот, например, от 5,4 МГц до 100 МГц. При этом, когда частоту для лечения прикладывают с помощью устройства 14, пользователь будет слышать звуковой выходной сигнал через выходной разъем 42, к которому может быть подключен, например, громкоговоритель (не показан) или наушники (не показаны).

Звуковой выход обеспечивает положительную обратную связь для пользователя, свидетельствующую о том, что устройство работает правильно, что частота увеличивается (например), и может предоставлять успокоительный эффект для пользователя. При этом звуковой выход обеспечивает дополнительное свойство предоставления звуковой терапии для пользователя.

Таким образом, очевидно, что в соответствии с настоящим изобретением, предложены устройство и способ для лечения от патогенов в теле, которые полностью удовлетворяют указанным выше целям, задачам и преимуществам. Поэтому, после описания конкретных вариантов выполнения настоящего изобретения, следует понимать, что альтернативы, модификации и их варианты могут быть рассмотрены специалистами в данной области техники, и при этом предполагается, что настоящее описание охватывает все такие альтернативы, модификации и варианты, находящиеся в пределах объема приложенной формулы изобретения.

В качестве альтернативы, для ясности изложения, и если только не будет указано другое, слово “содержать”, и варианты этого слова, такие как “содержащий” и “содержит”, при использовании в описании и в формуле изобретения настоящего описания не должно исключать другие добавки, компоненты, единое целое или шаги.

Кроме того, слова “по существу” или “главным образом”, при использовании с прилагательным или с наречием предназначены для расширения объема конкретных характеристик; например, предполагается, что, по существу, плоский, означает плоский, близкий к плоскому и/или проявляющий характеристики, связанные с плоским элементом.

Кроме того, считается, что использование терминов “он”, “его” или “принадлежащий ему” не направлено конкретно на лиц мужского рода и может быть легко прочитано как “она”, “ее” или “принадлежащий ей”, соответственно.

Кроме того, хотя настоящее описание было направлено на предшествующий уровень техники, известный изобретателю, не предполагается, что весь описанный предшествующий уровень техники был цитирован против настоящей заявки.

Формула изобретения

1. Устройство для лечения от патогенов в теле, содержащее: по меньшей мере, пару электропроводных электродов, выполненных с возможностью электропроводного соединения с физически разнесенными точками на теле; и устройство генерирования сигнала, содержащее: средство генерирования сигнала для генерирования колебательного сигнала с выбранной частотой в некотором диапазоне частот, причем этот диапазон частот может изменяться между первым уровнем частоты в 5,4 МГц и вторым уровнем частоты в 660 МГц, средство, обеспечивающее шаговое изменение частоты указанного средства генерирования сигнала от одного уровня частоты до другого из указанных уровней частоты с заданными шагами изменениями частоты, при поддержании каждого уровня частоты в течение заданного интервала времени; и средство передачи энергии, управляемое указанным средством генерирования сигнала, для подачи напряжения на указанные электроды, причем это напряжение колеблется с указанной выбранной частотой.

2. Устройство по п.1, в котором электроды функционально соединены с запястьями на теле с применением полосок для запястий.

3. Устройство по п.1, в котором каждый из электродов подключен к устройству генерирования сигнала с помощью одиночных проводов, и одиночные провода для каждого из электродов имеют одинаковую длину.

4. Устройство по п.1, в котором средство генерирования сигнала представляет собой интегральную микросхему.

5. Устройство по п.4, в котором интегральная микросхема представляет собой микросхему ПЦС (прямого цифрового синтеза), разработанную для получения выходного сигнала на требуемой частоте.

6. Устройство по п.5, в котором требуемый диапазон частот выходного сигнала находится между 5,4 и 450 МГц.

7. Устройство по п.5, в котором требуемый диапазон частот выходного сигнала находится между 5,4 и 260 МГц.

8. Устройство по п.1, в котором указанная выбранная частота увеличивается при шаговом изменении от 1 до 500 кГц.

9. Устройство по п.1, в котором указанная выбранная частота увеличивается при шаговом изменении от 150 до 300 кГц.

10. Устройство по п.8, в котором указанная частота изменяется в течение периода времени 1-200 мс.

11. Устройство по п.8, в котором указанная частота изменяется в течение периода времени 25-150 мс.

12. Устройство по п.1, в котором указанное средство, обеспечивающее шаговое изменение частоты средства генерирования сигнала представляет собой программируемый контроллер, и указанный программируемый контроллер может быть заранее запрограммирован в отношении уровней частоты, шаговых изменений, временных интервалов изменений или периодов остановки, перед его установкой, или может быть запрограммирован через устройство ввода.

13. Устройство по п.12, в котором указанный программируемый контроллер запрограммирован путем подключения к внешнему программирующему средству.

14. Устройство по п.13, в котором указанное внешнее программирующее средство представляет собой компьютер или КПК.

15. Устройство по п.12, в котором одновременно формируется от 3 до 6 разных выходных частот.

16. Устройство по п.1, в котором указанное средство передачи энергии представляет собой усилитель мощности.

17. Устройство по п.1, дополнительно содержащее средство вывода звука, причем средство вывода звука генерирует звуковой сигнал, обозначающий выходной сигнал указанного средства генерирования сигнала.

18. Средство генерирования сигнала, содержащее: средство генерирования сигнала для генерирования колебательного сигнала в выбранном диапазоне частот, причем этот диапазон частот может изменяться между первым уровнем частот в 5,4 МГц и вторым уровнем частот в 660 МГц; средство, обеспечивающее шаговое изменение частоты указанного средства генерирования сигнала от указанного первого уровня частоты до указанного второго уровня частоты, с заданными шагами изменения частоты с заданными интервалами; и средство передачи энергии, управляемое указанным средством генерирования сигнала для подачи выходного напряжения, причем это напряжение колеблется с указанной выбранной частотой.

19. Средство по п.18, в котором требуемый диапазон частот выходного сигнала находится между 5,4 и 450 МГц.

РИСУНКИ

Categories: BD_2389000-2389999