|
|
(21), (22) Заявка: 2008126249/15, 30.11.2005
(24) Дата начала отсчета срока действия патента:
30.11.2005
(43) Дата публикации заявки: 10.01.2010
(46) Опубликовано: 20.05.2010
(56) Список документов, цитированных в отчете о поиске:
WO 2005/110317 A1, 24.11.2005. WO 2004/062703 A1, 29.07.2004. RU 2303973 C2, 10.08.2007.
(85) Дата перевода заявки PCT на национальную фазу:
30.06.2008
(86) Заявка PCT:
SE 2005/001804 20051130
(87) Публикация PCT:
WO 2007/064258 20070607
Адрес для переписки:
129090, Москва, ул.Б.Спасская, 25, стр.3, ООО “Юридическая фирма Городисский и Партнеры”, пат.пов. С.А.Дорофееву
|
(72) Автор(ы):
МАГНУССОН Элинор (SE), БЕРЛАНД Каролин (SE)
(73) Патентообладатель(и):
СКА ХАЙДЖИН ПРОДАКТС АБ (SE)
|
(54) АДСОРБИРУЮЩЕЕ ИЗДЕЛИЕ
(57) Реферат:
Изобретение относится к медицине, а именно к адсорбирующему изделию, такому как подгузник или защитное изделие при недержании, которое имеет продольное направление и поперечное направление, переднюю часть талии (110), заднюю часть талии (111) и ластовичную часть (112), которая расположена между передней и задней частями талии (110, 111), и которое включает в себя проницаемый для жидкости внешний слой (101) и непроницаемый для жидкости внешний слой (102), а также адсорбирующую основную часть (103), которая заключена между внешними слоями (101, 102), передний край (108), который вытягивается в поперечном направлении, и задний край (109), который вытягивается в поперечном направлении, причем изделие имеет вытирающую область (130), которая расположена на проницаемом для жидкости внешнем слое (101), причем вытирающая область (130) расположена за пределами ластовичной области (112) на передней части талии (110) и включает в себя адсорбирующий агент для поглощения и удерживания микроорганизмов и протеинов. Адсорбирующее изделие снижает необходимость дополнительной очистки части кожи, загрязненной фекалиями. 13 з.п. ф-лы, 3 ил.
Область техники
Изобретение относится к адсорбирующему изделию, такому как подгузник или защитное изделие при недержании, которое имеет продольное направление и поперечное направление, переднюю часть талии, заднюю часть талии и ластовичную часть, расположенную между передней частью талии и задней частью талии, и которое включает в себя проницаемый для жидкости внешний слой и непроницаемый для жидкости внешний слой, а также адсорбирующую основную часть, заключенную между внешними слоями, передний край, который вытягивается в поперечном направлении, и задний край, который вытягивается в поперечном направлении, причем изделие имеет вытирающую область, которая расположена на проницаемом для жидкости внешнем слое.
Уровень техники
Подгузники и защитные изделия при недержании понимается как обозначение адсорбирующих изделий, которые предназначены для ношения подобно нижним трусам и которые при применении покрывают нижнюю часть тела пользователя. Примерами таких изделий являются подгузники, которые скрепляются вместе на сторонах при надевании, и подгузники в виде трусов и различные типы изделий с поясом, т.е. подгузники и защитные изделия при недержании, которые удерживаются на месте с помощью окружающего талию пояса. Общая черта предназначенного типа адсорбирующих изделий заключается в том, что они включают в себя ластовичную часть, а также переднюю часть талии и заднюю часть талии.
Почти без исключений детские подгузники и защитные изделия при недержании заменяются лицом, обеспечивающим уход, например одним из родителей ребенка в случае детских подгузников, или средним медицинским персоналом или родственником в случае защитных изделий при недержании.
Когда подгузник или подобное изделие заменяется, изредка случается, что нижняя часть туловища пользователя загрязняется фекальной массой и требуется тщательная очистка нижней части туловища до того, как новое изделие можно надеть на пользователя.
Обычно фекальную массу удаляют более чем в одну стадию, причем первой стадией является грубая очистка загрязненной части кожи, при которой вытирают насколько возможно фекальную массу, которая прилипает к пользователю. После этого проводят более тщательную очистку или мытье загрязненной части до того, как новое адсорбирующее изделие можно разместить на пользователе.
US 5607760 описывает адсорбирующее изделие, поверхность которого обработана специальным лосьоном, который во время использования передается коже пользователя и таким образом снижает риск прилипания фекальной массы к коже пользователя. Лосьон также делает более легким вытирание фекальной массы, которая, тем не менее, прилипает к коже. Проблема, связанная с нанесением лосьона или других подобных агентов на принимающую жидкость поверхность адсорбирующего изделия, заключается в том, что агент влияет на адсорбирующую способность изделия. С одной стороны, способность изделия принимать жидкость снижается в результате того, что лосьон блокирует поры на принимающем жидкость внешнем слое, и с другой стороны лосьон мигрирует в изделие и в связи с этим может иметь негативное влияние на адсорбирующую способность изделия. Лосьон может также приносить бактерии и другие загрязняющие вещества к коже пользователя.
Другой способ облегчения очистки нижней части туловища пользователя заключается в предоставлении адсорбирующего изделия со специальными принимающими областями или пакетами для фекальной массы. Назначение этих изделий заключается в сохранении фекальной массы в адсорбирующем изделии в возможно большой степени и таким образом снижении риска загрязнении кожи пользователя.
US 6648865 описывает адсорбирующее изделие, в котором фекальная масса низкой вязкости отделяется от фекальной массы более высокой вязкости, в то же время WO 00/28929 описывает адсорбирующее изделие, которое имеет специальную принимающую область для фекальной массы, которая располагается в задней части изделия. Принимающая область включает в себя принимающий материал, который имеет относительно большие отверстия, через которые фекальная масса может проникать в изделие и в которых фекальная масса легко удерживается.
Несмотря на попытки, которые сделаны относительно снижения фекального загрязнения при применении адсорбирующих изделий, таких как подгузники и защитные изделия при недержании, тем не менее, остается определенная необходимость очистки при перемене адсорбирующего изделия, которое загрязняется фекальной массой.
Как ранее упоминалось, подобная очистка происходит в две стадии, включающие первую стадию вытирания и вторую стадию очистки или мытья.
Многие лица, обеспечивающие уход, применяют использованное адсорбирующее изделие для первой стадии вытирания. Это делается внешней частью изделия при зажатии передней части, которая не загрязнена фекалиями, после чего внутренняя часть передней части изделия применяется для вытирания фекальной массы с нижней части туловища пользователя и сбора фекальной массы в использованном адсорбирующем изделии. Изделие затем складывают или сворачивают вместе и уплотняют соответствующим образом перед выбрасыванием.
Проблема с фекальным загрязнением состоит в том, что кожа пользователя становится загрязненной вредными бактериями, которые выделяют неприятный запах и вызывает раздражение кожи. Даже если первая стадия вытирания, по-видимому, является достаточной для удаления фекальной массы, все еще существует необходимость в более тщательной очистке кожи после первой стадии вытирания. Естественно, это занимает время и раздражает как лицо, обеспечивающее уход, так и пользователя адсорбирующего изделия. Кроме того, является желательным снизить необходимость применения мыла и других очищающих средств, так как они высушивают кожу и могут вызвать кожное раздражение. По этой причине часто является обычным смазывать кожу некоторым типом лосьона или мази после очистки.
Кроме того, долговременное применение подгузника и изделия для недержания может привести к увеличению количества микроорганизмов на коже пользователя, даже если на подгузнике или изделии для недержания нет фекальной массы. Следовательно, является желательным очистить кожу при перемене подгузников или изделий для недержания так, чтобы снизить количество микроорганизмов на коже даже в том случае, когда подгузник содержит только мочу. Для лица, обеспечивающего уход, обычным является опускать эту стадию очистки для того, чтобы сэкономить время и минимизировать применение мыла и других средств на чувствительной коже.
Следовательно, одна задача изобретения заключается в предоставлении адсорбирующего изделия, которое снижает необходимость дополнительной очистки части кожи, загрязненной фекалиями.
Другая задача изобретения заключается в предоставлении адсорбирующего изделия, функция которого в вытирании фекальной массы улучшается, но способность которого в сборе жидкости и адсорбции, по существу, не изменяется.
Описание изобретения
Настоящее изобретение теперь обеспечило адсорбирующее изделие, такое как подгузник или защитное изделие при недержании типа, упомянутого во введении, которое, по существу, устраняет недостатки, связанные с ранее известными изделиями этого типа.
Изделие в соответствии с изобретением предназначено для ношения в виде нижних трусов вокруг нижней части живота пользователя и имеет продольное направление и поперечное направление, переднюю часть талии, заднюю часть талии и ластовичную часть, расположенную между передней частью талии и задней частью талии, а также включает в себя проницаемый для жидкости внешний слой и непроницаемый для жидкости внешний слой и адсорбирующую основную часть, которая заключена между внешними слоями, передний край, который вытягивается в поперечном направлении, и задний край, который вытягивается в поперечном направлении. Вытирающая область, которая подходит для вытирания фекальной массы, расположена на проницаемом для жидкости внешнем слое.
Изделие, которое конструируется в соответствии с изобретением, принципиально отличается вытирающей областью, расположенной снаружи ластовичной области изделия на передней части талии, и вытирающей частью, включающей в себя адсорбирующие агенты для поглощения и задерживания микроорганизмов и протеинов.
Ластовичная область, как понимается в данном документе, является областью адсорбирующего изделия, которая, как ожидается, первой увлажняется физиологической жидкостью. Эта область должна иметь высокую способность для приема жидкости и следовательно не должна содержать различные типы агентов, которые могут препятствовать или ослаблять течение жидкости в изделие. Обычно считается, что ластовичная область вытягивается свыше приблизительно 50% общей длины адсорбирующего изделия между передним краем и задним краем и может слегка перемещаться вперед или назад в зависимости от конструкции изделия.
Области талии являются областями адсорбирующего изделия, которые располагаются на концах изделия и которые располагаются ближе всего к талии пользователя при применении изделия. Нормально не ожидается, что эти области первоначально увлажняются физиологическими жидкостями или другими секрециями и, следовательно, высокая способность для наполнения не является критическим свойством для поверхностного материала на частях талии.
Для того чтобы быть способным адсорбировать и задерживать микроорганизмы и протеины в вытирающей области, необходимо, чтобы адсорбент надежно присоединялся к адсорбирующему изделию и не передавался коже пользователя при применении. Агент не должен мигрировать в изделие ни во время хранения, ни во время транспортировки изделия или при применении изделия. Агент, который не остается в вытирающей области, теряет свои функции в задерживании бактерий и протеинов и, кроме того, может иметь негативное влияние на адсорбирующие свойства адсорбирующего изделия. Другой недостаток, связанный с адсорбентом, который переносится на кожу пользователя, состоит в том, что он может также передавать бактерии частям кожи, которые ранее не были загрязненными.
В соответствии с одним вариантом осуществления агент для поглощения и задерживания бактерий и протеинов включает в себя материал, который является привитым положительно заряженными и/или гидрофобными группами.
Гидрофобные пластики, т.е. пластики, такие как полиолефины, полистирол и политетрафторэтилен, имеющие угол увлажнения, который составляет, по меньшей мере, 90°, имеют определенную способность адсорбировать и химически связывать микроорганизмы и протеины. Эту способность можно улучшить посредством первоначального материала, обработанного с целью увеличения его адсорбирующей способности.
Материал, который имеет комбинацию гидрофобных групп и катионных групп, имеет особенно хорошую способность задерживать бактерии и протеины. Способ получения подобного материала заключается в образовании гидрофобной основной цепи, к которой прививают катионные группы. В связи с этим основная цепь соответствующим образом образуется при полимеризации мономера, который содержит два или более этиленненасыщенных звена, но не содержит никаких полярных групп. Примерами подходящих мономеров являются олефины (этилен, пропилен и т.д.), ароматические виниловые соединения, такие как стирол, или другие мономеры, состоящие из С и Н атомов. Мономеры, содержащие катионные группы, такие как аллиламин, виниламин, винилпирридин, алкиламиноэтил(мет)акрилат и акриламин и их производные и соли, прививают к ненасыщенным звеньям. Конечно возможно в качестве альтернативы применять полимер с основной цепью, содержащей катионные группы, и привитыми гидрофобными боковыми цепями. Такие же мономеры, как подробно изложенные выше, можно применять в этой связи.
Другой пример подходящего материала, имеющего гидрофобные и катионные группы, описывается в WO 2004/062703. Материал, который описывается, является электрофильным волокнистым материалом, в котором волокна могут быть синтетическими или на основе целлюлозы, и имеет функциональные группы, которые взаимодействуют с анионными группами или аминогруппами на стенках клеток микроорганизмов. Примерами этих функциональных групп на микроорганизмах являются карбоксильные группы, аминогруппы, гидроксильные группы и подобные, особенно (анионные) карбоксильные группы и фосфорильные группы, как в протеинах, гликопротеинах и определенных полисахаридах, и аминогруппы, как в протеинах. Карбоксильные и фосфорильные группы проявляют электростатическое взаимодействие с катионными группами на модифицированных волокнах, в то время как аминогруппы могут взаимодействовать с альдегидными группами, например, на модифицированных волокнах.
Примерами электроположительных групп, которые можно применять для модификации волокон, являются общепринятые катионные группы, такие как аммониевые группы, фосфониевые группы и сульфоновые группы, и определенные металлсодержащие группы. Примеры незаряженных групп, имеющих разнесение внутреннего заряда, включают карбонильные группы, такие как альдегиды, кетоны и подобные. В качестве примера, разнесение внутреннего заряда в альдегиде можно иллюстрировать вариантом формулы R-HC+-O– общепринятой нейтральной формулы R-HC=O. Частично заряженный атом углерода может взаимодействовать с нуклеофилами, такими как гидроксильные группы и аминогруппы.
В соответствии с другим вариантом осуществления изобретения агент для поглощения и удерживания бактерий и протеинов включает в себя воск, имеющий точку плавления, которая выше чем 45°С. Подобный воск можно наносить в форме непрерывного покрытия или покрытия в виде рисунка, например точечного или сетчатого рисунка на вытирающей области. Благодаря тому что воск имеет высокую точку плавления, он не плавится из-за температуры тела, а вместо этого остается на вытирающей области при применении адсорбирующего изделия и не проходит на кожу пользователя или мигрирует в изделие.
Примерами восков, которые можно применять, являются церезин, парафины, микрокристаллический парафин или нефтяные воски; растительные воски, такие как масло из плодов лавра, канделлильный воск, карнаубский воск, масло из рисовых отрубей и масло плодов сумаха; животные воски, такие как пчелиный воск и ланолин, и синтетические воски, такие как полиэтиленовые воски, имеющие молекулярную массу, равную 2000-10000, и сложные диэфиры или триэфиры этиленгликоля с жирными кислотами с длинной цепью (С18-36). Можно также применять смеси восков и масел для достижения желательных свойств до тех пор, пока точка плавления составляет 45°С или более и предпочтительно 55°С или более.
В соответствии с еще одним вариантом осуществления изобретения агент, поглощающий и удерживающий бактерии и протеины, включает в себя материал, который представлен положительно заряженными группами посредством, например, плазменной обработки. При этой обработке содержащие азот группы или другие положительно заряженные группы можно поставить в газовой форме и связать с поверхностью материала.
В соответствии с одним вариантом осуществления агент, поглощающий и удерживающий бактерии и протеины, может включать в себя покрытие полимерного материала, который имеет способность адсорбировать бактерии. Подобное покрытие можно получить посредством поверхности материала в вытирающей области, которая предназначена для вытирания, будучи обработанной плазмой или обработанной коронным разрядом с целью создания временно отрицательных зарядов. После чего на поверхность распыляется положительно заряженный полимер, такой как хитозан, полиэтенимин (PEI), полиаллиламингидрохлорид (РАН) или некоторые другие подходящие положительно заряженные полимеры.
Примерами положительно заряженных полимеров, которые можно применять, являются:
а) катионные или катиономодифицированные полисахариды, такие как катионные производные крахмала, производные целлюлозы, пектин, галактоглюкоманнан, хитин, хитозан или альгинат,
b) гомополимер или сополимер полиаллиламина с модификационными звеньями или без них (подходящие модификационные звенья полиаллиламинов раскрыты, например, в WO 00/31150), особенно полиаллиламингидрохлорид (РАН),
с) полиэтенимин (PEI),
d) гомополимер или сополимер поливиниламина с модификационными звеньями или без них,
е) гомополимер или сополимер поливинилпирридина или соли поливинилпиридина, включая их N-алкил производные,
f) гомополимер или сополимер поливинилпирролидона, полидиаллилдиалкил, такой как поли(N,N-диаллил-N,N-ди-С1-С4-алкиламмония галогенид), как описано в US 2004/0047979 А1, особенно поли(N,N-диаллил-N,N-диметилалкиламмония хлорид) (PDDA),
g) гомополимер или сополимер четвертичного ди-С1-С4-алкиламиноэтилакрилата или метакрилата, например гомополимер поли(2-гидрокси-3-метакрилоилпропил-три-С1-С2-алкиламмониевой соли), такой как поли(2-гидрокси-3-метакрилоилпропилтриметиламмония хлорид), или четвертичный поли(2-диметиламиноэтилметакрилат), или четвертичный поли(винилпирролидон-со-2-диметиламиноэтилметакрилат),
h) поли(винилбензил-три-С1-С4-алкиламмониевая соль), например поли(винилбензилтриметиламмония хлорид),
i) полимеры, которые образуются при взаимодействии между дичетвертичными аминами или вторичными аминами и дигалоалканами, включающие в себя полимер алифатического или аралифатического дигалогенида и алифатического N,N,N’,N’-тетра-С1-С4-алкилалкилендиамина, например полимер (а) пропилен-1,3-дихлорида или -дибромида или п-ксилилендихлорида или -дибромида и (b) N,N,N’,N’-тетраметил-1,4-тетраметилендиамина,
j) POLYQUAD®, как описано в ЕР-А-456467,
k) полиаминоамид (РАМАМ), например линейный РАМАМ или дендример РАМАМ, такой как завершающийся амином StarburstTM РАМАМ дендример (Aldrich),
l) катионные гомополимеры или сополимеры акриламида и их модификационные продукты, такие как поли(акриламид-со-диаллилдиметиламмония хлорид) или смолы глиоксалакриламида,
m) полимеры, образованные полимеризацией мономеров N-диалкиламиноалкилакриламида,
n) продукты конденсации дицианодиамидов, формальдегида и солей аммония,
o) типичные агенты прочности во влажном состоянии, которые применяются при изготовлении бумаги, такие как мочевиноформальдегидные смолы, меламинформальдегидные смолы, поливиниламин, полиуреидформальдегидные смолы, глиоксалакриламидные смолы, и катионные материалы, которые получаются при взаимодействии между полиалкиленполиаминами и полисахаридами, таких как крахмал и различные природные камеди, а также ионсодержащие смолы 3-гидроксиацетидиниума, которые получаются при взаимодействии азотсодержащих соединений (например, аммония, первичных и вторичных аминов или N-содержащих полимеров) с эпихлоргидрином, такие как полиаминоамидэпихлоргидриновые смолы, полиаминэпихлоргидриновые смолы и аминополимерэпихлоргидриновые смолы, как упоминается, например, в US 3998690.
Предпочтительные поликатионные полимеры являются катионными или катионмодифицированными полисихаридами, такими как производные крахмала или целлюлозы, хитин, хитозан или альгинат, гомополимер или сополимеры полиаллиламина, гомополимеры или сополимеры поливиниламина или полиэтиленимин.
Для улучшения покрытия поверхности обработанной области поверхность можно дополнительно обработать посредством LBL отложения (послойного отложения). Способ включает наномасштабные пленки, образованные альтернативно отложенными мономолекулярными слоями двух полимеров, которые обладают функциональными группами, которые могут взаимодействовать друг с другом, особенно слои катионных и анионных полимеров, причем поверхностный заряд меняется с отложением каждого слоя. Подобное многослойное покрытие можно осуществить при распылении на обработанную поверхность отрицательно заряженного полимера, после этого распылить на нее воду и после этого опять распылить на нее положительно заряженный полимер. Обработку повторяют до тех пор, пока не получается желательное количество слоев. Способы и подходящие материалы подробно описываются в международной патентной заявке РСТ/ЕР 2005/010735.
Вытирающую область следует расположить так, чтобы она влияла в наименее возможной степени на адсорбирующие свойства адсорбирующего изделия. Обнаружено, что вытирающая область, которая вытягивается на расстояние от переднего края по направлению к ластовичной части, которое соответствует не более чем 25% от длины изделия между первым краем и задним краем и предпочтительно не более чем 20% длины, достаточно хорошо разъединяется от ластовичной части изделия.
Для того чтобы получить достаточно большую вытирающую поверхность, целесообразно, чтобы вытирающая область имела протяженность в поперечном направлении изделия, которая соответствует по меньшей мере 40% длины переднего края. В случае очень небольших изделий, например подгузники для младенцев, или в случае особенно узких изделий может быть подходящим, чтобы вытирающая область занимала большую часть ширины изделия, то есть длины переднего края. В основном, но это не является недостатком, вытирающая область вытягивается по всей ширине изделия на переднем крае.
Даже если вытирающая область может располагаться на всем протяжении до переднего края, возможно представить себе варианты осуществлений, в которых вытирающая область располагается на небольшом расстоянии, например 5-20 мм, от переднего края, так как некоторые связывающие бактерии и связывающие протеин агенты, которые применяются, подвергаются влиянию высоких температур, что происходит в ходе производственного процесса, когда адсорбирующее изделие сваривается или склеивается вместе на краях. Влияние температуры может вызвать то, что агенты потеряют предназначенную функцию, или в случае применения восков вызвать негативное влияние производственного процесса на агент.
Может быть выгодным для вытирающей области быть идентифицированной визуально и/или тактильным образом так, чтобы лицо, осуществляющее уход, могло определить немедленно часть адсорбирующего изделия, которая предназначена для применения для вытирания. Подобную индикацию можно, например, осуществить с помощью вытирающей области, имеющей окраску, которая отличается от окраски внешнего слоя изделия, отпечатанного рисунка, текста, логотипа или подобного и/или имеющей отличающуюся поверхностную структуру или состоящей из отдельного компонента, который является ясно отличаемым от внешнего слоя, такого как кусок материала, который прикрепляется к внешнему слою и который имеет различимые края.
Вытираемая область может также иметь рельефный рисунок, который с одной стороны снабжается визуальным и тактильным индикатором и с другой стороны предоставляет улучшенную поверхностную структуру для механического удаления фекальной массы с кожи пользователя. Также можно применять другие способы, такие как крепирование, сгибание и перфорирование, для получения поверхности, которая имеет улучшенные механические вытирающие свойства. Однако важно гарантировать, что поверхностная структура вытирающей поверхности не вызовет натирание или другой дискомфорт для пользователя в ходе применения изделия. В качестве альтернативы возможно расположить удаляемый защитный слой над вытирающей областью.
Один способ физической модификации вытирающей области заключается в снабжении ее с перфорациями. Перфорации служат для нескольких целей: с одной стороны, они обеспечивают вытирающую область поверхностной структурой, которая улучшает механическое вытирание, и с другой стороны, они позволяют любой возможной влаге и рыхлым экскрементам адсорбироваться в изделие в связи с вытиранием. Перфорации предпочтительно занимают не более чем 30% поверхности вытирающей области и имеют диаметр, равный 0,1-5 мм.
Другие способы улучшения механических вытирающих свойств вытирающего материала для вытирания фекальной массы описываются в РСТ/SE 2004/000734.
Краткое описание чертежей
Ниже изобретение будет описываться более подробно со ссылкой на чертежи.
Фиг. 1 показывает подгузник, имеющий вытирающую область в соответствии с первым вариантом осуществления изобретения.
Фиг. 2 показывает подгузник, имеющий вытирающую область в соответствии со вторым вариантом осуществления изобретения.
Фиг. 3 показывает подгузник, имеющий вытирающую область в соответствии с третьим вариантом осуществления изобретения.
Описание иллюстративных вариантов осуществлений
Изобретение относится к адсорбирующим изделиям, таким как подгузники и защитные изделия при недержании.
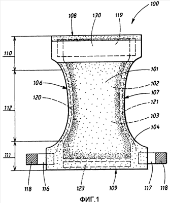
Подгузник 100 на Фиг.1 показан со стороны, которая в ходе применения предназначена для обращения к пользователю. Ради ясности подгузник показан в плоском состоянии, когда все включенные эластичные компоненты являются растянутыми. Когда он находится в состоянии, которое является готовым для применения, т.е. когда эластичные компоненты являются более или менее сжатыми, подгузник дается в трехмерной изогнутой форме, вызванной влиянием эластичных элементов.
Подгузник 100 включает в себя проницаемый для жидкости внешний слой 101 и непроницаемый для жидкости внешний слой 102, а также адсорбирующую основную часть 103, которая заключена между внешними слоями. Два внешних слоя 101, 102 имеют большую протяженность на плоскости, чем адсорбирующая основная часть 103, и выступают за адсорбирующую основную часть 103 вокруг всей периферии последней. Внешние слои 101, 102 соединяются друг с другом внутри выступающих частей 104, например, посредством склеивания или сварки с помощью тепла или ультразвука.
Проницаемый для жидкости внешний слой 101 может состоять из любого материала, который является подходящим для этих целей, такого как слой нетканого материала, перфорированной пластичной пленки, сетчатого материала, пакли или подобного. Внешний слой 101 может натурально также состоять из ламината двух или более слоев одного и того же или различных материалов. Однако нет необходимости, чтобы проницаемый для жидкости внешний слой 101 был отдельным компонентом, но наоборот, может быть составной частью адсорбирующей основной части 103. В подобном варианте осуществления нет необходимости, чтобы проницаемый для жидкости внешний слой 101 включался в выступающий край 104 вокруг адсорбирующей основной части 103. Примерами материалов, которые могут быть как внешним слоем 101, так и включаться в адсорбирующую основную часть 103, являются пена, волокнистая вата, нетканый материал или подобные.
Непроницаемый для жидкости внешний слой 102 может состоять из непроницаемой для жидкости пластичной пленки, нетканого слоя, который покрыт барьерным для жидкости материалом или некоторым другим эластичным материальным слоем, который имеет способность противостоять проникновению жидкости. Однако может быть преимущественным, чтобы непроницаемый для жидкости внешний слой 102 проявлял определенную воздухопроницаемость, т.е. позволял прохождение водяного пара через слой 102. Непроницаемый для жидкости внешний слой 102 может, как и проницаемый для жидкости внешний слой 101, быть составной частью адсорбирующей основной части и может, например, состоять из непроницаемой для жидкости подобной коже поверхности на адсорбирующем вспененном материале.
Подгузник 100 имеет, по существу, форму песочных часов с боковыми краями 106, 107, которые вытягиваются в продольном направлении, передним краем 108, который вытягивается в поперечном направлении, и задним краем 109, который вытягивается в поперечном направлении, и имеет переднюю часть талии 110, заднюю часть талии 111 и ластовичную часть 112, которая располагается между передней и задней частями талии. Передняя часть талии 110 является частью подгузника 110, которая предназначена для обращения по направлению вперед на пользователе во время применения подгузника, и задняя часть талии 111 является частью подгузника 110, которая обращается по направлению назад от пользователя. Ластовичная часть 112 является частью подгузника, которая при применении располагается в ластовице пользователя и, как ожидается, принимает и адсорбирует физиологические секреции, которые передаются подгузнику 100. Ластовичная часть занимает приблизительно 50% длины подгузника и может слегка смещаться вперед и назад в подгузнике.
Подгузник 100 представляет собой тип, который застегивается вместе в ходе применения так, чтобы подобно трусам он окружал нижнюю часть живота пользователя. Для этой цели присоединительная планка 116, 117 располагается так, чтобы выступать от каждого бокового края 106, 107 к заднему краю 109 подгузника. Присоединительные планки 116, 117 снабжаются присоединительными элементами 118, которые предназначены для взаимодействия с принимающей областью 119, которая располагается на непроницаемом для жидкости внешнем слое 102 на передней части талии 110 подгузника 100. Когда применяются адгезивные присоединительные элементы 118, принимающая область 119 соответствующим образом состоит из некоторой формы усиления непроницаемого для жидкости внешнего слоя 102, например в форме дополнительного пластичного слоя или покрытия, которое наносится на непроницаемый для жидкости внешний слой 102. Когда присоединительный элемент 118 является элементом крючок-петля, имеющим взаимодействующие элементы крючок и петлю, принимающая поверхность 119 обеспечивается элементами петель, например, в форме нетканого материала, если присоединительные планки 116, 117 включают в себя элементы крючка, и наоборот. Еще одна альтернатива заключается в подгузнике, который называется подгузник в виде трусов, что обозначает, что он поступает к пользователю как соединенные адсорбирующие трусы. Другой обычно встречающийся тип подгузников застегивается с помощью пояса, на который подвешивается подгузник, фиксированно или со съемом. В случае всех вариантов, описанных в данном документе, изобретение можно применить к любому из этих типов подгузников и защитных изделий при недержании.
Кроме того, подгузник 100 обеспечивается продольными эластичными элементами 120, 121, которые устанавливаются в предварительно растянутом состоянии и которые применяются вдоль боковых краев 106, 107 подгузника. Эластичные элементы 120, 121 вносят вклад в изогнутость подгузника 100 вдоль тела пользователя в ходе применения и в то же самое время составляют ножную резинку подгузника. Таким образом, эластичные элементы 120, 121 служат для удерживания боковых краев 106, 107 подгузника в плотном контакте с ногами пользователя для препятствия возможности любого зазора, через который физиологическая жидкость может просочиться из подгузника, появляясь между подгузником и телом пользователя во время применения. Соответствующим образом эластичный элемент 123 располагается вдоль заднего края 109 и составляет резинку на талии. Естественно, также возможно расположить резинку на талии на переднем крае 108 подгузника 100. Эластичные элементы могут быть в форме одной или более нитей, тесьмы или подобного известным образом.
Адсорбирующую основную часть 103 можно создавать из одного или более слоев адсорбирующего материала, такого как распушенная масса целлюлозы, ткань, адсорбирующая пена и т.д. Также обычно, когда адсорбирующая основная часть содержит сверхадсорбенты, т.е. полимерные материалы, которые могут адсорбировать физиологическую жидкость соответственно до нескольких раз их собственной массы с образованием гидрогеля. Подобные сверхадсорбенты обычно присутствуют в форме частиц. Однако также можно встретиться с волокнами, хлопьями, гранулами и пленкой. Кроме того, адсорбирующая основная часть 103 может включать не адсорбирующие компоненты, такие как элементы жесткости, формующие элементы, связующие элементы и т.д. Также в подгузник 100 можно включить различные типы принимающих жидкость пористых структур, таких как волокнистая вата или подобное.
В соответствии с изобретением вытирающая область 130 в форме полосы располагается на передней части талии 110 и вытягивается в поперечном направлении подгузника 100 вдоль переднего края 108 на всем протяжении между боковыми краями 106, 107. Вытирающая область 130 располагается на небольшом расстоянии от переднего края 108 и вытягивается в продольном направлении подгузника на расстояние, которое соответствует приблизительно 20% длины подгузника. Следовательно, вытирающая область 130 располагается на передней части талии 110 полностью за пределами ластовичной области 112.
Вытирающая область 130 включает в себя адсорбирующий агент, который может поглощать и задерживать микроорганизмы и протеины. Адсорбирующий агент может быть в форме покрытия, например, типа, который описывается в международной патентной заявке РСТ/ЕР 2005/010735, или покрытия из воска, имеющего точку плавления, равную, по меньшей мере, 45°С. Адсорбирующий агент может также быть в форме полимерного материала, который содержит катионные группы. Вытирающая область 130 может быть частью проницаемого для жидкости внешнего слоя 102, который покрыт адсорбирующим агентом или ему некоторым другим образом придается постоянная модификация поверхности, которая обращается к пользователю. Альтернативно вытирающая область 130 может состоять из материала, отличающегося от материала проницаемого для жидкости внешнего слоя 101. В последнем случае вытирающее средство может, например, быть нетканым материалом, который образуется из адсорбирующих бактерии волокон, которые описываются в WO 2004/062703.
На Фиг.2 соответствующие компоненты пронумерованы по аналогии с нумерацией на Фиг.1. Подгузник на Фиг.2 отличается только конструкцией вытирающей области 230 от подгузника, который показывается на Фиг.1.
Следовательно, подгузник 200 на Фиг.2 имеет вытирающую область 230, которая располагается на передней части талии 210 и вытягивается в поперечном направлении подгузника 100 вдоль переднего края 208 на расстояние, которое соответствует только больше половины длины переднего края 208. В продольном направлении подгузника 200 вытирающая область 230 вытягивается от переднего края 208 на расстояние, соответствующее приблизительно 25% длины подгузника. Следовательно, вытирающая область 230 располагается на передней части талии 210 и полностью за пределами ластовичной части 212 в типичном варианте осуществления, который показывается также на Фиг.2. Как ранее упоминалось, протяженность вытирающей области 230 в поперечном направлении подгузника должна, в общем, составлять, по меньшей мере, треть длины переднего края 208 для обеспечения адекватной вытирающей поверхности. Вытирающая область 230 не должна вытягиваться в ластовичную область 212 в продольном направлении подгузника 200, что означает, что вытирающая область 230 может только занимать не более чем 25% длины подгузника в случае подгузника, который имеет ластовичную часть 212, которая располагается симметрично в продольном направлении. Если ластовичная область 212 немного смещается вперед на подгузнике, целесообразно, чтобы вытирающая область 230 занимала не более чем 20% длины подгузника.
Вытирающая область 230 на Фиг.2 имеет рельефный рисунок 231. Подобный рельефный рисунок представляет собой индикатор, который можно идентифицировать визуально или тактильным образом, на местоположении вытирающей области 230. Другие способы получения визуальной индикации местоположения вытирающей области 230 обеспечиваются посредством применения окрашенного отпечатанного рисунка или посредством того, что вся вытирающая область 230 окрашивается цветом, который отличается от цвета проницаемого для жидкости внешнего слоя 201 подгузника. Естественно, возможно комбинировать эти способы маркировки того места, где располагается вытирающая область 230. Рельефный рисунок 231, который показан, следует рассматривать только как один пример. Естественно, в соответствии с изобретением для вытирающей области 230 можно применять любой тип рельефного рисунка, который встречается на вытирающих материалах.
Рельефный рисунок 231 может выполнять дополнительную функцию улучшения свойств механического вытирания вытирающей области 230 посредством создания нестандартной трехмерной поверхности на вытирающей области 230.
Кроме рельефного рисунка 231, вытирающая область 230 обеспечивается множеством перфораций 232. В то время как рельефный рисунок 231 и перфорации 232 показываются в данном документе в комбинации, естественно, при желании их можно применять отдельно. Перфорации 232 также служат для нескольких целей: с одной стороны, они способствуют приданию вытирающей области 230 поверхностной структуры, которая улучшает механическое вытирание, и, с другой стороны, они позволяют любой возможной влаге и неплотным экскрементам адсорбироваться в изделие в ходе вытирания. Перфорации предпочтительно занимают не более чем 30% поверхности вытирающей области и имеют диаметр, равный 0,1-5 мм.
Еще один вариант вытирающей области 330 в соответствии с изобретением показывается на Фиг.3.
На Фиг.3 также единственное различие между подгузником 300, который показывается, и подгузником 100 на Фиг.1 состоит в том, что вытирающая область 330 имеет отличающийся дизайн. Нумерация различных частей и компонентов, следовательно, соответствует нумерации на Фиг.1 и 2.
Вытирающая область 330, которая показана на Фиг.3, занимает всю поверхность передней части талии 310, и, следовательно, имеет максимальный размер. Вытирающая область 330 покрывается отделяемым защитным слоем 333, который удаляется, когда подгузник 330 следует применить с целью вытирания. Подобный защитный слой 333 может быть выгодным, если вытирающая область 330 имеет поверхность, которая рискует раздражать кожу пользователя во время применения подгузника 330. Защитный слой может также служить в качестве носителя для агентов, таких как лосьоны, масла или подобные, которые следует перенести на кожу пользователя во время применения. Тонкие мягкие нетканые материалы являются подходящими защитными слоями.
Когда меняют подгузник или защитное изделие при недержании, имеющее вытирающую область 130, 230, 330 в соответствии с изобретением, лицо, осуществляющее уход, может применять использованный подгузник или защитное изделие при недержании, которое только что удалено от пользователя, для вытирания генитальной области пользователя до того, как надевается новый подгузник или защитное изделие при недержании. В связи с этим передняя часть талии подгузника или защитного изделия при недержании зажимается на стороне, которая ориентируется от пользователя, т.е. на непроницаемом для жидкости внешнем слое на показанных примерах, чтобы подгузник или защитное изделие при недержании согнулся так, чтобы получилось хорошее зажатие. После этого проводится высушивание при применении зажатого подгузника или защитного изделия при недержании.
Во многих случаях, когда количество фекальной массы не очень велико или когда фекальная масса является относительно сухой и ее легко собрать, вытирание является достаточным, и новый подгузник или защитное изделие при недержании можно надевать без какой-либо дополнительной требуемой стадии очистки. Вытертая поверхность кожи выглядит как чистой, так и по существу менее загрязненной бактериями, чем после вытирания при применении традиционных адсорбирующих изделий. Преимущество изобретения состоит в том, вытирание снижает количество бактерий на коже заметно, не будучи бактерицидным. Это означает, что нормальная здоровая бактериальная флора на коже не нарушается. Еще одно преимущество состоит в том, что нормальный уровень рН кожи остается неизменным, так как нет необходимости применять мыло или другое моющее средство.
Изобретение также предлагает мягкий и эффективный способ снижения количества микроорганизмов на коже пользователя при перемене адсорбирующих изделий, которые содержат только мочу, т.е. без необходимости применения специальных моющих средств или воды.
Типичные варианты осуществлений, которые описаны, предназначены только для иллюстрации изобретения и их не следует рассматривать в качестве его ограничения. В частности, различные варианты вытирающих областей и адсорбирующих агентов, которые описаны, можно комбинировать друг с другом и с типами подгузников и защитных изделий при недержании, которые отличаются от функционально законченного описанного подгузника. Следовательно, изобретение можно применять как к подгузникам в виде трусов, так и к подгузникам с поясом.
Также возможно оснастить адсорбирующее изделие более чем одной вытирающей областью. В связи с этим, вытирающие области можно разработать с поверхностями, которые имеют различный внешний вид или различные свойства в соответствии с теми, которые описаны выше. Кроме того, также возможно, при желании, расположить одну или более вытирающих областей на задней части талии за пределами ластовичной части.
Естественно, нет необходимости, чтобы вытирающая область или вытирающие области имели треугольную форму, которая показана, а наоборот, форма может быть круглой, трапецеидальной или овальной или быть любой другой подходящей формы.
Формула изобретения
1. Адсорбирующее изделие, такое как подгузник или защитное изделие при недержании, которое имеет продольное направление и поперечное направление, переднюю часть талии (110; 210; 310), заднюю часть талии (111; 211; 311) и ластовичную часть (112; 212; 312), которая располагается между передней и задней частями талии (110; 111; 210; 211; 310; 311) и которое включает в себя проницаемый для жидкости внешний слой (101; 201; 301) и непроницаемый для жидкости внешний слой (102; 202; 302) и адсорбирующую основную часть (103; 203; 303), которая заключена между внешними слоями (101; 102; 201; 202; 301; 302), передний край (108; 208; 308), который вытягивается в поперечном направлении, и задний край (109; 209; 309), который вытягивается в поперечном направлении, причем изделие имеет вытирающую область (130; 230; 330), которая расположена на проницаемом для жидкости внешнем слое (101; 201; 301), отличающееся тем, что вытирающая область (130; 230; 330) расположена за пределами ластовичной области (112; 212; 312) на передней части талии (110; 210; 310), при этом вытирающая область (130; 230; 330) включает в себя адсорбирующий агент, способный поглощать и удерживать микроорганизмы и протеины, причем адсорбирующий агент надежно соединяется с адсорбирующим изделием.
2. Адсорбирующее изделие по п.1, отличающееся тем, что адсорбирующий агент включает в себя полимерный материал, который привит положительно заряженными группами и/или гидрофобными группами.
3. Адсорбирующее изделие по п.2, отличающееся тем, что полимерный материал является волокнистым материалом.
4. Адсорбирующее изделие по любому из пп.1, 2 или 3, отличающееся тем, что адсорбирующий агент включает в себя воск, имеющий точку плавления, которая составляет выше, чем 45°С и предпочтительно 55°С или более.
5. Адсорбирующее изделие по любому из пп.1, 2 или 3, отличающееся тем, что адсорбирующий агент включает в себя материал, который представлен положительно заряженными группами посредством обработки коронным разрядом или плазменной обработки.
6. Адсорбирующее изделие по любому из пп.1, 2 или 3, отличающееся тем, что адсорбирующий агент включает в себя покрытие из полимерного материала, который способен удерживать бактерии.
7. Адсорбирующее изделие по п.6, отличающееся тем, что покрытие получено посредством послойного отложения (LBL отложения) и имеет чередующиеся слои катионных и анионных полимеров.
8. Адсорбирующее изделие по любому из пп.1, 2, 3 или 7, отличающееся тем, что вытирающая область (130; 230; 330) вытягивается от переднего края (108; 208; 308) по направлению к ластовичной части (112; 212; 312) на расстояние, которое соответствует не более чем 25% длины изделия между передним краем (108; 208; 308) и задним краем (109; 209; 309) и предпочтительно не более чем 20% длины.
9. Адсорбирующее изделие по любому из пп.1, 2, 3 или 7, отличающееся тем, что вытирающая область (130; 230; 330) имеет протяженность в поперечном направлении изделия, которая соответствует, по меньшей мере, 40% длины переднего края (108; 208; 308).
10. Адсорбирующее изделие по любому из пп.1, 2, 3 или 7, отличающееся тем, что вытирающую область (130; 230; 330) можно идентифицировать визуально.
11. Адсорбирующее изделие по любому из пп.1, 2, 3 или 7, отличающееся тем, что вытирающая область (130; 230; 330) имеет рельефный рисунок.
12. Адсорбирующее изделие по любому из пп.1, 2, 3 или 7, отличающееся тем, что над вытирающей областью (130; 230; 330) расположен отделяемый защитный слой.
13. Адсорбирующее изделие по любому из пп.1, 2, 3 или 7, отличающееся тем, что вытирающая область (130; 230; 330) является перфорированной.
14. Адсорбирующее изделие по любому из пп.1, 2, 3 или 7, отличающееся тем, что адсорбирующее изделие имеет более, чем одну вытирающую область (130; 230; 330).
РИСУНКИ
|
|