|
|
(21), (22) Заявка: 2006112156/12, 12.04.2006
(24) Дата начала отсчета срока действия патента:
12.04.2006
(30) Конвенционный приоритет:
13.04.2005 EP 05008099.3
(43) Дата публикации заявки: 20.11.2007
(46) Опубликовано: 20.05.2010
(56) Список документов, цитированных в отчете о поиске:
JP 2004073442 А, 11.03.2004. ЕР 0334140 А2, 27.09.1989. ЕР 0468915 А1, 29.01.1992. SU 1829925 A3, 23.07.1993.
Адрес для переписки:
103735, Москва, ул. Ильинка, 5/2, Союзпатент, пат.пов. Л.С.Кишкиной
|
(72) Автор(ы):
ШТИГЕР Михаель (Миша) (CH), ИОАКИМ Альфред (CH)
(73) Патентообладатель(и):
НЕСТЕК С.А. (CH)
|
(54) СМЕННАЯ НАСАДКА ДЛЯ ПОЛУЧЕНИЯ ВСПЕНЕННОЙ ЖИДКОСТИ
(57) Реферат:
Изобретение относится к насадке, которую можно крепить к паровыпускному патрубку кофеварки. Насадка выполнена с возможностью установки на паровыпускной патрубок кофеварочной машины и предназначена для вспенивания жидкости, например, такой как молоко. Насадка содержит в направлении пути потока водяного пара: паровпускное отверстие, сужение с ограниченным поперечным сечением, выполненное с возможностью увеличения скорости потока водяного пара, и одну полость, имеющую большее поперечное сечение, чем сужение, из которого можно сливать вспененную жидкость. Насадка дополнительно содержит внешний корпус, содержащий резервуар, придающий однородность, и поверхность для прерывания струи, обращенную к отверстию, и одно выпускное отверстие, смещенное в радиальном направлении относительно выпускного отверстия части расширенной смесительной полости. Внешний корпус расположен частично вокруг трубчатой части смесительной полости. Изобретение обеспечивает удобную насадку, которую можно крепить к паровыпускному патрубку кофеварки. 3 н. и 16 з.п. ф-лы, 9 ил.
Настоящее изобретение относится к насадке, которую можно крепить к паровыпускному патрубку кофеварки. В частности, известно, что для кофеварок, выполненных с возможностью приготовления кофе со взбитыми сливками (cappuccino), предусматривают паровыпускной патрубок, который взаимодействует с порцией молока таким образом, что можно получить вспененное горячее молоко.
Чтобы приготовить вспененное молоко, обычно всасывают определенное количество воздуха в поток молока и водяного пара.
При многократном проведении этого вспенивания насадка, в конечном счете, будет загрязнена остатками нагретого молока, которые подвержены бактериальному загрязнению. Поэтому хорошо известно, что в идеальном случае после каждого применения такую вспенивающую насадку следует промывать и чистить.
Из US 6499389 В1 известно устройство для получения молочной пены для cappuccino, имеющее конструкцию насадки, которая расположена ниже по течению от паровой трубки и имеет вакуумную камеру, в которую проходит оканчивающаяся там трубка для подачи молока. Выше по течению от вакуумной камеры проходит воздуховод, соединенный с трубкой для подачи молока. Ниже по течению от вакуумной камеры расположена эмульгирующая камера, имеющая стенку камеры, дно с центральным потокоотклоняюшим выступом и выпуск. Центральный потокоотклоняющий выступ выполнен в виде ловушки потока, так что этот выступ отклоняет смесь, по существу, в направлении протекания, которое относительно направления основного потока является, по существу, противоположным направлению основного потока. Кроме того, в US 6499389 также сказано (см. колонку 3, строки 50-55), что элементы эмульгирующей камеры могут быть выполнены из полужесткого синтетического материала, в частности хлоропренового каучука («неопрена»). Этот синтетический материал имеет достаточную размерную стабильность, когда подвергается воздействию горячего водяного пара. С другой стороны, из-за сложной конструкции и затрат на материалы, используемые для этого известного устройства, его нельзя изготовить с приемлемыми затратами, чтобы оно служило в качестве насадки одноразового использования, которая подлежит замене после ограниченного количества использований.
В WO 2004/054413 А1 предложена насадка, устанавливаемая на паровыпускной патрубок кофеварки и предназначенная для вспенивания жидкости. Ввиду своего назначения, насадка выполнена из одного-единственного куска материала и содержит отверстие для подачи водяного пара, сужение на протяжении отверстия и расширенную зону на оси сужения. Отверстие обеспечивает выпуск для жидкости, имеющий поперечное сечение, по существу, равное поперечному сечению отверстия. Предусмотрены проходящие перпендикулярно отверстию трубка для подачи жидкости и воздухозаборник.
В соответствии с этим известным техническим решением насадка может быть выполнена, например, из такой пластмассы как полипропилен (ПП), или из металла, например, такого как Inox. В рассматриваемом документе сказано, что эту известную насадку можно применять на всем протяжении типичных циклов применения в течение целых суток.
Одна проблема, с которой приходится сталкиваться в процессе эксплуатации известных устройств, заключается в том, что в подобном устройстве наблюдается тенденция к выплескиванию продукта или выбросам водяного пара, в частности в условиях, когда молока мало. Например, когда молоко заканчивается, отношение «водяной пар – молоко» увеличивается (становится больше водяного пара), а это приводит к появлению потока водяного пара, обладающего слишком большой энергией и вследствие этого выходящего из устройства наружу. Это критический момент, потому что поток водяного пара проявляет тенденцию к загрязнению места, прямому или косвенному неуправляемому выбросу, или косвенному выдуванию вспененного молока, уже находящегося в чашке.
US 5295431 относится к принадлежности для приготовления имеющей консистенцию сливок эмульсии воздуха, молока и водяного пара, причем эта принадлежность имеет средство, предотвращающее выплескивание и расположенное в одном боковом выпускном отверстии первого проточного средства. Такое устройство имеет несколько недостатков. Открытая конфигурация на стороне принадлежности оказывается неподходящей, так как для того, чтобы быть эффективной, камера, предотвращающая выплескивание, должна быть достаточно большой, чтобы обеспечить кружение вспененной жидкости в этой камере перед выходом из нее. Следовательно, эта конфигурация оказывается громоздкой, неэкономичной и неприспособленной в контексте окружающей среды к одноразовым приложениям, предусматривающим утилизацию после ограниченного количества использований.
Задача настоящего изобретения состоит в том, чтобы устранить недостатки известных насадок, соответствующих уровню техники.
Насадка согласно изобретению выполнена с возможностью установки на паровыпускной патрубок кофеварки и предназначена для вспенивания жидкости, например, такой как молоко. Насадка содержит в направлении пути потока водяного пара:
паровпускное отверстие,
сужение с ограниченным поперечным сечением, выполненное с возможностью увеличения скорости потока водяного пара,
по меньшей мере, одну трубчатую часть смесительной полости, имеющую большее поперечное сечение, чем сужение, и содержащую выпускное отверстие. Кроме того, насадка содержит трубку для ввода жидкости или смеси жидкости и воздуха, причем эта трубка сообщается с путем протекания водяного пара в сужении или выше по течению от сужения.
В соответствии с одним предлагаемым аспектом изобретения насадка дополнительно содержит внешний корпус, содержащий резервуар, придающий однородность, и поверхность для прерывания струи, обращенную к отверстию, и, по меньшей мере, одно выпускное отверстие, смещенное в радиальном направлении относительно отверстия части расширенной смесительной полости.
Кроме того, внешний корпус расположен, по меньшей мере, частично вокруг трубчатой части смесительной полости. Поэтому вопросы выплескивания решаются посредством более компактной конструкции, которая лучше приспособлена для одноразового использования.
В предпочтительном варианте корпус образует резервуар, придающий однородность и имеющий кольцевой участок, который проходит концентрично вокруг трубчатой части смесительной полости. Эта конфигурация вносит вклад в более компактную конструкцию, а также работает более эффективно. Кольцевой резервуар оказывает, в частности, эффективное демпфирующее воздействие, поскольку: а) вспененная жидкость перенаправляется под углом примерно 180 градусов из точки своего выпуска на выходе из смесительной полости, и б) вспененная жидкость распределяется по большей поверхности контакта устройства, вследствие чего в этом кольцевом резервуаре появляются увеличенные силы трения, демпфирующие жидкость перед тем, как та, в конце концов, покинет устройство.
В соответствии с другим аспектом изобретения вертикальная перегородка основного корпуса насадки согласно WO 2004/054413 заменена горизонтальной перегородкой.
В соответствии с другим аспектом размеры и материал, используемый для насадки, выбирают так, что насадка может выдавать вспененную жидкость лишь на протяжении ограниченного количества циклов использования. Это позволяет не допустить, чтобы пользователь применял насадку на протяжении чересчур длительного периода времени.
В соответствии с еще одним аспектом изобретения перегородка между двумя частями симметрична в окружном направлении. Это преимущество не следует считать обязательно обусловленным горизонтальной перегородкой, оно может быть достигнуто и при использовании вертикальной перегородки.
Неожиданно обнаружилось, что горизонтальная перегородка может, в частности, решить вопросы утечки, сохраняя при этом преимущества простого устройства, легкости сборки, малых затрат на защиту и ограниченной долговечности по причинам безопасности.
Вышеуказанная задача решается посредством признаков независимых пунктов формулы изобретения. Зависимые пункты формулы изобретения придают дальнейшее развитие главной идее настоящего изобретения.
Смесительная полость может дополнительно содержать первое средство для прерывания сообщения энергии струе вспененной жидкости перед тем, как та покидает полость.
Насадка может быть выполнена из материала, который изнашивается, эродирует или деформируется, когда на него наталкивается горячий водяной пар.
Насадка может быть выполнена, например, из полипропилена (ПП) или полиамида.
Обе детали, составляющие основной корпус насадки, можно скрепить друг с другом (вручную или автоматически, например, с помощью роботизированного устройства). Поэтому облегчается сборка устройства во время изготовления, а это удешевляет его до такой степени, что можно выполнить насадку с возможностью утилизации после нескольких использований.
Средства скрепления предпочтительно имеют такую конфигурацию, что включают в себя, по меньшей мере, одно уплотнительное средство, такое как, по меньшей мере, один уплотнительный фланец, который выполнен с возможностью сопряжения, по меньшей мере, с одной выемкой. Поэтому устройство не нуждается в дополнительных уплотнительных элементах, таких как уплотнительные кольца круглого поперечного сечения и т.п. Оно не нуждается ни в каком внешнем элементе, например, таком как гнездо, для уплотнения любой из упомянутых двух деталей.
Кроме того, уплотнительный фланец может быть таким, что он придает желательные уплотнительные свойства только на ограниченное количество циклов использования.
Обе детали, составляющие основной корпус насадки, могут быть соединены друг с другом с возможностью разъединения.
Горизонтальное соединение двух деталей может содержать уплотнительное средство.
Насадка может быть выполнена таким образом, что на уплотнительное средство будет действовать усилие уплотнения.
Уплотнительное средство может содержать кольцевое ребро.
В соответствии с еще одним дополнительным вариантом осуществления настоящего изобретения насадка выполнена из материала, выбранного так, что он изнашивается, эродирует или деформируется в областях, где горячий водяной пар, поступающий из паровпускного отверстия, наталкивается на насадку, вследствие чего максимальное количество циклов использования насадки оказывается ограниченным.
В частности, когда максимальное количество циклов использования превышается, достигаемое качество вспенивания молока может ухудшиться до такой степени, что это послужит для пользователя убедительным мотивом к замене насадки.
Можно предусмотреть такое взаимодействие пути водяного пара и материала насадки, что минимальное количество циклов многократного использования составит, по меньшей мере, единицу, а максимальное количество циклов многократного использования будет ограничено 50, предпочтительно – 30, а наиболее предпочтительно – 20 или менее циклами использования.
И, наконец, изобретение относится также к кофеварке, имеющей паровыпускной патрубок и снабженной вышеупомянутой насадкой одноразового использования.
Дополнительные преимущества, признаки и задачи настоящего изобретения станут очевидными для специалиста в данной области техники по прочтении нижеследующего подробного пояснения варианта осуществления изобретения, приводимого в связи с прилагаемыми чертежами, на которых изображено:
фиг.1 – первое поперечное сечение насадки в соответствии с настоящим изобретением;
фиг.2 – сечение вдоль линии А-А согласно фиг.1;
фиг.3 – в увеличенном масштабе вид области соединения двух деталей, составляющих основной корпус насадки, соответствующей фиг.1;
фиг.4 – поперечное сечение дополнительного элемента насадки в соответствии с фиг.1-3;
фиг.5 – перспективное изображение согласно фиг.4;
фиг.6 – внешний вид насадки, содержащей дополнительный элемент, соответствующий фиг.4 и 5;
фиг.7 – в поперечном сечении вариант насадки согласно фиг.2-6;
фиг.8 – поперечное сечение насадки согласно фиг.7, извлеченной из пресс-формы, перед ее сборкой; и
фиг.9 – вид снизу насадки согласно фиг.8.
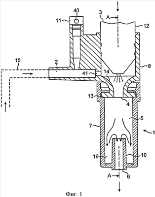
На фиг.1 показано поперечное сечение насадки 1, которая может быть установлена на паровыпускном патрубке 12 кофеварки, предназначенной для приготовления cappuccino. Паровыпускной патрубок 12 можно вставить в паровпускное отверстие 3 насадки 1, которая либо может быть приспособлена к некоторому конкретному размеру взаимодействующего с ней паровыпускного патрубка 12 (в случае, если при получении паровпускного отверстия 3 применяется неупругий материал), либо может быть приспособлена к паровыпускным патрубкам, имеющим разные размеры (в случае, если при получении паровпускного отверстия 3 применяется гибкий материал, например, такой как силикон).
В трубку 2 может быть вставлена, например, соломинка 15 для всасывания молока из источника молока.
В случае если предусматривается получение горячего молока, достаточно смешать молоко, подаваемое через трубку 2, с паром, подаваемым из паровпускного отверстия 3. В случае если следует приготовить кофе cappuccino, необходимо вспенить горячее молоко. В этой связи предусмотрен воздухозаборник 40, который оканчивается в трубке 2 для подачи молока.
Основной корпус насадки 1, т.е. обе детали 7, 8, предпочтительно изготовлен посредством литьевого формования. Поскольку воздухозаборный канал воздухозаборника 40 приходится изготавливать с большой точностью, этот воздухозаборник 40 предпочтительно выполнен как отдельно изготовленная воздухозаборная заглушка 11, т.е. как деталь, изготовленная отдельно от деталей 7, 8. Диаметр воздухозаборного канала имеет величину, например, менее 0,3 мм, а предпочтительно находится в диапазоне между 0,20 мм и 0,28 мм.
Ниже по течению от паровпускного отверстия 3 предусмотрена суженная зона 4. Благодаря законам непрерывности потока скорость водяного пара будет увеличиваться в зоне сужения 4. Это создает хорошо известный эффект трубки Вентури, т.е. в зоне 4 сужения статическое давление падает из-за увеличения скорости водяного пара. Это падение давления создает вакуумное всасывание в жидкости или смеси жидкости и газа, поступающей из трубки 2.
Аналогичный эффект Вентури также применяется для всасывания воздуха из воздухозаборника 40 в трубку 2. С этой целью в пересечении трубки 2 и пути 3 потока водяного пара предусмотрено сужение 41.
На расположенной ниже по течению стороне сужения 4 предусмотрена расширенная зона 5 с увеличенным поперечным сечением, которая замедляет и сглаживает поток вспененной жидкости, выходящий из зоны 4 сужения.
Переход от сужения 4 к расширенной зоне 5 может быть ступенчатым, что обозначено позицией 21, или – в альтернативном варианте – гладким (непрерывным), что схематически показано на чертеже и обозначено позицией 22.
Чтобы избежать выплескивания вспененной жидкости в чашку, расположенную под выпускным отверстием 6 насадки 1, в области выхода из насадки 1 предусмотрены средства 10 прерывания струи. Средства 10 прерывания струи геометрически расположены так, что, по меньшей мере, основная часть вспененной жидкости, выходящей с большой скоростью из зоны 4 сужения, не может покинуть насадку 1 непосредственно через выпускное отверстие 6, а направляется в кольцевую стабилизирующую камеру 19, окружающую выпускное отверстие 6, перед тем, как переливается в выпускное отверстие 6.
Основной корпус насадки 1 состоит из двух деталей 7, 8, которые соединяются друг с другом в перегородке, перпендикулярной пути потока водяного пара. Эту перегородку называют «горизонтальной перегородкой» (в отличие от «вертикальной перегородки», известной из документа WO 2004/054413 А1), поскольку в практических приложениях путь потока водяного пара обычно направлен вертикально вниз.
Две детали 7, 8 предпочтительно уплотнены друг с другом, не требуя третьего элемента или уплотнения.
Перегородка предпочтительно имеет форму, которая симметрична в окружном направлении, например, такую как круглая форма.
Ось перегородки обозначена позицией 9 на фиг.2 и 3.
Две детали 7, 8, составляющие основной корпус насадки 1, фактически соединены с возможностью разъединения. Они предпочтительно скреплены друг с другом.
При сцеплении двух деталей 7, 8 посредством соединения можно предусмотреть дополнительное уплотнительное средство, например, такое как, по меньшей мере, одно кольцевое ребро 13. Уплотнительное средство 13 в предпочтительном варианте может быть выполнено из того же материала, что и обе детали 7, 8, и может быть изготовлено как единое целое с одной из них.
Поскольку две детали 7, 8 разделены горизонтально, уплотнительная поверхность – по сравнению с известным уровнем техники – уже используется. Кроме того, поскольку уплотнительная поверхность симметрична в окружном направлении, ее можно изготовить с большей точностью по сравнению с продольной, несимметричной в окружном направлении перегородкой, известной из уровня техники.
Сцепления путем скрепления двух деталей 7, 8 можно достичь, например, проталкивая в осевом направлении кольцевой фланец 18 одной из этих деталей – 8 – в кольцевую выемку 20 соответствующей другой детали 7. Это можно сделать вручную или автоматически при изготовлении насадки.
Таким образом, усилие скрепления действует по всей длине уплотненного сцепления двух деталей 7, 8.
Кольцевая выемка 20 ограничена между двумя вводимыми в зацепление стенками 16, 17 первой детали 7, которые прикладывают осевую нагрузку к поверхностям раздела между этими вводимыми в зацепление стенками 16, 17 и соответствующими стенками кольцевого фланца 18. Соответственно уплотнительное усилие является осевым, т.е. параллельным главной оси насадки 1, которая также определяет направление пути потока пара.
Скрепляющее зацепление предпочтительно оказывается достаточным для гарантии непроницаемого уплотнения без дополнительной сварки, например, ультразвуковой, химической или тепловой сварки.
Насадка 1 в соответствии с изобретением предпочтительно выполнена из материала, который можно подвергнуть литьевому формованию, например, такого как полипропилен или полиамид. Эти материалы также обеспечивают изготовление насадки 1 в соответствии с настоящим изобретением при затратах, которые дают пользователю возможность утилизировать насадку после сравнительно небольшого количества циклов применения. Таким образом, пользователю больше не нужно тщательно промывать и чистить насадку, которая окажется загрязненной остатками молока после многократного применения.
Благодаря геометрической конструкции и материалам, применяемым в насадке 1, обеспечивается возможность изготавливать его так, что возможное максимальное количество циклов многократного применения оказывается меньшим, чем количество циклов применения, за которое обычно происходит бактериальное загрязнение. В предпочтительном варианте материалы и геометрическую конструкцию насадки задают такими, что после достижения количества циклов применения, составляющего от 3 до 50, предпочтительно – от 5 до 20, наиболее предпочтительно от 7 до 10, насадка больше не сможет выполнять свою функцию вспенивания. Например, жидкий пищевой продукт, такой как молоко, больше нельзя будет всасывать в устройство, потому что усилия всасывания, действующие по принципу Вентури, больше не будут достаточными и/или малые трубки окажутся заблокированными или снизится качество этих малых трубок. Например, устройство может также утратить свою непроницаемость, потому что уплотнительные средства износились, и после достижения ограниченного количества циклов могут начаться утечки.
Еще одна функция, ограничивающая многократное применение насадки, имеет место, когда воздухозаборный канал воздухозаборника 40 оказывается, по меньшей мере, частично заблокированным, например, приливами всасываемой жидкости (молока, и т.д.) в воздухозаборник 40, которые, затвердевая, заблокируют его. Как только воздухозаборник 40 окажется, по меньшей мере, частично заблокированным, вспенивание больше не будет происходить из-за недостатка воздуха.
При любом из вышеописанных сценариев функция надлежащего вспенивания, выполняемая насадкой, будет утрачена, так что пользователь получит достаточную мотивацию, чтобы утилизировать насадку и воспользоваться новыми насадками для будущих действий вспенивания.
Таким образом, материалами, предпочтительными для насадки в соответствии с настоящим изобретением, являются, например, термопластовые материалы для пищевой промышленности, которые обладают сравнительно умеренной стойкостью к многократному приложению тепла водяного пара, например, такие как полипропилен или полиамид, но не такие как, например, силикон или металлы. Геометрическую конструкцию и используемые материалы предпочтительно выбирают так, чтобы зона 14 первой детали 8 главного корпуса насадки 1 деформировалась под действием горячего водяного пара, наталкивающегося на нее на повышенной скорости и при температуре, например, 80°С. Сразу же после того, как эти зоны начинают изнашиваться или даже эродировать, больше не будут соблюдаться условия течения, обуславливающие эффект Вентури, так что функция вспенивания, выполняемая насадкой 1, претерпит видимое ухудшение.
Теперь, со ссылками на фиг.4-6, будет приведено пояснение дополнительного варианта настоящего изобретения.
Проблема, которая может возникнуть при использовании насадка, показанного на фиг.1-3, заключается в том, что ускорившийся поток водяного пара может, по меньшей мере, частично выходить непосредственно (например, не заходя в камеру 19, придающую однородность) через выпускное отверстие 6. Тогда водяной пар будет с большей энергией сталкиваться, например, с кофейной чашкой, находящейся под насадкой.
Упомянутая проблема будет возникать, в частности, когда порция молока (всасываемая через трубку 15, см. фиг.1) начнет истощаться. Поскольку всасываемое молоко снижает энергию потока водяного пара, сниженная доза всасываемого молока приведет к еще большей энергии водяного пара в выпускном отверстии 6.
Чтобы устранить эту проблему, в соответствии с настоящим изобретением можно предусмотреть внешний корпус 30, проходящий в окружном направлении вокруг внешней стенки детали 7. Этот корпус 30 может быть закреплен на внешней стенке насадки 1. Как можно заметить из фиг.4-6, внешний корпус 30 и внешняя стенка детали 7 ограничивают дополнительный резервуар 31, придающий однородность.
И опять применяется принцип переливания, так что вспененная жидкость, покидающая выпускное отверстие 6, наталкивается на поверхность 34 для прерывания струи корпуса 30, которая расположена перед выпускным отверстием 6 и на небольшом расстоянии от него. Поверхность для прерывания струи преимущественно является нижней стенкой 34 внешнего корпуса 30, так что вспененная жидкость будет затем переливаться в выпускное отверстие 32 внешнего корпуса сразу же после того, как уровень вспененной жидкости в резервуаре, придающем однородность, достигнет высоты L2, на которую выпуск 32 проходит вверх в резервуар, придающий однородность. Как показано на фиг.4 и 5, верхний конец 35 выпуска 32 заходит немного внутрь под выпускное отверстие 6 (например, на 1-2 мм ниже него).
Внешний корпус 30 содержит выпуск 32, который радиально смещен относительно главной оси насадки 1 (и не коаксиален ей). Таким образом, выпуск 32 также радиально смещен относительно выпускного отверстия 6, сужения 4 Вентури и/или отверстия 3 для подачи пара.
Изобретение выявило, что такой дополнительный внешний корпус 30 можно ввести в насадку, не ухудшая вспененную текстуру продукта, покидающего выпуск 32.
На фиг.7 представлен еще один вариант насадки согласно изобретению. Те же позиции употребляются для обозначения тех же технических средств, что и в предыдущем варианте осуществления. Насадка согласно этому новому варианту осуществления образована из двух пластмассовых деталей 70, 80, полученных литьевым формованием, которые собраны воедино посредством скрепления, сварки или склеивания, или комбинаций этих методов. Первая деталь 80 как единый элемент, полученный литьевым формованием, состоит из следующих средств: паровпускного отверстия 3, трубки 2 для молока и воздухозаборной трубки 42, сообщающейся с трубкой 2 для молока, суженой зоны 4, трубчатой части расширенной смесительной полости 5, за исключением ее поперечного нижнего конца, и внешнего корпуса 30, за исключением его поперечного нижнего конца. Вторая деталь 70 образует закрывающую заглушку для нижнего конца устройства. В частности, она включает в себя поверхность 34 для прерывания струи, выпускное отверстие 32 корпуса и выпускное отверстие 6 части, которой принадлежит смесительная полость. Как и в других вариантах осуществления, выпускное отверстие 6 внутренней полости 5 проходит внутрь посредством трубчатой переливной части 10, служащей в качестве первого средства прерывания для вспененной жидкости и встречающегося с ней до того, как она выходит из смесительной полости. Таким образом, трубчатая часть крепится к низу корпуса 30 в отдельных местах посредством малой части стенок 46, 47. Обе детали 70, 80 собраны в соответствии с линией горизонтальной перегородки, т.е. проходящей поперек направления выхода вспененной жидкости.
Как показано на фиг.8, устройство можно формовать в виде одной-единственной детали посредством литьевого формования. Две детали 70, 80 формуют так, что деталь 70 крепится к детали 80 отрывной пластмассовой перемычкой 43. Для сборки устройства после формования деталь 70 отделяют, отрывая каждый конец перемычки, и устанавливают деталь 70 по прессовой посадке в открытый конец 44 детали 80. Чтобы получить более прочное и непроницаемое для текучих сред соединение, проводят сварку ультразвуком или нагревом вдоль линии 45 уплотнения.
В более широком смысле расстояние L2 обычно выбирают в зависимости от выбранных значений D1 и D2, чтобы получить оптимальные результаты вспенивания молока.
В качестве неограничительной иллюстрации примера хорошей работы, которая была достигнута посредством многочисленных приближений и испытаний, отметим, что нижеследующие размеры (см. фиг.4) выявлены как предпочтительные для получения вспененного продукта:
диаметр D2 выпускного отверстия 32 предпочтительно больше, предпочтительно – в 2 или более раз больше, чем диаметр D1 выпускного отверстия 6;
осевое расстояние между выпускным отверстием 6 и нижней стенкой 34 внешнего корпуса предпочтительно составляет более 3,0 мм, или даже более 4,0 мм.
Формула изобретения
1. Насадка, выполненная с возможностью установки на паровыпускной патрубок кофеварки и предназначенная для вспенивания жидкости, например, такой как молоко, причем насадка (1) содержит в направлении пути потока водяного пара паровпускное отверстие (3), сужение (4) с ограниченным поперечным сечением, выполненное с возможностью увеличения скорости потока водяного пара, по меньшей мере, одну трубчатую часть смесительной полости (5), имеющую большее поперечное сечение, чем сужение (4), и содержащую выпускное отверстие (6), при этом насадка (1) дополнительно содержит трубку (2) для жидкости или смеси жидкости и воздуха, причем эта трубка сообщается с путем протекания водяного пара в сужении (4) или выше по течению от сужения (4), отличающаяся тем, что она дополнительно содержит внешний корпус (30), содержащий резервуар (31), придающий однородность, и поверхность (34) для прерывания струи, обращенную к отверстию (6), и, по меньшей мере, одно выпускное отверстие (32), смещенное в радиальном направлении относительно выпускного отверстия (6) части расширенной смесительной полости, и тем, что внешний корпус (30) расположен, по меньшей мере, частично вокруг трубчатой части смесительной полости (5).
2. Насадка по п.1, отличающаяся тем, что корпус (30) образует резервуар (31), придающий однородность и имеющий кольцевой участок, который проходит концентрично вокруг трубчатой части смесительной полости (5).
3. Насадка по п.2, отличающаяся тем, что корпус (30) образует часть трубки, в которой заключена вся трубчатая часть смесительной полости (5).
4. Насадка по п.1, отличающаяся тем, что эта насадка (1) выполнена из материала, который изнашивается, когда подвергается многократному воздействию водяного пара.
5. Насадка по п.1, отличающаяся тем, что эта насадка (1) выполнена из полипропилена или полиамида.
6. Насадка по п.1, отличающаяся тем, что паровпускное отверстие (3), сужение (4) и расширенная часть смесительной полости (5) ограничены двумя деталями (7, 8; 70; 80), которые горизонтально разделены (9) и уплотнены относительно пути потока водяного пара.
7. Насадка по п.6, отличающаяся тем, что две детали (7, 8; 70; 80) соединены друг с другом с возможностью разъединения.
8. Насадка по п.7, отличающаяся тем, что две детали (7, 8; 70; 80) скреплены друг с другом.
9. Насадка по п.7 или 8, отличающаяся тем, что горизонтальная перегородка двух деталей содержит уплотнительные средства (13, 45).
10. Насадка по п.9, отличающаяся тем, что уплотнительные средства содержат, по меньшей мере, один кольцевой фланец (18).
11. Насадка по п.6, отличающаяся тем, что две детали (70, 80) сварены.
12. Насадка по п.1, отличающаяся тем, что выпускное отверстие (32) образует малую часть (10), которая выступает внутри над поверхностью (34) для прерывания струи.
13. Насадка, выполненная с возможностью установки на паровыпускной патрубок (12) кофеварочной машины и предназначенная для вспенивания жидкости, например, такой как молоко, причем насадка (1) содержит в направлении пути потока водяного пара паровпускное отверстие (3), сужение (4) с ограниченным поперечным сечением, выполненное с возможностью увеличения скорости потока водяного пара, и по меньшей мере, одну трубчатую часть (5), ограничивающую смесительную полость, имеющую большее поперечное сечение, чем сужение, из которой сливается вспененная жидкость, при этом насадка (1) дополнительно содержит трубку (2) для жидкости или смеси жидкости и воздуха, причем эта трубка сообщается с путем протекания водяного пара в сужении (4) или выше по течению от сужения (4), отличающаяся тем, что паровпускное отверстие (3), сужение (4) и трубчатая часть (5) ограничены двумя деталями (7, 8), которые горизонтально разделены (9) и уплотнены относительно пути потока водяного пара.
14. Насадка, выполненная с возможностью установки на паровыпускной патрубок кофеварочной машины и предназначенная для вспенивания жидкости, например такой, как молоко, причем насадка (1) содержит в направлении пути потока водяного пара паровпускное отверстие (3), сужение (4) с ограниченным поперечным сечением, выполненное с возможностью увеличения скорости потока водяного пара, и по меньшей мере, одну трубчатую часть смесительной полости (5), имеющую большее поперечное сечение, чем сужение (4), из которой сливается вспененная жидкость, при этом насадка (1) дополнительно содержит трубку (2) для жидкости или смеси жидкости и воздуха, причем эта трубка сообщается с путем протекания водяного пара в сужении (4) или выше по течению от сужения (4), отличающаяся тем, что насадка (1) выполнена из материала, который выбран так, что он изнашивается в областях, где пар из паровпускного отверстия (3) наталкивается на него многократно, и поэтому максимальное количество циклов использования ограничено.
15. Насадка по п.14, отличающаяся тем, что она геометрически скомпонована так, что при превышении максимального количества циклов использования качество получаемой пены ухудшается.
16. Насадка по п.14, отличающаяся тем, что она геометрически скомпонована так, что при превышении максимального количества циклов использования молоко и/или воздух больше не всасываются в насадку.
17. Насадка по п.16, отличающаяся тем, что она геометрически скомпонована так, что при превышении максимального количества циклов использования эта насадка дает утечку.
18. Насадка по п.16, отличающаяся тем, что взаимодействие пути водяного пара и материала насадки (1) выбрано таким, что количество циклов использования ограничены величиной от 1 до 50, а предпочтительно – от 5 до 20 циклов.
19. Насадка по п.16, отличающаяся тем, что эта насадка (1) изготовлена из полипропилена или полиамида.
РИСУНКИ
|
|