|
|
(21), (22) Заявка: 2008131233/13, 28.07.2008
(24) Дата начала отсчета срока действия патента:
28.07.2008
(43) Дата публикации заявки: 10.02.2010
(46) Опубликовано: 20.05.2010
(56) Список документов, цитированных в отчете о поиске:
RU 2327367 С2, 27.01.2008. RU 2087107 C1, 20.08.1997. RU 2168911 C1, 20.06.2001.
Адрес для переписки:
428003, г.Чебоксары, ул. Карла Маркса, 29, ФГОУ ВПО “Чувашская ГСХА”, Г.В. Новиковой
|
(72) Автор(ы):
Кириллов Николай Кириллович (RU), Новикова Галина Владимировна (RU), Яруткин Евгений Алексеевич (RU)
(73) Патентообладатель(и):
Федеральное государственное образовательное учреждение высшего профессионального образования “Чувашская государственная сельскохозяйственная академия” (RU)
|
(54) УСТАНОВКА ДЛЯ МИКРОНИЗАЦИИ ЗЕРНА
(57) Реферат:
Изобретение относится к сельскому хозяйству, в частности к кормопроизводству. Установка имеет каркасную раму в виде сварной конструкции металлического профиля, на разных ярусах которой расположены полки с покрытием из неферромагнитного материала, расположенные поярусно и установленные на полках на диэлектрические опоры два генератора СВЧ энергии, размещенный между генераторами СВЧ инфракрасный облучатель с галогенными лампами, установленный вертикально по центру функционального модуля установки фторопластовый короб, проходящий последовательно через генераторы СВЧ и имеющий вставку из кварцевого стекла в зоне воздействия ИК-лучей, загрузочный бункер, тарельчатый дозатор с питающим бункером и приемный бункер для микронизированного зерна. Верхний конец фторопластового короба соединен с загрузочным бункером, а другой его конец входит внутрь питающего бункера тарельчатого дозатора. Тарельчатый дозатор состоит из тарелки, манжеты и выгрузного рукава. Приемный бункер для микронизированного зерна установлен под питающим бункером. Функциональный модуль установки полностью закрыт корпусом – экраном, препятствующим потере ИК-излучений и отрицательному воздействию электрического поля СВЧ на обслуживающий персонал. Использование изобретения позволит повысить качество микронизации зерна, увеличить скорость процесса, а также снизить удельные энергозатраты. 3 ил.
Изобретение относится к сельскому хозяйству, в частности к кормопроизводству.
Известна установка для термообработки зернового сырья УТЗ-4 (“Микронизатор”) производства компании “Старт” [1], предназначенная для термообработки злаковых культур (пшеница, ячмень, рожь, овес), а также любого другого зернового сырья инфракрасным методом. Установка включает в себя ленточный конвейер с лентой из жаропрочного материала. Скорость ленты, время нахождения продукта под нагревательными блоками, толщина слоя зерна на ленте регулируются. Рабочая нагревательная камера с инфракрасными лампами находится над лентой. Недостатком данной установки являются большие удельные энергозатраты.
Известна установка высокотемпературной микронизации ВТМ-02 [2], предназначенная для термообработки сыпучих продуктов, в частности зерна, круп, семян, комбикормов для молодняка и т.п. ВТМ – высокотемпературная микронизация – процесс быстрого нагрева пищевых продуктов, в данном случае в потоке инфракрасного (ИК) излучения. Установка ВТМ-02 отличается от существующих аналогов расположением линейчатых ИК-излучателей (поперек транспортера с переменным шагом) и использованием спецматериалов для отражателей, что повышает ресурс ИК-излучателей и эффективность термообработки. Недостатком данной установки являются большие удельные энергозатраты.
Наиболее близким аналогом заявленного устройства является малогабаритная сверхвысокочастотная установка тепловой обработки зерновых культур МЗ-1 “Микронизатор-1” (разработчик ФГУП “Таганрогский научно-исследовательский институт связи”) [3], которая с помощью электрофизических методов (последовательное воздействие на зерно конвективного нагрева и энергии СВЧ-поля) осуществляет тепловую обработку зерна. В СВЧ-камере происходит равномерный и интенсивный нагрев всего объема зерна. В «капсуле» зерна осуществляется переход воды из жидкого состояния в газообразное. Образовывающееся в центре зерна избыточное давление приводит к взрыву (микронизации) зерна. Недостатками данной установки является сложность конструкции и большие удельные энергозатраты.
Технический результат заключается в повышении качества обработки и увеличении скорости процесса микронизации за счет последовательного воздействия СВЧ- и ИК-излучений.
Указанный технический результат достигается тем, что между поярусно расположенными СВЧ-генераторами установлены источники ИК-лучей, причем через рабочие камеры СВЧ-генераторов проложен радиопрозрачный короб, со вставкой из кварцевого стекла на уровне ИК-облучателей, при этом концы короба соединены с загрузочным бункером и с тарельчатым дозатором.
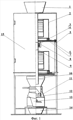
На фиг.1 представлена установка для микронизации зерна (общий вид);
на фиг.2 представлен СВЧ-генератор с коробом из радиопрозрачного материала;
на фиг.3 представлено расположение короба по отношению к ИК-облучателю.
Установка для микронизации зерна (фиг.1), включает в себя загрузочный бункер 1, два генератора СВЧ энергии 2, расположенные поярусно. Между ними установлен инфракрасный облучатель 3 с галогенными лампами 4. Каркасная рама 5 установки представляет собой сварную конструкцию металлического профиля, на разных ярусах которой расположены полки 6 с покрытием из неферромагнитного материала (алюминий). СВЧ-генераторы 2 установлены на диэлектрические опоры 7, расположенные на полках 6. Фторопластовый короб 8, установленный вертикально, по центру функционального модуля установки, и проходящий последовательно через два СВЧ-генератора, имеет вставку из кварцевого стекла 9 в зоне воздействия ИК-лучей. Верхний конец короба соединен с загрузочным бункером 1, а другой его конец входит внутрь питающего бункера 10 тарельчатого дозатора. Дозатор состоит из следующих основных элементов: тарелка 11, манжета (заслонка) 12, выгрузной рукав 13. Под дозатором установлен приемный бункер 14 для микронизированного зерна. Функциональный модуль полностью закрыт алюминиевым корпусом-экраном 15, что препятствует потере ИК-излучений и отрицательному воздействию электрического поля СВЧ на обслуживающий персонал.
Установка работает следующим образом. Из загрузочного бункера 7 зерно поступает во фторопластовый короб 8. Включают тарельчатый дозатор, СВЧ-генераторы и ИК-облучатель, после чего по коробу зерно транспортируется с определенной скоростью. Во время движения зерна через короб происходит последовательное воздействие на него электромагнитных излучений (СВЧ-, ИК-, СВЧ-излучений). При движении через СВЧ-генераторы 2 зерно подвергается воздействию электрического поля сверхвысокой частоты и нагревается эндогенно. Дополнительно между СВЧ-генераторами 2 зерно подвергается воздействию инфракрасного излучения от облучателя 3. При этом за счет избыточного давления и экзо-эндогенного нагрева происходит микронизация зерна, т.е. «взрыв» зерна. ИК-лучи пронизывают слой зерна, равномерно нагревая его по толщине. При высокой температуре (порядка 85 100°С) и из-за высокого давления внутри зерна происходит его механическое разрушение. Структура зерна становится более пористой, рыхлой; основной компонент зерна – крахмал – частично превращается в декстрины и сахара, которые легче усваиваются организмом животного; происходит снижение плотности зерновки; содержание водорастворимых веществ увеличивается, что положительно влияет на органолептические свойства и консистенцию продукта. Наряду с этим происходит и полное уничтожение как внешней, так и внутренней микрофлоры. Из короба зерно поступает на вращающуюся тарелку 11 дозатора. Толщину слоя зерна на диске регулируют положением заслонки 12 тарельчатого дозатора, что приводит к изменению скорости прохождения зерна через установку и соответственно экспозиции воздействия электромагнитных излучений. Выгрузка микронизированного зерна осуществляется через выгрузной рукав 13 тарельчатого дозатора в приемный бункер для сбора зерна 14. Так как весь функциональный модуль заэкранирован листом из неферромагнитного материала, излучение СВЧ энергии в окружающую среду отсутствует.
Источники информации
Формула изобретения
Установка для микронизации зерна, характеризующаяся тем, что она имеет каркасную раму в виде сварной конструкции металлического профиля, на разных ярусах которой расположены полки с покрытием из неферромагнитного материала, расположенные поярусно и установленные на полках на диэлектрические опоры два генератора СВЧ энергии, размещенный между генераторами СВЧ инфракрасный облучатель с галогенными лампами, установленный вертикально по центру функционального модуля установки фторопластовый короб, проходящий последовательно через генераторы СВЧ и имеющий вставку из кварцевого стекла в зоне воздействия ИК-лучей, загрузочный бункер, тарельчатый дозатор с питающим бункером и приемный бункер для микронизированного зерна, при этом верхний конец фторопластового короба соединен с загрузочным бункером, а другой его конец входит внутрь питающего бункера тарельчатого дозатора, состоящего из тарелки, манжеты и выгрузного рукава, приемный бункер для микронизированного зерна установлен под питающим бункером, а функциональный модуль установки полностью закрыт корпусом – экраном, препятствующим потере ИК-излучений и отрицательному воздействию электрического поля СВЧ на обслуживающий персонал.
РИСУНКИ
|
|