|
|
(21), (22) Заявка: 2008152519/13, 29.12.2008
(24) Дата начала отсчета срока действия патента:
29.12.2008
(46) Опубликовано: 20.05.2010
(56) Список документов, цитированных в отчете о поиске:
RU 2266028 C1, 20.12.2005. RU 2261635 С1, 10.10.2005. RU 2221465 С2, 27.08.2003.
Адрес для переписки:
400002, г.Волгоград, пр. Университетский, 26, В.Н. Хаврониной, А.В. Кузнецову, ВГСХА
|
(72) Автор(ы):
Шапров Михаил Николаевич (RU), Сёмин Дмитрий Викторович (RU), Кузнецов Александр Васильевич (RU)
(73) Патентообладатель(и):
Федеральное государственное образовательное учреждение высшего профессионального образования Волгоградская государственная сельскохозяйственная академия (RU)
|
(54) МАШИНА ДЛЯ УДАЛЕНИЯ КОРЫ С ПЛОДОВ БАХЧЕВЫХ КУЛЬТУР
(57) Реферат:
Изобретение относится к сельскохозяйственному машиностроению и может быть использовано в пищевой промышленности для переработки плодов бахчевых культур. Машина содержит раму, питающий лоток, опорный валец, игольчатый валец, прижимной валец, фрезерный барабан, транспортер очищенных кусков и транспортер отделенной коры. Фрезерный барабан установлен в полости рамы машины с помощью держателя и четырехзвенного параллелограммного механизма, за счет которого обеспечивается постоянный угол резания. Фрезерный барабан опирается на кусок плода регулируемым копирующим колесом. Оси вращения опорного вальца, игольчатого вальца, прижимного вальца, фрезерного барабана и регулируемого копирующего колеса выполнены параллельными. Поверхности опорного и прижимного вальцов выполнены обрезиненными, а игольчатого вальца – обрезиненной и игольчатой. Встречно вращающиеся опорный и прижимной вальцы, взаимно соединенные синхронизующей передачей, имеют индивидуальный электропривод. Игольчатый валец и фрезерный барабан вращаются навстречу поступающему куску плода и снабжены индивидуальными электроприводами, электрически соединенными с промышленной сетью посредством частотных преобразователей для бесступенчатого изменения угловых скоростей приводных валов. Использование изобретения позволит повысить качество удаления коры с плодов бахчевых культур. 2 ил.
Изобретение относится к сельскохозяйственному машиностроению и может быть использовано в пищевой промышленности для переработки плодов бахчевых культур, в частности твердокорых удлиненных плодов, в т.ч. тыквы, дыни, арбуза и кабачка.
Известна машина для выделения семян из плодов бахчевых культур, включающая раму, привод, загрузочный бункер, нож и фиксирующий механизм, последний выполнен в виде двух транспортеров, установленных друг над другом с зазором, уменьшающимся в направлении движения плода, причем рабочая ветвь верхнего транспортера подпружинена, а нижний транспортер выполнен прутковым, а под его верхней ветвью на всю ширину установлен узел подачи воды, выполненный в виде щелевой наладки (SU, авторское свидетельство 1708258, кл. А23N 4/12. Машина для выделения семян из плодов бахчевых культур./ Цепляев А.Н., Шапров М.Н., Бороменский В.П. (СССР). – Заявлено 19.12.1989; опубл. 30.01.1992).
К недостаткам описанной машины относятся ограниченные функциональные возможности.
Известно устройство для удаления кожуры с поверхности бахчевых культур и корнеклубнеплодов, содержащее раму, бункер, приводной барабан со щетками на внутренней поверхности и установленной в полости барабана параллельно его оси вращения дополнительной щеткой, каждая из которых образована пакетом элементов в виде отрезков металлического многожильного каната, установленных с возможностью изменения длины рабочих участков в расположенной параллельно оси вращения барабана трубе с продольной прорезью, образующей цилиндрическую выемку для ограничения рабочей длины лопасти фиксатором гибких элементов, чередующиеся жесткие нажимные шайбы и цилиндрические втулки, выполненные из упругого материала и соединенные между собой посредством шпильки с гайками на ее резьбовых концах, при этом диаметр нажимных шайб меньше внутреннего диаметра цилиндрической выемки, транспортер очищенных плодов и транспортер отделенной кожуры, в котором каждая основная щетка установлена с возможностью изменения угла наклона к радиальной плоскости барабана и снабжена механизмом изменения ее величины, при этом названный механизм выполнен в виде дисков, размещенных на концах трубы с продольной прорезью и снабженных дуговыми пазами, посредством которых щетка закреплена на барабане; регулируемая величина угла наклона основной щетки к диаметральной плоскости барабана выполнена в пределах ±40°; на концах шпильки в полости труб размещены дистанционные втулки (патент RU 2221465, кл. А23N 7/00. Устройство для удаления кожуры с поверхности плодов бахчевых культур и корнеклубнеплодов. / Цепляев А.Н., Шапров М.Н., Абезин В.Г., Карпунин В.В., Салдаев A.M. (RU). – Заявлено 08.02.2002; опубл. 20.01.2004).
Описанная конструкция устройства для удаления кожуры с поверхности плодов бахчевых культур при удалении коры с твердокорых сортов тыквы имеет низкую техническую и эксплуатационную надежность.
Известна машина для удаления коры с плодов, преимущественно тыквы, содержащая раму, бункер, приводной барабан со щетками, дополнительную щетку, имеющую возможность вертикального и горизонтального смещения, транспортер очищенных плодов и транспортер отделенной коры, обрезиненный валок и сепаратор в виде усеченного конусного барабана, на поверхности которого имеется сталкиватель плодов (патент RU 2266028, кл. А23N 7/00. Машина для удаления коры с плодов, преимущественно тыквы. / Цепляев А.Н., Шапров М.Н., Семин Д.В., Салдаев A.M. (RU). – Заявлено 22.07.2004; опубл. 20.12.2005).
Представленная машина для удаления коры с плодов, преимущественно тыквы, требует предварительной калибровки плодов и не может быть использована для удаления коры с плодов удлиненной формы.
Сущность заявленного изобретения заключается в следующем.
Задача, на решение которой направленно заявленное изобретение – повышение качества удаления коры с плодов бахчевых культур, в частности твердокорых удлиненных плодов тыквы, дыни, арбуза и кабачка.
Технический результат – повышение технической и эксплуатационной надежности.
Указанный технический результат достигается тем, что в известной машине для удаления коры с плодов бахчевых культур, содержащей раму, питающий лоток, опорный валец, игольчатый валец, прижимной валец, фрезерный барабан, транспортер очищенных кусков и транспортер отделенной коры, согласно изобретению фрезерный барабан установлен в полости рамы машины с помощью держателя и четырехзвенного параллелограммного механизма, за счет которого обеспечивается постоянный угол резания, при этом он опирается на кусок плода регулируемым копирующим колесом, оси вращения опорного вальца, игольчатого вальца, прижимного вальца, фрезерного барабана и регулируемого копирующего колеса выполнены параллельными, поверхности опорного и прижимного вальцов выполнены обрезиненными, а игольчатого вальца – обрезиненной и игольчатой, встречно вращающиеся опорный и прижимной вальцы, взаимно соединенные синхронизующей передачей, имеют индивидуальный электропривод, игольчатый валец и фрезерный барабан вращаются навстречу поступающему куску плода и снабжены индивидуальными электроприводами, электрически соединенными с промышленной сетью посредством частотных преобразователей для бесступенчатого изменения угловых скоростей приводных валов.
Изобретение поясняется чертежами.
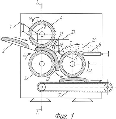
На фиг.1 схематично представлена машина для удаления коры с плодов бахчевых культур, вид сбоку.
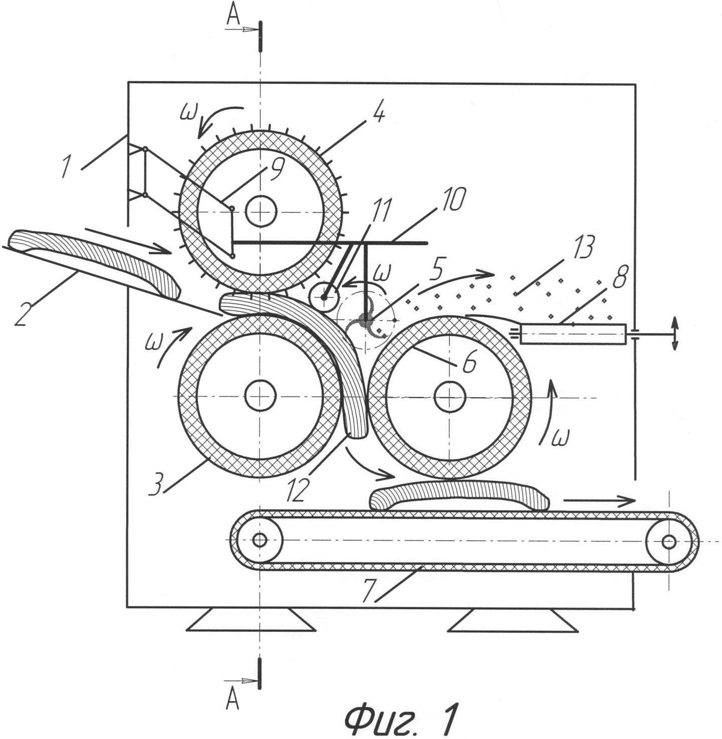
На фиг.2 – сечение А-А на фиг.1, поперечно-вертикальный разрез обрезиненного игольчатого вальца, опорного вальца, транспортера очищенных кусков и положение горизонтально расположенных за ними копирующего колеса и фрезерного барабана.
Сведения, подтверждающие возможность реализации заявленного изобретения, заключаются в следующем.
Машина для удаления коры с плодов бахчевых культур содержит раму 1, установленные на ней питающий лоток 2, опорный валец 3, игольчатый валец 4, фрезерный барабан 5, прижимной валец 6, транспортер очищенных кусков 7 и транспортер отделенной коры 8.
Фрезерный барабан 5 установлен в полости рамы машины с помощью держателя 10 и четырехзвенного параллелограммного механизма 9, который позволяет сохранять постоянный угол резания при копировании поверхности куска. При этом фрезерный барабан 5 опирается на кусок плода регулируемым копирующим колесом 11.
Оси вращения опорного вальца 3, игольчатого вальца 4, фрезерного барабана 5, прижимного вальца 6 и регулируемого копирующего колеса 11 выполнены параллельными.
Поверхности опорного 3 и прижимного 6 вальцов выполнены обрезиненными. Поверхность игольчатого вальца 4 – обрезиненной и игольчатой.
Встречно вращающиеся опорный 3 и прижимной 6 вальцы, взаимно соединенные синхронизующей передачей, имеют индивидуальный электропривод в виде мотор-редуктора. Электродвигатели мотор-редукторов соединены с промышленной электрической сетью напряжением 380 В и частотой колебаний фаз 50 Гц посредством частотных преобразований для бесступенчатого изменения угловых скоростей приводных валов.
Игольчатый валец 4 и фрезерный барабан 5 вращаются навстречу поступающему куску плода и снабжены индивидуальными электроприводами, электрически соединенными с промышленной сетью посредством частотных преобразователей для бесступенчатого изменения угловых скоростей приводных валов.
Машина для удаления коры с плодов бахчевых культур работает следующим образом.
Предварительно разрезанные по длине под средний размер куски плодов 12 бахчевых культур по лотку 2 поступают в пространство между вращающимися опорным вальцом 3 и игольчатым вальцом 4, захватываются ими и перемещаются в направлении фрезерного барабана 5, который, опираясь копирующим колесом 11 на поверхность куска 12, срезает с него стружку, равную толщине коры. Отделенная кора 13 крылом фрезерного барабана 5 отбрасывается на транспортер отделенной коры 8 и с его помощью выводится из полости рамы 1 машины.
В процессе дальнейшего перемещения кусок плода 12 попадает в пространство между опорным 3 и прижимным 6 вальцами, за счет чего куску плода придается дополнительная устойчивая ориентация и поступательное движение. После удаления коры с поверхности всего куска плода 12, он сходит на транспортер очищенных плодов 7 и выводится из полости рамы.
Направления вращений приводных валов описанных рабочих органов стрелками показаны на фиг.1 и фиг.2.
Таким образом, происходит удаление коры с поверхности куска плода 12. Описанная совокупность установленных рабочих органов обеспечивает достижение поставленной цели.
Частотные преобразования позволяют настроить машину для удаления коры с различных плодов бахчевых культур. Этим достигается расширение диапазона применения машины.
Формула изобретения
Машина для удаления коры с плодов бахчевых культур, содержащая раму, питающий лоток, опорный валец, игольчатый валец, прижимной валец, фрезерный барабан, транспортер очищенных кусков и транспортер отделенной коры, отличающаяся тем, что она снабжена фрезерным барабаном, установленным в полости рамы машины с помощью держателя и четырехзвенного параллелограммного механизма, за счет которого обеспечивается постоянный угол резания, при этом он опирается на кусок плода регулируемым копирующим колесом, оси вращения опорного вальца, игольчатого вальца, прижимного вальца, фрезерного барабана и регулируемого копирующего колеса выполнены параллельными, поверхности опорного и прижимного вальцов выполнены обрезиненными, а игольчатого вальца обрезиненной и игольчатой, встречно вращающиеся опорный и прижимной вальцы, взаимно соединенные синхронизующей передачей, имеют индивидуальный электропривод, игольчатый валец и фрезерный барабан вращаются навстречу поступающему куску плода и снабжены индивидуальными электроприводами, электрически соединенные с промышленной сетью посредством частотных преобразователей для бесступенчатого изменения угловых скоростей приводных валов.
РИСУНКИ
|
|