Патент на изобретение №2389183

Published by on




РОССИЙСКАЯ ФЕДЕРАЦИЯ



ФЕДЕРАЛЬНАЯ СЛУЖБА
ПО ИНТЕЛЛЕКТУАЛЬНОЙ СОБСТВЕННОСТИ,
ПАТЕНТАМ И ТОВАРНЫМ ЗНАКАМ
(19) RU (11) 2389183 (13) C1
(51) МПК

A01N1/00 (2006.01)

(12) ОПИСАНИЕ ИЗОБРЕТЕНИЯ К ПАТЕНТУ

Статус: по данным на 09.08.2010 – действует

(21), (22) Заявка: 2008145834/15, 19.11.2008

(24) Дата начала отсчета срока действия патента:

19.11.2008

(46) Опубликовано: 20.05.2010

(56) Список документов, цитированных в отчете о
поиске:
RU 2294638 C1, 10.03.2007. RU 2328117 С1, 10.07.2008. RU 2005129308 A, 10.06.2006. SU 1403399 A1, 27.09.1996. JP 2002-275001, 25.09.2002. JP 08-133901, 28.05.1996. JP 2001-161733, 19.06.2001. US 4263278 A, 21.04.1981.

Адрес для переписки:

654005, Кемеровская обл., г. Новокузнецк, пр. Строителей, 5, НГИУВ, патентный отдел

(72) Автор(ы):

Бондарев Олег Иванович (RU),
Минкин Анатолий Павлович (RU)

(73) Патентообладатель(и):

Бондарев Олег Иванович (RU)

(54) СПОСОБ ВВЕДЕНИЯ КОНСЕРВИРУЮЩЕГО РАСТВОРА В СОСУДИСТУЮ СИСТЕМУ ТРУПА ПРИ БАЛЬЗАМИРОВАНИИ

(57) Реферат:

Изобретение относится к области медицины, в частности, к способам бальзамирования трупов. Способ введения консервирующего раствора в сосудистую систему трупа при бальзамировании включает подачу консервирующего раствора из резервуара через эндотрахеальную трубку в легкие с давлением в режиме пульсации. На правую ветвь легочной артерии устанавливают зажим из металла с памятью формы. Вводят эндотрахеальные трубки в правый и левый бронхи. Заполняют легкие консервирующим раствором через обе трубки, чередуя подачу консервирующего раствора в легкие при давлении 0,2 атм и выпуск воздуха из легких, до тех пор, пока в принимающий резервуар не начнет поступать жидкость. Осуществляют циркуляцию смеси консервирующего раствора с трупной жидкостью, для чего из подающего резервуара смесь через эндотрахеальную трубку подают в правое легкое, производя отвод смеси через эндотрахеальную трубку левого легкого в принимающий резервуар. Смесь при переходе из принимающего резервуара в подающий резервуар фильтруют. При циркуляции система подачи смеси работает в режиме пульсации и гидроудара с ударным давлением 3,0 атм. Изобретение позволяет улучшить качество бальзамирования, обеспечить быстрое распространение раствора по всему трупу в достаточном объеме с равномерной концентрацией консерванта. 1 ил.

Изобретение относится к способам бальзамирования трупов, для их сохранения.

Впервые способ сосудистого бальзамирования стали применять в 17 веке, что описал в 1688 году Стефан Бланхард (Л.Е.Кузнецов, В.В.Хохлов, С.Р.Фадеев, В.Б.Шикеев. Бальзамирование и реставрация трупов. С.37). Доступы и инструменты для введения консервантов в сосудистую систему при бальзамировании трупа применялись разные: так итальянский врач Джузеппе Траникин в 1835 году в присутствии комиссии вскрывал сонную артерию и при помощи металлической канюли с краном вводил консервирующий раствор до полного заполнения всей сосудистой системы трупа.

Э.Миверс вводил растворы в сосудистую систему трупа через верхний сагиттальный синус при помощи троакара. Н.И.Атясов вливал консервирующие растворы через губчатые ткани костей, вводя в них иглы (Л.Е.Кузнецов, В.В.Хохлов, С.П.Фадеев, В.Б.Шигеев. Бальзамирование и реставрация трупов. – Смоленск-Москва, – 1999 г. – С.59, 184).

Д.Выводцев обнажал обе сонные и обе бедренные артерии и вводил в них Т-образные трубки, через которые подавал растворы. (Д.Выводцев. Бальзамирование и способы сохранения анатомических препаратов трупов животных. С-Петербург. – 1881 г. – С.78-79, 107-108),

Недостатки способа:

– Создается косметический дефект на трупе;

– Раствор подается только в кровеносную систему, что снижает качество обработки.

– Практически невозможно повторное введение консервирующих растворов в сосудистую систему трупа и дренирование.

Наиболее близким способом к заявленному является способ введения консервантов в сосудистую систему трупа для бальзамирования через эндотрахеальную трубку в легкие, в режиме пульсации, начиная с давления 0,2 атм, и при заполнении легких давление поднимают до 1,0 атм. (А.П.Минкин, В.А.Рыков, Б.Г.Каширин, К.Б.Каширин, Н.В.Минкина. Патент на 2294638 от 10.03. 2007 г., МКИ A61N 1/00).

Недостатки данного способа:

– Нет дренажа сосудистой системы трупа.

– Неравномерная концентрация вводимого консервирующего раствора при смешении с трупной жидкостью, что ухудшает качество бальзамирования.

Задачей настоящего изобретения является повышение качества бальзамирования путем лучшего распределения консерванта за счет достижения равномерного смешивания консервирующего раствора с трупной жидкостью и циркуляции жидкости в сосудистой системе трупа.

Поставленная задача достигается способом введения консервирующего раствора в сосудистую систему трупа при бальзамировании, включающим подачу консервирующего раствора из резервуара через эндотрахеальную трубку в легкие с давлением в режиме пульсации.

На правую ветвь легочной артерии устанавливают зажим из металла с памятью формы. Вводят эндотрахеальные трубки в правый и левый бронхи.

Заполняют легкие консервирующим раствором через обе трубки, чередуя подачу консервирующего раствора в легкие при давлении 0,2 атм и выпуск воздуха из легких, до тех пор, пока в принимающий резервуар не начнет поступать жидкость.

Осуществляют циркуляцию смеси консервирующего раствора с трупной жидкостью, для чего из подающего резервуара смесь через эндотрахеальную трубку подают в правое легкое, производя отвод смеси через эндотрахеальную трубку левого легкого в принимающий резервуар. Смесь при переходе из принимающего резервуара в подающий резервуар фильтруют. При циркуляции система подачи смеси работает в режиме пульсации и гидроудара с ударным давлением 3,0 атм.

Новизна изобретения

– На правую ветвь легочной артерии устанавливают зажим из металла с памятью формы. Это позволяет создать кольцевое русло и осуществить циркуляцию раствора. Зажим легко вводится с помощью ларингоскопа через рот, что не создает косметического дефекта.

– Вводят эндотрахеальные трубки в правый и левый бронхи. В начале обе трубки используются для подачи раствора путем вытеснения воздуха из легких и заполнения их консервирующим раствором, чередуя подачу консервирующего раствора в легкие при давлении 0,2 атм и выпуск воздуха из легких, до тех пор, пока в принимающий резервуар не начнет поступать жидкость. Затем при смене режима на циркулирующий, правая трубка используется для подачи смеси, а левая для отвода смеси.

– Осуществляют циркуляцию смеси консервирующего раствора с трупной жидкостью, для чего из подающего резервуара смесь через эндотрахеальную трубку подают в правое легкое, производя отвод смеси через эндотрахеальную трубку левого легкого в принимающий резервуар. Смесь фильтруют. При этом система подачи смеси работает в режиме пульсации и гидроудара с ударным давлением 3,0 атм. Это дает возможность прохождения консерванта по артериям большого круга сосудистой системы, вытесняя трупную жидкость в малый круг. Подача раствора осуществляется в легкие потому, что поверхность соприкосновения раствора с внутренней легочной поверхностью составляет у взрослого человека от 60 до 80 квадратных метров. Проникновение раствора происходит быстро и в достаточном объеме. Режим гидроудара и пульсации позволяет улучшить прохождение раствора по сосудам различного диаметра за счет вовлечения в работу мышечного слоя стенок сосудов.

Совокупность существенных признаков изобретения в доступной литературе не найдена, следовательно, изобретение удовлетворяет критерию «новизна».

Совокупность существенных признаков изобретения позволяет улучшить качество бальзамирования за счет осуществления циркуляции жидкостей в кровеносной и лимфатической системах трупа. Обеспечивается быстрое распространение раствора по всему телу в достаточном объеме. При циркуляции достигается равномерная концентрация консерванта. Достигается ранняя фиксация ткани трупа без аутолитических изменений, что позволяет проводить гистологически и морфометрически точные замеры изучаемых структур при аутопсийном исследовании.

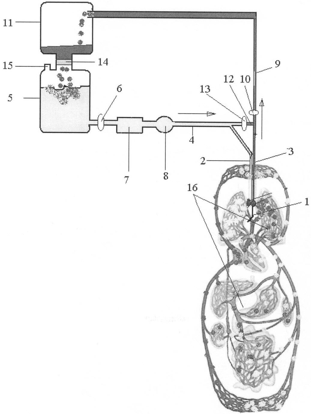
Изобретение поясняется чертежом.

На Фиг.1 представлена схема устройства для осуществления способа и схема кровообращения человека.

Способ осуществляется следующим образом

Положение трупа на спине с положенным под плечевой пояс валиком и откинутой головой кзади.

Через рот посредством ларингоскопа в трахею вводится с помощью держателя зажим 1 из металла с памятью формы. Далее зажим 1 проводят до бифуркации бронхов и через нижнюю стенку основания правого бронха и накладывают его на правую легочную артерию. Изготовление зажима 1 из материала с термомеханической памятью формы, например, из никелида титана обеспечивает восстановление первоначально заданной формы зажима 1 под воздействием нагрева. Зажим 1 перед введением помещают в хладагент, охлаждая его до t ниже 0°С, с помощью инструмента осуществляют деформацию зажима так, чтобы облегчить его проведение к месту установки. В процессе реализации эффекта формовосстановления через 20-30 сек при контактном нагревании зажима 1 до комнатной температуры, его конструкция стремится принять заданную, т.е. первоначальную форму. После формовосстановления зажим надежно фиксируется и пережимает правую легочную артерию. Форма зажима 1 может быть разной, в частности, в виде петли, шпильки с перекрещивающимися браншами. После проявления эффекта формовосстановления держатель зажима 1 удаляют.

После удаления держателя вводят эндотрахеальные трубки 2 и 3 в правый и левый бронхи и проводят вытеснение воздуха из легких, чередуя подачу раствора в них и выпуск воздуха.

Эндотрахеальная трубка 2, установленная в правый бронх, соединяется трубопроводом 4 с подающим резервуаром 5, наполненным консервирующим раствором. На трубопроводе 4 установлены последовательно кран 6, насос 7 и гидроударник 8 с регулятором давления и частоты пульсации. Эндотрахеальная трубка 3, установленная в левый бронх, соединяется трубопроводом 9 с краном 10 с принимающим резервуаром 11. Между трубопроводом 4 и 9 установлена перемычка 12 с краном 13.

Заливают в подающий резервуар 5 шесть-семь литров консервирующего раствора, при этом для вытеснения воздуха из легких и их заполнения раствором уходит 3-4 литра.

Включают насос 7, создающий давление 0,2 атм в режиме пульсации 40-100 ударов в минуту, закачивают консервирующий раствор из подающего резервуара 5, при этом кран 6 и 13 открыты, а кран 10 закрыт. Через 30 сек закрывают кран 6 и 13 и открывают кран 10. Вытесняемый из легких воздух выходит по трубопроводу 9 в принимающий резервуар 11. Повторяют порционную подачу консервирующей жидкости в легкие и выпуск воздуха из легких до тех пор, пока в принимающий резервуар 11 не начнет поступать жидкость. Это позволяет полностью удалить воздух из легких и предотвратить воздушную эмболию мелких сосудов и капилляров при циркуляции растворов, что улучшит качество бальзамирования.

Далее систему переводят в режим «циркуляции». Для чего открывают кран 6 и закрывают кран 13, открывают кран 10. При этом консервирующий раствор поступает по трубопроводу 4 через эндотрахеальную трубку 2 в правое легкое и нагнетается в сосуды трупа, а через левое легкое, через эндотрахеальную трубку 3 отводится по трубопроводу 9 в принимающий резервуар 11. Между принимающим резервуаром 11 и подающим резервуаром 5 установлен фильтр 14, через который проходит смесь консервирующего раствора с трупной жидкостью. Фильтр служит для улавливания сгустков крови, которые могут в дальнейшем при циркуляции забивать капилляры легких и мелкие сосуды, что будет ухудшать эффективность бальзамирования. Принимающий резервуар 5 имеет отверстие с пробкой 15 для заполнения консервирующим раствором. Циркуляция консервирующего раствора прекращается, когда цвет и однородность раствора в обоих резервуарах одинаковы. При бальзамировании введение консервирующих растворов осуществляют в сосудистые системы трупа, схема кровообращения представлена на фиг.1 позиция 16. В режиме «циркуляции» гидроударная система поднимает давление до 3 атм и работает в режиме пульсации 40-100 ударов в минуту. Таким способом стенки альвеол расширяются (А.Хэм, Д.Нормак. Гистология, том 4. – М.: МИР. – 1983 г. – С.225-226), что дает возможность проникать раствору в капилляры и далее в легочные вены и легочные артерии. Движению растворов по легочной артерии препятствуют сердечные клапаны, поэтому жидкость продвигается по легочным венам в левое предсердие, левый желудочек сердца в аорту и далее во всю кровеносную систему. Также раствор попадает в сосуды лимфатической системы и распространяется по ней. Далее консервант, проходя по артериям большого круга сосудистой системы, вытесняет трупную жидкость в малый круг по легочной артерии в левое легкое (правая ветвь легочной артерии закрыта зажимом – 1), откуда по эндотрахеальной трубке – 3 и трубопроводу 9 попадает в принимающий резервуар – 11, из которого через фильтр – 14 попадает в подающий резервуар 5, где трупная жидкость смешивается с консервирующим раствором и вновь подается в сосудистую систему. Отрицательное давление в герметично закрытых резервуарах – 5 и 11 возникает из-за ухода жидкости в сосудистую систему трупа посредством насоса 7.

Режим гидроудара и пульсации позволяет улучшить прохождение раствора по сосудам различного диаметра за счет вовлечения в работу мышечного слоя стенок сосудов. Способ введения консервирующего раствора в сосудистую систему трупа через легкие разработан при аутопсийном исследовании умерших в амбулаторно-поликлинической сети, когда происходит задержка по времени вскрытия по различным причинам на 3-5 дней и есть необходимость получить в дальнейшем качественный материал тканей трупа на анализ. В частности у умерших шахтеров для исследования пневмокониозов, включая как ранние, так и сформированные формы заболеваний. Для детального исследования микроструктур легких, таких как альвеолярный и бронхиальный эпителии, а также эндотелий сосудов крайне необходима ранняя фиксация ткани без аутолитических изменений. При исследовании легких в условиях патогистологических изменений в ткани исследовались паренхиматозные и стромальные элементы с выделением, раздельным взвешиванием и оценкой полуколичественным методом каждой единицы легких. В дальнейшем проводилась гистологическая оценка по степени изменений и стадийности заболеваний. На основании сравнительной оценки гистологического материала взятого в частном порядке при аутопсийном обычном исследовании и при исследовании ткани в условиях внутрисосудистого бальзамирования полностью сохраняются наиболее ранимые микроструктуры ткани без аутолитических изменений, что позволяет детально и объективно оценить состояние всех структур и в частности легких.

Пример 1: Труп мужчины 67 лет, пониженного питания, причина смерти – инфаркт миокарда. Признаков гниения нет (срок давности смерти – 4 часа).

Положение трупа на спине с валиком под плечевой пояс, с откинутой кзади головой. При помощи ларингоскопа через нижнюю стенку основания правого бронха на правую легочную артерию установлен холодный сосудистый зажим из никелида титана в форме шпильки с перекрещивающимися браншами, после формовосстановления зажима через 30 сек держатель удален и в главные бронхи легких введены эндотрахеальные трубки шириной по 6 мм.

В подающий резервуар 5 налито пять литров консервирующего раствора Выводцева (тимол – 5,0; спирт – 45,0; глицерин – 2160,0; вода – 1080,0). Удаляем из легких воздух путем замещения его консервирующим раствором за счет подачи раствора сначала в оба бронха в режиме пульсации с частотой 70 ударов в минуту с давлением 0,2 атм. После уменьшения объема консервирующего раствора в подающем резервуаре 5 на три литра и начале поступления раствора в резервуар 11 считаем легкие заполненными. Переводим систему в режим циркуляции. Для этого кран 13 закрываем, а кран 10 открываем. Пульсатор переключаем на режим гидроудара с давлением 3 атм в момент гидроудара, частота пульсации 70 ударов в минуту. Видно, что смесь консерванта с трупной жидкостью поступает в резервуар 11. При этом смесь в резервуаре 5 в начале прозрачная, а в резервуаре 11 имеет розоватый оттенок. Циркуляцию продолжали в течение 60 мин, цвет жидкости в резервуарах 5 и 11 стал одинаковым бледно-розового цвета. На кожных покровах трупа появлялись белые пятна, которые слились друг с другом. Отека лица нет. Сделана тампонада естественных отверстий и труп отправлен на хранение.

Через 10 дней признаков разложения трупа нет.

Пример 2. Труп мужчины 62 лет, пониженного питания с цианотичным оттенком кожных покровов. Причина смерти хроническая легочная сердечная недостаточность вследствие профессионального заболевания – пневмокониоза. Смерть на дому, давность наступления смерти в пределах суток. Начальные признаки аутолиза. Вскрытие и забор материала на анализ возможен только через 3 суток, поэтому проведено бальзамирование по предложенному способу.

При патологоанатомическом исследовании, включая дальнейшее детальное исследование всех систем, были определены следующие изменения:

1. Органокомплекс без признаков гниения и аутолитических изменений.

2. При микроскопическом исследовании сохранены внутриорганные соотношения без патологических гнилостных изменений.

Для установления причин смерти, а также стадии основной нозологической единицы детально исследовались легкие с маркировкой плевральной и субплевральной зоны, легочных долей и сегментов. Отдельно на исследование бралась трахея и бронхи различного диаметра. Детально изучались паренхиматозно стромальные соотношения, а также лимфатические узлы и лимфатические коллекторы. Для изучения пневмокониотического процесса необходимо исследование не только легочной ткани, но и других систем и органов. По современным воззрениям на патогенетические аспекты данной нозологии научные теории подтверждают системный характер поражения при пылевой патологии, поэтому крайне важно сохранение структурной целостности биологического материала. В результате проведенного бальзамирования были получены хорошие результаты с сохранением всех структурных единиц исследуемых органов как на органном, так и на клеточном уровне. Отдельно исследованию подвергалась сосудистая и лимфатическая системы легких, печени, почек, которая даже при обычном способе сохранения, включая раннее вскрытие, подвержена аутолитическим изменениям. В нашем случае были полностью сохранены такие структуры как эндотелиальная выстилка сосудов, гладкомышечный каркас и клетки воспалительной инфильтрации, как в стенке сосудов, так и в прилежащих периваскулярных зонах.

Таким образом, предложенный способ обеспечивает проведение основного бальзамирования в стационарных условиях, при большом введении растворов за короткий срок для длительного сохранения трупа. При выполнении предложенного способа на трупе не остается повреждений и видимых отверстий, то есть достигается хороший косметический эффект, не травмирующий родственников. Способ позволяет лучше смешать консервант с трупной жидкостью при циркуляции, улучшить распределение консерванта по телу, с проникновением в капилляры, что улучшает качество бальзамирования и получение качественного материала для исследований при различных патологических процессах в организме. Дренирование трупной жидкости позволяет избежать отеков на трупе, что улучшает его внешний вид.

Формула изобретения

Способ введения консервирующего раствора в сосудистую систему трупа при бальзамировании, включающий подачу консервирующего раствора из резервуара через эндотрахеальную трубку в легкие с давлением в режиме пульсации, отличающийся тем, что на правую ветвь легочной артерии устанавливают зажим из металла с памятью формы, вводят эндотрахеальные трубки в правый и левый бронхи, заполняют легкие консервирующим раствором через обе трубки, чередуя подачу консервирующего раствора в легкие при давлении 0,2 атм и выпуск воздуха из легких до тех пор, пока в принимающий резервуар не начнет поступать жидкость, далее осуществляют циркуляцию смеси консервирующего раствора с трупной жидкостью, для чего из подающего резервуара смесь через эндотрахеальную трубку подают в правое легкое, производя отвод смеси через эндотрахеальную трубку левого легкого в принимающий резервуар, смесь при переходе из принимающего резервуара в подающий резервуар фильтруют, при циркуляции система подачи смеси работает в режиме пульсации и гидроудара с ударным давлением 3,0 атм.

РИСУНКИ

Categories: BD_2389000-2389999