|
| На основании пункта 1 статьи 1366 части четвертой Гражданского кодекса Российской Федерации патентообладатель обязуется заключить договор об отчуждении патента на условиях, соответствующих установившейся практике, с любым гражданином Российской Федерации или российским юридическим лицом, кто первым изъявил такое желание и уведомил об этом патентообладателя и федеральный орган исполнительной власти по интеллектуальной собственности. |
|
(21), (22) Заявка: 2008150395/13, 19.12.2008
(24) Дата начала отсчета срока действия патента:
19.12.2008
(46) Опубликовано: 20.05.2010
(56) Список документов, цитированных в отчете о поиске:
RU 2145159 C1, 10.02.2000. RU 2092003 C1, 10.10.1997. Технологическое оборудование предприятий бродильной промышленности. / Под ред. И.Т. КРЕТОВА. – М.: Легкая промышленность, 1983, с.49-73.
Адрес для переписки:
109378, Москва, ул. Ак. Скрябина, 28, корп.1, кв.150, Т.Н. Данильчук
|
(72) Автор(ы):
Данильчук Татьяна Николаевна (RU)
(73) Патентообладатель(и):
Данильчук Татьяна Николаевна (RU)
|
(54) УСТРОЙСТВО ДЛЯ ПРОРАЩИВАНИЯ ЗЕРНА
(57) Реферат:
Изобретение относится к пищевой промышленности, в частности к устройствам для проращивания зерна на солод и для получения биомассы проростков. Устройство содержит емкость для зерна, в которой проводятся следующие технологические операции: промывание, замачивание, проращивание, сушка. Емкость закреплена на стойке с возможностью поворота в горизонтальной плоскости и с фиксацией положения под любым углом. Емкость представляет сосуд, верхняя и нижняя части которого разделены герметично вмонтированной металлической сеткой, являющейся сепаратором и электродом одновременно. Нижняя часть сосуда имеет форму конуса и оборудована сливным краном. В верхней части емкость закрывается крышкой, оборудованной металлическим винтом с вмонтированным в него электродом из металлической сетки. Электрод перемещается в вертикальной плоскости, размер электрода составляет 70-80% от площади крышки. Электроды выполнены с возможностью подсоединения к источнику тока. Крышка имеет сквозные отверстия, равномерно расположенные по ее поверхности. Размеры отверстий в крышке и в сетках не должны превышать размеров отдельной зерновки. Одно из отверстий крышки можно использовать для ввода термопары или термометра и выполнить с соответствующими размерами. Использование изобретения позволит интенсифицировать и оптимизировать процесс получения проростков различных культур путем сочетания нескольких факторов физического воздействия и получить продукт хорошего качества с минимальными потерями биомассы. 1 ил.
Изобретение относится к пищевой промышленности, в частности к устройствам для проращивания зерна на солод и для получения биомассы проростков.
Известно устройство для проращивания семян, содержащее емкость для воды, ложе и водопоглощающий материал (RU, патент 2092003, А01С 1/00, 1997). Недостатком этого устройства является отсутствие возможности ускорить стадию проращивания, кроме того, в таком устройстве ростки семян прорастают сквозь ткань водопоглощающего материала, что может привести к травмированию проростков и к их частичной потере.
Известно устройство для проращивания зерна на солод, содержащее отдельно стоящие солодорастительные ящики с ситчатым дном и подситовым пространством для подачи охлажденного и увлажненного воздуха, шнековый кондиционер и устройство для разгрузки проросшего солода (Технологическое оборудование предприятий бродильной промышленности / Под. ред. Кретова И.Т. – М.: Легкая промышленность, 1983. С.49-73). К недостаткам этого устройства можно отнести периодичность действия, трудность механизации процесса выгрузки солода и использование только одного фактора интенсификации процесса проращивания – кондиционирования.
Известно устройство для проращивания зерна на солод, содержащее солодовенный барабан, представляющий стальной горизонтальный цилиндр, установленный на двух парах опорных роликов (Технологическое оборудование предприятий бродильной промышленности / Под. ред. Кретова И.Т. – М.: Легкая промышленность, 1983. С.49-73), в котором зерно спокойно перемещается и не повреждается. Устройство позволяет полностью механизировать все процессы солодоращения. К недостаткам этого устройства можно отнести периодичность действия, сложность и металлоемкость, а также использование только одного фактора интенсификации процесса проращивания – кондиционирования.
Наиболее близкой по технической сущности является лабораторная установка для изучения проращивания зерна, содержащая емкость для зерна, два электрода и два слоя водопоглощающего материала, которая позволяет изменять скорость проращивания зерна при одновременном ее исследовании (RU, патент 2145159, А01С 1/00, 1/02, 2000). К недостаткам устройства можно отнести наличие в его конструкции слоев водопоглощающего материала, что в технологии получения пищевых проростков приводит к прорастанию зерна сквозь этот материал и может привести к потере ценных ростков при выгрузке и удалении материала, а также использование только одного фактора интенсификации процесса проращивания зерна – пропускание через зерновую массу постоянного электрического тока.
Задачей, решаемой настоящим изобретением, является устранение указанных недостатков и создание устройства, позволяющего реализовать несколько способов интенсификации процесса проращивания зерна при максимальной его оптимизации. Техническим результатом является сокращение времени проращивания зерна, улучшение качества полученных проростков и уменьшение потерь выращенной биомассы.
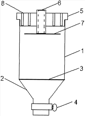
Указанный технический результат достигается за счет создания устройства для проращивания зерна. Устройство содержит емкость для зерна, в которой проводятся следующие технологические операции: промывание, замачивание, проращивание, сушка. Емкость закреплена на стойке с возможностью поворота в горизонтальной плоскости и с фиксацией положения под любым углом. Сечение емкости приведено на чертеже. Емкость представляет сосуд, выполненный из диэлектрического материала и состоящий из верхней 1 и нижней 2 части, которые разделены герметично вмонтированной металлической сеткой 3, являющейся сепаратором и электродом одновременно. Нижняя часть сосуда имеет форму конуса и оборудована сливным краном 4. В верхней части емкость закрывается крышкой 5, выполненной из диэлектрического материала. На вертикальных стенках емкости расположены средства, позволяющие фиксировать крышку (на чертеже не показаны). Крышка оборудована металлическим винтом 6 с вмонтированным в него электродом 7, выполненным из металлической сетки. Размер электрода составляет 70-80% от площади крышки. Электрод 7 перемещается в вертикальной плоскости. Электроды 3 и 7 выполнены с возможностью подсоединения к источнику тока. В качестве источника тока используют любые известные средства, обеспечивающие протекание постоянного или переменного тока необходимой величины через массу зерна, контроль силы тока и величины напряжения. Крышка имеет сквозные отверстия 8, равномерно расположенные по ее поверхности, для обеспечения доступа воздуха внутрь емкости и увлажнения зерновой массы. Размеры отверстий в крышке и в сетках не должны превышать размеров отдельной зерновки. Одно из отверстий крышки можно использовать для ввода термопары или термометра и выполнить с соответствующими размерами.
Устройство работает следующим образом. Необходимое количество предварительно очищенного от примесей зерна помещают в верхнюю часть сосуда при закрытом сливном кране (объем зерновой массы, предназначенной для проращивания, не должен превышать 50% объема емкости из-за набухания зерна) и заливают раствором антисептика для промывания. Всплывшие при промывании шлаковые частицы удаляют декантацией путем поворачивания емкости в горизонтальной плоскости на необходимый угол, остальную жидкость удаляют через сливной кран. Далее емкость заполняют водой и проводят операцию замачивания. После замочную воду удаляют через сливной кран, закрывают емкость крышкой и перемещают электрод 7 в вертикальной плоскости до такого уровня, чтобы обеспечить надежный контакт электродов с зерновой массой и проводят обработку зерна электрическим током в режиме, рекомендованном для конкретного сорта зерна и конкретной технологии. Затем приступают к операции проращивания, предварительно переместив электрод 7 в верхнее положение. Поддерживание при проращивании необходимой влажности можно проводить двумя способами:
– путем подачи охлажденного и увлажненного воздуха (воздух подают через отверстие сливного крана, при этом воздух проходит через зерновую массу и выходит в атмосферу через сквозные отверстия в крышке);
– путем подачи воды через отверстия в крышке, избыток воды удаляют через сливной кран (таким же образом можно проводить увлажнение во время воздушной паузы, если по технологии требуется проведение двух операций замачивания).
Проросшее зерно сушат нагретым воздухом путем его подачи через сливной кран (воздух проходит через зерновую массу и выходит в атмосферу через сквозные отверстия в крышке). Выгрузку проросшего зерна производят при открытой крышке путем переворачивания емкости вверх дном, для ускорения процесса можно применить пневматический способ выгрузки, используя для этого сливной кран.
Высушенные проростки используют в дальнейших операциях конкретной технологии. Если проростки предназначены для употребления в пищу в сыром виде, то их после операции проращивания хранят в сыром виде при пониженной температуре.
Таким образом, устройство согласно изобретению позволяет интенсифицировать и оптимизировать процесс получения проростков различных культур путем сочетания нескольких факторов физического воздействия и получить продукт хорошего качества с минимальными потерями биомассы.
Формула изобретения
Устройство для проращивания зерна, содержащее емкость для зерна, выполненную из диэлектрического материала, отличающееся тем, что емкость закреплена на стойке с возможностью поворота в горизонтальной плоскости и состоит из верхней и нижней частей, которые разделены герметично вмонтированной металлической сеткой, являющейся сепаратором и электродом одновременно, при этом нижняя часть емкости имеет форму конуса и оборудована сливным краном, в верхней части емкость закрывается крышкой, которая выполнена из диэлектрического материала и оборудована металлическим винтом с вмонтированным в него электродом, выполненным из металлической сетки, причем размер электрода составляет 70-80% от площади крышки, электроды выполнены с возможностью подключения к источнику тока, размеры отверстий в крышке и в сетках не превышают размеры отдельной зерновки, при этом одно из отверстий крышки можно использовать для ввода термопары или термометра и выполнить с соответствующими размерами.
РИСУНКИ
|
|