|
|
(21), (22) Заявка: 2007135726/09, 03.04.2006
(24) Дата начала отсчета срока действия патента:
03.04.2006
(30) Конвенционный приоритет:
01.04.2005 DE 102005014984.7
(43) Дата публикации заявки: 10.05.2009
(46) Опубликовано: 10.05.2010
(56) Список документов, цитированных в отчете о поиске:
US 2003209535 A1, 13.11.2003. SU 1781846 A1, 15.12.1992. SU 248101 A1, 01.01.1969.
(85) Дата перевода заявки PCT на национальную фазу:
01.11.2007
(86) Заявка PCT:
EP 2006/003020 20060403
(87) Публикация PCT:
WO 2006/103105 20061005
Адрес для переписки:
191186, Санкт-Петербург, а/я 230, “АРС-ПАТЕНТ”, пат.пов. М.В.Хмаре
|
(72) Автор(ы):
ХАЙМЕР Франц (DE)
(73) Патентообладатель(и):
ФРАНЦ ХАЙМЕР МАШИНЕНБАУ КГ (DE)
|
(54) ИНДУКТОР
(57) Реферат:
Блок (1) индукционной катушки для нагревания гильзы (3) инструментальной оправки (5), удерживающей вал (13) вращающегося инструмента в приемном отверстии (11) посредством прессовой посадки, содержащий два катушечных блока (21, 23), расстояние между которыми может регулироваться посредством, по меньшей мере, одного кулачка (43) с наклонной поверхностью. Концентратор (33) магнитного потока с элементами (55) концентратора, распределенными в окружном направлении, связан с катушечным блоком (21) и примыкает к свободному концу (15) гильзы (3). Ширина сквозного отверстия (57) для вала (13) инструмента, определяемая элементами (55) концентратора, также может регулироваться с использованием дискового кулачка (69), к которому присоединены элементы (55) концентратора посредством кулачка (73) с наклонной поверхностью. Два кулачка (43, 73) с наклонной поверхностью предпочтительно связаны между собой, что упрощает управление блоком (1). Изобретение обеспечивает равномерный нагрев оправки при различных осевых длинах участка. 22 з.п. ф-лы, 10 ил.
Область техники, к которой относится изобретение
Изобретение относится к блоку индукционной катушки для нагревания имеющей свободный конец гильзы инструментальной оправки, в которой выполнено центральное приемное отверстие для вала вращающегося инструмента. Инструментальная оправка удерживает посредством прессовой посадки вал инструмента в приемном отверстии, находящемся на одной оси с осью вращения инструментальной оправки, и освобождает его после нагревания.
Уровень техники
Из WO 01/89758 А1 известен индуктивный нагрев гильзы посредством сборной кольцеобразной катушки, по существу, окружающей гильзу коаксиальным образом. Сборная катушка подключена к высокочастотному генератору переменного тока и индуцирует вихревые токи в металлической гильзе для ее нагрева. На передних сторонах и на окружности сборной катушки располагаются элементы концентратора, выполненные из магнитно-мягкого, по существу непроводящего электричество материала, такого как феррит, или из материала подобного рода, которые направляют магнитный поток, созданный сборной катушкой, на гильзу инструментальной оправки, и в частности, на свободный конец гильзы. Участки конструкции концентратора, примыкающие к свободному концу гильзы, образованы радиально подвижными элементами. Таким образом, сквозной проход, окруженный указанными элементами, может быть подогнан к диаметру инструментальной оправки. В процессе работы указанные элементы поддерживаются на осевой передней поверхности свободного переднего конца гильзы, определяя, таким образом, осевое положение сборной катушки и концентратора, или же объединяются во время нагрева в единый блок по отношению к свободному концу гильзы. Блок индукционной катушки устанавливается в осевом направлении относительно инструментальной оправки.
Из DE 101 57 432 А1 известен аналогичный блок индукционной катушки, в котором, однако, сборная кольцеобразная катушка, окружающая гильзу во время нагрева, включает в себя два катушечных блока, расположенных друг от друга на фиксированном осевом расстоянии. Осевой участок между двумя катушками витков не имеет. Таким способом удается достигнуть того, что гильза на своем среднем участке нагревается меньше, нежели на своем концевом участке.
Гильза инструментальной оправки имеет надлежащую осевую длину, а диаметр гильзы выбирается в соответствии с диаметром вала инструмента. В обычных блоках индукционных катушек только диаметр сквозного отверстия для вала инструмента, который определяется концентратором магнитного потока, может быть приспособлен к нагреваемой инструментальной оправке. Поскольку сборная катушка имеет предварительно заданную осевую длину, то либо необходима замена катушки, либо неизбежно нагревается также и участок инструментальной оправки, который не используется для зажима вала инструмента.
Раскрытие изобретения
Задача настоящего изобретения заключается в создании блока индукционной катушки, посредством которого инструментальные оправки могут нагреваться равномерно, несмотря на различные осевые длины участка гильзы, который требуется нагреть.
Изобретение основано на блоке индукционной катушки, содержащем:
– кольцеобразную сборную катушку, концентрически окружающую гильзу в процессе нагрева;
– первый концентратор магнитного потока, выполненный из магнитно-мягкого, по существу непроводящего электричество материала, установленный на той стороне сборной катушки, которая примыкает к свободному концу гильзы, по меньшей мере, вблизи свободного конца гильзы инструментальной оправки;
– стопорные средства, работающие совместно с инструментальной оправкой, выполненные с возможностью установления осевого положения катушечного блока и первого концентратора по отношению к свободному концу гильзы в процессе нагрева.
Задача изобретения решается с помощью сборной катушки, включающей в себя два соосных катушечных блока, которые расположены на регулируемом расстоянии друг от друга, и/или второй концентратор магнитного потока, выполненный из магнитно-мягкого, по существу непроводящего электричество материала, установленный на стороне сборной катушки, удаленной от свободного конца гильзы, с возможностью регулирования осевого расстояния от первого концентратора, причем предусмотрены регулирующие средства для регулирования осевого положения двух катушечных блоков и/или двух концентраторов относительно друг друга, а также для регулирования осевого положения, по меньшей мере, одного из двух катушечных блоков и/или одного из двух концентраторов по отношению к стопорным средствам.
Участок, на котором создаваемый сборной катушкой магнитный поток генерирует в гильзе вихревые токи для ее нагрева, может определенным образом выбираться и за счет этого устанавливаться по отношению к свободному концу гильзы. Таким образом, блок индукционной катушки можно определенным образом приспосабливать к инструментальной оправке с учетом переменной длины зажимного участка гильзы.
Два катушечных блока или концентратора могут быть зафиксированы друг относительно друга или относительно корпуса или держателя блока индукционной катушки, так что осевое расстояние между катушечными блоками или концентраторами из-за действия сил магнитного поля измениться не может. Осевое положение обоих катушечных блоков и/или обоих концентраторов может быть изменено и зафиксировано относительно стопорных средств. В предпочтительном варианте осуществления, однако, предусматривается, что один из двух катушечных блоков и/или один из двух концентраторов имеет фиксированное осевое положение по отношению к стопорным средствам, и что осевое положение другого катушечного блока или второго концентратора может быть отрегулировано относительно стопорных средств с помощью регулирующих средств. Это упрощает конструкцию блока индукционной катушки, кроме того, упрощает его обслуживание во время выполнения работы, поскольку катушечный блок или концентратор, которые связаны со стопорными средствами фиксированным в осевом направлении образом, могут иметь постоянное осевое положение по отношению к свободному концу гильзы инструментальной оправки, способствуя тем самым равномерному нагреву гильзы. Предпочтительно предусмотрены регулирующие средства для обеспечения установки в заранее заданные осевые положения по отношению к стопорным средствам. Такое дискретное позиционирование упрощает обслуживание.
Два катушечных блока или два концентратора могут направляться с возможностью их перемещения по отношению друг к другу в осевом направлении. Для того чтобы обеспечить дополнительную возможность регулирования довольно малых разностей расстояния простым и воспроизводимым образом, приводное движение эффективно осуществляется посредством блока редуктора, преобразовывающего относительно большое перемещение (подачу) органа, управляемого, например, вручную, в относительно малый ход осевого позиционирования двух катушечных блоков или двух концентраторов относительно друг друга.
В особенно простом варианте осуществления предусмотрена, по меньшей мере, одна спиралеобразная управляющая поверхность, проходящая вокруг оси вращения, для направления двух катушечных блоков и/или двух концентраторов с возможностью их перемещения и поддержки относительно друг друга в осевом направлении. Наружная окружность катушечных блоков или концентраторов довольно большая, так что достигается значительное уменьшение движения наружной окружности в отношении осевого хода. Управляющая поверхность ограничена с обеих сторон в осевом направлении, например, она выполнена в виде спиральной прорези, так что управляющая поверхность эффективна по направлению оси в обоих направлениях. Предпочтительно, чтобы было предусмотрено несколько управляющих поверхностей, распределенных в окружном направлении для обеспечения симметричности радиальных сил. В противном случае имело бы место заклинивание. Следует понимать, что в случае необходимости управляющее движение может осуществляться от привода серводвигателя.
Как это описано выше, осевые силы между двумя катушечными блоками или концентраторами могут возникнуть в процессе работы за счет магнитного потока, при этом указанные силы должны восприниматься стопорным устройством. Это можно очень легко осуществить с помощью, по меньшей мере, одной управляющей поверхности, имеющей участки управляющей поверхности в предварительно заданных осевых положениях двух катушечных блоков или двух концентраторов. Указанные участки управляющей поверхности проходят относительно друг друга в ортогональных плоскостях, удерживая два катушечных блока или два концентратора в требуемом положении по направлению оси. Ортогональные участки управляющей поверхности действуют самозапирающимся образом.
Предпочтительно, чтобы каждый катушечный блок был соединен зафиксированным по направлению оси образом с концентратором. Таким образом, предпочтительно, чтобы концентраторы предотвращали распространение магнитного поля в наружном направлении. Поэтому, по меньшей мере, один из двух концентраторов содержит участок, выступающий по оси относительно другого концентратора в радиальном направлении за пределы катушечного блока, при этом указанный выступающий участок перекрывается с другим концентратором, по существу, на всем участке изменяемых в осевом направлении положений. В предпочтительном варианте оба концентратора имеют отрезки гильзы, выступающие по направлению другу к другу и сблокированные (взаимодействующие) друг с другом коаксиально телескопическим образом. Следует понимать, что сблокированные участки могут быть реализованы с помощью конструкций блокирующихся штифтов.
По меньшей мере, первый концентратор, примыкающий по направлению оси к свободному концу гильзы инструментальной оправки, предпочтительно, и второй концентратор имеют элементы концентратора, перемещаемые относительно друг друга, выполненные из магнитно-мягкого, по существу, непроводящего электричество материала, расположенные в окружном направлении вокруг оси вращения с радиальным распределением вдоль внутренней окружности катушечного блока, радиально выступая по направлению внутрь. Предусмотрена возможность изменения величины радиального нависания (выступа) за пределы внутренней окружности катушечного блока в направлении оси вращения. В таком блоке индукционной катушки может регулироваться не только осевая эффективная длина нагревания вихревым током, но также и магнитный поток, который может быть сосредоточен на свободном конце гильзы. Подходящие конструкции элементов концентратора описаны в патентном документе WO 01/89758 А1. Элементы концентратора, которые могут поворачиваться относительно катушечного блока вокруг осей поворота, проходящих параллельно оси вращения, показали себя особенно подходящими, поскольку поворотные направляющие менее склонны к отклонению, нежели линейные направляющие. Особенно подходящими являются элементы концентратора, которые имеют по существу дисковую форму, расположены напротив оси вращения и снабжены первым ободом, образующим сквозное отверстие гильзы инструментальной оправки, и вторым ободом, наклоненным под углом относительно первого обода и проходящим вдоль первого обода смежного в окружном направлении элемента концентратора. Таким образом, не остается никаких промежутков или остаются очень узкие промежутки в окружном направлении между смежными элементами концентратора даже тогда, когда элементы концентратора не перекрываются, и вращательное движение элементов концентратора вокруг своих осей вращения можно плавно контролировать.
Предпочтительно, элементы концентратора первой группы несут стопорные элементы, образующие стопорные средства на первом ободе для осевого позиционирования концентратора и связанного с ним катушечного блока относительно инструментальной оправки. Стопорные средства остаются эффективными и в том случае, когда диаметр гильзы относительно небольшой. Однако при необходимости могут быть предусмотрены и отдельные стопорные элементы.
Элементы концентратора предпочтительно выполнены с возможностью регулирования посредством общего управляющего элемента, установленного с возможностью поворота вокруг оси катушечного блока и связанного с элементами концентратора через следящий кулачок с управляющей поверхностью.
В частности, предпочтительно, что управляющий элемент соединен с предотвращением вращения с одним из двух катушечных блоков, в частности, с катушечным блоком, примыкающим к свободному концу гильзы. Таким способом осевое позиционирование двух катушечных блоков или концентраторов, а также размер сквозного отверстия для инструментальной оправки, могут регулироваться тем же самым управляющим элементом. И в этом случае управляющий элемент может приводиться ручным способом или серводвигателем. Однако такое соединение не является обязательным. Напротив, управление концентратором может осуществляться также и изолированно, посредством управления осевым позиционированием двух катушечных блоков, путем обеспечения соединения между управляющим кулачком и направляющим кольцом для осевого регулирования двух катушечных блоков, при этом указанное соединение может осуществляться, например, посредством зацепляющих штифтов. При вкладывании зацепляющих штифтов управляющий кулачок соединен с направляющим кольцом. При вынимании управляющего штифта (штифтов) управляющий кулачок отсоединяется от направляющего кольца для осевого регулирования двух катушечных блоков, а вращение управляющего кулачка позволит регулировать только концентраторы.
Сборная катушка запитана от генератора переменного тока, предпочтительно обеспечивающего высокочастотную мощность. Ток и/или частота, и/или напряжение, а возможно также и временной интервал, при которых происходит возбуждение сборной катушки, предварительно задаются хорошо известным способом, посредством управления генератором переменного тока, и таким образом, во избежание повреждений от перегрева в инструментальной оправке, зависят от размера и типа инструментальной оправки. В предпочтительном варианте осуществления предусмотрен, по меньшей мере, один позиционный датчик, связанный с катушечными блоками и/или концентраторами и выполненный с возможностью выдачи сигнала, представляющего осевое расстояние катушечных блоков и/или концентраторов, и/или радиальный выступ, по меньшей мере, первого концентратора за пределы внутренней окружности катушечного блока, причем генератор переменного тока управляется в зависимости от этого сигнала. Таким образом, ручная регулировка блока индукционной катушки на размер инструментальной оправки автоматически определяет электрическую энергию, которую генератор переменного тока должен обеспечить для нагревания указанной инструментальной оправки. В результате упрощается работа.
В качестве альтернативы может быть также предусмотрено, что осевое расстояние катушечных блоков и/или концентраторов, и/или радиальный выступ, по меньшей мере, первого концентратора регулируются посредством, по меньшей мере, одного позиционирующего привода, управляемого генератором переменного тока в зависимости от уставки. Уставка по току на генераторе переменного тока для нагреваемой инструментальной оправки и/или продолжительности подачи питания, и/или напряжению определяет также позиционирование катушечных блоков или концентраторов. Работа упрощается и в этом случае. Предпочтительно, чтобы позиционирующий привод представлял собой позиционирующий привод с шаговым электродвигателем, поэтапная работа которого являлась бы мерой для осевых положений катушечных блоков или концентраторов
Хорошо известен контроль нагревания инструментальной оправки посредством температурного датчика. Температурно-зависимый сигнал температурного датчика может быть использован для отображения фактической температуры гильзы инструментальной оправки или зависящей от пороговой величины выдачи предупреждающего сигнала, или зависящего от пороговой величины останова генератора переменного тока. Однако в обычных блоках индукционных катушек гильза лишь условно доступна для измерения температуры. В предпочтительном варианте осуществления изобретения температурный датчик установлен в осевом направлении между катушечными блоками и измеряет температуру гильзы инструментальной оправки. В этом варианте осуществления доступное пространство используется на участке, который предпочтителен для измерения температуры гильзы. В частности, температурный датчик может быть также приведен в непосредственный контакт с поверхностью гильзы, что увеличивает точность измерений.
Краткое описание чертежей
Далее приводится более подробное описание вариантов осуществления изобретения со ссылкой на чертежи, где:
Фиг.1 – осевое продольное сечение блока индукционной катушки для
нагревания инструментальной оправки;
Фиг.2а – осевой вид концентратора в максимально открытом положении.
Фиг.2b – осевой вид управляющего элемента концентратора в положении по
Фиг.2а;
Фиг.2 с – вид сверху группы элементов концентратора;
Фиг.2d – вид сверху элемента концентратора другой группы;
Фиг.2е – альтернативный вариант элементов концентратора на виде сверху;
Фиг.3а – вид сверху концентратора в минимально открытом положении;
Фиг.3b – вид сверху управляющего кулачка в положении по Фиг.3а;
Фиг.4 – частичное радиальное сечение узла регулирования, управляющего
расстоянием катушечных блоков;
Фиг.5 – осевое продольное сечение варианта осуществления блока
индукционной катушки; и
Фиг.6 – осевое продольное сечение другого варианта осуществления.
Осуществление изобретения
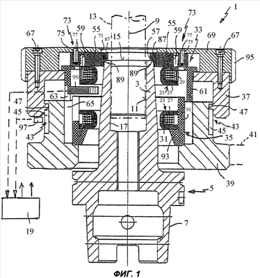
Фигуры с первой по четвертую показывают блок индукционной катушки 1 для нагревания гильзы 3 инструментальной оправки 5, которая может быть присоединена через муфту 7 к приводному шпинделю станка или подобному элементу, который более подробно не проиллюстрирован, для вращения вокруг оси вращения 9. Муфта 7 может представлять собой обычную стандартную муфту, например, такую как коническая муфта с крутым конусом, или такую, которая представлена в показанном варианте осуществления, т.е. полую муфту для сцепления валов.
Гильза 3 имеет приемное отверстие 11, концентричное с осью вращения 9, в котором во время работы удерживается вал 13 вращающегося инструмента, например сверла или наконечника фрезы, посредством прессовой посадки. Зажимной участок с прессовой посадкой отверстия 11 проходит в направлении оси только на часть осевой глубины приемного отверстия 11, а следовательно, на участке, который обеспечивает передачу требуемого крутящего момента и осевую фиксацию вала 13 инструмента. Будучи обращено в осевом направлении от свободного конца 15 гильзы, за зажимным участком следует уширение 17 диаметра, при этом в конкретном случае указанное уширение может быть незначительным.
Зажимной участок гильзы 3 может нагреваться блоком индукционной катушки 1 таким образом, что размер приемного отверстия 11 увеличивается по сравнению с валом 13 инструмента, таким образом, вал 13 инструмента может легко вставляться в приемное отверстие 11 или выниматься из него. Блок индукционной катушки 1 подключается к генератору переменного тока 19, который подает переменный ток с частотой 10 кГц или выше. Магнитный поток, созданный блоком 1, который проходит сквозь гильзу 3 по направлению оси, создает в гильзе 3 вихревые токи, нагревая, следовательно, расширяя ее. После охлаждения гильза сжимается до прежнего размера, удерживая вал 13 инструмента посредством прессовой посадки.
Для обеспечения возможности отделения вала 13 инструмента от инструментальной оправки 5 очень важно, чтобы гильза 3 расширялась за достаточно короткое время до тех пор и столь равномерно, чтобы размер приемного отверстия 11 во всех осевых положениях увеличивался относительно вала 13 инструмента, который тоже может несколько расшириться. Для обеспечения равномерного нагревания гильзы 3 блок 1 имеет два размещенных друг от друга на осевом расстоянии катушечных блока 21, 23, катушки 29, 31 которых, намотанные на корпуса 25, 27 катушек, кольцеобразно охватывают с наружной стороны гильзу 3 в радиальном направлении и, по существу, концентричны с осью вращения 9. Для каждого катушечного блока 21, 23 предназначен концентратор 33 или 35 магнитного потока, который зафиксирован по направлению оси относительно катушечного блока 21 или 23.
Катушечные блоки 21 и 23, включая связанные с ними концентраторы 33 или 35, соединены с одним направляющим кольцом 37 или 39, каждое из которых (в этом случае направляющее кольцо 39) направляется с возможностью перемещения в направляющем полозке, прикрепленном к блоку 41, проходящем параллельно оси вращения 9, который более подробно не показан, делая тем самым возможным относительное линейное перемещение блока 1 относительно инструментальной оправки 5. Два направляющих кольца 37, 39 направляются с возможностью поворота вокруг оси вращения 9 и с возможностью осевого перемещения вдоль оси вращения 9, так чтобы они могли регулировать осевое расстояние катушечных блоков 21, 23, включая связанные с ними концентраторы 33 или 35, в зависимости от длины зажимного участка гильзы 3 инструментальной оправки 5, который должен нагреваться в данный момент.
На обращенной в радиальном направлении периферической поверхности направляющих колец 37, 39 в окружном направлении распределены несколько кулачков 43 с наклонной поверхностью, по спирали вокруг оси вращения, для регулирования осевых положений двух катушечных блоков 21, 23 и связанных с ними концентраторов 33, 35 в обоих направлениях, и для обеспечения запирания за счет принудительного направления в случае относительного вращения между направляющими кольцами 37, 39.
Фиг.4 показывает детали кулачков 43 с наклонной поверхностью. Каждый из кулачков 43 с наклонной поверхностью содержит прорезь 45, проходящую по спиральной линии на одной из периферических поверхностей, в данном случае, на наружной периферической поверхности направляющего кольца 39, с которой зацепляется кулачковый выступ 47, выступающий от другой периферической поверхности, в данном случае, от внутренней поверхности направляющего кольца 37.
Кулачки 43 с наклонной поверхностью сегментированы в окружном направлении на несколько участков 49 с наклонной поверхностью, которые соединяются шаговыми участками 51, проходящими в ортогональных плоскостях. Шаговые участки 51 имеются также на обоих концах прорези 45. Участки 49 с наклонной поверхностью обеспечивают изменение осевого расстояния направляющих колец 37, 39, и следовательно, катушечных блоков 21, 23, включая связанные с ними концентраторы 33, 35, во время относительного вращения направляющих колец 37, 39. С другой стороны, шаговые участки 51 в некоторых предварительно заданных осевых положениях обеспечивают осевую взаимную блокировку направляющих колец 37, 39, так что осевые силы, возникающие в процессе работы благодаря магнитному полю катушечных блоков 21, 23, не могут изменять положение направляющих колец 37, 39. Рабочие положения 53 предназначены для различных габаритов инструментальной оправки, чтобы блок 1 мог быть отрегулирован на инструментальные оправки с другим размером с помощью простого поворота направляющих колец 37, 39 относительно друг друга. При необходимости на направляющие кольца 37, 39 или соединенные с этими кольцами компоненты наносят отметки, относящиеся к типам инструментальных оправок.
Концентраторы 33, 35 сосредотачивают магнитное поле катушечных блоков 21, 23 на гильзе инструментальной оправки 5. Концентратор 33, примыкающий к свободному концу 15 гильзы 3, образованному плоской передней стороной, которая ортогональна оси, содержит несколько элементов 55 концентратора, показанных на виде сверху на фигурах 2а и 3а, дисковые поверхности которых расположены по существу в плоскостях, ортогональных оси, и связаны друг с другом так, что они образуют сквозное отверстие 57 свободного конца 15 гильзы 3. Элементы 55 концентратора, которые выполнены полностью из магнитно-мягкого, по существу, непроводящего электричество материала, такого как феррит, поддерживаются на осевых штифтах 59, проходящих параллельно оси вращения 9, на корпусе 25 катушки катушечного блока 21, примыкающего к свободному переднему концу 15. Цилиндрическая обойма 61 гильзы, концентричная оси вращения 9, изготовленная из материала концентратора и выступающая от элементов 55 концентратора по направлению оси к другому катушечному блоку, соединяется с элементами 55 концентратора, предпочтительно примыкая к ним на радиальной наружной стороне катушечного блока 21. Катушечный блок 21 и обойма 61 гильзы поддерживаются с возможностью вращения на направляющем кольце 37, способном вращаться концентрически с осью вращения 9, однако, зафиксированным по направлению оси. Обойма 61 гильзы, включая соединенный с нею катушечный блок 21, может перемещаться по направлению оси, однако, она дополнительно направляется с предотвращением вращения на направляющем кольце 39. С этой целью на обойме 61 гильзы предусмотрены одна или более осевых прорезей 63, с которыми для предотвращения вращения зацепляется соответствующий выступ 65, соединенный с направляющим кольцом 39. Понятно, что в качестве альтернативы в направляющем кольце 39 прорезь может быть предусмотрена и в виде паза.
Управляющий кулачок 69 устанавливается на направляющем кольце 37, например, с помощью болтов 67 или расцепляемой муфты, при этом управляющий кулачок закрывает и фиксирует по направлению оси элементы 55 концентратора на стороне, обращенной в осевом направлении от катушечного блока 21. Управляющий кулачок имеет, как это показано на Фиг.2b и 3b, сквозное отверстие 71 для гильзы 3, концентричное с осью вращения 9 и соединенное с каждым из элементов 55 концентратора через кулачки 73 с наклонной поверхностью. При вращении управляющего кулачка 69 относительно направляющего кольца 39, кулачки 73 с наклонной поверхностью поворачивают элементы 55 концентратора вокруг осевого штифта 59 и, таким образом, изменяют радиальный выступ элементов 55 концентратора за пределы внутренней поверхности катушечного блока 21 в радиальном направлении относительно оси вращения 9. Кулачки 73 с наклонной поверхностью сформированы по существу спиралевидными пазами или прорезями 75 в управляющем кулачке 69 и кулачковыми выступами 77 на элементах 55 концентратора.
Как наилучшим образом видно на фигурах 2а, 3а, каждый из элементов 55 концентратора имеет первый обод 79, с помощью которого он устанавливается напротив оси вращения 9, и второй обод 81, который проходит под острым углом к концу первого обода 79, примыкающему к оси вращения 9. Ободы 79, 81 имеют вырезы 83 или 85, проходящие вдоль ободов, на которых смежные элементы 55 концентратора в окружном направлении перекрываются с взаимной блокировкой с первым ободом 79 и вторым ободом 81. Элементы 55 концентратора образуют, таким образом, по направлению вдоль окружности сквозное отверстие 57, размер которого может изменяться путем поворота управляющего кулачка 67 между максимально открытым диаметром (фиг.2а) и минимально открытым диаметром (фиг.3а).
Первый обод 79 элементов 55 концентратора, который примыкает в окружном направлении, выполнен таким образом, что в первой группе элементов 55 концентратора радиальный выступ участка, определяющего сквозное отверстие 57 первого обода 79, за внутреннюю окружность катушечного блока 21, больше, чем радиальный выступ соответствующего участка второй группы элементов 55 концентратора. Элементы 55 концентратора двух групп чередуются в окружном направлении. Как показано на фигурах 2а и 2b, радиально приподнятые участки 87 элементов 55 концентратора определяют сквозное отверстие 57 на круге с диаметром, меньшим, чем элементы 55 концентратора второй группы. Как показано на фиг.3а, таким способом можно поддерживать минимальный диаметр сквозного отверстия 57, поскольку элементы 55 концентратора второй группы по сравнению с ним в радиальном направлении уменьшаются. Две группы элементов 55 концентратора более выражены на фигурах 2с и 2d, показывающих виды сверху, в которых заметен радиальный выступ или радиально приподнятый участок 87, в частности, на фигуре 2d. В альтернативном варианте осуществления элементы 55 концентратора могут также быть идентичны друг другу, при этом данный вариант осуществления показан на фигуре 2 (на виде сверху).
Приподнятые участки 87 могут быть выполнены из магнитно-мягкого материала элементов 55 концентратора, но предпочтительно изготавливать их из теплоизолирующего материала, такого, например, как пластик или керамика, чтобы обеспечить теплоизоляцию концентратора 53 от гильзы 3, которая в процессе работы нагревается. Приподнятые участки 87 на своей стороне, обращенной в осевом направлении к катушечному блоку 21, образуют стопорные поверхности 89, с помощью которых блок 1 может быть по направлению оси размещен на свободном конце 15 таким образом, чтобы элементы 55 концентратора близко примыкали к окружности и/или к передней стороне на участке свободного конца. Элементы концентратора могут, таким образом, перекрывать окружность и/или переднюю сторону в осевом или радиальном направлениях. Однако это не является обязательным.
Концентратор 35, связанный с катушечным блоком 23, содержит обойму 91 гильзы, охватывающую на радиальной наружной стороне катушечный блок 23, концентричную с осью вращения 9 и зацепляющуюся по направлению оси с обоймой 61 гильзы телескопическим способом. Выступающий радиально внутрь кольцевой фланец 93 соединен в одно целое с обоймой 61 гильзы на стороне катушечного блока 23, обращенной по направлению оси от катушечного блока 21. Обойма 91 гильзы и кольцевой фланец 93 выполнены из материала концентратора. Катушечный блок 23, а также концентратор 35 жестко соединены с направляющим кольцом 39. Следовательно, обоймы 61, 91 гильзы в окружном направлении замкнуты. Понятно, что вместо кольцевых замкнутых гильз подходят также и имеющие форму штифта конструкции обойм, штифты которых, проходящие по направлению оси, идут в окружном направлении друг за другом и поочередно фиксируются друг в друге.
Поскольку управляющий кулачок 69 соединен с направляющим кольцом 37 для исключения момента вращения, то путем поворота управляющего кулачка 69 на зажимных ребрах, предусмотренных с этой целью на его наружной окружности в отношении работающего без вращения направляющего кольца 39, осевое расстояние катушечного блока 21, 23, а также диаметр сквозного отверстия 57 могут быть за один рабочий процесс подогнаны к нагреваемой инструментальной оправке 5. Таким образом, управление блоком 1 упрощается. Однако при необходимости управляющий диск 39 также можно отсоединить от направляющего кольца 37, в котором предусматривается соответствующее соединение обоих элементов. Например, вместо болта 67 могут также использоваться зацепляющие штифты, при этом указанные зацепляющие штифты соединяют управляющий кулачок 69 с направляющим кольцом 37 во вложенном положении. В случае если зацепляющие штифты вынуты, управляющий кулачок 69 отсоединяется от направляющего кольца 37, так что путем поворота управляющего кулачка могут регулироваться только концентраторы.
Катушечные блоки 21, 23 соединены последовательно, однако, предпочтительно подключать их параллельно друг другу к генератору переменного тока 19, чтобы они создавали однонаправленный поток в гильзе 3. Генератор переменного тока содержит систему управления задаваемого на генераторе переменного тока 19, контролирующую силу тока и/или частоту, и/или напряжение на катушечных блоках 21, 23, и/или продолжительность включения питания в соответствии с предварительно заданной программой, в зависимости от размера инструментальной оправки 5. Поскольку блок 1 должен быть отрегулирован на размер инструментальной оправки 5, вращающей в предпочтительном варианте осуществления управляющий диск 69, то предусматривается, по меньшей мере, один позиционный датчик 97, определяющий относительное положение двух направляющих колец 37, 39 в состоянии вращения и/или в осевом направлении, заранее регулирующий управление генератором переменного тока 19 на размер инструментальной оправки 5. Благодаря этому обработка еще более упрощается и автоматизируется. Понятно, что позиционный датчик 97 может реагировать также и на относительные положения компонентов блока 1, движущихся относительно друг друга, например, на относительное положение элементов 55 концентратора по отношению к неподвижной части, например, к управляющему диску 69.
Чтобы избежать перегрева гильзы 3, по направлению оси, между катушечными дисками 21, 23, например, на одном из направляющих колец 37 или 39, размещается температурный датчик 99, определяющий температуру на наружной стороне гильзы 3. Таким образом, температурный датчик 99 выполнен так, что он может, при необходимости, контактировать с периферической поверхностью гильзы 3 упругим способом или же так, что он может определять температуру бесконтактным образом. Температурный датчик 99 может отключать подачу электроэнергии через систему управления генератора 19 в зависимости от заранее заданного порогового значения и дополнительно и/или альтернативно запускать акустический предупреждающий сигнал. Фактическое значение температуры может также отображаться на дисплее.
Далее приводятся варианты блока индукционной катушки, который описан выше. На представленных на фигурах с 1 по 4 компонентах с идентичными функциями присвоены обозначения, которые для дифференциации снабжены дополнительно буквами. Для описания всей компоновки и принципа работы и для описания возможных вариантов, соответственно, приводится ссылка на описание в целом.
Фиг.5 показывает блок индукционной катушки 1а, который, по существу, отличается от блока 1, описанного со ссылкой на фигуры 1-4, только наличием серводвигателя 101, подключенного к одному из направляющих колец 37а или 39а, в данном случае, к направляющему кольцу 39а, приводящему во вращательное движение через редуктор 103 другое направляющее кольцо, в данном случае, направляющее кольцо 37а, вокруг оси вращения 9а. Серводвигатель 101 представляет собой компонент позиционирующего привода, определяющего фактическое положение обоих направляющих колец 37а, 39а относительно друг друга посредством позиционного датчика 97а. Размер инструментальной оправки 5а может регулироваться на генераторе переменного тока 19а, и генератор переменного тока 19а переводит приводной двигатель 101 в положение, соответствующим образом связанное с инструментальной оправкой 5а. Серводвигатель 101 может быть шаговым электродвигателем, так что число приводных импульсов, поданных на шаговый электродвигатель, представляет собой единицу измерения для относительного угла поворота двух направляющих колец 37а, 39а. Без позиционного датчика 97а в этом случае можно обойтись и его можно заменить, используя концевые выключатели, определяющие концевые положения. Редуктор 103 может быть обычным редуктором. В настоящем случае на валу двигателя 101 находится цепное колесо, которое входит в зацепление с шестерней направляющего кольца 37а.
Фигура 6 показывает блок 1b индукционной катушки, который отличается от блока 1, описанного со ссылкой на фигуры 1 – 4, по существу, только наличием блока 35b катушечного блока 23b, обращенного в сторону от свободного конца 15b по направлению оси, соответствующего концентратору 33b катушечного блока 21b и содержащего дополнительный набор элементов 55b концентратора, вместо кольцевого фланца 93, соединенного с обоймой 91 гильзы, которые с возможностью поворота направляются посредством осевых штифтов 59b с осями вращения, параллельными оси вращения 9b, направляемой с возможностью поворота на корпусе 27b катушки, или на обойме 91b гильзы, или на направляющем кольце 39b. Другой направляющий кулачок 105 удерживается с возможностью вращения на направляющем кольце 39b (но зафиксирован в осевом направлении), которое связано с дополнительными элементами 55b концентратора через кулачки 73b с наклонной поверхностью. Элементы 55b концентратора и кулачки 73b с наклонной поверхностью сформированы соответственно компонентам 55 и 73 по фиг.1-4. Благодаря элементам 105 управления, элементы 55b концентратора, входящие в концентратор 35b, могут независимо от элементов концентратора, входящих в концентратор 33b, приближаться к наружной поверхности инструментальной оправки, которую, однако, предпочтительно закрепить. Без этих, теплоизолирующих приподнятых участков 87b на элементах 55b концентратора, входящих в концентратор 35b, можно обойтись. В противном случае они могут присутствовать на всех элементах 55b концентратора.
В процессе работы концентратор 33b сначала регулируют на диаметр гильзы 3b путем регулирования управляющего кулачка 69b, посредством чего регулируется также осевое расстояние катушечных блоков 21b и 23b. После помещения блока 1b на инструментальную оправку 5b элементы 55b концентратора, входящие в концентратор 35b, также перемещаются посредством вращения управляющего кулачка 105 ближе к инструментальной оправке 5b.
Вариант, в котором направляющие кольца 37b и 39b регулируются с помощью серводвигателя в соответствии со способом, проиллюстрированным на Фиг.5, а управляющий кулачок 105 регулируется до этого вручную, более подробно не показан. При необходимости управляющий кулачок 105 может приводиться в движение другим серводвигателем.
Формула изобретения
1. Блок индукционной катушки для нагревания гильзы (3) инструментальной оправки (5), причем указанная гильза имеет свободный конец и снабжена приемным отверстием (11) для вала (13) вращающегося инструмента, при этом инструментальная оправка удерживает вал (13) инструмента, установленный в приемном отверстии (11) посредством прессовой посадки, и после нагревания освобождает его, содержащий сборную катушку (21, 23), окружающую гильзу (3) в процессе нагрева; первый концентратор (33) магнитного потока, выполненный из магнитно-мягкого, по существу, непроводящего электричество материала, установленный на той стороне сборной катушки (21, 23), которая примыкает к свободному концу (15) гильзы (3), по меньшей мере, вблизи свободного конца (15) гильзы (3) инструментальной оправки (5), при этом сборная катушка (21, 23) включает в себя два соосных катушечных блока, которые расположены на регулируемом расстоянии друг от друга, и/или второй концентратор (35) магнитного потока, выполненный из магнитно-мягкого, по существу, непроводящего электричество материала, установленный на стороне сборной катушки (21, 23), удаленной от свободного конца (15) гильзы (3), с возможностью регулирования осевого расстояния от первого концентратора (33), причем предусмотрены регулирующие средства (37, 39, 43) для регулирования осевого положения двух катушечных блоков (21, 23) и/или двух концентраторов (33, 35) относительно друг друга.
2. Блок индукционной катушки по п.1, отличающийся тем, что предусмотрены стопорные средства (89), работающие совместно с инструментальной оправкой (5), выполненные с возможностью установления осевого положения катушечного блока (21, 23) и первого концентратора (33) по отношению к свободному концу (15) гильзы (3) в процессе нагрева.
3. Блок индукционной катушки по п.2, отличающийся тем, что один катушечный блок (21) и/или первый концентратор (33) имеют фиксированное осевое положение по отношению к стопорным средствам (89), а регулирующие средства (37, 39, 43) выполнены с возможностью регулирования осевого положения другого катушечного блока (23) и/или второго концентратора (35) по отношению к стопорным средствам (89).
4. Блок индукционной катушки по п.2 или 3, отличающийся тем, что регулирующие средства (37, 39, 43) выполнены с возможностью установки другого катушечного блока (23) и/или второго концентратора (35) в предварительно заданные осевые положения по отношению к стопорным средствам (89).
5. Блок индукционной катушки по п.1, отличающийся тем, что предусмотрена, по меньшей мере, одна спиралеобразная управляющая поверхность (45), проходящая вокруг оси вращения, для направления двух катушечных блоков (21, 23) и/или двух концентраторов (33, 35) с возможностью их перемещения и поддержки относительно друг друга в осевом направлении.
6. Блок индукционной катушки по п.5, отличающийся тем, что, по меньшей мере, одна управляющая поверхность (45) содержит участки (51) управляющей поверхности, проходящие в ортогональных плоскостях относительно оси в предварительно заданных осевых положениях двух катушечных блоков (21, 23) или двух концентраторов (33, 35), для фиксации катушечных блоков (21, 23) или концентраторов (33, 35) в осевом направлении.
7. Блок индукционной катушки по п.1, отличающийся тем, что осевое положение двух катушечных блоков (21а, 23а) и/или двух концентраторов (33а, 35а) относительно друг друга может быть изменено с помощью серводвигателя.
8. Блок индукционной катушки по п.1, отличающийся тем, что каждый катушечный блок (21, 29) соединен зафиксированным по направлению оси образом с концентратором (33, 35).
9. Блок индукционной катушки по п.1, отличающийся тем, что, по меньшей мере, один из двух концентраторов (33, 35) содержит участок (61, 69), выступающий по оси относительно другого концентратора в радиальном направлении за пределы катушечного блока (21, 23), при этом указанный участок перекрывается с другим концентратором, по существу, на всем участке изменяемых в осевом направлении положений.
10. Блок индукционной катушки по п.9, отличающийся тем, что оба концентратора (33, 35) имеют участки (61, 91), выступающие по направлению другу к другу, которые перекрываются в осевом направлении.
11. Блок индукционной катушки по п.10, отличающийся тем, что участки выполнены в виде отрезков (61, 91) гильзы, коаксиально сблокированных друг с другом.
12. Блок индукционной катушки по п.1, отличающийся тем, что, по меньшей мере, первый концентратор (33), предпочтительно, и второй концентратор (35), имеют элементы (55) концентратора, выполненные из магнитно-мягкого, по существу, не проводящего электричество материала, расположенные в окружном направлении вокруг оси вращения (9) с радиальным выступом по направлению внутрь за пределы внутренней окружности катушечного блока (21, 23) и с возможностью перемещения относительно друг друга, причем предусмотрена возможность изменения величины указанного выступа за пределы внутренней окружности катушечного блока (21, 23) в направлении оси вращения (9).
13. Блок индукционной катушки по п.12, отличающийся тем, что элементы (55) концентратора установлены с возможностью поворота относительно катушечного блока (21, 23) вокруг осей поворота (59), проходящих параллельно оси вращения (9).
14. Блок индукционной катушки по п.13, отличающийся тем, что элементы (55) концентратора имеют, по существу, дисковую форму, расположены напротив оси вращения и снабжены первым ободом (79), образующим сквозное отверстие (57) для вала (13) инструмента и/или гильзы (3) инструментальной оправки (5), и вторым ободом (81), наклоненным под углом относительно первого обода (79) и проходящим вдоль первого обода (79) смежного в окружном направлении элемента (55) концентратора.
15. Блок индукционной катушки по п.14, отличающийся тем, что первый обод (79) и второй обод (81) смежных элементов (55) концентратора перекрываются, по меньшей мере, на части своей длины в окружном направлении, в особенности перекрываются с взаимной блокировкой, причем концентратор (33) содержит две группы элементов (55) концентратора, чередующихся в окружном направлении, при этом радиальный выступ элементов (55) концентратора первой группы за пределы внутренней окружности катушечного блока (21, 23) при одинаковом угловом положении больше, чем радиальное перекрытие элементов (55) концентратора второй группы.
16. Блок индукционной катушки по п.15, отличающийся тем, что элементы (55) концентратора первой группы несут стопорные элементы (87), образующие стопорные средства (89) на первом ободе (79) для осевого позиционирования концентратора (33) и связанного с ним катушечного блока (21) относительно инструментальной оправки (5).
17. Блок индукционной катушки по одному из пп.12-16, отличающийся тем, что элементы (55) концентратора выполнены с возможностью регулирования посредством общего управляющего элемента (69), установленного с возможностью поворота вокруг оси катушечного блока (21, 23) и связанного с элементами (55) концентратора через следящий кулачок (73) с управляющей поверхностью.
18. Блок индукционной катушки по п.17, отличающийся тем, что два катушечных блока (21, 23) направляются с предотвращением вращения, но с возможностью осевого перемещения относительно друг друга, а управляющий элемент (69) для регулировки элементов (55) концентратора одного катушечного блока (21) соединен с предотвращением вращения со вторым катушечным блоком (23).
19. Блок индукционной катушки по п.17, отличающийся тем, что управляющие элементы (69) содержат элемент (95), приводимый ручным образом.
20. Блок индукционной катушки по п.17, отличающийся тем, что управляющий элемент (69) выполнен с возможностью приведения в действие посредством серводвигателя.
21. Блок индукционной катушки по п.1, отличающийся тем, что предусмотрен, по меньшей мере, один позиционный датчик (97), связанный с катушечными блоками (21, 23) и/или концентраторами (33, 35) и выполненный с возможностью выдачи сигнала, представляющего осевое расстояние катушечных блоков (21, 23) и/или концентраторов (33, 35) и/или радиальный выступ, по меньшей мере, первого концентратора (33) за пределы внутренней окружности катушечного блока (21, 23), причем катушечные блоки (21, 23) подключены к генератору (19) переменного тока, ток, и/или продолжительность включения питания, и/или напряжение которого регулируются в зависимости от указанного сигнала.
22. Блок индукционной катушки по п.1, отличающийся тем, что осевое расстояние катушечных блоков (21, 23а) и/или концентраторов (33а, 35а) и/или радиальный выступ, по меньшей мере, первого концентратора (33а) регулируются посредством, по меньшей мере, одного позиционирующего привода, в особенности позиционирующего привода с шаговым электродвигателем, причем катушечные блоки (21а, 23а) подключены к генератору (19а) переменного тока с регулируемым током, и/или продолжительностью включения питания, и/или напряжением, управляющему, по меньшей мере, одним позиционирующим приводом в зависимости от уставки.
23. Блок индукционной катушки по п.1, отличающийся тем, что предусмотрен температурный датчик (99), установленный в осевом направлении между катушечными блоками (21, 23), для определения температуры гильзы (3) инструментальной оправки (5).
РИСУНКИ
|
|