|
(21), (22) Заявка: 2008140596/09, 03.10.2008
(24) Дата начала отсчета срока действия патента:
03.10.2008
(46) Опубликовано: 10.05.2010
(56) Список документов, цитированных в отчете о поиске:
US 6353707 В1, 05.03.2002. RU 2248504 С1, 20.03.2005. RU 71048 U1, 20.02.2008. RU 70607 U1, 27.01.2008. RU 2115556 С1, 20.07.1998.
Адрес для переписки:
454080, г.Челябинск, ул. С. Кривой, 56, оф.402, 403, ЮУТПП, Е.Б. Левиной
|
(72) Автор(ы):
Лукьянов Владимир Николаевич (RU), Коновалов Денис Сергеевич (RU), Яфанкин Олег Федорович (RU), Трубчанин Александр Михайлович (RU)
(73) Патентообладатель(и):
Общество с ограниченной ответственностью Завод “Рациональные отопительные системы” (RU)
|
(54) ПОТОЛОЧНЫЙ ПЛЕНОЧНЫЙ ЭЛЕКТРОНАГРЕВАТЕЛЬ, СИСТЕМА ОБОГРЕВА ПОМЕЩЕНИЯ, СОДЕРЖАЩАЯ ПОТОЛОЧНЫЙ ПЛЕНОЧНЫЙ ЭЛЕКТРОНАГРЕВАТЕЛЬ, СПОСОБ ПРОИЗВОДСТВА ПОТОЛОЧНОГО ПЛЕНОЧНОГО ЭЛЕКТРОНАГРЕВАТЕЛЯ И УСТРОЙСТВО ДЛЯ ПРОИЗВОДСТВА ПОЛОТНА ПОТОЛОЧНОГО ПЛЕНОЧНОГО ЭЛЕКТРОНАГРЕВАТЕЛЯ
(57) Реферат:
Изобретение относится к области электротермии, в частности к пленочным электронагревателям, и может использоваться для обогрева бытовых и производственных помещений, а также к области производства таких электронагревателей. Потолочный пленочный электронагреватель содержит резистивный излучающий элемент, имеющий в плане меандровую форму, размещенный между двух слоев электроизоляционных пленок. Резистивный излучающий элемент снабжен выводами для подключения к электрической сети. Параллельные полосы резистивного излучающего элемента соединены последовательно путем их г-образного загиба в сторону следующей полосы поочередно с одной и с другой стороны. Края верхнего и нижнего электроизоляционных слоев соединены лентой с самоклеящейся основой. Система обогрева помещения согласно изобретению включает теплоизолятор, представляющий собой вспененный теплоизолирующий материал с отражающим слоем. Выводы резистивного излучающего элемента потолочного пленочного электронагревателя подсоединены через средства контроля и защиты к сети электропитания. Устройство для производства полотна потолочного пленочного электронагревателя содержит установленные в одну технологическую линию разматыватель для полос резистивного излучающего элемента, разматыватели верхнего и нижнего слоев электроизоляционных пленок, устройство подачи ленты с самоклеящейся основой, ламинатор с термовалами и вал намотки готового полотна. Изобретение обеспечивает низкую себестоимость и возможность применения в крупносерийном производстве. 6 н. и 10 з.п. ф-лы, 9 ил.
Изобретение относится к области электротермии и может быть использовано для обогрева бытовых и производственных помещений. Изобретение касается способа и устройств для изготовления пленочных электронагревателей в крупносерийном производстве.
Известен пленочный электронагреватель (патент РФ 2088047, кл. Н05В 3/18, Н05В 3/36, опубл. 20.08.1997 г.), содержащий два листа (слоя) гибких электроизоляционных пленок, между которыми размещен резистивный излучающий элемент, имеющий в плане меандровую форму, выполненный из аморфного сплава металлов или переходных металлов с металлоидами. Толщина резистивного излучающего элемента сведена к минимуму. Резистивный излучающий элемент снабжен выводами для крепления к источнику питания или к другому параллельно подключенному электронагревателю. Края электронагревателя обклеены лентой.
Недостатком известного технического решения является выполнение резистивного излучающего элемента в виде полос, последовательно соединенных между собой перемычками, что обуславливает сложность технологии производства и увеличение времени изготовления одного электронагревателя. Склеивание краев электронагревателя лентой также приводит к увеличению времени производства электронагревателя.
К тому же использование в качестве резистивного излучающего элемента аморфного сплава металлов или переходных металлов с металлоидами делает электронагреватель дорогостоящим.
Кроме того, недостатком электронагревателя является малая толщина электроизоляционных пленок, не обеспечивающая защиту от механических повреждений резистивного излучающего элемента.
В качестве прототипа выбран пленочный электронагреватель (патент РФ 57070, кл. Н05В 3/14, опубл. 27.09.2006 г.), содержащий два листа (слоя) гибких электроизоляционных пленок, между которыми размещен резистивный излучающий элемент, уложенный непрерывно и имеющий в плане меандровую форму. Резистивный излучающий элемент выполнен из прецизионного токопроводящего материала. К резистивному излучающему элементу прикреплены выводы для подключения к сети электропитания.
Использование в качестве резистивного излучающего элемента прецизионного токопроводящего материала делает электронагреватель дорогостоящим.
Кроме того, недостатком пленочного электронагревателя является невозможность осуществления его крупносерийного производства в связи с выполнением резистивного элемента в виде непрерывной намотки токопроводящего материала.
Задача, на решение которой направлено настоящее техническое решение, является создание пленочного электронагревателя, имеющего малую себестоимость, производство которого может осуществляться непрерывно в крупносерийной промышленности.
Поставленная задача в потолочном пленочного электронагревателе, выполненном в виде двух слоев электроизоляционных пленок, между которыми размещен резистивный излучающий элемент, имеющий в плане меандровую форму и снабженный выводами для подключения к сети электропитания, достигается тем, что резистивный излучающий элемент выполнен в виде параллельных полос, соединенных последовательно путем их г-образного загиба в сторону следующей полосы поочередно с одной и с другой стороны.
Кроме того, поставленная задача достигается тем, что в потолочном пленочном электронагревателе, выполненном в виде двух слоев электроизоляционных пленок, между которыми размещен резистивный излучающий элемент, имеющий в плане меандровую форму и снабженный выводами для подключения к сети электропитания, в качестве материала для резистивного излучающего элемента согласно изобретению использован металл с удельным сопротивлением =7,0-8,5 мкОм·м.
Края верхнего и нижнего электроизоляционных слоев потолочного пленочного электронагревателя соединены лентой с самоклеящейся основой с внутренней стороны.
Последовательное соединение полос резистивного излучающего элемента посредством их г-образного загибания с образованием меандровой формы, а также соединение краев верхнего и нижнего электроизоляционных слоев с внутренней стороны лентой с самоклеящейся основой упрощает технологию изготовления потолочного пленочного электронагревателя за счет уменьшения количества производимых операций и определяет возможность его производства в крупносерийной промышленности, что, в свою очередь, обуславливает снижение себестоимости производства одного потолочного пленочного электронагревателя.
К значительному снижению стоимости электронагревателя и существенному расширению диапазона применяемых металлов приводит использование в качестве резистивного излучающего элемента любого металла с удельным сопротивлением =7,0-8,5 мкОм·м.
Устройство потолочного пленочного электронагревателя поясняется чертежами, на которых показано: фиг.1 – общий вид потолочного пленочного электронагревателя, фиг.2 – потолочный пленочный электронагреватель (поперечный разрез полотна).
Потолочный пленочный электронагреватель содержит верхнюю 1 и нижнюю 2 электроизоляционные пленки, выполненные из полимерного материала, между которыми размещен резистивный излучающий элемент 3. Резистивный излучающий элемент 3 выполнен в виде параллельных полос, соединенных последовательно, с образованием в плане меандровой формы. Край предыдущей полосы загнут г-образно в сторону следующей полосы, как правило, на всю ее ширину, другой край которой, в свою очередь, г-образно загнут в сторону последующей полосы. Полосы соединены точечной сваркой. Последовательно соединенные полосы резистивного излучающего элемента 3 занимают 15-70% полотна потолочного пленочного электронагревателя. К крайним полосам резистивного излучающего элемента 3 припаяны выводы 4 для подключения к сети электропитания. Края верхней 1 и нижней 2 электроизоляционных пленок электронагревателя соединены с внутренней стороны лентой с самоклеящейся основой 5.
Толщина каждого слоя электроизоляционных пленок 1 и 2 варьируется в пределах 125-250 мкм в зависимости от требований, предъявляемых к электронагревателю.
Увеличение толщины электроизоляционных пленок 1 и 2 дополнительно защищает электронагреватель от пробоя электрическим током при перегрузках сети и от механических повреждений резистивного излучающего элемента 3.
Проведенными испытаниями установлено, удельная мощность электронагревателя находится в диапазоне 70-250 Вт/м2, при этом рабочий ток, протекающий по резистивному излучающему элементу 3, не превышает 1А. Рабочая температура на поверхности электронагревателя при температуре воздуха в обогреваемом помещении +20°С находится в диапазоне +30 +70°С.
Величина тока в пределах 1 А, протекающего по резистивному излучающему элементу 3, создает электромагнитное поле, не превышающее магнитное поле земли и не оказывающее вредного влияния на человека.
Известно обогревающее устройство инфракрасного излучения (патент РФ 2075837, кл. Н05В 3/30, опубл. 20.03.1997 г.), содержащее композитные ленты (потолочный пленочный электронагреватель), состоящие из резистивного излучающего, электроизоляционного и отражающего (рефлектор) слоев. Композитные ленты соединены поперечными планками таким образом, что в горизонтальной плоскости образуют обогревающее устройство меандровой формы. Поперечные планки, в свою очередь, прикреплены к стенам обогреваемого помещения, например, пружинами. Под обогревающим устройством установлено горизонтальное перекрытие, выполненное из проницаемого для инфракрасного излучения материала, служащее декорированием обогревающего устройства. Выводы обогревающего устройства подключены к источнику питания через понижающий трансформатор.
Недостатком обогревающего устройства является наличие бесполезного инфракрасного излучения на потолочном перекрытии помещения.
Крепление обогревающего устройства и ниже закрепленного горизонтального перекрытия на некотором расстоянии от потолка уменьшает пространственный объем помещения и значительно сужает возможности его декорирования.
Кроме того, недостатком обогревающего устройства является сложность и трудоемкость монтажа конструкции из-за наличия большого числа конструкционных элементов (полуфабрикатов) и неудобства способа их крепления к стенам помещения. При сложных ступенчатых формах потолка монтаж конструкции затруднителен.
Известное обогревающее устройство не позволяет автоматически поддерживать температуру в обогреваемом помещении.
Задача, на решение которой направлено изобретение, заключается в повышении КПД использования потолочного пленочного электронагревателя для обогрева помещения (системы обогрева помещения), осуществлении автоматического поддержания температуры воздуха в помещении на заданном уровне.
Также задачей изобретения является упрощение конструкции обогревающего устройства и его монтажа.
В системе обогрева помещения, содержащей потолочный пленочный электронагреватель с рефлектором (отражающим слоем) и изолированным с обеих сторон резистивным излучающим элементом, имеющим в плане меандровую форму, подключенным посредством выводов к сети электропитания, согласно изобретению отражающий слой (теплоизолятор) выполнен независимым и закреплен на потолочной поверхности обогреваемого помещения, под которым установлен потолочный пленочный электронагреватель.
Кроме того, решение поставленной задачи достигается тем, что в системе обогрева помещения, содержащей потолочный пленочный электронагреватель с рефлектором (отражающим слоем) и изолированным с обеих сторон резистивным излучающим элементом, имеющим в плане меандровую форму, подключенным посредством выводов к сети электропитания, согласно изобретению отражающий слой (теплоизолятор) выполнен в виде вспененного теплоизолирующего материала с отражающей поверхностью, в качестве которой применяется лавсановая пленка или алюминиевая фольга.
Отражающая поверхность теплоизолятора выполнена негладкой.
Выводы резистивного излучающего элемента электронагревателя, припаянные к крайним полосам, подсоединены через средства контроля и защиты: воздушный терморегулятор, логическое реле и устройство защитного отключения к сети электропитания.
Размещение теплоизолятора на потолочной поверхности сводит бесполезный нагрев потолочного перекрытия к минимуму и увеличивает отражение излучения, направленного вверх от электронагревателя.
Снижение нагрева потолочного перекрытия и увеличение отражающей способности теплоизолятора также обусловлено выполнением теплоизолятора из вспененного теплоизолирующего материала с негладкой отражающей поверхностью.
Крепление теплоизолятора и потолочного пленочного электронагревателя один над другим указанным способом незначительно уменьшает пространственный объем помещения и позволяет их декорирование любыми строительными элементами за исключением металлических и зеркальных поверхностей.
В результате применения в системе обогрева помещения терморегулятора осуществляется автоматическое регулирование температуры воздуха в помещении, повышающее ее потребительские свойства и защиту системы от возможных перегрузок сети.
Монтаж системы обогрева помещения производится из готовых конструктивных составляющих (потолочный пленочный электронагреватель, теплоизолятор, средства контроля и защиты), требующих только закрепления внутри обогреваемого помещения, электрического соединения между собой и подключения к сети электропитания, что обуславливает его малую трудоемкость и позволяет устанавливать систему обогрева в помещениях с многоступенчатым потолком.
На фиг.3 представлен общий вид системы обогрева помещения.
Система обогрева помещения выполнена в виде потолочного пленочного электронагревателя 6, теплоизолятора 7, представляющего собой слой вспененного теплоизолирующего материала 8 с отражающей поверхностью 9, устройств контроля (воздушный терморегулятор 10) и защиты (на чертеже не показаны) и питающих проводов 11, соединяющих резистивный излучающий элемент 3 потолочного пленочного электронагревателя 6 и источник электропитания через устройства контроля 10 и защиты.
На потолочной поверхности помещения посредством, например, универсальных крепежных элементов 12 закреплен теплоизолятор 7, осуществляющий функцию отражателя инфракрасного (теплового) излучения, создаваемого потолочным пленочным электронагревателем 6, и исключения бесполезного нагрева потолочного перекрытия. Теплоизолятор 7 выполнен, например, в виде изолона, представляющего собой вспененный теплоизолирующий материал 8 с отражающим лавсановым покрытием 9. Отражающее покрытие 9 также может быть выполнено, например, из алюминиевой фольги. Отражающее покрытие 9 имеет негладкую поверхность для улучшенного отражения и рассеивания инфракрасного излучения, создаваемого потолочным пленочным электронагревателем 6, внутрь помещения.
Для получения наибольшего КПД излучения потолочного пленочного электронагревателя 6 внутрь помещения теплоизолятор 7 покрывает всю потолочную поверхность обогреваемого помещения. Минимальная толщина теплоизолятора 3 мм.
На теплоизолятор 7 крепится посредством, например, универсальных крепежных элементов 12 потолочный пленочный электронагреватель 6, его крепление осуществляется в частях, не содержащих полос резистивного излучающего элемента 3, чтобы исключить повреждение токопроводящего слоя.
Площадь покрытия потолочной поверхности электронагревателем определяется наблюдаемой пятидневной минимальной температурой. Чем температура воздуха на улице ниже, тем большая площадь потолочной поверхности покрывается электронагревателем.
Резистивный излучающий элемент 3 потолочного пленочного нагревателя 6 присоединен к сети электропитания через воздушный терморегулятор 10, размещенный на вертикальной поверхности на расстоянии 1-1,5 м от уровня пола помещения. Как правило, в качестве вертикальной поверхности выступает внутренняя стена обогреваемого помещения. Терморегулятор 10 установлен таким образом, чтобы исключить влияние на него сквозняков, прямых солнечных лучей и влияния теплового поля (излучения) граничащих с ним предметов. Для исключения влияния на терморегулятор 10 граничащих предметов он смонтирован на теплоизолятор, аналогичный описанному выше. Терморегулятор 10 выполняет функцию контроля температуры воздуха в помещении.
Пленочный электронагреватель 6 и теплоизолятор 7, смонтированные на потолке помещения, могут быть закрыты строительным декором толщиной не более 20 мм за исключением металлизированных материалов и материалов с зеркальной поверхностью.
Система обогрева помещения выполнена с возможностью работы как от сети постоянного, так и от сети переменного тока в диапазоне от 12 до 380 В.
Система обогрева помещения работает следующим образом:
На терморегуляторе 10 задается уровень температуры воздуха, который должен поддерживаться системой в помещении. В случае снижения температуры воздуха в помещении на 1°С терморегулятор 10 напрямую или через магнитные контакты замыкает цепь, питающую потолочный пленочный электронагреватель 6. На потолочный пленочный электронагреватель 6 подается питание, он начинает излучать инфракрасный тепловой поток. Поток распределяется внутрь помещения, вызывая нагрев пола и предметов, находящихся в помещении, они, в свою очередь, будучи нагретыми, контактируя с воздухом, повышают его температуру. При достижении температуры воздуха в помещении на высоте 1-1,5 м от уровня пола больше установленной на 1°С, зафиксированной терморегулятором 10, терморегулятор 10 разрывает электрическую цепь и инфракрасное излучение электронагревателем 6 прекращается. Конструкция пола за время работы электронагревателя 6 накапливает достаточное количество тепла для продолжительного поддержания температуры воздуха в помещении на заданном уровне.
Максимальный КПД потолочный пленочный электронагреватель 6 обеспечивает при его монтировании на горизонтальной потолочной поверхности, так как при установке его на вертикальной поверхности электронагреватель 6 работает как конвектор, осуществляя прогрев воздуха верхней части помещения.
Известен способ изготовления плоского резистивного электронагревателя (патент РФ 2052907, кл. Н05В 3/34, опубл. 20.01.1996 г.), в котором из резистивной ленты формируется зигзагообразный резистивный элемент выполнением в нем прорезей с последующей обрезкой кромок таким образом, чтобы резистивный элемент имел в плане меандровую форму. Резистивный зигзагообразный элемент соединяют с помощью связующего с верхним и нижним слоями электроизоляционной пленки, имеющими аналогичные прорези.
Недостатком способа изготовления резистивного электронагревателя является невозможность его применения в крупносерийной промышленности, кроме того, способ трудоемок.
К тому же в процессе формирования резистивного слоя остается значительное количество обрезков токопроводящего материала.
В качестве прототипа принят способ, следующий из описания к устройству пленочного электронагревателя (патент РФ 2088047, кл. Н05В 3/18, Н05В 3/36, опубл. 20.08.1997 г.), заключающийся в формировании резистивного излучающего элемента выполнением его в виде параллельных полос, последовательно соединенных между собой перемычками с образованием в плане меандровой формы; присоединении выводов к крайним полосам резистивного излучающего элемента для подключения к источнику электропитания и присоединении с обеих сторон резистивного излучающего элемента электроизоляционных пленок. Края электронагревателя обклеиваются лентой.
Недостатком данного способа является поштучное изготовление электронагревателя, что обуславливает высокую трудоемкость его изготовления и нецелесообразность применения в крупносерийном производстве.
Задачей предлагаемого изобретения является разработка способа производства потолочного пленочного электронагревателя с упрощенной технологией формирования резистивного излучающего элемента, применяемого в крупносерийной промышленности.
Поставленная задача в способе производства потолочного пленочного электронагревателя, состоящем в соединении двух слоев электроизоляционных пленок и размещенного между ними резистивного излучающего элемента, выполненного в виде параллельных, распределенных равномерно полос, достигается тем, что полосы резистивного излучающего элемента последовательно соединяют путем г-образного изгиба их концов в сторону следующей полосы поочередно с одной и другой стороны.
Кроме того, поставленная задача достигается тем, что предварительно электроизоляционные пленки и размещенный между ними резистивный излучающий элемент в виде параллельных полос соединяют непрерывно с образованием полотна электронагревателя, которое в дальнейшем разрезают на части, соответствующие длине производимого электронагревателя.
Края электронагревателя соединяют лентой с самоклеящейся основой с внутренней стороны.
Способ производства потолочного пленочного электронагревателя может быть применен для изготовления электронагревателя, состоящего из пяти слоев, путем добавления при соединении слоев излучающего слоя, выполненного в виде алюминиевой фольги, и дополнительного слоя электроизоляционной пленки.
Способ изготовления непрерывного полотна потолочного пленочного электронагревателя с дальнейшим его разрезанием на части, соответствующие заданной длине электронагревателя, и соединением полос резистивного излучающего элемента упрощает технологию изготовления пленочных электронагревателей, уменьшает время производства одного электронагревателя, что обуславливает его применение в крупносерийной промышленности.
Способ позволяет изготавливать пленочный электронагреватель любой длины без соответствующих затрат на переоснастку.
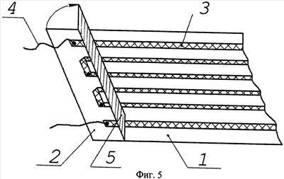
Сущность способа изготовления потолочного пленочного электронагревателя согласно изобретению поясняется чертежами: на фиг.4 – полотно потолочного пленочного электронагревателя с запаянной лентой с самоклеящейся основой; на фиг.5 и фиг.6 – соединение полос резистивного излучающего элемента; на фиг.7 – часть готового потолочного пленочного электронагревателя.
К непрерывному резистивному излучающему элементу 3, представляющему собой полосы одинаковой ширины, размещенные на одинаковом расстоянии друг от друга, присоединяют с обеих сторон две непрерывные электроизоляционных пленки 1 и 2 из полимерного материала. Соединение непрерывных слоев: резистивного излучающего элемента 3 и двух электроизоляционных пленок 1 и 2 производят в процессе их ламинирования. Перед ламинированием слоев через равные промежутки времени между верхней электроизоляционной пленкой 1 и резистивным излучающим элементом 3 укладывают отрезок ленты с самоклеящейся основой 5. Таким образом получают полотно электронагревателя, через равные участки содержащее впаянную ленту с самоклеящейся основой 5 (фиг.4), длина участков полотна электронагревателя соответствует требуемой длине электронагревателя 6. Ширину отрезка ленты с самоклеящимся основанием 5 определяют двойной суммарной величиной ширины полосы резистивного излучающего элемента 3 и расстояния между двумя полосами резистивного излучающего элемента 3. Непрерывные ламинированные слои наматывают под натяжением в рулон готового полотна.
Для дальнейшего производства непрерывное полотно потолочного пленочного электронагревателя разрезают посередине ленты с самоклеящейся основой 5. Края полученного полуфабриката электронагревателя 6 отгибают на ширину впаянной ленты с самоклеящейся основой 5. Край предыдущей полосы резистивного излучающего элемента 3 г-образно загибают в сторону следующей полосы до полного их пересечения, другой край которой, в свою очередь, г-образно загибают в сторону последующей полосы до полного их пересечения. Места соединения полос сваривают точечной сваркой, осуществляемой на молекулярном уровне (фиг.6). При таком соединении все последовательно соединенные полосы резистивного излучающего элемента 3 в плане должны иметь меандровую форму. Лишнюю часть полосы обрезают. К крайним полосам резистивного излучающего элемента 3 припаивают оловянным припоем выводы 4. С самоклеящейся основы ленты 5 убирают защитное покрытие и ленту 5 клейкой поверхностью вместе с верхним электроизоляционным слоем 1 приклеивают к нижнему электроизоляционному слою 2 электронагревателя 6, закрывая и изолируя места соединения полос резистивного излучающего элемента 3 и питающих проводов 4.
Способ может быть применен для производства потолочного пленочного электронагревателя, содержащего пять слоев. Изготовление пленочного электронагревателя, содержащего дополнительный изолированный излучающий слой, выполненный, например, в виде алюминиевой фольги, осуществляется следующим способом: производят соединение посредством ламинирования пяти слоев, размещенных следующим образом: между верхним и средним слоями электроизоляционной пленки располагают резистивный излучающий элемент, выполненный в виде параллельных полос, и соответственно между средним и нижним слоями – излучающий слой, выполненный, например, в виде алюминиевой фольги. Ленту с самоклеящейся основой впаивают между верхним изоляционным слоем и резистивным излучающим элементом. Дальнейшая технология изготовления электронагревателя аналогична приведенной выше.
Известен агрегат для непрерывного изготовления гибких электронагревательных элементов (патент РФ 2116890, кл. B29D 9/00, В29С 65/02, В29С 65/64, опубл. 10.08.1998 г.), состоящий из разматывателя для токопроводящих лент (полос резистивного излучающего элемента), разматывателей верхнего и нижнего слоев электроизоляционных пленок, приводной сварочной клети с подогреваемыми роликами и их механизмом прижатия (термовалы ламинатора) и средства приема готовых изделий (вал намотки готового полотна). Разматыватель для токопроводящих лент представляет собой закрепленный в станине осевой элемент с установленными на нем подшипниковыми узлами. Внешние обоймы подшипников подторможены пружинными лепестками. На подшипниковые узлы насажены втулки с намотанными рулонами токопроводящих лент (полос резистивного элемента).
Недостатком агрегата является сложность конструкции разматывателя для токопроводящих лент.
Задача, на решение которой направлено техническое решение, заключается в упрощении конструкции разматывателя для токопроводящих лент (полос резистивного элемента).
Кроме того, задачей является использование агрегата для производства потолочного пленочного электронагревателя в соответствии с описанным выше способом.
Решение поставленной задачи достигается следующим образом.
Устройство для производства полотна потолочного пленочного электронагревателя, состоящее из разматывателя для полос резистивного излучающего элемента, разматывателей верхнего и нижнего слоев электроизоляционных пленок, ламинатора с термовалами и вала намотки готового полотна, дополнительно снабжен устройством подачи ленты с самоклеящейся основой, установленным между разматывателями и ламинатором.
Кроме того, решение поставленной задачи в разматывателе для полос резистивного излучающего элемента, представляющем собой станину с закрепленным осевым элементом, содержащим подшипниковые узлы с насаженными на них катушками с полосами резистивного излучающего элемента, достигается тем, что катушки установлены с чередованием направления разматывания.
Осевой элемент, выполненный в виде вала, с обоих концов подпружинен.
Устройство для производства полотна потолочного пленочного электронагревателя может содержать, по меньшей мере, два дополнительных разматывателя слоев.
Упрощение конструкции разматывателя для полос резистивного излучающего элемента осуществляется за счет исключения подпружинивания подшипников.
Введение устройства подачи ленты с самоклеящейся основой в устройство для изготовления полотна потолочного пленочного электронагревателя позволяет его использование в указанном выше способе.
Разматывание катушек в противоположные стороны повышает качество натяжения полос резистивного излучающего элемента при их ламинировании.
Введение в конструкцию дополнительных разматывателей позволяет получать многослойное полотно электронагревателя, состоящее из более чем трех слоев.
Сущность технического решения поясняется чертежами, на которых показано: фиг.8 – общий вид устройства для производства полотна потолочного пленочного электронагревателя, фиг.9 – разматыватель для полос резистивного излучающего элемента (вид сверху).
Устройство для производства полотна потолочного пленочного электронагревателя 6 содержит установленные в одну технологическую линию разматыватель для полос резистивного излучающего элемента 13, разматыватели верхнего 14 и нижнего 15 слоев электроизоляционных пленок. Устройство подачи ленты с самоклеящейся основой (на чертеже не показано) установлено до термовалов ламинатора 16 и после разматывателей слоев электроизоляционных пленок 14 и 15. Вал намотки готового полотна 17 расположен после термовалов ламинатора 16. Термовалы ламинатора 16 обеспечивают соединение слоев электронагревателя 6, подаваемых с разматывателей 13, 14 и 15, в одно полотно.
Разматыватель для полос резистивного излучающего элемента 13 содержит станину 18 с закрепленным на ней осевым элементом – валом 19. На валу 19 установлены подшипниковые узлы (на чертеже не показаны), на которые насажены катушки 20 с намотанными полосами резистивного излучающего элемента 3. Вал 19 подторможен пружинными элементами – муфтами 21, установленными по краям вала 19. Подпружиненная муфта 21 обеспечивает необходимое трение при разматывании катушек 20 с полосами резистивного излучающего элемента 3. Катушки 20 насажены на вал 19 таким образом, чтобы при разматывании полос резистивного элемента 3 каждая четная катушка вращалась по часовой стрелке, а каждая нечетная – против часовой стрелки или наоборот. Такое размещение катушек 20 обеспечивает необходимое натяжение полос резистивного излучающего элемента 3 при ламинировании слоев электронагревателя 6.
Устройство для производства полотна потолочного пленочного электронагревателя 6 работает следующим образом.
На разматыватели устройства насаживают рулоны расходуемых материалов. Катушки 20 с намотанными полосами резистивного излучающего элемента 3 насаживают на подшипниковые узлы разматывателя для полос резистивного излучающего элемента 13. Перед включением ламинатора полосы резистивного излучающего элемента 3 и электроизоляционные пленки 1 и 2 закрепляются между термовалами ламинатора 16. После включения ламинатора термовалы 16 начинают затягивать слои, соединяя их. Через определенный отрезок времени между верхней электроизоляционной пленкой 1 и полосами резистивного излучающего элемента 3 подается отрезок ленты с самоклеящейся основой 5 с помощью устройства подачи ленты с самоклеящейся основой. Таким образом, после ламинирования получается трехслойное непрерывное полотно с запаянной через равные участки лентой с самоклеящейся основой 5. Готовое непрерывное полотно наматывается на вал намотки готового полотна 17.
Устройство для производства полотна электронагревателя может использоваться для получения пленочного электронагревателя, содержащего более трех слоев. Например, если пленочный электронагреватель содержит резистивный излучающий элемент, выполненный в виде параллельных полос, и излучающий слой, выполненный, например, в виде алюминиевой фольги, разделенные между собой и изолированные слоями электроизоляционных пленок, ленту с самоклеящейся основой, впаянную между верхним электроизоляционным слоем и полосами резистивного излучающего элемента. Для получения данного пленочного электронагревателя дополнительный излучающий слой и дополнительный электроизоляционный слой наматывают на катушки, насаженные на дополнительные разматыватели, установленные до термовалов ламинатора. Устройство работает по той же технологии.
Технический результат, обеспечиваемый совокупностью предметов изобретения, состоит в следующем:
– снижение себестоимости, обусловленной возможностью применения в качестве резистивного излучающего элемента любого стального металла, простотой монтажа системы обогрева помещения, упрощением технологии изготовления;
– возможность крупносерийного производства, достигаемая получением способа непрерывного изготовления потолочного пленочного электронагревателя, упрощением процесса последовательного соединения полос резистивного излучающего элемента.
Формула изобретения
1. Потолочный пленочный электронагреватель, содержащий резистивный излучающий элемент, размещенный между двумя слоями гибкой электроизоляционной пленки, имеющий в плане меандровую форму и снабженный выводами для подключения к электрической сети или другому электронагревателю, отличающийся тем, что резистивный излучающий элемент выполнен в виде параллельных полос, соединенных последовательно путем их Г-образного загиба в сторону следующей полосы поочередно с одной и с другой стороны.
2. Потолочный пленочный электронагреватель по п.1, отличающийся тем, что края верхнего и нижнего электроизоляционных слоев соединены лентой.
3. Потолочный пленочный электронагреватель по п.2, отличающийся тем, что лента имеет самоклеящуюся основу.
4. Система обогрева помещения, содержащая потолочный пленочный электронагреватель с теплоизолятором и изолированным с обеих сторон резистивным излучающим элементом, имеющим в плане меандровую форму и подключенным посредством выводов к сети электропитания, отличающаяся тем, что теплоизолятор выполнен независимым и закреплен на потолочной поверхности обогреваемого помещения, под которым установлен потолочный пленочный электронагреватель.
5. Система обогрева помещения по п.4, отличающаяся тем, что выводы резистивного излучающего элемента потолочного пленочного электронагревателя подсоединены через средства контроля и защиты к сети электропитания.
6. Система обогрева помещения, содержащая потолочный пленочный электронагреватель с теплоизолятором и изолированным с обеих сторон резистивным излучающим элементом, имеющим в плане меандровую форму и подключенным посредством выводов к сети электропитания, отличающаяся тем, что теплоизолятор выполнен в виде вспененного теплоизолирующего материала с отражающей поверхностью, в качестве которой применяется лавсановая пленка или алюминиевая фольга.
7. Система обогрева помещения по п.6, отличающаяся тем, что отражающая поверхность теплоизолятора выполнена негладкой.
8. Способ производства потолочного пленочного электронагревателя, заключающийся в соединении, по меньшей мере, двух слоев электроизоляционных пленок и размещенного между ними резистивного излучающего элемента, выполненного в виде параллельных равномерно распределенных полос, отличающийся тем, что полосы резистивного излучающего элемента последовательно соединяют путем Г-образного изгиба их концов в сторону следующей полосы поочередно с одной и другой стороны.
9. Способ производства потолочного пленочного электронагревателя по п.8, отличающийся тем, что полосы резистивного излучающего элемента соединяют точечной сваркой.
10. Способ производства потолочного пленочного электронагревателя по п.8, отличающийся тем, что края электронагревателя соединяют лентой с самоклеящейся основой с внутренней стороны.
11. Способ производства потолочного пленочного электронагревателя по п.10, отличающийся тем, что лента имеет самоклеящуюся основу.
12. Способ производства потолочного пленочного электронагревателя по п.8, отличающийся тем, что при соединении слоев добавляют излучающий слой, выполненный в виде алюминиевой фольги, и дополнительный слой электроизоляционной пленки.
13. Устройство для производства полотна потолочного пленочного электронагревателя, состоящее из разматывателя для полос резистивного излучающего элемента, разматывателей верхнего и нижнего слоев электроизоляционных пленок, ламинатора с термовалами и вала намотки готового полотна, отличающееся тем, что оно снабжено устройством подачи ленты, установленным между разматывателями слоев и ламинатором.
14. Устройство для производства полотна потолочного пленочного электронагревателя по п.13, отличающееся тем, что содержит, по меньшей мере, два дополнительных разматывателя слоев.
15. Разматыватель для полос резистивного излучающего элемента, состоящий из станины с закрепленным на ней осевым элементом, содержащим подшипниковые узлы с насаженными на них катушками с намотанными полосами резистивного излучающего элемента, отличающийся тем, что катушки установлены с чередованием направления разматывания.
16. Разматыватель для полос резистивного элемента по п.15, отличающийся тем, что осевой элемент выполнен в виде вала, подпружиненного с обоих концов.
РИСУНКИ
|