|
|
(21), (22) Заявка: 2006142698/09, 03.05.2005
(24) Дата начала отсчета срока действия патента:
03.05.2005
(30) Конвенционный приоритет:
03.05.2004 US 60/568,111
(43) Дата публикации заявки: 10.06.2008
(46) Опубликовано: 10.05.2010
(56) Список документов, цитированных в отчете о поиске:
US 2002/0160734 A1, 31.10.2002. US 2004/0037378 A1, 26.02.2004. US 2003/0194029 A1, 16.10.2003. RU 2156545 C2, 20.09.2000. US 2003/0027538 A1, 06.02.2003.
(85) Дата перевода заявки PCT на национальную фазу:
04.12.2006
(86) Заявка PCT:
US 2005/015288 20050503
(87) Публикация PCT:
WO 2005/109632 20051117
Адрес для переписки:
129090, Москва, ул. Б.Спасская, 25, стр.3, ООО “Юридическая фирма Городисский и Партнеры”, пат.пов. Ю.Д.Кузнецову, рег. 595
|
(72) Автор(ы):
СЮН Вэй (US)
(73) Патентообладатель(и):
КВЭЛКОММ ИНКОРПОРЕЙТЕД (US)
|
(54) РЕГУЛЯТОР УСИЛЕНИЯ ДЛЯ ПРИЕМНИКА В СИСТЕМЕ СВЯЗИ СО МНОЖЕСТВОМ НЕСУЩИХ
(57) Реферат:
Изобретение относится к системе связи. Технический результат: повышение точности оценки мощности принимаемого сигнала. Приемник в системе связи OFDM включает в себя детектор мощности и регулятор усиления. Детектор мощности определяет суммарную мощность принимаемого сигнала OFDM, например, путем вычисления мощности выборок данных от АЦП и усреднения мощности. Регулятор усиления регулирует усиление приемника дискретными шагами усиления и в одном направлении, например, от режима наименьшего усиления до режима наибольшего усиления на основании определенной суммарной мощности принимаемого сигнала. Регулятор усиления устанавливает приемник в режим наименьшего усиления. Затем регулятор усиления обнаруживает состояние низкой суммарной мощности принимаемого сигнала, например путем сравнения определенной суммарной мощности принимаемого сигнала с заданным пороговым значением, представляющим по существу отсутствие сигнала. Регулятор усиления переводит приемник в режим более высокого усиления, если обнаружено состояние низкой суммарной мощности принимаемого сигнала, а в противном случае сохраняет текущий режим усиления. 6 н. и 22 з.п. ф-лы, 5 ил.
Данная заявка претендует на приоритет заявки на патент США, содержание которой включено в данный документ в явной форме: provisional US Application Serial No. 60/568111 озаглавленной “A Method and Apparatus for Gain Stepping in an OFDM System with Large Peak-to-Average Power Ratio,” поданной 3 мая 2004 года.
Уровень техники, к которой относится изобретение
Настоящее изобретение, в общем, относится к связи, а более конкретно к способу управления усилением приемника в системе связи.
Предшествующий уровень техники
Система связи с множеством несущих использует множество несущих для передачи данных. Это множество несущих можно обеспечить посредством мультиплексирования с ортогональным разделением частот (OFDM), дискретной многотональной модуляции (DMT) или каким-нибудь другим способом модуляции с множеством несущих. OFDM разделяет общую полосу пропускания на множество (K) ортогональных поддиапазонов частот. Эти поддиапазоны также называются тонами, поднесущими, частотными элементами и так далее. Каждый поддиапазон связан с соответствующей несущей, которую можно модулировать данными. Несущие для К поддиапазонов можно независимо модулировать данными, и К модулированные несущие складываются для генерации сигнала OFDM.
OFDM обладает определенными желательными свойствами, включая способность бороться с эффектом многолучевого распространения, который распространен в наземных системах связи. Тем не менее, основным недостатком в OFDM является высокое отношение между средней и пиковой мощностями (PAPR) для сигнала OFDM, то есть отношение пиковой мощности к средней мощности для сигнала OFDM может быть высоким. Высокий PAPR является результатом возможности синфазных (или когерентных) добавлений от всех несущих, когда они независимо модулированы данными. Фактически, можно показать, что пиковая мощность может быть в K раз больше, чем средняя мощность для OFDM.
Высокий PAPR для сигнала OFDM обычно требует от приемника наличия большего динамического диапазона, чем для других модулированных сигналов, таких как CDMA, для того, чтобы справляться с широкими колебаниями в мощности принимаемого сигнала OFDM. Увеличенный динамический диапазон может затруднить разработку приемника. Высокий PAPR также делает сложной точную оценку мощности принимаемого сигнала OFDM. Достаточно точная оценка мощности принимаемого сигнала может потребоваться для работы приемника в правильном режиме усиления для достижения хороших эксплуатационных характеристик.
Поэтому в данной области техники имеется необходимость в способе управления усилением приемника в системе связи с множеством несущих.
СУЩНОСТЬ ИЗОБРЕТЕНИЯ
Ниже описан способ управления усилением приемника в системе связи с множеством несущих. Для упрощения разработки приемника усиление приемника можно регулировать дискретными шагами регулирования. Для приемника определено множество режимов усиления. Каждый режим усиления связан с конкретными дискретными шагами усиления и конкретными диапазонами уровней сигнала для принятого сигнала OFDM.
По варианту осуществления приемник включает в себя детектор и регулятор. Детектор определяет уровень суммарной мощности принимаемого сигнала OFDM, например, путем вычисления мощностей выборки данных от аналогово-цифрового преобразователя (АЦП) и усреднения мощности. Эта суммарная мощность принимаемого сигнала включает в себя мощность шума и мощность сигнала, где мощность сигнала может маскироваться мощностью шума, если полученный сигнал OFDM около или ниже минимального уровня шума. Суммарная мощность принимаемого сигнала является средней мощностью шума и сигнала, а не мгновенной мощностью шума и сигнала. По варианту осуществления регулятор регулирует усиление приемника в одном направлении, от самого низкого режима усиления к самому высокому режиму усиления, на основании обнаруженной суммарной мощности принятого сигнала. Регулятор устанавливает приемник в самый низкий режим усиления. После этого регулятор проводит распознавание на предмет низкой суммарной мощности принятого сигнала, например, путем сравнения обнаруженной суммарной мощности принятого сигнала относительно заранее заданного порогового значения и объявления низкой суммарной мощности принятого сигнала, если обнаруженная суммарная мощность принятого сигнала ниже порогового значения. Регулятор переходит на режим более высокого усиления, если распознана низкая суммарная мощность принятого сигнала, а в противном случае сохраняет текущий режим усиления. По другим вариантам осуществления регулятор может регулировать усиление приемника (1) в одном направлении от режима наибольшего усиления к режиму наименьшего усиления или (2) в любом направлении от текущего режима усиления.
Различные аспекты и варианты осуществления настоящего изобретения описаны ниже в деталях.
КРАТКОЕ ОПИСАНИЕ ЧЕРТЕЖЕЙ
Особенности и природа настоящего изобретения будут более очевидны из нижеследующего подробного описания вместе с чертежами, на которых аналогичные номера позиций совпадают для соответствующих элементов по всему документу.
На Фиг.1 показан график мощности сигнала OFDM.
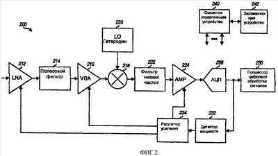
На Фиг.2 показана блок-схема приемника в системе OFDM.
На Фиг.3 показана блок-схема детектора мощности.
На Фиг.4 показана блок-схема регулятора усиления.
На Фиг.5 показан процесс выбора режима усиления для приемника, использующего восходящий механизм.
ПОДРОБНОЕ ОПИСАНИЕ ИЗОБРЕТЕНИЯ
Слово “примерный” в данном документе используется в значении “служащий как пример, частный случай или иллюстрация”. Любой вариант осуществления или проект, описанный в данном документе как “примерный”, необязательно толковать как предпочтительный или преимущественный над другими вариантами осуществления или проектами.
На Фиг.1 показан график мощности сигнала OFDM. Горизонтальная ось обозначает время, а вертикальная ось обозначает мощность. Для OFDM, для всех K частотных поддиапазонов можно независимо модулировать данными до K несущих. Модулированные несущие складываются вместе для создания сигнала OFDM. Модулированные несущие можно добавить когерентно (то есть синфазно), в этом случае сигнал OFDM будет иметь большую амплитуду. Пиковая мощность сигнала OFDM может быть во много раз больше, чем средняя мощность. Точное значение для PAPR зависит от различных факторов. Более того, интересующее значение PAPR часто является не абсолютным пиковым значением, а некоторым статистическим значением, например значением PAPR, ниже которого мгновенная мощность остается 99% времени. В этом описании термины “уровень сигнала”, “уровень мощности”, “мощность” и “амплитуда” используются взаимозаменяемо.
От приемника в системе OFDM обычно требуется функционировать в строгих режимах работы. Во-первых, для приемника необходимо справляться с относительно высоким PAPR сигнала OFDM, который может составлять от 10 до 15 децибел (дБ) для типичной системы OFDM. Во-вторых, от приемника часто требуется поддержка высоких скоростей передачи данных, которые требуют высоких отношений сигнала к шуму и помехам (SNR). Для примера наивысшие скорости передачи данных могут требовать SNR в 25 дБ или выше. В-третьих, приемник может принимать сигнал OFDM c широким диапазоном уровней сигнала, например от -10 дБм до -100 дБм. В-четвертых, приемник должен поддерживать шум квантования от АЦП как минимум на 10 дБ ниже теплового шума для того, чтобы подавлять ухудшение вследствие квантования.
Для приемника часто необходимо иметь большой динамический диапазон для того, чтобы справляться с множеством факторов, таких как высокий PAPR, необходимость высокого SNR, широкий диапазон принимаемого сигнала и шум квантования. Динамический диапазон относится к разнице между самым высоким и самым низким уровнями сигнала, который данный блок схемы может обрабатывать и достигать требуемых эксплуатационных характеристик. Различные схемные блоки в приемнике могут иметь различные требования к динамическому диапазону. Суммарный динамический диапазон (DRRtotal) для приемника можно грубо оценить как:
DRRtotal= Signal+PAPR+SNRmax+ Noise, |
Уравнение (1) |
где Signal является диапазоном принимаемых уровней сигнала, SNRmax является требуемым SNR для наивысшей скорости передачи данных, а Noise является разницей между шумом квантования и тепловым шумом. Для системы OFDM с Signal=90 дБ, PAPR=15 дБ, SNRmax=25 и Noise=10 суммарный динамический диапазон для приемника (который также является требуемым динамическим диапазоном для АЦП без всякого регулятора усиления) может быть вплоть до 140 дБ.
АЦП обычно не имеет достаточного диапазона для покрытия суммарного динамического диапазона для приемника. Для примера АЦП может иметь только от 40 до 60 дБ динамического диапазона. Для уменьшения требуемого диапазона АЦП можно использовать два способа. Первый состоит в том, что принятый сигнал OFDM можно усилить одним или более усилителем с регулируемым непрерывным усилением (VGA) для поддержки уровня сигнала на входе АЦП приблизительно постоянным. Непрерывные VGA зачастую сложны для разработки, имеют плохую линейность по большому диапазону мощности, и для достижения хороших эксплуатационных характеристик может потребоваться применение различных VGA (например, для усиления по сравнению с управляющим напряжением). Второй состоит в том, что принятый сигнал OFDM можно усилить одним или несколькими дискретными блоками усиления для поддержания уровня сигнала на входе АЦП в пределах заданного диапазона, который является частью суммарного динамического диапазона. Тогда АЦП уверенно справляется с изменением сигнала в заданном диапазоне. Дискретные блоки усиления обычно проще для проектирования и проще в работе, чем непрерывные VGA (VGA непрерывного усиления).
На Фиг.2 показана блок-схема приемника 200, пригодного для использования в системе OFDM. В приемнике 200 усилитель с низким уровнем помех (LNA) 212 принимает и усиливает входящий радиочастотный (ВЧ) модулированный сигнал с коэффициентом усиления, равным Glna, выбранным регулятором усиления 234. Полосовой фильтр 214 фильтрует сигнал от LNA 212 для передачи компонентов сигнала в интересующей полосе частот и удаления внеполосного шума и нежелательных компонентов сигнала. Полосовой фильтр 214 может быть выполнен с помощью фильтра на поверхностных акустических волнах (ПАВ) или каким-либо другим фильтром. Усилитель с регулируемым усилением (VGA) 216 усиливает сигнал от полосового фильтра 214 с коэффициентом усиления, равным Gvga, выбранным регулятором усиления 234, и предоставляет усиленный ВЧ-сигнал.
Приемник может быть выполнен по супергетеродинной архитектуре или архитектуре с прямым преобразованием. В супергетеродинной архитектуре входящий РЧ модулированный сигнал преобразуется с понижением частоты посредством множества этапов, например из РЧ в промежуточную частоту (IF) на одном этапе, и затем из IF в основную полосу частот на другом этапе. В архитектуре с прямым преобразованием входящий РЧ модулированный сигнал преобразуется с понижением частоты сразу в основную полосу частот за один этап. Супергетеродинная архитектура и архитектура с прямым преобразованием могут использовать различные схемные блоки и/или иметь различные схемные требования. Для ясности, нижеследующее описание относится к архитектуре с прямым преобразованием.
Частотный преобразователь 218 принимает и преобразует с понижением частоты усиленный РЧ-сигнал от VGA 216 с помощью сигнала гетеродина от гетеродина 220 и предоставляет сигнал, преобразованный с понижением частоты. Частота сигнала гетеродина выбрана так, что сигнальный компонент интересующего РЧ-канала преобразуется с понижением частоты в основную полосу частот или около основной полосы частот. Фильтр 222 низких частот фильтрует сигнал, преобразованный с понижением частоты, чтобы пропустить сигнальные компоненты в интересующем РЧ-канале и удалить помехи и нежелательные сигнальные компоненты, которые могли быть получены в ходе процесса преобразования с понижением частоты. Усилитель (AMP) 224 усиливает сигнал, принятый от фильтра 222 низких частот, с коэффициентом усиления Gamp и предоставляет аналоговый сигнал основной полосы частот. АЦП 226 переводит в цифровую форму аналоговый сигнал основной полосы частот и предоставляет выборки данных для процессора цифровой обработки сигналов (DSP) 230. DSP 230 производит цифровую обработку сигналов (например, демодуляцию OFDM, декодирование и так далее) по выборкам данных, как определено системой.
Основное управляющее устройство 240 руководит деятельностью различных обрабатывающих элементов в приемнике 200. Запоминающее устройство 242 хранит данные и программные коды для основного управляющего устройства 240.
На Фиг.2 показан частный образец приемника 200. В общем, приемник может выполнять преобразование сигнала, используя один или несколько каскадов усилителя, фильтра, частотного преобразователя и так далее, которые можно расположить иначе, чем показано на Фиг.2. Кроме того, для преобразования сигнала приемник может использовать другие схемные блоки, не показанные на Фиг.2.
Детектор 232 уровня мощности и регулятор 234 усиления управляют коэффициентами усиления различных усиливающих схемных блоков в приемнике 200. Эти различные усиливающие схемные блоки могут включать в себя LNA 212, VGA 216 и усилитель 224, как показано на Фиг.2. Коэффициенты усиления различных и/или других схемных блоков (например, частотного преобразователя 218) также могут управляться.
Суммарный коэффициент усиления приемника 200 можно регулировать дискретными шагами усиления на основании контура автоматической регулировки усиления (АРУ). Для приемника можно определить множество (М) режимов усиления. Каждый режим усиления соответствует различному общему коэффициенту усиления, который получен, исходя из конкретных коэффициентов усиления, использованных каждым из различных усиливающих схемных блоков в приемнике. Для примера, суммарный коэффициент усиления Gtotal для приемника можно выразить как:
| Gtotal=Glna+Gvga+Gamp+Gother, |
Уравнение (2) |
где Glna, Gvga и Gamp являются соответственно коэффициентами усиления для LNA 212, VGA 214 и усилителя 224, а Gother является коэффициентом усиления для всех прочих схемных блоков на приемном тракте до АЦП 226. В уравнении (2) коэффициенты даны в децибелах.
Режим наименьшего усиления может соответствовать наименьшему общему коэффициенту усиления приемника, который можно получить путем установки наименьших значений коэффициента усиления для LNA 212, VGA 216 и усилителя 224. Режим наивысшего усиления может соответствовать наивысшему общему коэффициенту усиления приемника, который можно получить путем установки максимальных коэффициентов усиления для LNA 212, VGA 216 и усилителя 224. Другие режимы усиления соответствуют различным суммарным коэффициентам усиления, полученным различной комбинацией установок коэффициентов усиления для LNA 212, VGA 216 и усилителя 224. Суммарный коэффициент усиления для каждого режима усиления обычно распределен по схемным блокам, так сказать, для достижения хороших эксплуатационных характеристик в показателях линейности, динамического диапазона, чувствительности и так далее. Установка коэффициента усиления для каждого схемного блока для каждого режима усиления может храниться в таблице соответствия.
Число режимов усиления (M) определяется множеством факторов, например, таких как суммарный динамический диапазон приемника, динамический диапазон АЦП, желаемые рабочие характеристики для контура АРУ и так далее. Динамический диапазон АЦП определен типом и конструкцией АЦП, выбранного для использования, и обычно постоянен. Если суммарный динамический диапазон очень велик (например, достигает 140 дБ для описанного выше примера) по сравнению с динамическим диапазоном АЦП, то может потребоваться много режимов усиления.
Обычно задается М режимов усиления так, чтобы они покрывали с перекрытием участков суммарный динамический диапазон для приемника. Например, наивысший режим усиления может покрывать поддиапазон от 0 дБ до 40 дБ из суммарного динамического диапазона, следующий более низкий режим усиления может покрывать поддиапазон от 20 дБ до 60 дБ, следующий более низкий режим усиления может покрывать поддиапазон от 40 дБ до 80 дБ и так далее, а самый низкий режим усиления может покрывать поддиапазон от 100 дБ до 140 дБ суммарного динамического диапазона.
В любой данный момент приемник работает в одном из М режимов усиления. Ниже описано, как можно выбрать текущий режим усиления. Детектор 232 мощности определяет среднюю мощность выборок данных от АЦП 226 и предоставляет значение средней мощности Pavg регулятору 234 усиления. Регулятор 234 усиления выбирает правильный режим усиления для приемника на основании средней мощности и текущего режима усиления. Регулятор 234 определяет установки используемых коэффициентов усиления для схемных блоков при текущем режиме усиления (например, на основании таблицы соответствия) и обеспечивает соответствующее управление для установки коэффициентов усиления для этих схемных блоков в назначенные значения.
Для выбора правильного режима усиления приемника можно использовать однонаправленный или двунаправленный механизм выбора усиления. Двунаправленный механизм может переходить от текущего режима усиления как к более высокому режиму усиления, так и к более низкому режиму усиления. Для двунаправленного механизма детектор мощности обычно определяет два состояния: (1) высокий уровень сигнала или насыщение и (2) низкий уровень сигнала или отсутствие сигнала. Двунаправленный механизм выбирает более низкий режим усиления, если обнаружен высокий уровень сигнала/насыщение, выбирает более высокий режим усиления, если обнаружен низкий уровень/отсутствие сигнала, и сохраняет текущий режим усиления в других случаях. Однонаправленный механизм может переходить от текущего режима усиления к другому режиму усиления в заданном направлении. Для нисходящего механизма детектор мощности обычно определяет условие высокого сигнала/насыщения. Нисходящий механизм выбирает более низкий режим усиления, если обнаружен высокий сигнал/насыщение, а в противном случае сохраняет текущий режим усиления. Для восходящего механизма детектор мощности обычно определяет условие низкого или отсутствующего сигнала. Восходящий механизм выбирает более высокий режим усиления, если обнаружен низкий/отсутствие сигнала, а в противном случае сохраняет текущий режим усиления. Однонаправленный механизм обычно быстрее, чем двунаправленный, потому что для однонаправленного механизма проверяется только одно условие, в то время как для двунаправленного механизма проверяются два условия.
И для однонаправленного и для двунаправленного механизмов время, необходимое для выбора правильного режима усиления, в значительной степени зависит от того, как быстро желаемое условие(я) можно точно определить. Во многих системах определение условия высокого сигнала/насыщения может быть достигнуто намного быстрее, чем определение условия низкого или отсутствующего сигнала. Объяснением этого является то, что обычно труднее определить отсутствие чего-нибудь, чем наличие этого чего-нибудь, при допущении, что требуемый сигнал имеет параметры отношения пиковой мощности к средней мощности, схожие с шумом, поскольку при отсутствии сигнала обнаруживается только шум.
Тем не менее, сигнал OFDM имеет большой PAPR, который часто намного больше, чем PAPR шума. Мгновенная мощность сигнала OFDM сильно изменяется. Следовательно, для определения условия высокого сигнала/насыщения детектору мощности обычно требуется усреднить большое число выборок данных для сигнала OFDM, прежде чем он сможет уверенно объявить высокий уровень сигнала/насыщение. С другой стороны, при отсутствии сигнала OFDM детектор мощности просто измеряет уровень шумов. Детектор мощности может усреднить меньшее число выборок данных для определения мощности шумов, поскольку PAPR тепловых помех намного ниже, чем PAPR сигнала OFDM.
Для OFDM детектор мощности может определять суммарную принятую мощность принятого сигнала OFDM, например, на основании выборок данных от АЦП. Эта суммарная мощность принятого сигнала включает в себя мощность шума и мощность сигнала, где мощность сигнала может маскироваться мощностью шума, если полученный сигнал OFDM около или ниже минимального уровня шума. Эта суммарная мощность принятого сигнала является также средней мощностью шума и сигнала, а не мгновенной мощностью шума и сигнала. Детектор мощности может сравнить суммарную мощность принятого сигнала относительно заранее заданного порогового значения и объявить низкое значение суммарной мощности принятого сигнала, если суммарная мощность принятого сигнала ниже порогового значения. Пороговое значение можно установить с небольшим отклонением над минимальным уровнем шумов с тем, чтобы детектор мощности главным образом обнаруживал шум (или низкий сигнал/отсутствие сигнала), потому что высокий PAPR сигнала OFDM может легко сместить суммарную мощность принятого сигнала выше порогового значения, когда сигнал OFDM находится около этого порогового значения.
По варианту осуществления для выбора правильного режима усиления для приемника используется восходящий однонаправленный механизм выбора усиления. Этот восходящий механизм начинает с режима самого низкого усиления, распознает условие низкой суммарной принятой мощности, переходит на режим более высокого усиления, когда это условие определено, и возвращается назад к режиму самого низкого усиления, когда определено условие возврата к исходным установкам. Восходящий механизм может уменьшить время, необходимое для выбора правильного режима усиления, потому что в системе OFDM распознавание низкой суммарной принятой мощности может быть осуществлено быстрее, чем распознавание высокого сигнала/насыщения. Ниже описан вариант осуществления восходящего механизма.
На Фиг.3 показана блок-схема варианта осуществления детектора 232 мощности, который включает в себя модуль 310 вычисления мощности, фильтр 320 и фиксатор 330. Модуль 310 принимает синфазные выборки DI и квадратурные выборки DQ, которые соответственно являются синфазными и квадратурными компонентами комплексных выборок данных от АЦП 226. В модуле 310 устройство 312a для возведения в квадрат возводит в квадрат каждую синфазную выборку, а устройство 312b для возведения в квадрат возводит в квадрат каждую квадратурную выборку. Суммирующее устройство 314 суммирует результаты с устройств 312а и 312b для возведения в квадрат и обеспечивает значение мощности для каждого периода выборки, которое можно выразить как:
P(n)=DI (n)+ DQ (n), |
Уравнение (3) |
где DI(n) и DQ(n) являются соответственно синфазными и квадратурными выборками для периода выборки n, а P(n) является значением мощности для периода выборки n.
Для варианта осуществления, показанного на Фиг.3, фильтр 320 выполнен фильтром первого порядка с бесконечной импульсной характеристикой (БИХ). В фильтре 320 устройство 322 суммирования принимает и суммирует значения мощности от модуля 310 с выходным сигналом задерживающего модуля 326 и обеспечивает отфильтрованное значение. Усиливающий модуль 324 масштабирует отфильтрованное значение коэффициентом усиления K и предоставляет масштабированное значение задерживающему модулю 326. Задерживающий модуль 326 сохраняет масштабированное значение и обеспечивает задержку в один период выборки. Характеристику фильтра 320 в z-области можно выразить как:
H(z)= , |
Уравнение (4) |
где 0
В общем, фильтр 320 может иметь любую полосу пропускания и его можно осуществить любым типом фильтра и с любым порядком фильтра. Для примера фильтр 320 может быть БИХ-фильтром, фильтром с конечной импульсной характеристикой (КИХ) или каким-нибудь другим фильтром. Фильтр 320 может быть фильтром первого порядка, как показано на Фиг.3, или фильтром более высокого порядка.
Фиксатор 330 принимает отфильтрованное значение от фильтра 320 и фиксирует его на основании селекторного сигнала. Выходные данные фиксатора 330 являются средней мощностью (Pavg) для выборок данных и свидетельствуют о суммарной мощности выходного сигнала АЦП 226. Средняя мощность корректируется, когда включается селекторный сигнал. Время срабатывания, за которое мощность выборок данных усредняется, можно определить на основании множества факторов, таких как, например, способ, по которому данные передаются в системе, желаемое время установления для контура АРУ и так далее. Для примера среднюю мощность можно вычислить на основании выборок данных в каждом пакете, выборок данных, полученных в каждом кадре или интервале времени, и так далее.
На Фиг.3 показан конкретный вариант осуществления для определения средней мощности выборок данных. Среднюю мощность также можно оценить другими способами. Для примера выборки данных можно сравнить относительно порогового значения, и можно подсчитать число выборок данных, которые окажутся ниже порогового значения. Процентное отношение выборок данных, которые оказались ниже порогового значения, можно использовать как грубую оценку средней мощности. Этот способ оценки средней мощности требует меньших вычислений и может быть достаточно точным.
На Фиг.4 показана блок-схема варианта осуществления регулятора 234 усиления. В регуляторе 234 усиления детектор 412 низкой суммарной мощности принятого сигнала принимает среднюю мощность от детектора 232 мощности, сравнивает среднюю мощность относительно заранее заданной пороговой величины и объявляет состояние низкой суммарной мощности принятого сигнала, если средняя мощность меньше, чем пороговая величина. Переключатель 414 режима усиления получает выходное значение от детектора 412 и определяет, сохранять ли текущий режим усиления, переходить ли к следующему, более высокому режиму усиления или вернуться обратно к режиму наименьшего усиления. Ниже описано, как переключатель 414 может обеспечивать конечный автомат для выбора правильного режима усиления для приемника. Таблица 416 соответствия усиления получает текущий режим усиления от переключателя 416 и обеспечивает соответствующие сигналы управления усилением для различных схемных блоков усиления (например, LNA 212, VGA 216 и усилитель 224 на Фиг.2).
На Фиг.5 показан процесс 500 выбора правильного режима усиления для приемника с использованием восходящего механизма. Процесс 500 можно выполнить с помощью детектора 232 мощности и регулятора 234 усиления, как показано на Фиг.2.
В начале выбирается режим наименьшего усиления для приемника (блок 512). Для каждого интервала корректировки (например, каждый пакет данных или каждый кадр, или интервал времени) для получения средней мощности для выборок данных вычисляется и усредняется мощность выборок данных (блок 514). Затем делается определение, надо ли делать возврат приемника к режиму наименьшего усиления (блок 516). Режим наименьшего усиления можно выбрать, если, например, обнаружен необычно большой сигнал (например, заданное процентное отношение или более выборок данных выше порогового значения), приемник переключается на прием данных от другого передатчика и так далее. Если ответом для блока 516 является “Да”, то процесс возвращается к блоку 512 и для приемника выбирается режим наименьшего усиления. В противном случае, если ответом для блока 516 является “Нет”, далее проверяется, обнаружено ли, что суммарная мощность принятого сигнала низка (блок 518). Это условие можно объявить, если средняя мощность ниже предопределенной пороговой величины. Если в блоке 518 обнаружено, что суммарная мощность принятого сигнала низка, то затем для приемника выбирается следующий режим более высокого усиления (блок 520) и затем процесс возвращается к блоку 514. В противном случае, если в блоке 518 не обнаружено, что суммарная мощность принятого сигнала низка, то сохраняется текущий режим усиления, а процесс возвращается к блоку 514.
Восходящий механизм может обеспечить более быстрое время реакции для сигнала OFDM в большинстве сценариев, чем двунаправленный и нисходящий механизмы. Усовершенствование можно проиллюстрировать примером. В этом примере приемник имеет пять режимов усиления. Детектор мощности способен обнаруживать добавочный гауссов белый шум за Т секунд. Тот же самый детектор мощности способен обнаруживать высокий сигнал/насыщение для сигнала OFDM с PAPR в 13 дБ примерно за 3T секунд. Восходящий механизм способен достичь надлежащего режима усиления максимум за 4T секунд. Это предполагает, что приемник начинает работу с наименьшего режима усиления, требуется достичь наибольшего режима усиления и, возможно, переходить к следующему более высокому режиму усиления каждые Т секунд. Двунаправленный механизм способен достичь надлежащего режима усиления максимум за 6T секунд. Это предполагает, что приемник начинает работу со среднего режима усиления, требуется достичь наибольшего или наименьшего режима усиления и, возможно, переходить к следующему более низкому или более высокому режиму усиления каждые 3T секунд. Нисходящий механизм способен достичь надлежащего режима усиления максимум за 12T секунд. Это предполагает, что приемник начинает работу с наибольшего режима усиления, требуется достичь наименьшего режима усиления и, возможно, переходить к следующему более низкому режиму усиления каждые 3Т секунд. Экономия времени, достигнутая восходящим механизмом, увеличивается с увеличением числа режимов усиления.
В некоторых сценариях работы, возможно, предпочтительным будет использование нисходящего механизма или двунаправленного механизма. Для примера нисходящий механизм можно использовать в (1) системе с более низким PAPR, (2) для регулировки усиления, основанной на передаче (например, передаче пилот-сигнала), которая выполнена так, чтобы иметь низкий PAPR, и так далее. Двунаправленный механизм можно использовать, например, после того, как достигнут номинальный режим усиления и для всех или многих сценариев, в которых можно использовать нисходящий механизм. Для нисходящего и двунаправленного механизмов регулятор мощности может определять условие высокой суммарной мощности принятого сигнала, основываясь, например, на средней мощности от детектора мощности. Регулятор усиления может сравнить среднюю мощность относительно высокой пороговой величины и объявить состояние высокой суммарной мощности принятого сигнала, если средняя мощность превосходит высокую пороговую величину. Когда определено состояние высокой суммарной мощности принятого сигнала, средняя мощность состоит преимущественно из мощности сигнала. Когда определено состояние высокой суммарной мощности принятого сигнала, регулятор усиления может выбрать режим более низкого усиления.
На Фиг.2-5 показан специфический вариант осуществления настоящего изобретения, в котором для получения средней мощности мощность выборок данных вычисляется и усредняется. Указанная средняя мощность является показателем суммарной мощности на выходе АЦП. Этот вариант осуществления желателен, поскольку вычисление и усреднение мощности можно выполнить цифровым способом по выборкам данных. В общем, для управления усилением суммарную мощность принятого модулированного сигнала можно измерить в любой точке приемного тракта от LNA до АЦП. Например, детектор мощности может измерять суммарную мощность фильтрованного сигнала на выходе фильтра 222 низких частот, аналогового сигнала на основной полосе частот на входе АЦП 226 и так далее на Фиг.2.
Описанный в настоящем документе способ регулировки усиления можно осуществить различными средствами. Для примера эти способы можно осуществить аппаратными средствами, программными средствами или их комбинацией. Для осуществления аппаратными средствами обрабатывающие модули, используемые для выполнения управления усилением (например, детектор 232 мощности и регулятор 234 усиления, показанные на Фиг.2), можно осуществить в одной или нескольких специализированных интегральных микросхемах (ASIC), процессорах цифровой обработки сигнала (DSP), устройствах цифровой обработки сигналов (УЦОС), программируемых логических устройствах (ПЛУ), логических матрицах, программируемых пользователем (FPGA), процессорах, устройствах управления, микроконтроллерах, микропроцессорах, электронных устройствах, других электронных модулях, предназначенных для выполнения функций, описанных в настоящем документе, или их комбинации.
Для осуществления программными средствами способы можно осуществить с помощью модулей (например, процедур, функций и так далее), которые выполняют функции, описанные здесь. Программные коды можно хранить в запоминающем устройстве (например, в запоминающем устройстве 242 на Фиг.2) и выполнять посредством процессора (например, основного управляющего устройства 240). Запоминающее устройство можно выполнить внутри процессора или внешним по отношению к процессору.
Предшествующее описание раскрытых вариантов осуществления предоставлено для того, чтобы дать возможность любому специалисту в данной области техники сделать или использовать настоящее изобретение. Различные видоизменения для этих вариантов осуществления будут легко видимы специалистам в данной области техники, а общие принципы, определенные в данном документе, можно применить к другим вариантам осуществления, не выходя за пределы сущности и объема изобретения. Таким образом, настоящее изобретение не предназначено быть ограниченным вариантами осуществления, показанными в настоящем документе, а должно предоставлять широкую область в соответствии с принципами и новыми признаками, раскрытыми в настоящем документе.
Формула изобретения
1. Устройство регулирования усиления приемника в системе связи с множеством несущих, содержащее: детектор, выполненный с возможностью определения суммарной принятой мощности модулированного сигнала; и регулятор, выполненный с возможностью сравнения обнаруженной суммарной принятой мощности с пороговым показателем, по существу, отсутствия сигнала и регулировки усиления приемника в одном направлении, от наименьшего усиления к наибольшему усилению, на основании сравнения обнаруженной суммарной принятой мощности с упомянутым пороговым значением.
2. Устройство по п.1, в котором детектор выполнен с возможностью вычисления мощности выборок данных для модулированного сигнала и усреднения мощности выборок данных для получения упомянутой обнаруженной суммарной принятой мощности.
3. Устройство по п.1, в котором регулятор выполнен с возможностью регулировки усиления приемника дискретными шагами усиления и в одном направлении, от наименьшего режима усиления при наименьшем шаге усиления к наибольшему режиму усиления при наибольшем шаге усиления, на основании обнаруженной суммарной принятой мощности.
4. Устройство по п.3, в котором регулятор выполнен с возможностью обнаружения состояния низкой суммарной принятой мощности, перехода к режиму более высокого усиления, если обнаружено состояние низкой суммарной принятой мощности, и сохранения текущего режима усиления, если состояние низкой суммарной принятой мощности не обнаружено.
5. Устройство по п.4, в котором регулятор выполнен с возможностью сравнения обнаруженной суммарной принятой мощности с заданным пороговым значением и объявления состояния низкой суммарной принятой мощности, если обнаруженная суммарная принятая мощность ниже заданного порогового значения.
6. Устройство по п.3, в котором регулятор выполнен с возможностью начальной установки приемника в режим наименьшего усиления.
7. Устройство по п.3, в котором регулятор выполнен с возможностью сброса приемника в режим наименьшего усиления при обнаружении условия сброса.
8. Устройство по п.1, в котором модулированный сигнал генерируется посредством мультиплексирования с ортогональным разделением частот (OFDM).
9. Способ регулировки усиления приемника в системе связи с множеством несущих, содержащий этапы, на которых: обнаруживают суммарную принятую мощность модулированного сигнала; сравнивают обнаруженную суммарную принятую мощность сигнала с пороговым показателем, по существу, отсутствия сигнала и регулируют усиление приемника в одном направлении, от наименьшего усиления к наибольшему усилению, на основании сравнения обнаруженной суммарной принятой мощности с упомянутым пороговым значением.
10. Способ по п.9, в котором регулировка усиления приемника содержит этап, на котором: регулируют усиление приемника дискретными шагами усиления и в одном направлении, от наименьшего режима усиления при наименьшем шаге усиления к наибольшему режиму усиления при наибольшем шаге усиления, на основании обнаруженной суммарной принятой мощности.
11. Способ по п.10, в котором этап регулирования усиления приемника дискретными шагами усиления содержит этапы, на которых: обнаруживают состояние низкой суммарной принятой мощности; осуществляют переход к режиму более высокого усиления, если обнаружено состояние низкой суммарной принятой мощности; и сохраняют текущий режим усиления, если состояние низкой суммарной принятой мощности не обнаружено.
12. Способ по п.11, в котором этап обнаружения состояния низкой суммарной принятой мощности содержит этапы, на которых: сравнивают обнаруженную суммарную принятую мощность с заданным пороговым значением и объявляют состояние низкой суммарной принятой мощности, если обнаруженная суммарная принятая мощность ниже заданного порогового значения.
13. Устройство для регулирования усиления приемника в системе связи с множеством несущих, содержащее: средство для обнаружения суммарной принятой мощности модулированного сигнала; средство для сравнения обнаруженной суммарной принятой мощности с пороговым показателем, по существу, отсутствия сигнала и средство для регулировки усиления приемника в одном направлении, от наименьшего усиления к наибольшему усилению, на основании сравнения обнаруженной суммарной принятой мощности с упомянутым пороговым значением.
14. Устройство по п.13, в котором средство для регулировки усиления содержит средство для регулировки усиления приемника дискретными шагами усиления и в одном направлении, от наименьшего режима усиления при наименьшем шаге усиления к наибольшему режиму усиления при наибольшем шаге усиления, на основании обнаруженной суммарной принятой мощности.
15. Устройство по п.14, в котором средство для регулировки усиления приемника дискретными шагами усиления содержит: средство для обнаружения состояния низкой суммарной принятой мощности, средство для перехода к режиму более высокого усиления, если обнаружено состояние низкой суммарной принятой мощности, и средство для сохранения текущего режима усиления, если состояние низкой суммарной принятой мощности не обнаружено.
16. Устройство по п.15, в котором средство для обнаружения состояния низкой суммарной принятой мощности содержит: средство для сравнения обнаруженной суммарной принятой мощности с заданным пороговым значением и средство для объявления состояния низкой суммарной принятой мощности, если обнаруженная суммарная принятая мощность ниже заданного порогового значения.
17. Устройство для регулировки усиления приемника в системе связи с множеством несущих, содержащее: детектор, выполненный с возможностью обнаружения суммарной принятой мощности модулированного сигнала, сгенерированного посредством мультиплексирования с ортогональным разделением частот (OFDM) и имеющего высокое отношение пиковой мощности к средней мощности (PAPR); и регулятор, выполненный с возможностью сравнивать обнаруженную суммарную принятую мощность с пороговым показателем, по существу, отсутствия сигнала и регулировать усиление приемника дискретными шагами усиления на основании сравнения обнаруженной суммарной принятой мощности с упомянутым пороговым значением.
18. Устройство по п.17, в котором регулятор выполнен с возможностью обнаружения состояния низкой суммарной принятой мощности, выбора более высокого шага усиления, если обнаружено состояние низкой суммарной принятой мощности, и сохранения текущего шага усиления, если состояние низкой суммарной принятой мощности не обнаружено.
19. Устройство по п.17, в котором регулятор выполнен с возможностью обнаружения состояния высокой суммарной принятой мощности, выбора более низкого шага усиления, если обнаружено состояние высокой суммарной принятой мощности, и сохранения текущего шага усиления, если состояние высокой суммарной принятой мощности не обнаружено.
20. Устройство по п.17, в котором регулятор выполнен с возможностью обнаружения состояния высокой и низкой суммарной принятой мощности, выбора более высокого шага усиления, если обнаружено состояние низкой суммарной принятой мощности, и выбора более низкого шага усиления, если обнаружено состояние высокой суммарной принятой мощности.
21. Способ регулировки усиления приемника в системе связи с множеством несущих, содержащий этапы, на которых: обнаруживают суммарную принятую мощность модулированного сигнала, сгенерированного посредством мультиплексирования с ортогональным разделением частот (OFDM) и имеющего высокое отношение пиковой мощности к средней мощности (PAPR); сравнивают обнаруженную суммарную принятую мощность с пороговым показателем, по существу, отсутствия сигнала и регулируют усиление приемника дискретными шагами усиления на основе сравнения обнаруженной суммарной принятой мощности с упомянутым пороговым значением.
22. Способ по п.21, в котором этап регулирования усиления приемника дискретными шагами содержит этапы, на которых: обнаруживают состояние низкой суммарной принятой мощности, выбирают более высокий шаг усиления, если обнаружено состояние низкой суммарной принятой мощности; и сохраняют текущий шаг усиления, если состояние низкой суммарной принятой мощности не обнаружено.
23. Способ по п.21, в котором этап регулирования усиления приемника дискретными шагами усиления содержит этапы, на которых: обнаруживают состояние высокой суммарной принятой мощности; выбирают более низкий шаг усиления, если обнаружено состояние высокой суммарной принятой мощности; и сохраняют текущий шаг усиления, если состояние высокой суммарной принятой мощности не обнаружено.
24. Способ по п.21, в котором этап регулирования усиления приемника дискретными шагами усиления содержит этапы, на которых: обнаруживают состояние высокой суммарной принятой мощности; обнаруживают состояние низкой суммарной принятой мощности; выбирают более высокий шаг усиления, если обнаружено состояние низкой суммарной принятой мощности; и выбирают более низкий шаг усиления, если обнаружено состояние высокой суммарной принятой мощности.
25. Устройство для регулирования усиления приемника в сети связи с несколькими несущими, содержащее: средство для определения суммарной принятой мощности модулированного сигнала, сгенерированного посредством мультиплексирования с ортогональным разделением частот (OFDM) и имеющего высокое отношение пиковой мощности к средней мощности (PAPR); средство для сравнения обнаруженной суммарной принятой мощности с пороговым показателем, по существу, отсутствия сигнала и средство для регулировки усиления приемника дискретными шагами усиления на основании сравнения обнаруженной суммарной принятой мощности с упомянутым пороговым значением.
26. Устройство по п.25, в котором средство для регулировки усиления приемника дискретными шагами усиления содержит: средство для обнаружения состояния низкой суммарной принятой мощности; средство для выбора более высокого шага усиления, если обнаружено состояние низкой суммарной принятой мощности; и средство для сохранения текущего шага усиления, если состояние низкой суммарной принятой мощности не обнаружено.
27. Устройство по п.25, в котором средство для регулировки усиления приемника дискретными шагами усиления содержит: средство для обнаружения состояния высокой суммарной принятой мощности; средство для выбора более низкого шага усиления, если обнаружено состояние высокой суммарной принятой мощности; и средство для сохранения текущего режима усиления, если состояние высокой суммарной принятой мощности не обнаружено.
28. Устройство по п.25, в котором средство для регулировки усиления приемника дискретными шагами усиления содержит: средство для обнаружения состояния высокой суммарной принятой мощности; средство для обнаружения состояния низкой суммарной принятой мощности; средство для выбора более высокого шага усиления, если обнаружено состояние низкой суммарной принятой мощности; и средство для выбора более низкого шага усиления, если обнаружено состояние высокой суммарной принятой мощности.
РИСУНКИ
|
|