|
|
(21), (22) Заявка: 2008120439/09, 22.05.2008
(24) Дата начала отсчета срока действия патента:
22.05.2008
(43) Дата публикации заявки: 27.11.2009
(46) Опубликовано: 10.05.2010
(56) Список документов, цитированных в отчете о поиске:
US 5287518 A, 15.02.1994. RU 2027041 C1, 20.01.1995. RU 2003111055 A, 20.11.2004. RU 2050451 C1, 20.12.1995. RU 2024041 C1, 20.01.1995. JP 58-26558 A, 17.02.1983. ИВАНОВ-СМОЛЕНСКИЙ А.В., Электрические машины. – М.: Энергия, 1980, с.155-156. ВОРОНЦОВ А.В., Газораспределительные механизмы 4-тактных двигателей. Мотто. – 2006, 12, с.72-78.ВЕРШИГОРА А.Е., ИГНАТОВ А.П. и др., Переднеприводные автомобили ВАЗ. – М.: ОСААФ, 1989, с.56, рис.26.
Адрес для переписки:
394026, г.Воронеж, Московский просп., 14, ГОУ ВПО “ВГТУ”, патентный отдел
|
(72) Автор(ы):
Литвиненко Александр Михайлович (RU)
(73) Патентообладатель(и):
Государственное образовательное учреждение высшего профессионального образования “Воронежский государственный технический университет” (RU)
|
(54) АВТОТРАКТОРНЫЙ БЕСКОНТАКТНЫЙ ЭЛЕКТРОГЕНЕРАТОР
(57) Реферат:
Изобретение относится к области электротехники и касается особенностей конструктивного выполнения электрических машин, а именно – к бесконтактным синхронным генераторам со встроенным выпрямителем, преимущественно для автотракторной техники. Предлагаемый автотракторный бесконтактный электрогенератор, содержащий ротор, а также статор с системой возбуждения и рабочей обмоткой, согласно изобретению, является частью распределительного механизма и размещен в верхней или нижней части головки блока указанного распределительного механизма. При этом ротор бесконтактного электрогенератора выполнен в виде зубчатого шкива привода клапанного механизма двигателя внутреннего сгорания, а зубцы указанного зубчатого шкива имеют возможность вхождения в магнитный контакт через воздушный зазор с магнитопроводами статора бесконтактного электрогенератора, на которых размещены рабочие катушки и которые соединены с другими магнитопроводами статора, на которых размещены катушки возбуждения. Технический результат, обеспечиваемый данным изобретением, заключается в повышении эксплуатационных характеристик, уменьшении массы, улучшении теплофизических характеристик и упрощении сопряжения генератора с коленчатым валом. Использование данной конструкции позволяет отказаться от отдельного генератора, что снижает потребляемую мощность, и использовать в его качестве шкивы распредвала, что улучшает массогабаритные показатели и снижает нагрев, что увеличивает срок службы, то есть улучшает эксплуатационные характеристики. 5 ил.
Изобретение относится к электрическим машинам, а именно к бесконтактным синхронным генераторам индукторного типа, работающим преимущественно на выпрямительную нагрузку, применяемым в генераторных установках автотракторной техники.
Газораспределительные (клапанные) механизмы двигателя внутреннего сгорания широко известны. В их числе определенным образом распространенным является механизм в виде распределительного вала с ротором, выполненным в виде зубчатого шкива [1, 2] и ремнем. Один из шкивов установлен на коленвале двигателя, другой [1], или другие [2] (в случае, например, наличия двух распредвалов) – на распредвалах. Шкивы в этом случае служат только для передачи механической мощности.
Известна генераторная установка, использующая в качестве ротора подвижные части – двигателя внутреннего сгорания, например, коленчатый вал, а именно его щеки [3].
Ее недостатком является наличие щеточного контакта, в частности колец, установленных на коленвалу, что приводит к увеличению его осевой длины.
Наиболее близким к заявляемому по технической сущности и достигаемым результатам является бесконтактный синхронный генератор [4], содержащий статор с системой возбуждения и рабочей обмоткой.
Его недостатком является то, что требуется серьезное вмешательство в конструкцию коленвала, в частности исполнение щек в виде шихтованных сегментов.
Технический результат, заключающийся в минимальном вмешательстве в конструкцию двигателя, обеспечивается за счет того, что автотракторный бесконтактный электрогенератор, содержащий ротор, а также статор с системой возбуждения и рабочей обмоткой, согласно изобретению является частью распределительного механизма, при этом бесконтактный электрогенератор размещен в верхней или нижней части головки блока распределительного механизма, ротор бесконтактного электрогенератора выполнен в виде зубчатого шкива привода клапанного механизма двигателя внутреннего сгорания, при этом зубцы зубчатого шкива имеют возможность вхождения в магнитный контакт через воздушный зазор с магнитопроводами статора бесконтактного электрогенератора, на которых размещены рабочие катушки и которые соединены с другими магнитопроводами статора, на которых размещены катушки возбуждения.
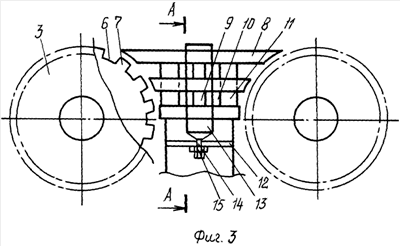
На чертеже изображено заявляемое устройство, где на фиг.1 показано схематически расположение генератора на двигателе с двумя распределительными валами, на фиг.2 – то же, но для двигателя с одним распредвалом, при этом генератор расположен под шкивом распределительного вала, на фиг.3 более детально показана конструкция генератора для двигателя с двумя распредвалами, на фиг.4 – вид со стороны одного из зазоров данного генератора, на фиг.5 – разрез по середине. Что же касается генератора, приведенного на фиг.2, то он представляет собой фактически половину генератора, показанного на фиг.3, и поэтому на чертеже не показан.
Генератор является частью распределительного механизма, в состав которого входят ротор, выполненный в виде зубчатого шкива коленвала 1, зубчатый ремень 2, шкивы распределительного вала 3, натяжной ролик 4. Основная часть электрогенератора – статор установлен или в верхней части головки блока – фиг.1, или в ее нижней части – фиг.2. При таком расположении статора электрогенератора его ротор выполняется в виде зубчатого шкива привода клапанного механизма. Особенностью ротора, выполненного в виде зубчатого шкива 3 является наличие пазов 6 и зубцов 7, которые входят в магнитный контакт через воздушный зазор с магнитопроводами 8 генератора 5, эти магнитопроводы имеют соединение с вертикальными магнитопроводами 9 с катушками возбуждения 10, а на магнитопроводы 8, в частности, на средний, показанный на фиг.3, 4, надеты рабочие катушки 11. Генератор 5 закреплен на полке 12 с помощью немагнитной ленты 13, к концам которой приварены резьбовые стержни 14, на которые навернуты гайки 15.
Работа устройства. При работе двигателя шкивы 1 и 3 вращаются. При этом зубцы 7 входят в магнитный контакт с магнитопроводами 8, выполняющими роль зубцов статора. При размыкании магнитной цепи, т.е. при нахождении напротив магнитопроводов 8 пазов 6, магнитный поток, наведенный катушками возбуждения 10, пересекает витки рабочих катушек 11, наводя в них ток нагрузки. Управление данным генератором осуществляется от штатного регулятора напряжения. Единственное конструктивное изменение, вносимое в конструкцию двигателя, состоит в том, что для уменьшения потерь на вихревые токи шкивы 3 выполняются шихтованными.
Использование данной конструкции позволяет отказаться от отдельного генератора, что снижает потребляемую мощность, и использовать в качестве ротора шкивы распределительного вала, что улучшает массогабаритные показатели, а также снижает нагрев, увеличивает срок службы, то есть улучшает эксплуатационные характеристики при отсутствии контактных щеток.
Источники информации
1. Вершигора В.А., Игнатов А.П. и др. Переднеприводные автомобили ВАЗ. – М.: ОСААФ, 1989. – 335 с. ил., рис.26, с.56.
2. Воронцов А.Е. Газораспределительные механизмы 4-тактных двигателей. – Мото, 12, 2006, с.72-78.
3. Патент РФ 2027041 – Генераторная установка / Иванов В.Г. – опубл. 20.01.95, Бюл. 2.
4. Патент США 5.287.518 – Моторный коленвал с генератором переменного магнитного сопротивления – опубл. 15.02.1994.
Формула изобретения
Автотракторный бесконтактный электрогенератор, содержащий ротор, а также статор с системой возбуждения и рабочей обмоткой, отличающийся тем, что он является частью распределительного механизма, при этом бесконтактный электрогенератор размещен в верхней или нижней части головки блока распределительного механизма, ротор бесконтактного электрогенератора выполнен в виде зубчатого шкива привода клапанного механизма двигателя внутреннего сгорания, при этом зубцы зубчатого шкива имеют возможность вхождения в магнитный контакт через воздушный зазор с магнитопроводами статора бесконтактного электрогенератора, на которых размещены рабочие катушки и которые соединены с другими магнитопроводами статора, на которых размещены катушки возбуждения.
РИСУНКИ
|
|