|
(21), (22) Заявка: 2007127317/09, 13.12.2005
(24) Дата начала отсчета срока действия патента:
13.12.2005
(30) Конвенционный приоритет:
17.12.2004 DE 102004062169.1
(43) Дата публикации заявки: 27.01.2009
(46) Опубликовано: 10.05.2010
(56) Список документов, цитированных в отчете о поиске:
DE 4210657 A1, 07.10.1993. RU 98116149 A, 20.06.2000. DE 4020026 A1, 31.10.1991. WO 9116742 A1, 31.10.1991.
(85) Дата перевода заявки PCT на национальную фазу:
17.07.2007
(86) Заявка PCT:
EP 2005/056729 20051213
(87) Публикация PCT:
WO 2006/063993 20060622
Адрес для переписки:
129090, Москва, ул. Б.Спасская, 25, стр.3, ООО “Юридическая фирма Городисский и Партнеры”, пат.пов. Ю.Д.Кузнецову, рег. 595
|
(72) Автор(ы):
КОШМИДЕР Хайко (DE), ОБЕНАУС Свен (DE)
(73) Патентообладатель(и):
СИМЕНС АКЦИЕНГЕЗЕЛЛЬШАФТ (DE)
|
(54) РАСПРЕДЕЛИТЕЛЬНОЕ УСТРОЙСТВО
(57) Реферат:
Изобретение относится к распределительному устройству (7) с по крайней мере двумя модульными функциональными блоками (9), которые соответственно снабжены имеющим соединительную линию (11), способным к коммуникации прибором камеры (8) для коммуникации с шинной линией камеры (17). Для подсоединения способных к коммуникации приборов камеры (8) по крайней мере двух модульных функциональных блоков (9) к шинной линии камеры (17) предусмотрен общий шинный модуль (12; 22; 23), причем шинный модуль (12; 22; 23) для присоединения каждой из соединительных линий (11) отдельных способных к коммуникации приборов камеры (8) к шинному модулю (12; 22; 23) соответственно содержит отдельное приборное подключение (16), для присоединения шинной линии камеры (17) к шинному модулю (12; 22; 23) – подключение камерной шины (18), а для гальванически развязанной связи каждого из приборных подключений (16) с подключением шины камеры (18) соответственно – расположенный между приборным подключением (16) и подключением шины камеры (18), отдельный, снабженный схемой усилителя-повторителя (20) канал связи (19). Технический результат – упрощение проводного монтажа распределительного устройства. 18 з.п. ф-лы, 5 ил.
Изобретение лежит в области расположения коммутационных аппаратов для отпуска или распределения электрической энергии и относится к распределительному устройству с по крайней мере двумя модульными функциональными блоками для функциональных отводов, которые соответственно снабжены имеющим соединительную линию, способным к коммуникации прибором камеры распределительного устройства для коммуникации с шинной линией камеры.
В частности, в распределительных устройствах высокой готовности каждый из функциональных блоков должен быть заменяемым в текущем режиме эксплуатации без отрицательного воздействия на другие функциональные блоки или, соответствено, функциональные отводы.
В соответствующем родовому понятию распределительном устройстве, как оно известно из описания к патенту DE 4210657 С2, способные к коммуникации приборы камеры в виде коммуникационных модулей в простой линейной топологии связаны с шинной линией камеры в виде шинопровода. Чтобы избежать прерывания шинной линии камеры при замене модульного функционального блока, связь функциональных блоков с шинной линией камеры происходит через соединительные линии в виде тупиковых линий. Использование этих тупиковых линий, однако, приводит к коммуникационным помехам и отказам вследствие отражений сигнала при высоких скоростях передачи данных.
Исходя из распределительного устройства согласно ограничительной части пункта 1 формулы изобретения (DE 4210657 С2), в основе изобретения лежит задача упрощения проводного монтажа распределительного устройства.
Эта задача решается согласно изобретению за счет того, что для подсоединения способных к коммуникации приборов камеры по крайней мере двух модульных функциональных блоков к шинной линии камеры предусмотрен общий шинный модуль, причем шинный модуль содержит для присоединения каждой из соединительных линий отдельных способных к коммуникации приборов камеры к шинному модулю соответственно отдельные приборные подключения, для присоединения шинной линии камеры к шинному модулю – подключение шины камеры, а для гальванически разделенной связи каждого из приборных подключений с подсоединением шины камеры – соответственно отдельный, расположенный между приборным подключением и подключением шины камеры канал связи, снабженный схемой усилителя-повторителя.
Предпочтительная форма выполнения нового распределительного устройства предусматривает, что шинный модуль содержит более чем два отдельных приборных подключения.
В дальнейшей предпочтительной форме выполнения предусмотрено, что для подсоединения способных к коммуникации приборов камеры более чем двух модульных функциональных блоков к шинной линии камеры предусмотрена комбинация из по крайней мере двух шинных модулей, причем каждый из по крайней мере двух шинных модулей содержит два или более приборных подключения. При соответствующей комбинации является простым образом возможным присоединение любого количества модульных функциональных блоков.
Выгодным является, если обмен данными происходит через соединительные линии и шинную линию камеры по стандарту передачи RS-485, в частности, с обычной для известной шинной системы камеры Profibus-DP скоростью передачи более чем 500 кбит/с.
Дальнейшая выгодная форма выполнения нового распределительного устройства предусматривает, что шинный модуль расположен в пространстве вне функционального пространства камеры распределительного устройства, в частности на DIN-шине. При этом под функциональным пространством специалист понимает конструктивное пространство в распределительном устройстве, которое служит для размещения модульных функциональных блоков.
Для защиты от прикосновения и от попадания внутрь твердых тел в дальнейшей предпочтительной форме выполнения предусмотрено, что все отдельные, снабженные схемой усилителя-повторителя каналы связи шинного модуля расположены в общем корпусе.
Далее предусмотрено, что приборные подключения и подключение шины камеры шинного модуля выполнены в виде снимаемой с корпуса компоненты штекерной системы, чтобы выполнить шинный модуль еще более удобным для монтажа и легче монтируемым.
Изобретение поясняется в последующем более подробно на основе Фигур 1-5. При этом показывают:
Фигура 1 – известное из прежней практики низковольтное распределительное устройство с активными тупиковыми линиями,
Фигура 2 – соответствующее изобретению распределительное устройство в виде низковольтного распределительного устройства с шинным модулем,
Фигура 3 – шинный модуль согласно Фигуре 2, и
Фигуры 4 и 5 – предпочтительные формы выполнения соответствующего изобретению шинного модуля.
Согласно Фигуре 1 в до сих пор обычных на практике распределительных устройствах 1, в которых множество снабженных способными к коммуникации приборами камеры 2 модульных функциональных блоков 3 расположены в камере распределительного устройства 4, способные к коммуникации приборы камеры 2 снабжены соединительными линиями в виде тупиковых линий 5. Через эти тупиковые линии 5 способные к коммуникации приборы камеры 2 подключены к выполненной в простой линейной топологии шинной линии камеры 6.
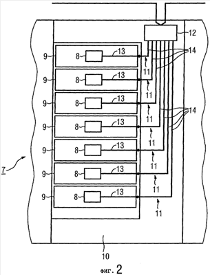
Согласно Фигуре 2 в соответствующем изобретению распределительном устройстве 7 в виде низковольтного распределительного устройства высокой готовности предусмотрено, что присоединение способных к коммуникации приборов камеры 8 модульных функциональных блоков 9 камеры распределительного устройства 10 происходит без тупиковых линий. Для этого каждый из способных к коммуникации приборов камеры 8 через соответственно одну состоящую из двух отрезков соединительную линию 11 подсоединен к шинному модулю 12. При этом первый отрезок 13 соединительной линии 11 проходит внутри модульных функциональных блоков 9, а второй отрезок 14 соединительных линий 11 проходит между модульным функциональным блоком 9 и шинным модулем 12. Первый отрезок 13 с одной стороны предварительно снабжен не показанной на Фигурах девятиполюсной компонентой штекерной системы B-SUB в форме вилочной части и согласующим сопротивлением. Его длина составляет порядка 1 метра. Второй отрезок 14 с одной стороны предварительно снабжен первой компонентой 15 штекерной системы RJ45 в форме вилочной части. Этот второй отрезок 14 имеет длину порядка 2,5 метров.
Согласно Фигуре 3 шинный модуль 12 содержит для присоединения к шинному модулю 12 отдельных способных к коммуникации приборов камеры 8 множество отдельных приборных подключений 16 в форме второй, выполненной в виде розеточной части, компоненты штекерной системы RJ45. Кроме того, шинный модуль 12 содержит для присоединения шинной линии камеры 17 к шинному модулю 12 отдельное подключение шины камеры 18 в виде девятиполюсной, выполненной в виде розеточной части компоненты штекерной системы DB-SUB. Для гальванически развязанной связи каждого из приборных подключений 16 с подключением шины камеры 18 между одним из приборных подключений 16 и подключением шины камеры 18 предусмотрен отдельный канал связи 19, причем каждый из каналов связи 19 снабжен известной схемой усилителя-повторителя 20.
Так, на практике является обычным, снабжать камеры распределительного устройства 21 низковольтных распределительных устройств переменным, в частности, четным числом более чем два подлежащих присоединению модульных функциональных блоков, согласно Фигурам 4 и 5 в предпочтительной форме выполнения предусмотрено, что шинный модуль 22 или, соответственно, 23 содержит четыре или шесть отдельных приборных подключений. Тем самым к шинному модулю 22 или, соответственно, 23 могут присоединяться до четырех или, соответственно, до шести модульных функциональных блоков 9. С этими обоими вариантами шинного модуля (4-кратный или 6-кратный) за счет соответствующей комбинации может быть осуществлено присоединение любого обычного на практике числа модульных функциональных блоков 9 к шинной линии камеры 17.
Шинный модуль подвержен вследствие его применения внутри низковольтного распределительного устройства особым условиям окружающей среды и поэтому должен соответствовать особым требованиям относительно его поведения при нагреве, его эксплуатационной надежности и безопасности для обслуживающего персонала и потребителей, а также поведения в его электрическом окружении. При этом является предпочтительным, что все компоненты шинного модуля, в частности отдельные снабженные схемой усилителя-повторителя каналы связи 19, размещены в общем корпусе 24. Монтаж шинного модуля 12, 22, 23 происходит внутри камеры низковольтного распределительного устройства в не представленном на Фигурах отсеке кабельных присоединений или в также не представленном монтажном пространстве, а именно вне функционального пространства камер распределительного устройства.
Так как приборные подключения 16 и подключение шины камеры 18 выполнены в виде съемных компонентов штекерной системы, шинный модуль 12, 22, 23 является легко монтируемым и соединяемым. За счет имеющегося проводного монтажа в виде соединительных линий 11 дополнительно поддерживается техническое обслуживание или, соответственно, замена шинного модуля 12, 22, 23.
Схемы усилителя-повторителя 20 внутри каналов связи 19 известным образом гальванически развязывают шинную линию камеры 17 и соединительные линии и обеспечивают тем самым надежную эксплуатацию без ограничения скорости передачи. Тем самым является возможной замена модульных функциональных блоков 9 в текущем режиме эксплуатации без отрицательного воздействия на другие функциональные блоки. В качестве напряжения питания отдельных схем усилителя-повторителя 20 может быть предусмотрено внешнее управляющее напряжение.
Формула изобретения
1. Распределительное устройство (7) с по крайней мере двумя модульными функциональными блоками (9), которые соответственно снабжены имеющим соединительную линию (11), способным к коммуникации прибором камеры (8) для коммуникации с шинной линией камеры (17), отличающееся тем, что для соединения способных к коммуникации приборов камеры (8) по крайней мере двух модульных функциональных блоков (9) с шинной линией камеры (17) предусмотрен общий шинный модуль (12; 22; 23), причем шинный модуль (12; 22; 23) содержит для присоединения соединительных линий (11) отдельных способных к коммуникации приборов камеры (8) к шинному модулю (12; 22; 23) соответственно отдельное приборное подключение (16), для присоединения шинной линии камеры (17) к шинному модулю (12; 22; 23) – подключение шины камеры (18), и для гальванически разделенной связи каждого из приборных подключений (16) с подключением шины камеры (18) соответственно расположенный между приборным подключением (16) и подключением шины камеры (18) отдельный снабженный схемой усилителя-повторителя (20) канал связи (19).
2. Распределительное устройство по п.1, отличающееся тем, что шинный модуль (22; 23) содержит более чем два отдельных приборных подключения (16).
3. Распределительное устройство по п.1, отличающееся тем, что для подсоединения способных к коммуникации приборов камеры (8) более чем двух модульных функциональных блоков (9) к шинной линии камеры (17) предусмотрена комбинация из по крайней мере двух шинных модулей (22, 22; 23, 23; 22, 23), причем каждый из по крайней мере двух шинных модулей содержит два или более приборных подключения.
4. Распределительное устройство по любому из предыдущих пунктов, отличающееся тем, что скорость передачи шинного модуля (12; 22; 23) больше 500 кбит/с.
5. Распределительное устройство по любому из пп.1-3, отличающееся тем, что обмен данными происходит через соединительные линии (11) и шинную линию камеры (17) по стандарту передачи RS485.
6. Распределительное устройство по любому из пп.1-3, отличающееся тем, что шинный модуль (12; 22; 23) расположен в пространстве вне функционального пространства камеры распределительного устройства (21) распределительного устройства.
7. Распределительное устройство по любому из пп.1-3, отличающееся тем, что шинный модуль (12; 22; 23) является монтируемым на DIN-шине.
8. Распределительное устройство по любому из пп.1-3, отличающееся тем, что все отдельные снабженные схемой усилителя-повторителя (20) каналы связи шинного модуля (12; 22; 23) расположены в общем корпусе (24).
9. Распределительное устройство по п.1, отличающееся тем, что приборные подключения (16) и подключение шины камеры (18) выполнены в виде отделяемой от корпуса (24) компоненты штекерной системы.
10. Распределительное устройство по п.4, отличающееся тем, что обмен данными происходит через соединительные линии (11) и шинную линию камеры (17) по стандарту передачи RS485.
11. Распределительное устройство по п.4, отличающееся тем, что шинный модуль (12; 22; 23) расположен в пространстве вне функционального пространства камеры распределительного устройства (21) распределительного устройства.
12. Распределительное устройство по п.5, отличающееся тем, что шинный модуль (12; 22; 23) расположен в пространстве вне функционального пространства камеры распределительного устройства (21) распределительного устройства.
13. Распределительное устройство по п.4, отличающееся тем, что шинный модуль (12; 22; 23) является монтируемым на DIN-шине.
14. Распределительное устройство по п.5, отличающееся тем, что шинный модуль (12; 22; 23) является монтируемым на DIN-шине.
15. Распределительное устройство по п.6, отличающееся тем, что шинный модуль (12; 22; 23) является монтируемым на DIN-шине.
16. Распределительное устройство по п.4, отличающееся тем, что все отдельные снабженные схемой усилителя-повторителя (20) каналы связи шинного модуля (12; 22; 23) расположены в общем корпусе (24).
17. Распределительное устройство по п.5, отличающееся тем, что все отдельные снабженные схемой усилителя-повторителя (20) каналы связи шинного модуля (12; 22; 23) расположены в общем корпусе (24).
18. Распределительное устройство по п.6, отличающееся тем, что все отдельные снабженные схемой усилителя-повторителя (20) каналы связи шинного модуля (12; 22; 23) расположены в общем корпусе (24).
19. Распределительное устройство по п.7, отличающееся тем, что все отдельные снабженные схемой усилителя-повторителя (20) каналы связи шинного модуля (12; 22; 23) расположены в общем корпусе (24).
РИСУНКИ
|