|
|
(21), (22) Заявка: 2008140721/09, 23.02.2007
(24) Дата начала отсчета срока действия патента:
23.02.2007
(30) Конвенционный приоритет:
15.03.2006 IT RM2006A000145
(46) Опубликовано: 10.05.2010
(56) Список документов, цитированных в отчете о поиске:
US 2005006053 A1, 13.01.2005. DE 202004013226 U1, 18.11.2004. RU 35043 U1, 20.12.2003. RU 2001117499 A, 10.06.2003.
(85) Дата перевода заявки PCT на национальную фазу:
15.10.2008
(86) Заявка PCT:
IT 2007/000129 20070223
(87) Публикация PCT:
WO 2007/105242 20070920
Адрес для переписки:
103735, Москва, ул. Ильинка, 5/2, ООО “Союзпатент”, пат.пов. Ю.В.Пинчуку, рег. 656
|
(72) Автор(ы):
ФАБРИЦИ Фабрицио (IT)
(73) Патентообладатель(и):
БТИЧИНО С.П.А. (IT)
|
(54) ПОДДЕРЖИВАЮЩЕЕ ПРИСПОСОБЛЕНИЕ ДЛЯ ПРИСОЕДИНЕНИЯ ЭЛЕКТРИЧЕСКОГО УСТРОЙСТВА К РЕЙКЕ УСТАНОВКИ УСТРОЙСТВ
(57) Реферат:
Изобретение относится к электрическим устройствам таким как выключатели. Поддерживающее приспособление (1) для присоединения электрического устройства (2) к рейке (3) установки устройств включает в себя крепежные средства (14, 15, 16), пригодные для взаимодействия с упомянутым электрическим устройством (2) для крепления упомянутого электрического устройства с возможностью съема к поддерживающему приспособлению (1), в котором упомянутые крепежные средства (14, 15, 16) включают в себя: соединительные средства (14, 15), пригодные для зацепления упомянутого электрического устройства (2) вслед за относительным скольжением между электрическим устройством (2) и поддерживающим приспособлением (1), чтобы пройти из положения освобождения в положение соединения; защелкивающиеся стопорные эластичные средства (16), пригодные для работы, когда достигнуто упомянутое соединительное положение, причем упомянутые эластичные средства таковы, что обеспечивают относительное скольжение из положения освобождения в положение соединения, и таковы, чтобы предотвратить относительное скольжение между этими деталями после того, как достигнуто упомянутое положение соединения. Изобретение облегчает присоединение электрического устройства к рейке установки устройств. 2 н. и 8 з.п. ф-лы, 5 ил.
Настоящее изобретение относится к электрическим устройствам, таким как выключатели и тому подобное, и в частности относится к поддерживающему приспособлению для присоединения электрического устройства к рейке установки устройств.
Уровень техники
Известно много электрических устройств как для использования в гражданских системах, так и для использования в промышленных системах, предназначенных для установки в подходящих несущих и опорных конструкциях, которые называются распределительными щитами или распределительными коробками. Известно, что типичный электрический щит состоит из ящикообразного каркаса, образующего внутреннюю камеру для вмещения электрических устройств. Обычно, этот ящикообразный каркас содержит стенки или части стенок, которые образованы панелями, сделанными, например, из листового металла.
Шины, называемые рейками установки устройств, которые обычно размещены вблизи от донной панели распределительного щита, используются для установки электрических устройств внутри электрического распределительного щита.
Известно, что для того, чтобы присоединить электрическое устройство к рейке установки устройств, используется поддерживающее приспособление, которое практически действует как присоединительная колодка, предназначенная для размещения между электрическим устройством и рейкой установки устройств и включающая в себя средство для крепления электрического устройства к пластине и соединительное средство для присоединения сборки, состоящей из электрического устройства и пластины, к рейке установки устройств.
Чтобы присоединить электрическое устройство к рейке установки устройств с помощью поддерживающей пластины в соответствии с прототипом, требуется использовать винты, болты или аналогичные крепежные средства. Это влечет за собой трудоемкие и отнимающие время операции, когда оператор вынужден работать двумя руками, когда используются винты и болты, или одной рукой с дорогостоящей конструкцией корпуса или рамы электрического устройства, когда используются резьбовые шпильки, и с очевидностью также влечет необходимость в винтах, болтах и прочих маленьких предметах, которые можно легко потерять, и в инструментах для них.
Раскрытие изобретения
Цель настоящего изобретения состоит в обеспечении поддерживающего приспособления, которое таково, чтобы решить проблемы, описанные выше в отношении прототипа, и в частности позволяет облегчить операции присоединения электрического устройства к рейке установки устройств за счет исключения использования оснастки или инструментов во время этого присоединения.
Эта цель достигается посредством поддерживающего приспособления, как оно определено и охарактеризовано в п.1 приложенной формулы изобретения в его самом широком варианте осуществления и в зависимых пунктах формулы изобретения в нескольких частных вариантах осуществления.
Цель настоящего изобретения состоит также в наборе таких частей, которые определены в п.10 приложенной формулы изобретения.
Краткое описание чертежей
Изобретение будет лучше понято из нижеследующего подробного описания его варианта осуществления, который дан посредством примера и не должен рассматриваться каким-либо ограничивающим, со ссылкой на приложенные чертежи, на которых:
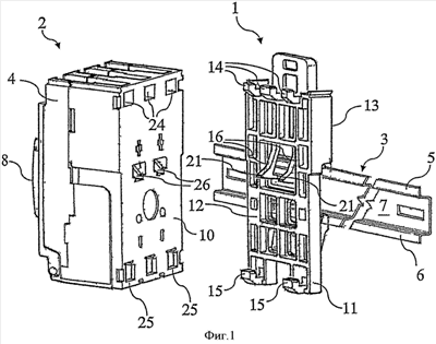
фиг.1 показывает поддерживающее приспособление в соответствии с настоящим изобретением, электрическое устройство и рейку установки устройств в виде, в котором вышеупомянутые детали отделены друг от друга;
фиг.2 показывает вид в перспективе комплекта частей, включающего в себя поддерживающее приспособление и электрическое устройство по фиг.1, причем упомянутые части не собраны друг с другом и при этом можно видеть передние стороны поддерживающего приспособления и электрического устройства;
фиг.3 показывает другой вид в перспективе комплекта частей по фиг.2 с несобранными частями, при этом можно видеть задние стороны поддерживающего приспособления и электрического устройства;
фиг.4 показывает комплект частей по фиг.2 в собранной конфигурации во время соединения с рейкой установки устройств по фиг.1; и
фиг.5 показывает электрическое устройство по фиг.1, присоединенное посредством поддерживающего приспособления по фиг.1 к рейке установки устройств по фиг.1.
На чертежах одинаковые или сходные элементы будут обозначаться одними и теми же ссылочными позициями.
Осуществление изобретения
На фиг.1 показан частный предпочтительный вариант осуществления поддерживающего приспособления 1 в соответствии с настоящим изобретением, которое показано вместе с электрическим устройством 2 и рейкой 3 установки устройств.
В частности, в примере по фиг.1 электрическое устройство 2 представляет собой модульное устройство, которое воплощено в не ограничивающем виде выключателем 2, называемым обычно выключателем в литом корпусе. Выключатель в литом корпусе, в противоположность так называемому «открытому» выключателю, включает в себя ящикообразный корпус, сделанный из изоляционного материала, обозначенный в целом позицией 4, который также имеет опорную функцию для внутренних механизмов выключателя 2. Выключатель в литом корпусе обычно используется в областях промышленной автоматики и усовершенствованном третичном оборудовании, чтобы отсекать токи, такие как имеющие значение до 1500 А.
Выключатель 2 можно присоединять с возможностью съема посредством поддерживающего приспособления 1 к рейке 3 установки устройств, чтобы крепить к донной панели электрического распределительного щита (панель и распределительный щит не показаны на чертежах). Рейка 3 установки устройств является, например, стандартной рейкой, такой как рейка DIN, и состоит из металлической профилированной секции с донной стенкой и двумя противоположными стенками, образующими канал 7. Каждая их двух боковых стенок рейки 3 установки устройств снабжена соответствующим выступающим краем 5, 6, который практически действует как соединительный край, с которым можно соединить поддерживающее приспособление 1. Далее, узел из двух краев 5 и 6 практически образует направляющую.
Следует заметить, что выключатель 2 и рейка 3 установки устройств, как описано выше, являются всего лишь частным не ограничивающим примером электрического устройства и рейки установки устройств, тем самым следует считать, что поддерживающее приспособление согласно настоящему изобретению можно использовать для соединения соответствующих электрических устройств с соответствующими рейками иных типов, нежели те, что конкретно описаны здесь.
В этом примере ящикообразный корпус 4 выключателя 2 включает в себя переднюю сторону 8, из которой выступает управляющий рычажок 9 (показан на фиг.2), и заднюю стенку 13, предназначенную для обращения к рейке 3 установки устройств. Предпочтительно, как в проиллюстрированном на чертежах примере, основной корпус 11 поддерживающего приспособления 1 по существу подобен пластине, а более предпочтительно представляет собой корпус с полой или облегченной конструкцией, практически сформированной как каркас со множеством облегчающих отверстий, либо сквозных, либо нет.
Предпочтительно, основной корпус 11 поддерживающего приспособления 1 сделан из твердой пластмассы, например посредством литья под давлением.
Поддерживающее приспособление 1 включает в себя крепежные средства 14, 15, 16, пригодные для взаимодействия с выключателем 2, и в частности с сопряженными крепежными средствами 24, 25, 26, которые предусмотрены в выключателе 2, чтобы крепить выключатель 2 с возможностью съема к поддерживающему приспособлению 1.
Преимущественно, эти крепежные средства 14, 15, 16 включают в себя:
– соединительные средства 14, 15, пригодные для зацепления выключателя 2 вслед за относительным скольжением между выключателем 2 и поддерживающим приспособлением 1, чтобы пройти из положения освобождения в положение соединения;
и
– защелкивающиеся стопорные эластичные средства 16, пригодные для работы, когда достигнута упомянутая соединительная часть, причем защелкивающиеся стопорные эластичные средства 16 таковы, что обеспечивают относительное скольжение между выключателем 2 и поддерживающим приспособлением 1 из положения освобождения в положение соединения, и таковы, чтобы предотвратить относительное скольжение между этими деталями после того, как достигнуто положение соединения.
Предпочтительно, соединительные средства 14, 15 включают в себя соединительные средства, которые по существу предусмотрены на двух противоположных концах корпуса 11 поддерживающего устройства 1. В частном предпочтительном варианте осуществления, как показано на чертежах, в частности, соединительные средства 14, 15 включают в себя верхние крючки 14 и нижние крючки 15, которые выступают из передней стороны 12 основного корпуса 11 поддерживающего приспособления 1 и пригодны для взаимодействия с соответствующими сопряженными соединительными средствами 24, 25, которые предусмотрены в ящикообразном корпусе 4 выключателя 2. Сопряженные средства 24, 25 в приведенном примере и не ограничивающим образом представляют собой отверстия 24, которые внутри имеют форму, противоположную по отношению к верхним крючкам 14, и предусмотрены в ящикообразном корпусе 4 выключателя 2, и поперечины 25, пригодные, чтобы подходить к нижним крючкам 15.
На фиг.2 в проиллюстрированном здесь примере, начиная с положения освобождения до достижения положения соединения между выключателем 2 и поддерживающим приспособлением 1, требуется сначала выполнить осевое перемещение (стрелка А_m) двух тел 4 и 11 друг к другу, а затем требуется, чтобы одно из этих тел скользило по отношению к другому в вертикальном направлении (стрелка V_m).
Как оценят специалисты, в альтернативном варианте осуществления крючки 14, 15 могут быть предусмотрены на выключателе 2, тогда как на поддерживающем приспособлении 1 могут быть предусмотрены сопряженные соединительные средства, которые пригодны для взаимодействия с этими крючками. В еще одном варианте осуществления крючки 14, 15 могут также быть распределены между поддерживающим приспособлением 1 и выключателем 2.
Возвращаясь в фиг.1, в частном предпочтительном варианте выполнения защелкивающиеся стопорные эластичные средства 16 поддерживающего приспособления 1 предпочтительно занимают промежуточное положение между верхним соединительным средством 14 и нижним соединительным средством 15. Более предпочтительно, эти защелкивающиеся стопорные эластичные средства 16 включают в себя по меньшей мере один гибкий зубец 16, имеющий концевую часть, соединенную с основным корпусом 11 поддерживающего приспособления 1, и выступающий конец 21, удаленный от основного корпуса 11 поддерживающего приспособления 1. Вследствие гибкости зубца 16 этот выступающий конец 21, когда достигнуто положение соединения между соединительными средствами 14, 15 и сопряженными соединительными средствами 24, 25, защелкивается в соответствующей полости 26, предусмотренной в основном корпусе 4 выключателя 2, чтобы зацепиться с полостью 26 и предотвратить дальнейшее относительное скольжение между выключателем 2 и поддерживающим приспособлением 1.
В частности, конец 21 гибкого зубца 16 противодействует задней стороне 10 выключателя 2, когда выключатель 2 перемещается в осевом направлении к поддерживающему приспособлению 1 и во время относительного скольжения между ними до достижения положения соединения. Практически, при этом относительном скольжении гибкий зубец 16 принимает заднее положение по отношению к своему положению покоя, накапливая за счет этого упругую энергию, которая освобождается, когда выключатель 2 и поддерживающее приспособление принимают положение соединения.
Предпочтительно, как иллюстрируется на чертежах, защелкивающиеся стопорные эластичные средства 16 в частности включают в себя пару параллельных гибких зубцов 16, которые соединены поперечиной 22 (показанной на фиг.3), доступ к которой может быть с задней стороны 13 поддерживающего приспособления 1, чтобы разблокировать гибкие зубцы 16 из соответствующих полостей 26 для удаления выключателя 2 из поддерживающего приспособления 1.
На фиг.3 поддерживающее приспособление 1 включает в себя далее соединительные средства 30, 31, 32, чтобы обеспечить соединение с возможностью съема поддерживающего приспособление 1 с рейкой 3 установки устройств.
В частном предпочтительном варианте осуществления, как показано на чертежах, эти соединительные средства 30, 31, 32 включают в себя по меньшей мере два противоположных соединительных элемента 30, 31, из которых по меньшей мере один 30 является неподвижным относительно основного корпуса 11 поддерживающего приспособления 1 и из которых другой 31 является подвижным относительно последнего. Эти противоположные соединительные элементы 30, 31 пригодны для взаимодействия с соответствующим соединительным краем 5, 6 рейки 3 установки устройств за счет действия в качестве зажимов на этих краях 5, 6, чтобы соединять поддерживающее приспособление 1 с рейкой 3 установки устройств.
Как иллюстрируется на чертежах, в частном варианте осуществления, который следует считать просто иллюстративным, соединительный подвижный элемент 31 реализован как выступающая перемычка 31. В данном варианте осуществления далее предусмотрены пара неподвижных соединительных элементов 30 в виде крючков 30.
Предпочтительно, подвижный соединительный элемент 31 выполнен зацело с концевой частью вспомогательной пластины 32, которая со скольжением и эластично прикреплена к основному корпусу 11 поддерживающего приспособления 1. Направления скольжения и ориентации вспомогательной пластины 32 указаны на фиг.3 посредством стрелки S_m.
Предпочтительно противоположный конец вспомогательной пластины 32 выступает из основного корпуса 11 поддерживающего приспособления 1 так, чтобы обеспечить захватывающее средство 33, позволяющее оператору перемещать подвижный соединительный элемент 31 (фиг.4, направление и ориентация стрелки S_ma), против эластичного действия пружины 35 от неподвижного соединительного элемента 30. Посредством этого, со ссылкой на фиг.4, собранный комплект частей 1, 2, состоящий из поддерживающего приспособления 1 и выключателя 2, может быть преимущественно соединен с рейкой 3 установки устройств без использования инструментов.
Наконец, на фиг.5 выключатель 2 показан присоединенным к рейке 3 установки устройств посредством поддерживающего приспособления 1.
В виду того, что описано выше, можно, таким образом, оценить, насколько полно поддерживающее приспособление в соответствии с настоящим изобретением разрешает недостатки, приведенные выше со ссылкой на прототип, тем самым позволяя быстро и легко присоединять электрическое устройство к рейке установки устройств. Преимущественно, операции удаления электрического устройства с рейки установки устройств могут также выполняться полностью вручную.
Очевидно, специалисты, стремящиеся к удовлетворительному составу и конкретным требованиям, могут внести в описанное выше поддерживающее приспособление несколько модификаций и изменений, которые все, однако, предполагаются в объеме защиты по изобретению, как определено в приложенной формуле изобретения.
Формула изобретения
1. Поддерживающее приспособление (1) для присоединения электрического устройства (2) к рейке (3) установки устройств, включающее в себя крепежные средства (14, 15, 16), подходящие для взаимодействия с сопряженными крепежными средствами (23, 25, 26), пригодными для взаимодействия с упомянутым электрическим устройством (2) для крепления упомянутого электрического устройства с возможностью съема к поддерживающему приспособлению (1), при этом упомянутые крепежные средства (14, 15, 16) включают в себя: соединительные средства (14, 15), предусмотренные на двух противоположных концах поддерживающего приспособления, причем эти соединительные средства пригодны для зацепления упомянутого электрического устройства (2) вслед за относительным скольжением по направлению (V-m) скольжения между электрическим устройством (2) и поддерживающим приспособлением (1), чтобы пройти из положения освобождения в положение соединения; защелкивающиеся стопорные эластичные средства (16), пригодные для работы, когда достигнуто упомянутое соединительное положение, причем упомянутые эластичные средства таковы, что обеспечивают относительное скольжение из положения освобождения в положение соединения, и таковы, чтобы предотвратить относительное скольжение между этими деталями после того, как достигнуто упомянутое положение соединения; при этом поддерживающее приспособление отличается тем, что упомянутые защелкивающиеся стопорные эластичные средства (16) занимают промежуточное положение вдоль упомянутого направления (V-m) скольжения между соединительными средствами (14, 15).
2. Поддерживающее приспособление (1) по п.1, в котором упомянутые защелкивающиеся стопорные эластичные средства (16) включают в себя по меньшей мере один гибкий зубец (16) с концом, соединенным с упомянутым поддерживающим приспособлением (1), и с выступающим концом (21), удаленным от упомянутого поддерживающего приспособления (1), причем упомянутый выступающий конец (21) таков, чтобы зацепляться в упомянутом положении соединения с соответствующей полостью (26), которая предусмотрена в упомянутом электрическом устройстве (2).
3. Поддерживающее приспособление (1) по п.2, в котором упомянутый по меньшей мере один гибкий зубец (16) таков, чтобы упираться в стенку (10) упомянутого электрического устройства (2), чтобы принять положение назад во время упомянутого скольжения и положение вперед в упомянутом положении соединения.
4. Поддерживающее приспособление (1) по п.2 или 3, в котором упомянутый по меньшей мере один гибкий зубец (16) включает в себя первый и второй гибкие зубцы, которые параллельны друг другу и соединены поперечиной (22).
5. Поддерживающее приспособление (1) по п.1, в котором упомянутые соединительные средства включают в себя по меньшей мере один крючок (14, 16), выступающий от упомянутого поддерживающего приспособления (1), и пригодные для зацепления с соответствующими сопряженными и имеющими противоположную форму соединительными средствами (24, 25), предусмотренными в упомянутом электрическом устройстве (2).
6. Поддерживающее приспособление (1) по п.1, включающее, по существу, пластиноподобный основной корпус (11), пригодный для размещения между упомянутой рейкой (3) и упомянутым электрическим устройством (2).
7. Поддерживающее приспособление (1) по п.1, включающее в себя далее соединительные средства (30, 31, 32) для соединения упомянутого поддерживающего приспособления с возможностью съема с упомянутой рейкой (3).
8. Поддерживающее приспособление (1) по п.6 или 7, в котором упомянутые соединительные средства включают в себя по меньшей мере два противоположных соединительных элемента (30, 31), из которых по меньшей мере один (30) является неподвижным относительно основного корпуса (11) поддерживающего приспособления (1) и из которых другой (31) является подвижным относительно последнего.
9. Поддерживающее приспособление (1) по п.8, включающее в себя далее вспомогательную пластину (32), которая со скольжением и эластично прикреплена к упомянутому основному корпусу (11), и при этом упомянутый подвижный соединительный элемент (31), по существу, размещен в концевой части упомянутой вспомогательной пластины (32).
10. Комплект частей (1, 2) для присоединения к рейке (3) установки устройств, содержащий: электрическое устройство (2); поддерживающее приспособление (1) для присоединения упомянутого электрического устройства (2) к упомянутой рейке (3) по любому из пп.1-9.
РИСУНКИ
|
|