|
|
(21), (22) Заявка: 2008134432/09, 26.08.2008
(24) Дата начала отсчета срока действия патента:
26.08.2008
(46) Опубликовано: 10.05.2010
(56) Список документов, цитированных в отчете о поиске:
МАТЕРИАЛЫ XIV ОТРАСЛЕВОГО КООРДИНАЦИОННОГО СЕМИНАРА ПО СВЧ-ТЕХНИКЕ. – Нижний Новгород: 2005, с.168-172. RU 2315400 С2, 20.01.2008. SU 1462440 A1, 28.02.1989. US 3731315 A, 01.05.1973. WO 2008043614 A2, 17.04.2008.
Адрес для переписки:
115280, Москва, ул. Южнопортовая, 3а, ОАО “КБ “Аметист”, СНТИП
|
(72) Автор(ы):
Маруженко Владимир Анатольевич (RU), Мительштедт Светослав Яковлевич (RU), Морозов Герман Алексеевич (RU), Сухачева Тамара Ивановна (RU)
(73) Патентообладатель(и):
Открытое акционерное общество “Конструкторское бюро “Аметист” (RU)
|
(54) НЕПОДВИЖНАЯ АНТЕННА ДЛЯ РАДИОЛОКАТОРА КРУГОВОГО ОБЗОРА И СОПРОВОЖДЕНИЯ
(57) Реферат:
Изобретение относится к радиотехнике и может быть использовано в радиолокации для кругового обзора пространства и обнаружения подвижных и неподвижных радиолокационных объектов, а также их сопровождения. Технический результат состоит в обеспечении повышения дальности и точности выработки координат, обнаруживаемых и сопровождаемых радиолокатором целей. Для этого неподвижная антенна выполнена в виде активной кольцевой (АК) фазированной антенной решетки (ФАР), содержит циркуляторы (Ц), приемопередающие модули, делители-сумматоры и приемопередатчики. АК ФАР состоит из трех сегментов, формирующих три луча под углом 120° друг к другу, каждый из которых содержит N плоских активных фазированных антенных субрешеток, представляющих собой радиолокационные модули (РЛМ), расположенные вплотную друг к другу по внешней кольцевой поверхности антенны. Каждый РЛМ содержит 2I антенных элементов (АЭ), которые через соответствующий Ц соединены с соответствующей приемопередающей ячейкой (ППЯ), передатчик и приемник которой содержат электрически управляемые фазовращатели, и соединены соответственно с входом передающего тракта и выходом приемного тракта ППЯ, входы/выходы всех ППЯ соединены посредством делителя/сумматора с соответствующим выходом/входом РЛМ. Квадратурные выходы приемника каждого РЛМ соединены с соответствующими аналого-цифровыми преобразователями, выходы которых соединены с входами процессора, выполненного с возможностью в цифровом виде одновременно формировать три пары суммарно-разностных диаграмм направленности кольцевой антенной решетки. 5 з.п. ф-лы, 2 ил.
Изобретение относится к радиотехнике и может использоваться в радиолокации для кругового обзора пространства и обнаружения подвижных и неподвижных радиолокационных объектов, а также их сопровождения с использованием неподвижной активной кольцевой фазированной антенной решетки (АК ФАР).
Известна кольцевая фазированная антенная решетка (ФАР), в состав которой входят группы расположенных рядом излучателей, питающихся от диаграммообразующей схемы через управляемые фазовращатели и делитель в равных долях мощности передающего устройства, содержащая управляемый цифровым кодом делитель мощности передающего устройства KB диапазона, управляемые цифровым кодом восемь фазовращателей, восемь излучателей кольцевой ФАР, которые питаются по принципу дуговой ФАР, состоящей из трех пар диаметрально противоположных излучателей и формирующей диаграмму направленности (ДН) кардиоидного вида в диапазоне ниже 7 МГц, а в диапазоне свыше 7 МГц излучатели питаются по принципу кольцевой ФАР из восьми изотропных излучателей с круговой ДН, причем выход усилителя мощности передающего устройства KB диапазона подключен к первому входу управляемого делителя мощности передающего устройства KB диапазона, на второй вход которого подается управляющий сигнал включения ДН кардиоидного вида, восемь выходов делителя мощности передающего устройства KB диапазона соединены с первыми входами фазовращателей соответственно, на вторые входы фазовращателей поступает цифровой код управления от устройства управления, который устанавливает соответствующие фазовые сдвиги для формирования ДН кардиоидного вида трем парам диаметрально противоположных излучателей либо устанавливает фазовые сдвиги всем излучателям для управления ДН кольцевой ФАР в азимутальной плоскости, выходы фазовращателей соединены с соответствующими излучателями ФАР, код управления поворотом ДН ФАР в диапазоне ниже 7 МГц подается на третий вход делителя мощности передающего устройства KB диапазона (см. RU 2315400 С2, 20.01.2008).
Наиболее близким аналогом является неподвижная антенна для радиолокатора с круговой зоной обзора и сопровождения, формирующая приемопередающий луч, вращающийся в азимутальной плоскости, обеспечивающий круговой обзор пространства и обнаружение радиолокационных объектов и целей, выполненная в виде активной кольцевой фазированной антенной решетки, содержащая циркулятор, приемопередающие модули, делители-сумматоры и приемопередатчики (см. Материалы XIV отраслевого координационного семинара по СВЧ технике, Нижний Новгород, 2005 г., стр.168-172).
Известные антенны не обеспечивают многолучевого определения дальности и точность выработки координат, обнаруживаемых и сопровождаемых радиолокатором целей, и потому имеют повышенное время кругового обзора.
Технический результат состоит в обеспечении повышения дальности и точности выработки координат, обнаруживаемых и сопровождаемых радиолокатором целей за счет более полного использования энергопотенциала радиолокатора, повышения частоты обращения к цели и гибкости диаграммообразования за счет цифрового формирования лучей антенны.
Для этого неподвижная антенна для радиолокатора с круговой зоной обзора и сопровождения, формирующая приемопередающий луч, вращающийся в азимутальной плоскости и обеспечивающий круговой обзор пространства, и обнаружение радиолокационных объектов, целей, выполнена в виде активной кольцевой фазированной антенной решетки, содержащей циркуляторы, приемопередающие модули, делители-сумматоры и приемопередатчики, отличающаяся тем, что активная кольцевая фазированная решетка состоит из трех сегментов, формирующих три луча под углом 120° друг к другу, каждый из которых содержит N плоских активных фазированных антенных субрешеток, представляющих собой радиолокационные модули (РЛМ), расположенные вплотную друг к другу по внешней кольцевой поверхности антенны, каждый РЛМ содержит 2i (четное количество) антенных элементов (АЭ), каждый антенный элемент через циркулятор соединен с соответствующей приемопередающей ячейкой (ППЯ), каналы передатчика и приемника которой содержат электрически управляемые фазовращатели и соединены соответственно с входом передающего тракта и выходом приемного тракта ППЯ, входы/выходы всех приемопередающих ячеек соединены посредством делителя/сумматора с соответствующим выходом/входом РЛМ, квадратурные выходы приемника каждого РЛМ соединены с соответствующими аналого-цифровыми преобразователями, выходы которых соединены с входами процессора, имеющего программное обеспечение, позволяющее в цифровом виде одновременно формировать три суммарно-разностных диаграммы направленности кольцевой антенной решетки.
Неподвижная антенна выполнена с возможностью одновременно формировать три луча, способных синхронно перемещаться на любой угол в пределах 360° и отстоящих относительно друг друга на 120°.
Каждый луч антенны формируется с участием N плоских активных фазированных субрешеток, расположенных вплотную друг к другу на дуге 120° и обеспечивающих коллинеарное подсканирование на угол 
Неподвижная антенна имеет малые пределы подсканирования и содержит идентичные основные и подключаемые субрещетки, обеспечивающие высокую стабильность параметров лучей при их перемещении на любой угол.
Неподвижная антенна выполнена с возможностью работы в режиме текущего сопровождения нескольких целей в пределах 360° при последовательном обращении к каждой из них в паузах выполняемой программы обзора.
Неподвижная антенна выполнена с использованием цифрового диаграммообразования, с возможностью оптимизации формы диаграммы направленности в зависимости от радиолокационной обстановки и с возможностью формирования одновременно нескольких диаграмм направленности, например, суммарно-разностных, с уменьшенным уровнем боковых лепестков или с увеличенным уровнем крутизны разностной диаграммы направленности.
На Фиг.1 дано условное изображение неподвижной кольцевой антенны для радиолокатора с круговой зоной обзора и сопровождения. Антенна выполнена в виде 3N плоских субрешеток (на чертеже ФАР РЛМ N=5), расположенных вплотную друг к другу по внешней кольцевой поверхности антенны и обеспечивает формирование одновременно до трех лучей, отстоящих друг от друга на 120°. Каждый луч формируется N ФАР РЛМ (на чертеже N=5) в одном направлении, показанном на чертеже для одного из лучей, no – направление коллимации лучей субрешеток, участвующих в формировании данного луча антенны. Фазированная антенная решетка каждого радиолокационного модуля (ФАР РЛМ) обеспечивает сканирование луча на в горизонтальной плоскости и формирует в вертикальной плоскости луч требуемой ширины.
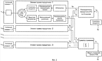
Структурный состав ФАР РЛМ представлен на Фиг.2.
Каждый РЛМ содержит 2i антенных элемента 1, соединенных с соответствующими элементами приемопередатчика 2, включающими циркулятор 3, усилитель мощности 4, фазовращатель передающего канала 6, аттенюатор 8, защитное устройство на входе приемного канала 5, малошумящий усилитель приемника 7 и фазовращатель канала приемника 9. В состав РЛМ входят также усилитель мощности зондирующего сигнала 12, распределитель мощности передатчика по 2i каналам элементов приемопередатчика (ЭПП) 10, сумматор всех выходов элементов приемопередатчика (ЭПП) 11 и модуль приемного канала (МПК) данного РЛМ 11, с выхода которого принимаемый сигнал промежуточной частоты поступает на вход аналого-цифрового преобразователя, выходы каждого из которых соединены с входами процессора, выполненного с возможностью в цифровом виде одновременно формировать три пары суммарно-разностных диаграмм направленности кольцевой антенной решетки.
Такое построение антенны позволяет сформировать три приемопередающих луча, ориентированных в азимутальной плоскости под углом 120° друг к другу, и обеспечить их синхронное вращение фазовым способом с переключением РЛМ, при этом формирование приемных диаграмм направленности выполняется цифровым способом путем цифрового взвешенного суммирования оцифрованных сигналов с выходов РЛМ.
Одновременное формирование в обзоре 3-х лучей со всей кольцевой поверхности антенны обеспечивает полное использование энергопотенциала радиолокатора и увеличивает частоту обращения к цели без снижения времени контакта с целью, что повышает скорость обзора и точность определения координат цели.
Цифровое диаграммообразование дает возможность оптимизации формы диаграммы направленности в зависимости от радиолокационной обстановки, позволяет формировать одновременно несколько диаграмм направленности, например, суммарно-разностных, с уменьшенным уровнем боковых лепестков или с увеличенным уровнем крутизны разностной ДН, что обеспечивает повышение точности координат, вырабатываемых радиолокатором по наиболее важным целям.
Формула изобретения
1. Неподвижная антенна для радиолокатора с круговой зоной обзора и сопровождения, формирующая приемопередающий луч, вращающийся в азимутальной плоскости и обеспечивающий круговой обзор пространства и обнаружение радиолокационных объектов, целей, выполненная в виде активной кольцевой фазированной антенной решетки (ФАР), содержащей циркуляторы, приемопередающие модули, делители-сумматоры и приемопередатчики, отличающаяся тем, что активная кольцевая фазированная решетка состоит из трех сегментов, формирующих три луча под углом 120° друг к другу, каждый из которых содержит N плоских активных фазированных антенных субрешеток, представляющих собой радиолокационные модули (РЛМ), расположенные вплотную друг к другу по внешней кольцевой поверхности антенны, каждый РЛМ содержит 2i антенных элементов (АЭ), каждый антенный элемент через циркулятор соединен с соответствующей приемопередающей ячейкой (ППЯ), каналы передатчика и приемника которой содержат электрически управляемые фазовращатели и соединены соответственно с входом передающего тракта и выходом приемного тракта ППЯ, входы/выходы всех приемопередающих ячеек соединены посредством делителя/сумматора с соответствующим выходом/входом РЛМ, квадратурные выходы приемника каждого РЛМ соединены с соответствующими аналого-цифровыми преобразователями, выходы которых соединены с входами процессора, имеющего программное обеспечение, позволяющее в цифровом виде одновременно формировать три суммарно-разностные диаграммы направленности (ДН) кольцевой антенной решетки.
2. Неподвижная антенна по п.1, отличающаяся тем, что выполнена с возможностью одновременно формировать три луча, способных синхронно перемещаться на любой угол в пределах 360° и отстоящих относительно друг друга на 120°.
3. Неподвижная антенна по п.1, отличающаяся тем, что каждый луч антенны формируется с участием N плоских активных фазированных субрешеток, расположенных вплотную друг к другу на дуге 120° и обеспечивающих коллинеарное подсканирование на угол 
4. Неподвижная антенна по п.1, отличающаяся тем, что имеет малые пределы подсканирования и содержит идентичные основные и подключаемые субрешетки, обеспечивающие высокую стабильность параметров лучей при их перемещении на любой угол.
5. Неподвижная антенна по п.1, отличающаяся тем, что выполнена с возможностью работы в режиме текущего сопровождения нескольких целей в пределах 360° при последовательном обращении к каждой из них в паузах выполняемой программы обзора.
6. Неподвижная антенна по п.1, отличающаяся тем, что выполнена с использованием цифрового диаграммообразования с возможностью оптимизации формы диаграммы направленности в зависимости от радиолокационной обстановки и с возможностью формирования одновременно нескольких диаграмм направленности, например суммарно-разностных, с уменьшенным уровнем боковых лепестков или с увеличенным уровнем крутизны разностной ДН.
РИСУНКИ
|
|