|
|
(21), (22) Заявка: 2008115278/09, 22.04.2008
(24) Дата начала отсчета срока действия патента:
22.04.2008
(43) Дата публикации заявки: 27.10.2009
(46) Опубликовано: 10.05.2010
(56) Список документов, цитированных в отчете о поиске:
RU 2253987 С2, 10.11.2005. RU 2241816 С2, 20.12.2004. SU 496417 А, 24.12.2004. US 3728654 А, 17.04.1973.
Адрес для переписки:
117534, Москва, ул. Кировоградская, 42, корп.1, кв.363, А.С.Полякову
|
(72) Автор(ы):
Поляков Анатолий Сергеевич (RU)
(73) Патентообладатель(и):
Поляков Анатолий Сергеевич (RU)
|
(54) ЭЛЕКТРОМАГНИТНОЕ ПРИВОДНОЕ УСТРОЙСТВО
(57) Реферат:
Изобретение относится к области электротехники и может быть использовано в грохотах, дозаторах и вибраторах для строительной техники, а также в качестве виброперемешивающих устройств в аппаратах и реакторах нефтехимических, химических, микробиологических и других производств. Техническим результатом является снижение энергозатрат и трудоемкость его изготовления. Устройство содержит кольцевой электромагнит, в центре которого установлен упругий элемент, жестко закрепленный одним концом на статоре электромагнита, а другим на его якоре. Статор электромагнита выполнен по броневому типу единой деталью из полос электротехнической стали в виде двух цилиндрических сердечников, размещенных один в другом с зазором, в котором установлена катушка электрической обмотки, и ярма, жестко закрепленного во фланце. При этом внутренний диаметр центрального сердечника выполнен больше диаметра упругого элемента. Якорь может быть выполнен из двух цилиндрических бобин, которые установлены с зазором и жестко закреплены на шайбе, либо выполнен в виде бобины, внутренний диаметр которой соответствует внутреннему диаметру статора, а наружный диаметр соответствует наружному диаметру статора и которая также жестко закреплена в шайбе. Устройство может быть снабжено вторым кольцевым электромагнитом и опорной плитой, при этом кольцевые электромагниты установлены симметрично с двух сторон опорной плиты. 3 з.п. ф-лы, 3 ил.
Изобретение относится к электротехнике, в частности к производству электромагнитных приводов, и может найти широкое применение в грохотах, дозаторах и вибраторах для строительной техники. В уравновешенном виде привод найдет широкое применение для виброперемешивающих устройств в аппаратах и реакторах нефтехимических, химических, микробиологических и других производств.
Известно «Электромагнитное приводное устройство», содержащее кольцевой многополюсный электромагнит, в котором упругий элемент установлен в центре кольцевого электромагнита и жестко закреплен одним концом на статоре электромагнита, а другим на его якоре, который жестко связан с рабочим органом (1).
Обладая определенными достоинствами, устройство не лишено некоторых недостатков. Устройство имеет высокую трудоемкость изготовления магнитопровода за счет изготовления пазов под катушки и большие потоки рассеяния этой системы.
Задачей изобретения является повышение надежности, уменьшение потерь полезной мощности устройства и повышение его технологичности.
Поставленная цель достигается тем, что статор электромагнита выполнен по броневому типу единой деталью из полос электротехнической стали в виде двух цилиндрических сердечников, размещенных один в другом с зазором, в котором установлена катушка электрической обмотки, и ярма, жестко закрепленного во фланце, при этом внутренний диаметр центрального сердечника выполнен больше диаметра упругого элемента, а якорь выполнен из двух цилиндрических бобин, которые установлены с зазором и жестко закреплены на шайбе. Устройство герметично защищено от внешней среды.
Технический результат изобретения заключается в том, что выполнение магнитопровода по броневому типу снижает трудоемкость его изготовления и снижает энергозатраты за счет существенного уменьшения потоков рассеяния.
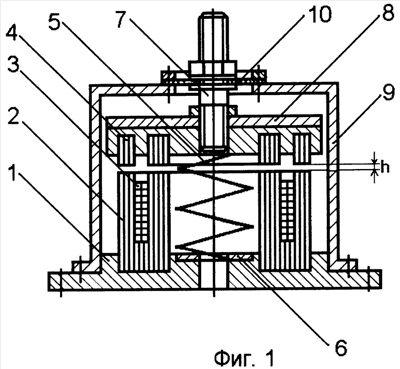
На Фиг.1 изображено электромагнитное приводное устройство. Устройство состоит из фланца 1, на котором установлен статор электромагнита 2, между сердечниками которого установлена катушка 3. Якорь электромагнита 4 через упругий элемент 5 жестко закреплен на фланец статора и за счет регулировочных прокладок 6 образует рабочий зазор h. На якоре жестко закреплен рабочий шток 7 и регулировочная масса 8. От внешней среды устройство защищено кожухом 9 и мембраной 10.
Электромагнитное приводное устройство работает следующим образом. На катушки 3 электромагнитов 2 подается напряжение от пульта управления. При этом проходящий через витки катушки ток намагничивает сердечники статора 2 электромагнита, которые притягивают к себе якорь 4, с жестко закрепленным на нем рабочим штоком 7, через упругий элемент 5, который под воздействием тягового усилия электромагнита сжимается. В следующий полупериод ток в катушках отсутствует и электромагнитные силы не возникают, а упругий элемент возвращает якорь в обратном направлении. Далее цикл повторяется.
На Фиг.2 изображен вариант якоря электромагнита, который выполнен в виде бобины 11, внутренний диаметр которой соответствует внутреннему диаметру сердечника статора, а наружный диаметр соответствует наружному диаметру статора. Бобина жестко закреплена в шайбе 12.
На Фиг.3 изображено уравновешенное приводное устройство, в котором броневые электромагниты установлены симметрично с двух сторон опорной плиты 13, а рабочий шток 14 от верхнего якоря пропущен через центр упругого элемента и отверстий в статорах, опорной плите и нижнем якоре. Нижний якорь имеет выходной рабочий орган, выполненный в виде трех штоков 15. Устройство защищено от внешней среды кожухами 16 и 17. Через нижний кожух устройства выходят рабочие штоки, которые уплотнены на нем мембранами 18 и 19.
Тяговое усилие, действующее на верхний и нижний якоря, передается на опорную плиту через статоры. Благодаря взаимному уравновешиванию электромагнитных сил, действующих в противоположных направлениях, на опорную плиту не будет передаваться никаких колебаний. Колебательные движения в противоположных направлениях будут совершать только якоря с закрепленными на них рабочими штоками.
Источники информации
1. Патент России 2263987, Кл. B01F 11/00.
Формула изобретения
1. Электромагнитное приводное устройство, содержащее кольцевой электромагнит, в центре которого установлен упругий элемент, жестко закрепленный одним концом на статоре электромагнита, а другим на его якоре, отличающееся тем, что статор электромагнита выполнен по броневому типу единой деталью из полос электротехнической стали в виде двух цилиндрических сердечников, размещенных один в другом с зазором, в котором установлена катушка электрической обмотки, и ярма, жестко закрепленного во фланце, при этом внутренний диаметр центрального цилиндрического сердечника выполнен больше диаметра упругого элемента.
2. Электромагнитное приводное устройство по п.1, отличающееся тем, что якорь выполнен из двух цилиндрических бобин, которые установлены с зазором и жестко закреплены в шайбе.
3. Электромагнитное приводное устройство по п.1, отличающееся тем, что якорь выполнен в виде бобины, внутренний диаметр которой соответствует внутреннему диаметру статора, а наружный диаметр соответствует наружному диаметру статора и которая жестко закреплена в шайбе.
4. Электромагнитное приводное устройство по любому из пп.1-3, отличающееся тем, что оно снабжено вторым кольцевым электромагнитом и опорной плитой, при этом кольцевые электромагниты установлены симметрично с двух сторон опорной плиты.
РИСУНКИ
|
|