|
|
(21), (22) Заявка: 2008151806/11, 25.12.2008
(24) Дата начала отсчета срока действия патента:
25.12.2008
(46) Опубликовано: 10.05.2010
(56) Список документов, цитированных в отчете о поиске:
RU 2291808 C2, 20.01.2007. FR 2541960 A1, 07.09.1984. US 2006102410 A1, 18.05.2006. JP 59125410 A, 19.07.1984. GB 2263889 A, 11.08.1993. FR 2106827 A5, 05.05.1972.
Адрес для переписки:
625001, г.Тюмень, ул. Ямская, 75, кв.2, А.И. Соловьёву
|
(72) Автор(ы):
Соловьёв Анатолий Иванович (RU), Соловьёв Сергей Анатольевич (RU), Соловьёва Елена Анатольевна (RU)
(73) Патентообладатель(и):
Соловьёв Анатолий Иванович (RU), Соловьёв Сергей Анатольевич (RU), Соловьёва Елена Анатольевна (RU)
|
(54) ДИСТАНЦИОННО УПРАВЛЯЕМОЕ КОЛЕСНОЕ ТРАНСПОРТНОЕ СРЕДСТВО
(57) Реферат:
Изобретение относится к дистанционно управляемым колесным транспортным средствам. Транспортное средство содержит колесную платформу 1 с тремя колесными парами 2, поворотный кузов 3, опорные ролики 5, центральный редуктор 6, трансмиссию, привод управления, механизм стабилизации башни 4, тормоз 7 и амортизацию колес. В кузове 3 установлены ящик для аккумуляторных батарей, два реверсивных электродвигателя 9, 10, центральный редуктор 6 и блок 11 для размещения оборудования управления средством. Трансмиссия обеспечивает передачу крутящего момента от первого электродвигателя 9 на первую коническую зубчатую передачу 12 центрального редуктора 6. Ведомое колесо зубчатой передачи 12 жестко соединено с первой ведущей звездочки 13 первой цепной передачи. Передача крутящего момента к каждой колесной паре 2 осуществляется посредством первой цепи 14 с первым натяжным устройством от первой ведущей звездочки 13 на ведомые звездочки 16. Поворот кузова 3 относительно центральной вертикальной оси колесной платформы 1 осуществляется от второго электродвигателя 10 на вторую коническую зубчатую передачу 19 центрального редуктора 6. Ведомое колесо зубчатой передачи 19 жестко соединено с колесной платформой. Поворот всех колесных пар 2 происходит при повороте кузова 3 относительно колесной платформы 1 от нижнего вала 20 центрального редуктора 6. Нижний вал 20 жестко соединен с кузовом 3 и с ведущей шестерней цилиндрической зубчатой передачи 21. Ведомое колесо зубчатой передачи 21 жестко соединено с ведущей звездочкой 22 второй цепной передачи. Передача крутящего момента к каждой поворотной колонке 23 осуществляется посредством второй цепи 14 от второй ведущей звездочки 22 на ведомые звездочки 24. Ведомые звездочки 24 жестко соединены с поворотными колонками 23 и с корпусами межколесных дифференциалов 18. Достигается упрощение конструкции трансмиссии и упрощение привода управления. 4 ил.
Изобретение относится к колесным транспортным средствам со всеми ведущими управляемыми полноповоротными колесами и кузовом.
Известно средство (авторское свидетельство на изобретение СССР 1708685 A1, B62D 7/14, 1989), состоящее из рамы с не менее чем тремя колесами и открытой платформы, на которой установлены двигатель и сиденье водителя. Передача крутящего момента от двигателя к колесам производится большим количеством конических и цепных передач. Поворот платформы относительно рамы и колес производится руками водителя. Недостатками средства являются: сложность конструкции, низкий КПД, ненадежность трансмиссии и привода управления, отсутствие амортизации колес, тормозов и возможности движения по двум колеям. Все это исключает его техническую реализацию.
За прототип принято техническое решение по патентам на изобретение РФ 2291808 (2003) «Колесное транспортное средство» и 2342275 (2008) «Механизмы колесного транспортного средства».
КТС содержит колесную платформу с четырьмя колесными парами, поворотный относительно нее кузов, башню с механизмом ее стабилизации, двигатель со сцеплением и коробкой передач, центральный редуктор, трансмиссию, привод управления, два механизма возможности движения по двум колеям, амортизацию и тормоза. Между колесной платформой и кузовом установлены опорные ролики. Трансмиссия обеспечивает передачу крутящего момента от двигателя к колесным парам через первую коническую зубчатую передачу центрального редуктора, ведомое колесо которой соединено с солнечным коническим зубчатым колесом, дальше к каждой колесной паре через две конические зубчатые передачи, соединенные валом, на ведущий вал межколесного дифференциала колесных пар. Поворот кузова относительно колесной платформы производится от рулевого колеса с валом, через цепную передачу и червячный редуктор на вторую коническую зубчатую передачу центрального редуктора, ведомое колесо которой соединено с колесной платформой. Привод поворота колес включает механизм отключения от поворота и фиксации двух задних колесных пар для обеспечения возможности движения КТС по двум колеям. Поворот колесных пар обеспечивается при повороте кузова относительно колесной платформы посредством соединенного с ним нижнего вала центрального редуктора и двух цепных передач. Нижняя ведущая звездочка установлена на этом валу жестко, а верхняя установлена на нем свободно и может перемещаться по нему вверх и вниз. Кроме этого на ее боковых поверхностях имеются дополнительные зубья (кулачки), такие же как и на верхней поверхности нижней звездочки и верхней части колесной платформы. При нижнем ее положении она соединяется с нижней звездочкой, обеспечивая поворот всех колес, а при верхнем положении она соединяется с колесной платформой, исключая поворот двух задних колес. Вторым механизмом обеспечения возможности движения по двум колеям является ограничитель поворота кузова и двух управляемых колесных пар на угол до 180°, состоящий из двух упоров на колесной платформе и одного подвижного пальца, установленного на днище кузова. Амортизация колес осуществляется установкой пружинных рессор и амортизаторов на телескопические поворотные колонки колесных пар. Рабочий тормоз гидравлического типа обеспечивает торможение всех колес, педаль которого установлена в кабине. Стояночный тормоз механического типа установлен между коробкой передач и первой конической зубчатой передачей центрального редуктора. Стабилизация башни относительно сторон света достигается при поворотах КТС путем поворота ее относительно кузова в обратную сторону и на такой же угол с помощью дополнительных цилиндрической и конической зубчатых передач в центральном редукторе. Указанное КТС предназначено для ручного управления водителем.
Технический результат изобретения – упрощение конструкции трансмиссии, привода управления и разработка основных механизмов для дистанционно управляемых КТС.
Заявленная конструкция КТС содержит колесную платформу с опорными роликами, поворотный относительно нее кузов, башню с механизмом ее стабилизации, аккумуляторные батареи, два электродвигателя для движения средства и поворота кузова, центральный редуктор, трансмиссию, привод управления, тормоз, амортизацию колес, блок оборудования управления средством. Трансмиссия обеспечивает передачу крутящего момента от первого электродвигателя через первую коническую передачу центрального редуктора, ведомое колесо которой соединено с первой ведущей звездочкой цепной передачи, от которой – к каждой колесной паре посредством одной цепи на ведомые звездочки, соединенные с ведущими валами межколесных дифференциалов. Поворот кузова относительно колесной платформы осуществляется от второго электродвигателя на вторую коническую зубчатую передачу центрального редуктора, ведомое колесо которой соединено с колесной платформой. Поворот всех колесных пар происходит при повороте кузова относительно колесной платформы от нижнего вала центрального редуктора, соединенного с кузовом и с ведущей шестерней цилиндрической зубчатой передачи, ведомое колесо которой соединено с ведущей звездочкой цепной передачи, далее – к каждой поворотной колонке посредством цепи на ведомые звездочки, соединенные с поворотными колонками.
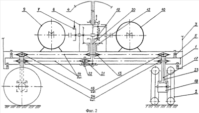
Конструкция КТС с четырьмя колесными парами поясняется чертежами, где представлено: на фиг.1 – общая компоновка КТС, вид сбоку и вид сверху без башни и верхней части кузова; на фиг.2 – кинематическая схема трансмиссии и привода управления, вид сбоку (правая колесная пара условно повернута на 90°); на фиг.3 – кинематическая схема трансмиссии, вид сверху без кузова; на фиг.4 – кинематическая схема привода поворота колесных пар, вид сверху без кузова и верхней части колесной платформы.
В конструкции КТС без изменения, как у прототипа, остаются: колесная платформа 1 с четырьмя колесными парами 2, кузов 3, башня 4 с механизмом стабилизации, опорные ролики 5, центральный редуктор 6, амортизация колес, тормоз 7 без рабочего.
Отличия конструкции КТС показаны на фиг.1, 2, 3, 4.
На фиг.1 показана общая компоновка КТС.
На днище кузова 3 размещено: ящик для аккумуляторных батарей 8, предназначенных для питания двух реверсивных с регулируемой частотой вращения якоря электродвигателей постоянного тока для движения средства 9 и поворота его кузова 10, центральный редуктор 6, блок 11 для размещения оборудования управления средством.
Упрощена конструкция трансмиссии (фиг.2, 3). Передача крутящего момента от электродвигателя 9 производится через соединительную муфту и первую коническую зубчатую передачу 12 центрального редуктора 6, ведомое колесо которой жестко соединено с ведущей звездочкой 13 цепной передачи, далее – к каждой колесной паре 2 посредством одной цепи 14 с натяжным устройством 15 на ведомые звездочки 16, жестко соединенные с ведущими валами 17 межколесных дифференциалов 18.
Такая трансмиссия по сравнению с прототипом позволяет увеличить ее КПД, надежность и долговечность.
Упрощен механизм поворота кузова 3 относительно центральной вертикальной оси колесной платформы 1. Поворот кузова осуществляется от электродвигателя 10 (фиг.2) через соединительную муфту на вторую коническую зубчатую передачу 19 центрального редуктора 6, ведомое колесо 19 которой жестко соединено с колесной платформой 1.
Для средств без необходимости движения по двум колеям поворот всех колесных пар 2 (фиг.2, 4) производится при повороте кузова 3 относительно колесной платформы 1 от нижнего вала 20 центрального редуктора 6, жестко соединенного с кузовом 3 и с ведущей шестерней цилиндрической зубчатой передачи 21 с передаточным числом 1:1, ведомое колесо которой жестко соединено с ведущей звездочкой 22 цепной передачи, далее – к каждой поворотной колонке 23 посредством цепи 14 с натяжным устройством 15 на ведомые звездочки 24, соединенные с поворотными колонками 23 и с корпусами межколесных дифференциалов 18. Введение цилиндрической зубчатой передачи 21 обусловлено необходимостью обеспечения поворота колес 2 в ту же сторону, что и кузов 3.
При необходимости движения КТС по двум колеям конструкция привода поворота колес берется аналогично прототипу с механизмами отключения от поворота и фиксации двух смежных колесных пар 2, а также ограничения поворота кузова 3 и двух других управляемых колесных пар на угол до 180°.
В данной конструкции КТС предлагается использование только стояночного тормоза 7 механического типа (фиг.2) прототипа.
Башня 4 с механизмом ее стабилизации относительно сторон света при поворотах КТС в горизонтальной плоскости может быть использована для размещения солнечных батарей, видеокамер, направленных антенн, стрелкового вооружения и др.
Предлагаемая конструкция КТС может быть использована в качестве базы дистанционно управляемых средств: планетохода, сапера-разведчика, детской игрушки и др.
Формула изобретения
Дистанционно управляемое колесное транспортное средство, содержащее колесную платформу 1 с не менее чем тремя колесными парами 2, поворотный относительно центральной вертикальной оси колесной платформы кузов 3, опорные ролики 5, центральный редуктор 6, трансмиссию, привод управления, механизм стабилизации башни 4 относительно сторон света в горизонтальной плоскости при движении транспортного средства, тормоз 7 и амортизацию колес, отличающееся тем, что в кузове 3 установлены ящик для аккумуляторных батарей 8, предназначенных для питания двух реверсивных с регулируемой частотой вращения якоря электродвигателей постоянного тока для движения транспортного средства и поворота его кузова, центральный редуктор 6 и блок 11 для размещения оборудования управления транспортным средством, трансмиссия обеспечивает передачу крутящего момента от первого электродвигателя 9 через первую соединительную муфту на первую коническую зубчатую передачу 12 центрального редуктора 6, ведомое колесо которой жестко соединено с ведущей звездочкой 13 первой цепной передачи, к каждой колесной паре 2 посредством первой цепи 14 с первым натяжным устройством 15 на ведомые звездочки 16, жестко соединенные с ведущими валами 17 межколесных дифференциалов 18, поворот кузова 3 относительно центральной вертикальной оси колесной платформы 1 осуществляется от второго электродвигателя 10 через вторую соединительную муфту на вторую коническую зубчатую передачу 19 центрального редуктора 6, ведомое колесо которой жестко соединено с колесной платформой 1, поворот всех колесных пар 2 происходит при повороте кузова 3 относительно колесной платформы 1 от нижнего вала 20 центрального редуктора 6, жестко соединенного с кузовом 3 и с ведущей шестерней цилиндрической зубчатой передачи 21, ведомое колесо которой жестко соединено с ведущей звездочкой 22 второй цепной передачи, к каждой поворотной колонке 23 посредством второй цепи 14 со вторым натяжным устройством 15 на ведомые звездочки 24, жестко соединенные с поворотными колонками 23 и с корпусами межколесных дифференциалов 18.
РИСУНКИ
|
|