|
|
(21), (22) Заявка: 2008139850/11, 07.10.2008
(24) Дата начала отсчета срока действия патента:
07.10.2008
(46) Опубликовано: 10.05.2010
(56) Список документов, цитированных в отчете о поиске:
RU 2287435 С2, 20.11.2006. RU 2108910 C1, 20.04.1998. US 2006290028 A1, 28.12.2006. EP 1479516 A1, 24.11.2004.
Адрес для переписки:
662972, Красноярский край, ЗАТО Железногорск, г. Железногорск, ул. Ленина, 52, ОАО “ИСС”, начальнику УИО Р.П. Туркеничу
|
(72) Автор(ы):
Никипелов Александр Владимирович (RU), Михнёв Михаил Михайлович (RU), Ишенина Надежда Николаевна (RU)
(73) Патентообладатель(и):
Открытое акционерное общество “Информационные спутниковые системы” имени академика М.Ф. Решетнёва” (RU)
|
(54) УСТРОЙСТВО ДЛЯ СКЛЕИВАНИЯ РАВНОПРОЧНОЙ ТРЕХСЛОЙНОЙ ПАНЕЛИ С СОТОВЫМ ЗАПОЛНИТЕЛЕМ
(57) Реферат:
Изобретение относится к устройствам изготовления трехслойных панелей с сотовым заполнителем и может быть использовано в машиностроении, авиационной и космической технике. Устройство содержит печь – автоклав, обеспечивающий регулирование тепловых режимов и выравнивание распределяемых тепловых потоков, технологическую плиту, на которую устанавливается сборка изготавливаемой трехслойной панели с сотовым заполнителем, средства фиксации панели относительно технологической плиты, средства удаления летучих фракций клея. Трехслойная панель состоит из внешних обшивок, сотового заполнителя и пленочного клея, уложенного между сотовым заполнителем и обшивками. Для фиксации сборки изготавливаемой трехслойной панели с сотовым заполнителем на технологической плите предусмотрена крышка с дренажными отверстиями, оснащенная съемными поршневыми пневматическими цилиндрами, полости высокого давления которых объединены магистралью с запираемым заправочным штуцером. Технологическая плита имеет средства крепления на планшайбе располагаемого в печи поворотного устройства, обеспечивающего вращение сборки из технологической плиты с зафиксированной на ней с помощью крышки трехслойной панелью с сотовым заполнителем в вертикальном положении относительно оси, перпендикулярной силе тяжести. Технологическая плита и крышка изготавливаются из материала с коэффициентами теплового расширения близкими к коэффициентам теплового расширения материала панели с сотовым заполнителем. Достигается лучшее распределения клея. 2 з.п. ф-лы, 4 ил.
Заявляемое изобретение относится к устройствам изготовления трехслойных панелей с сотовым заполнителем и может быть использовано в машиностроении, авиационной и космической технике.
Выбранное прототипом устройство для склеивания трехслойных панелей с сотовым заполнителем приведено на стр.173 работы А.А.Иванова, С.М.Кашина, В.И.Семенова «Новое поколение сотовых заполнителей для авиационно-космической техники». – М.: Энергоатомиздат, 2000. Устройство содержит печь (автоклав), технологическую плиту, на которую устанавливается сборка изготавливаемой трехслойной панели с сотовым заполнителем, состоящая из внешних (верхней и нижней) обшивок, сотового заполнителя и пленочного клея, уложенного между сотовым заполнителем и обшивками; вакуумный мешок, прижим, шланг вакуумного насоса.
Недостатком устройства является невозможность получения с его помощью равнопрочных трехслойных панелей с сотовым заполнителем. Формирование клеевого соединения верхнего и нижнего стыков заполнителя и обшивок производят в различных относительно силы тяжести условиях. Поэтому геометрические характеристики галтелей, образуемых при плавлении пленочного клея в пристеночных областях стыков сотового соединителя и обшивок, получаются различными, в результате чего верхний и нижний слои получаемой трехслойной панели обладают различной прочностью. Кроме этого, при применении описываемого устройства невозможно осуществить оптимальное (с точки зрения используемой массы и получаемой прочности) распределение клея, в результате чего конструкция получаемой трехслойной панели в целом является неоптимальной по массовым и прочностным характеристикам.
Примечание. Как вариант применения описанного устройства, возможно рассмотреть раздельное склеивание верхней и нижней обшивок. Следует отметить, что используемый пленочный клей полимеризуется при температуре около 175°С, после чего становится термореактивным, то есть при остывании и повторном нагреве клей в жидкое состояние больше не переходит. Поэтому при раздельном склеивании обшивок в предварительно приклеенной обшивке возникают напряжения, вызванные температурной деформацией конструкции, что, соответственно, приводит к разупрочнению клеевого соединения. Кроме этого, дополнительная переустановка панели для приклеивания второй обшивки увеличивает продолжительность цикла изготовления и снижает его качество.
На фиг.1 показаны: а) – фрагмент сборки трехслойной сотовой панели в исходном состоянии (до нарева); б) – фрагмент трехслойной сотовой панели, получаемой по описанному выше способу; в) – фрагмент равнопрочной трехслойной сотовой панели с оптимизированными характеристиками по прочности и массе; 1 – внешние обшивки панели; 2 – сотовый заполнитель; 3 – пленочный клей; S-S – продольная ось симметрии трехслойной сотовой панели. Максимальная и минимальная толщина клеевого слоя в нижнем стыке сотового соединителя, склеиваемого по вышеописанному способу – hнmax и hнmin из-за формирования в различных относительно направления силы тяжести условиях, соответственно, не равны максимальной и минимальной толщине клеевого слоя в верхнем стыке сотового соединителя – hвmax и hвmin (фиг 1, б).
Целью данного изобретения является создание устройства, позволяющего обеспечить получение клеевого соединения сотового соединителя с внешними обшивками, симметричного относительно продольной оси симметрии трехслойной сотовой панели с заданной высотой галтели и с оптимальным (с точки зрения используемой массы и получаемой прочности) распределением клея.
Эта цель достигается тем, что для фиксации сборки изготавливаемой трехслойной панели с сотовым заполнителем на технологической плите предусмотрена крышка с дренажными отверстиями, оснащенная съемными поршневыми пневматическими цилиндрами, полости высокого давления которых объединены магистралью с запираемым заправочным штуцером; технологическая плита имеет средства крепления на планшайбе располагаемого в печи поворотного устройства, обеспечивающего вращение сборки из технологической плиты с зафиксированной на ней с помощью крышки трехслойной панелью с сотовым заполнителем в вертикальном положении относительно оси, перпендикулярной силе тяжести; технологическая плита и крышка изготавливаются из материала с коэффициентами теплового расширения, близкими к коэффициентам теплового расширения материала панели с сотовым заполнителем.
Кроме этого, для повышения качества получаемой равнопрочной трехслойной панели с сотовым заполнителем необходимо снизить влияние температурных напряжений, возникающих в процессе прогрева сборки в печи.
Эта цель достигается тем, что планшайба располагаемого в печи поворотного устройства изготавливается из материала с коэффициентами теплового расширения, близкими к коэффициентам теплового расширения материала панели с сотовым заполнителем.
В случае использования планшайбы поворотного устройства, выполненной из материала с коэффициентами теплового расширения, отличающимися от коэффициентов теплового расширения материала панели с сотовым заполнителем, необходимо компенсировать температурные напряжения, возникающие в процессе прогрева сборки в печи.
Эта цель достигается тем, что средства крепления технологической плиты на планшайбе располагаемого в печи поворотного устройства, обеспечивающего вращение сборки из технологической плиты с зафиксированной на ней с помощью крышки трехслойной панелью с сотовым заполнителем в вертикальном положении относительно оси, перпендикулярной силе тяжести, для компенсации температурных деформаций выполнены с обеспечением радиального перемещения технологической плиты относительно планшайбы.
Суть изобретения поясняется фиг.2, фиг.3, фиг.4.
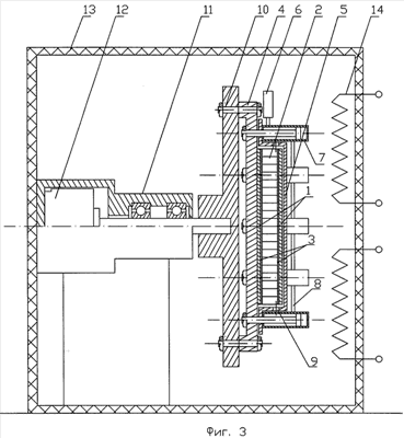
Конструктивно устройство состоит из трехслойной панели с сотовым заполнителем, состоящей из внешних обшивок 1, сотового заполнителя 2 и пленочного клея 3, уложенного между сотовым заполнителем и внешними обшивками (фиг.2), технологической плиты 4, крышки 5, оснащенной съемными поршневыми пневматическими цилиндрами 7, полости высокого давления которых объединены магистралью 8 с запираемым заправочным штуцером 6, для удаления летучих фракций клея в крышке 5 предусмотрены дренажные отверстия 9. Сборка (в соответствии с фиг.2) трехслойной панели с сотовым заполнителем, установленная на технологическую плиту и зафиксированная на ней с помощью крышки, устанавливается на планшайбе 10 (фиг.3) располагаемого в печи (автоклаве) 13 поворотного устройства 11, обеспечивающего вращение сборки из технологической плиты с зафиксированной на ней с помощью крышки трехслойной панелью с сотовым заполнителем в вертикальном положении относительно оси, перпендикулярной силе тяжести. Поворотное устройство управляется приводом 12. Для обеспечения регулирования тепловых режимов и выравнивания распределяемых тепловых потоков предусмотрены управляемые нагреватели печи 14. Кроме этого, выравнивание распределяемых тепловых потоков в печи может осуществляться, например, средствами принудительной циркуляции среды в печи (не показаны).
Для снижения влияния температурных напряжений, возникающих в процессе прогрева сборки в печи, планшайба располагаемого в печи поворотного устройства может изготавливаться из материала с коэффициентами теплового расширения, близкими к коэффициентам теплового расширения материала панели с сотовым заполнителем.
В случае использования планшайбы поворотного устройства, выполненной из материала с коэффициентами теплового расширения, отличающимися от коэффициентов теплового расширения материала панели с сотовым заполнителем, средства крепления технологической плиты на планшайбе располагаемого в печи поворотного устройства, обеспечивающего вращение сборки из технологической плиты с зафиксированной на ней с помощью крышки трехслойной панелью с сотовым заполнителем в вертикальном положении относительно оси, перпендикулярной силе тяжести, для компенсации температурных деформаций могут быть выполнены с обеспечением радиального перемещения технологической плиты относительно планшайбы. Это достигается выполнением радиальных зазоров в отверстиях под болтовое соединение технологической плиты 4 и планшайбы 10 (фиг.3).
Принцип действия описываемого устройства заключается в следующем:
– сборку трехслойной панели с сотовым заполнителем, состоящей из внешних обшивок 1, сотового заполнителя 2 и пленочного клея 3, уложенного между сотовым заполнителем и внешними обшивками, устанавливают на технологическую плиту 4, изготовленную из материала с коэффициентами теплового расширения, близкими к коэффициентам теплового расширения материала панели с сотовым заполнителем (фиг.2);
– фиксируют сборку трехслойной панели с сотовым заполнителем на технологической плите с помощью крышки 5, изготовленной из материала с коэффициентами теплового расширения, близкими к коэффициентам теплового расширения материала панели с сотовым заполнителем;
– через заправочный штуцер 6 подают (магистраль подачи газа не показана) газ заданного давления в поршневые пневматические цилиндры 7, полости высокого давления которых объединены магистралью 8;
– закрывают заправочный штуцер, отсоединяют от него магистраль подачи газа;
– устанавливают технологическую плиту 4 с установленной на нее сборкой трехслойной панели с сотовым заполнителем, закрепленной крышкой, на планшайбу 10 поворотного устройства 11 (фиг.3);
– устанавливают поворотное устройство в печь (автоклав) 13, закрывают ее, включают привод поворотного устройства 12 и управляемые нагреватели печи 14 (фиг.3);
– удаление летучих фракций клея производят через дренажные отверстия 9 в крышке 5 (фиг.2);
– производят ступенчатый, с заданными временными интервалами, нагрев сборки с последовательным достижением температуры плавления и температуры полимеризации пленочного клея;
– после полимеризации клея производят постепенное охлаждение готовой сборки трехслойной сотовой панели и извлекают ее из печи и поворотного устройства.
При вращении с определенной угловой скоростью и постепенном нагреве сборки (с выравниванием тепловых потоков по прогреваемой поверхности сборки, например, принудительной циркуляцией газа внутри печи) до температуры плавления расплавленный клей стекает из центральной к периферийным зонам в каждой сотовой ячейке. Формирование галтелей, образуемых клеем в зонах стыка сотового заполнителя с внешними обшивками панели, происходит под действием силы тяжести, сил капиллярного притяжения поверхностей стенок сотового заполнителя и обшивок. Влияние сил, возникающих в связи с вращением панели относительно оси, перпендикулярной силе тяжести, при относительно малых угловых скоростях вращения, как менее существенное, возможно не учитывать. Направление движения клея показано стрелками на фиг.4: 1 – внешние («верхняя» и «нижняя») обшивки панели; 2 – сотовый заполнитель; 3 – пленочный клей; S-S – продольная ось симметрии трехслойной сотовой панели; А-А – ось вращения технологической плиты с зафиксированной на ней трехслойной панелью, перпендикулярная силе тяжести. При дальнейшем прогреве сборки до температуры полимеризация клея происходит окончательное формирование галтелей в клеевых стыках сотового заполнителя и внешних обшивок панели.
На практике конструкции конкретных трехслойных панелей с сотовым заполнителем могут изготавливаться из различных материалов, с применением различных типов клея. Поэтому определение оптимальных скорости вращения и температурного режима прогрева для заданного типа трехслойной панели с сотовым заполнителем производят экспериментально.
Заявляемое устройство склеивания равнопрочной трехслойной панели с сотовым заполнителем по сравнению с прототипом позволяет изготавливать равнопрочные трехслойные панели с сотовым заполнителем, повысить их качество и прочность.
Заявляемое изобретение может быть использовано в машиностроении, авиационной и космической технике при производстве трехслойных панелей с сотовым заполнителем.
Формула изобретения
1. Устройство для склеивания равнопрочной трехслойной панели с сотовым заполнителем, содержащее печь (автоклав), обеспечивающую регулирование тепловых режимов и выравнивание распределяемых тепловых потоков, технологическую плиту, на которую устанавливается сборка изготавливаемой трехслойной панели с сотовым заполнителем, состоящая из внешних обшивок, сотового заполнителя и пленочного клея, уложенного между сотовым заполнителем и обшивками, средства фиксации панели относительно технологической плиты, средства удаления летучих фракций клея, отличающееся тем, что для фиксации сборки изготавливаемой трехслойной панели с сотовым заполнителем на технологической плите предусмотрена крышка с дренажными отверстиями, оснащенная съемными поршневыми пневматическими цилиндрами, полости высокого давления которых объединены магистралью с запираемым заправочным штуцером, технологическая плита имеет средства крепления на планшайбе располагаемого в печи поворотного устройства, обеспечивающего вращение сборки из технологической плиты с зафиксированной на ней с помощью крышки трехслойной панелью с сотовым заполнителем в вертикальном положении относительно оси, перпендикулярной силе тяжести, технологическая плита и крышка изготавливаются из материала с коэффициентами теплового расширения, близкими к коэффициентам теплового расширения материала панели с сотовым заполнителем.
2. Устройство для склеивания равнопрочной трехслойной панели с сотовым заполнителем по п.1, отличающееся тем, что планшайба располагаемого в печи поворотного устройства изготавливается из материала с коэффициентами теплового расширения, близкими к коэффициентам теплового расширения материала панели с сотовым заполнителем.
3. Устройство для склеивания равнопрочной трехслойной панели с сотовым заполнителем по п.1, отличающееся тем, что средства крепления технологической плиты на планшайбе располагаемого в печи поворотного устройства, обеспечивающего вращение сборки из технологической плиты с зафиксированной на ней с помощью крышки трехслойной панелью с сотовым заполнителем в вертикальном положении относительно оси, перпендикулярной силе тяжести, для компенсации температурных деформаций выполнены с обеспечением радиального перемещения технологической плиты относительно планшайбы.
РИСУНКИ
|
|