|
|
(21), (22) Заявка: 2008123080/02, 10.06.2008
(24) Дата начала отсчета срока действия патента:
10.06.2008
(43) Дата публикации заявки: 20.12.2009
(46) Опубликовано: 10.05.2010
(56) Список документов, цитированных в отчете о поиске:
RU 13769 U1, 27.05.2000. SU 1356085 A1, 30.11.1987. SU 1576955 A1, 07.07.1990. SU 1636899 A1, 23.03.1991. FR 2903815 A1, 18.01.2008.
Адрес для переписки:
603032, г.Нижний Новгород, ул. Баумана, 173, ОАО “Завод электромонтажных инструментов”
|
(72) Автор(ы):
Романов Александр Иванович (RU)
(73) Патентообладатель(и):
Открытое акционерное общество “Завод электромонтажных инструментов” (RU)
|
(54) УСТРОЙСТВО МЕХАНИЧЕСКОГО ДИСТАНЦИОННОГО ПРОКОЛА ЭЛЕКТРИЧЕСКОГО КАБЕЛЯ
(57) Реферат:
Изобретение относится к области электромонтажных работ, а именно к устройствам, предназначенным для индикации отсутствия напряжения на ремонтируемом электрическом кабеле. Устройство содержит скобу, с которой соединено основание с направляющей, в последней расположены пробойник и шток, соединенный с подвижным упором, находящимся во взаимодействии с пружиной, и взводный и спусковой механизмы. Взводный и спусковой механизмы объединены в один узел, который установлен на неподвижном упоре, расположенном на упомянутой направляющей, и содержит вилку и связанные с ней подвижную рукоятку и звездочку. Звездочка взаимодействует с подающей и фиксирующей собачками. Фиксирующая собачка выполнена с рабочим зубом и диаметрально расположенным к нему выступом, выполненным с возможностью взаимодействия с подающей собачкой. Звездочка находится в зацеплении с цепью, связанной посредством пальца с подвижным упором, штоком и пробойником. Вилка снабжена ручкой с отверстием. На подвижной рукоятке расположен зацеп для связи подвижной рукоятки с упомянутой ручкой. В результате упрощается конструкция устройства, и улучшаются условия его эксплуатации. 2 ил.
Настоящее изобретение относится к области электромонтажных работ, а именно к устройствам, предназначенным для индикации отсутствия напряжения на ремонтируемом электрическом кабеле перед его разрезкой путем прокола кабеля по диаметру и закорачивания всех жил разных фаз между собой и на землю с целью предотвращения возможности поражения персонала электрическим током и электрической дугой.
Наиболее близким по технической сущности к предлагаемому изобретению является устройство механического дистанционного прокола электрического кабеля УМПК /1/, использующее для прокола кабеля энергию пружин растяжения. Устройство содержит скобу, связанные с ней болтами и гайками основание с направляющей, перемещающиеся внутри нее пробойник и шток, соединенные с подвижным упором, находящимся во взаимодействии с пружинами, взводный и спусковой механизмы.
Недостатком этого устройства является наличие отдельного механизма для взвода пружин, состоящего из винтового домкрата со стапелем и защитным коробом, имеющего большие габариты и массу, а также довольно сложный механизм для удержания пружин в растянутом положении и сброса нагрузки при проведении прокола, состоящий из чеки, малой чеки и удлинителя.
Задачей изобретения является устранение указанных недостатков устройства путем исключения отдельного механизма для взвода пружин и упрощения механизма сброса нагрузки, объединения этих механизмов в один узел и установкой его непосредственно на устройство. Технический результат заключается в упрощении конструкции и улучшении условий эксплуатации устройства.
Указанный результат достигается тем, что в устройстве механического дистанционного прокола электрического кабеля, содержащем скобу, соединенные с ней основание с направляющей, с расположенными в ней пробойником и штоком, соединенными с подвижным упором, находящимся во взаимодействии с пружиной, взводный и спусковой механизмы, взводный и спусковой механизмы объединены в один узел, установленный на неподвижном упоре, расположенном на направляющей, содержащий вилку и связанные с ней подвижную рукоятку и звездочку, взаимодействующую с подающей и фиксирующей собачками, причем на фиксирующей собачке выполнен выступ, диаметрально расположенный к ее рабочему зубу, с возможностью взаимодействовать с подающей собачкой, при этом звездочка находится в зацеплении с цепью, связанной через палец с подвижным упором, штоком и пробойником, вилка снабжена ручкой с отверстием, а на подвижной рукоятке расположен зацеп для связи их друг с другом.
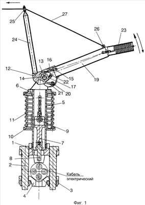
На фиг.1 изображен общий вид устройства механического дистанционного прокола электрического кабеля в разрезе во взведенном положении; на фиг.2 изображено устройство взводно-спускового механизма в увеличенном масштабе.
Устройство механического дистанционного прокола кабеля содержит основание 1, с которым болтами 2 через гайки 3 связана скоба 4, куда устанавливается электрический кабель. Основание 1 через направляющую 5 соединено с неподвижным упором 6, на котором установлен узел взводно-спускового механизма. В направляющей 5, с возможностью перемещения, размещены шток 7 и пробойник 8, связанные через палец 9 с подвижным упором 10. Между неподвижным упором 6 и подвижным упором 10 расположена пружина 11, приводящая в действие устройство при проколе электрического кабеля. Узел взводно-спускового механизма содержит вилку 12, внутри которой на оси 13 установлена звездочка 14, взаимодействующая с цепью 15, здесь же на оси 16 шарнирно установлена подпружиненная фиксирующая собачка 17, входящая в зацепление своим рабочим зубом 18 со звездочкой 14. На оси 13 также установлена подвижная рукоятка 19, внутри которой на оси 20 установлена подпружиненная подающая собачка 21, которая взаимодействует с зубьями звездочки 14 и так же может взаимодействовать с фиксирующей собачкой 17 через ее специальный выступ 22, расположенный диаметрально противоположно рабочему зубу 18. Один конец цепи 15 соединен с пружиной 23, расположенной внутри пустотелой рукоятки 19 и закрепленной за ее конец, а другой конец цепи 15 связан с пальцем 9. На вилке 12 в одной плоскости с рукояткой 19 расположена ручка 24 с отверстием 25, а на рукоятке 19 расположен зацеп 26, на котором закреплен шнур 27, проходящий через отверстие 25.
Устройство работает следующим образом. Качательными движениями подвижной рукоятки 19 на оси 13, установленной в вилке 12, которая закреплена на неподвижном упоре 6, приводится в действие узел взводно-спускового механизма, который работает следующим образом: при вращении подвижной рукоятки 19 по часовой стрелке подающая собачка 21, воздействуя своим рабочим концом на зуб звездочки 14, поворачивает ее на определенный угол, при этом фиксирующая собачка 17 своим рабочим зубом 18, опустившись под действием пружины во впадину звездочки 14, фиксирует ее в этом положении. При обратном движении подвижной рукоятки 19 рабочий конец подающей собачки 21 перемещается во впадину следующего зуба звездочки 14, и процесс повторяется снова. Вращаясь, звездочка 14 перемещает цепь 15, при этом ненагруженная ветвь цепи 15 под действием пружины 23, убирается в полость подвижной рукоятки 19, а другая (силовая) ветвь перемещает палец 9 в пазах направляющей 5. Палец 9 перемещает шток 7 с пробойником 8, а также подвижный упор 10, сжимающий пружину 11, упирающуюся другим концом в неподвижный упор 6. Данный процесс повторяется до тех пор, пока пружина 11 полностью сожмется. В этом положении устройство готово к проведению операции прокола электрического кабеля.
Работа устройства при проколе электрического кабеля осуществляется следующим образом. В целях безопасности устройство приводится в действие с определенного расстояния при помощи (например) шнура 27. При перемещении шнура 27 в отверстии 25 ручки 24 рукоятка 19 начинает поворачиваться на оси 13, при этом выводит из зацепления со звездочкой 14 подающую собачку 21, которая, воздействуя своей тыльной стороной на выступ 22 фиксирующей собачки 17 и поворачивая ее на оси 16, выводит рабочий зуб 18 из зацепления со звездочкой 14, одновременно препятствует рабочему концу подающей собачки 21 войти в зацепление со звездочкой 14, таким образом звездочка 14 полностью расфиксируется, и цепь 15 имеет возможность свободно перемещаться в любую сторону. Подвижный упор 10, больше не удерживаемый цепью 15, под действием пружины 11 начинает перемещаться, и вместе с ним начинают перемещаться палец 9, цепь 15, шток 7 и пробойник 8. Пробойник 8, внедряясь в электрический кабель, производит его прокол.
Устройство механического дистанционного прокола кабеля изготавливают из металлического проката. Пружину можно использовать, например, от подвески легкового автомобиля.
Таким образом, предлагаемое изобретение имеет следующие преимущества:
1. Упрощается конструкция устройства за счет объединения взводного и спускового механизма в один узел.
2. Улучшаются условия эксплуатации за счет изменения взводного механизма, так как исключаются домкрат, стапель, кожух, нормали (винты, гайки) для крепления этих узлов и деталей, дополнительная их сборка на устройстве и разборка.
3. Уменьшаются габаритные размеры и масса устройства.
Источники информации
Формула изобретения
Устройство механического дистанционного прокола электрического кабеля, содержащее скобу, с которой соединено основание с направляющей, в последней расположены пробойник и шток, соединенный с подвижным упором, находящимся во взаимодействии с пружиной, и взводный и спусковой механизмы, отличающееся тем, что взводный и спусковой механизмы объединены в один узел, который установлен на неподвижном упоре, расположенном на упомянутой направляющей, и содержит вилку и связанные с ней подвижную рукоятку и звездочку, взаимодействующую с подающей и фиксирующей собачками, причем фиксирующая собачка выполнена с рабочим зубом и диаметрально расположенным к нему выступом, выполненным с возможностью взаимодействия с подающей собачкой, при этом звездочка находится в зацеплении с цепью, связанной посредством пальца с подвижным упором, штоком и пробойником, вилка снабжена ручкой с отверстием, а на подвижной рукоятке расположен зацеп для связи подвижной рукоятки с упомянутой ручкой.
РИСУНКИ
|
|