|
|
(21), (22) Заявка: 2005121560/09, 09.12.2003
(24) Дата начала отсчета срока действия патента:
09.12.2003
(30) Конвенционный приоритет:
09.12.2002 US 10/315,690
(43) Дата публикации заявки: 20.01.2006
(46) Опубликовано: 27.04.2010
(56) Список документов, цитированных в отчете о поиске:
ЕР 0781064 А2, 25.06.1997. RU 2153771 С2, 27.07.2000. WO 147315 A1, 28.06.2001. US 6529491 B1, 04.03.2003.
(85) Дата перевода заявки PCT на национальную фазу:
11.07.2005
(86) Заявка PCT:
US 03/39390 20031209
(87) Публикация PCT:
WO 2004/054299 20040624
Адрес для переписки:
129090, Москва, ул. Б.Спасская, 25, стр.3, ООО “Юридическая фирма Городисский и Партнеры”, пат.пов. Ю.Д.Кузнецову, рег. 595
|
(72) Автор(ы):
УТИДА Нобуюки (US)
(73) Патентообладатель(и):
КВЭЛКОММ ИНКОРПОРЕЙТЕД (US)
|
(54) ЗАГРУЗКА И ОТОБРАЖЕНИЕ СИСТЕМНЫХ ТЕГОВ В СИСТЕМАХ БЕСПРОВОДНОЙ СВЯЗИ
(57) Реферат:
Изобретение относится к технике связи. Предложены способы загрузки и отображения системных тегов беспроводными терминалами на основе состояния роуминга. Системные теги включают в себя теги домашней системы и теги роуминговой системы, которые включают в себя групповые теги и отдельные теги. Терминал отображает тег домашней системы при получении услуги от домашней системы и тег роуминговой системы при получении услуги от роуминговой системы. Конкретный тег роуминговой системы, который должен быть отображен, зависит от значения индикатора роуминга и значения SID для роуминговой системы. Системные теги могут быть загружены в терминал посредством сигнализации по радиоинтерфейсу. Технический результат заключается в обеспечении возможности предоставлять информацию абонентам на основе состояния роуминга. 7 н. и 10 з.п. ф-лы, 15 табл. 13 ил.
Область техники
Настоящее изобретение относится, в общем, к связи и, более конкретно, к методикам загрузки и отображения системных тегов в системах беспроводной связи.
Уровень техники
Системы беспроводной связи широко развернуты для предоставления различных услуг связи, например передача речи, пакетных данных и коротких сообщений. Эти системы могут быть системами множественного доступа, которые могут поддерживать связь с несколькими пользователями посредством совместного использования доступных системных ресурсов. Примеры таких систем множественного доступа включают в себя системы множественного доступа с кодовым разделением сигналов (CDMA), системы множественного доступа с временным разделением сигналов (TDMA) и системы множественного доступа с частотным разделением сигналов (FDMA). Система CDMA может быть спроектирована с возможностью реализации одного или более таких стандартов, как, например, IS-2000, IS-95, W-CDMA и т.п. Система TDMA может быть спроектирована с возможностью реализации одного или более таких стандартов, как, например, Глобальная система мобильной связи (GSM). Сетевой оператор/поставщик услуг может развернуть одну или более систем беспроводной связи, чтобы предоставлять услуги своим абонентам. Каждая развернутая система охватывает конкретный географический регион (к примеру, город) и может, в свою очередь, включать в себя одну или более сетей меньшего размера. В CDMA каждая система может быть уникально определена посредством конкретного значения кода системной идентификации (SID), а каждая сеть может быть уникально определена посредством конкретного значения кода сетевой идентификации (NID). Каждая базовая станция, управляемая сетевым оператором, будет в таком случае передавать значения SID и NID конкретной системы и сети, которой она принадлежит.
Беспроводные терминалы, управляемые абонентами, типично размещены по всем зонам обслуживания развернутых систем. В CDMA терминал может включать в себя список предпочтительного роуминга (PRL), который определяет конкретные системы, к которым может осуществлять доступ терминал, и (необязательно) системы, к которым терминал не может осуществлять доступ. Терминал дополнительно поддерживает список из одной или более домашних систем, при этом каждая домашняя система определена своей уникальной парой (SID, NID). Терминал в таком случае может определять, находится или нет он в связи с домашней системой, на основе своих домашних пар (SID, NID) и пары (SID, NID), принятой от обслуживающей системы. Обслуживающая система – это система, от которой терминал получает услугу. Терминал считается находящимся в роуминге, если пара (SID, NID), принятая от обслуживающей системы, не соответствует ни одной из домашних пар (SID, NID).
Традиционно в CDMA беспроводной терминал имеет средство отображения индикатора роуминга (которым типично является значок) и/или конкретных текстовых строк на основе своего состояния роуминга. Например, если терминал получает услугу от домашней системы, то он может отображать имя домашнего поставщика услуг на экране терминала. Напротив, если терминал получает услугу от роуминговой системы (т.е. системы, которая не является домашней системой), то он может показывать свое состояние роуминга в соответствии со значением индикатора роуминга, ассоциативно связанным с роуминговой системой. Это значение индикатора роуминга может быть сохранено в системной записи, хранимой для роуминговой системы и включенной в список предпочтительного роуминга. Традиционно тип информации, которая может быть передана терминалом для роуминга, ограничен и конкретно задан Приложением C документа TIA/EIA-683-B. Например, значение индикатора роуминга может указывать терминалу отображать индикатор/значок роуминга и/или отображать конкретную текстовую строку на экране терминала.
Системы CDMA широко развернуты и международный роуминг стал более распространенным. Поставщики услуг могут захотеть предоставлять различную и/или более конкретную информацию своим абонентам на основе состояния роуминга. Например, поставщик услуг может захотеть предоставить имя роуминговой системы терминалу, так чтобы имя системы могло быть отображено на экране терминала для абонента. Поэтому в данной области техники существует потребность в методиках, чтобы загружать и отображать информацию на основе состояния роуминга терминалов.
Сущность изобретения
В данном документе предоставлены методики загрузки системных тегов в терминалы и отображения этих системных тегов на основе состояния роуминга терминалов. Тег – это набор буквенно-цифровых символов и, возможно, графики, которые могут быть отображены на экране терминала. Системные теги могут быть заданы с возможностью включения в себя тегов домашней системы и тегов роуминговой системы, а теги роуминговой системы могут быть дополнительно заданы с возможностью включения в себя групповых тегов и отдельных тегов. Тег домашней системы ассоциативно связан с одной или более домашними системами, групповой тег ассоциативно связан с одним или более значений индикатора роуминга, а отдельный тег ассоциативно связан с одним или более значений SID.
Терминал типично снабжен одним тегом домашней системы и может быть снабжен любым числом групповых тегов и отдельных тегов. Тег домашней системы отображается каждый раз, когда терминал получает услугу от домашней системы. Тег роуминговой системы может быть отображен каждый раз, когда терминал получает услугу от роуминговой системы. Конкретный тег роуминговой системы, который должен быть отображен, зависит от значения индикатора роуминговой системы и значения SID для роуминговой системы, от которой получена услуга.
Системные теги могут быть загружены в терминал посредством сигнализации по радиоинтерфейсу. В данном документе предоставлен набор сообщений системных тегов. Эти сообщения могут быть использованы, чтобы (1) запрашивать системные теги, в настоящий момент сохраненные терминалом, и/или текущую конфигурационную информацию для системных тегов и (2) загружать новые теги в терминал.
Далее подробно описаны различные аспекты и варианты осуществления изобретения.
Краткое описание чертежей
Признаки, природа и преимущества настоящего изобретения станут более явными из изложенного ниже подробного описания, рассматриваемого вместе с чертежами, на которых одинаковые символы ссылок определяют соответственно по всему документу и из которых
Фиг. 1 иллюстрирует сеть беспроводной связи;
Фиг. 2 иллюстрирует структуру списка предпочтительного роуминга (PRL);
Фиг. 3A иллюстрирует ассоциативную связь между списком домашних SID/NID и тегом домашней системы;
Фиг. 3B и 3C иллюстрируют ассоциативную связь между системами в системной таблице и групповыми тегами и отдельными тегами соответственно;
Фиг. 4 иллюстрирует структуру сохранения системных тегов в терминале;
Фиг. 5 иллюстрирует поток сигналов для загрузки по радиоинтерфейсу системных тегов в терминал;
Фиг. 6A и 6B иллюстрируют формат сообщения “Ответ по конфигурации системных тегов”, отправленного терминалом, для различных типов блоков данных;
Фиг. 6C и 6D иллюстрируют формат сообщения “Запрос на загрузку системных тегов”, отправленного терминалом, чтобы загрузить тег домашней системы и список групповых тегов/отдельных тегов соответственно;
Фиг. 7 иллюстрирует блок-схему процесса отображения надлежащего системного тега на основе состояния роуминга терминала; и
Фиг. 8 иллюстрирует блок-схему центра системных тегов и терминала.
Подробное описание изобретения
Слово “типичный” используется в данном документе, чтобы обозначать “служащий в качестве примера, отдельного случая или иллюстрации”. Любой вариант осуществления или проект, описанный в данном документе как “типичный”, не обязательно должен быть истолкован как предпочтительный или выгодный по сравнению с другими вариантами осуществления или проектами.
Фиг. 1 иллюстрирует схему сети 100 беспроводной связи. Сеть 100 включает в себя несколько систем, а каждая система дополнительно включает в себя одну или более сетей меньшего размера. Каждая система может быть уникально определена значением SID, а каждая сеть меньшего размера может быть уникально определена значением NID. Сеть 100 типично включает в себя множество базовых станций, однако для простоты на фиг. 1 проиллюстрированы только две базовые станции для двух систем. Базовая станция 110a предоставляет обслуживание системы с парой (2, 3) значений (SID, NID), а базовая станция 110b предоставляет обслуживание системы с парой (1, 4) значений (SID, NID). Базовые станции – это стационарные станции, используемые для обмена данными с беспроводными терминалами, и они также могут называться узлом B, точкой доступа или каким-либо другим термином.
Ряд беспроводных терминалов может быть размещен по всей зоне обслуживания сети 100. Каждый терминал включает в себя список одной или более пар (SID, NID) для одной или более систем, которые назначены в качестве домашней системы для терминала. Для простоты на фиг. 1 проиллюстрирован только один терминал 120, и этот терминал имеет две домашние пары (2, 65535) и (3, 65535) значений (SID, NID). Значение NID в 65535 может быть использовано, чтобы показывать, что только SID (а не NID) используется, чтобы определять, является ли обслуживающая система домашней системой. Таким образом, если значение NID равно 65535, то все системы с тем же значением SID, что у домашней пары (SID, NID), будут рассматриваться как нероуминговые системы вне зависимости от значений NID этих систем.
На фиг. 1 терминал 120 получает услугу от домашней системы, когда он обменивается данными с базовой станцией 110a. Это обусловлено тем, что базовая станция 110a принадлежит системе со значением SID, равным 2, а терминал рассматривает все системы со значением SID, равным 2, как нероуминговые (поскольку значение NID в этой домашней паре (SID, NID) равно 65535). Этот же терминал 120, как считается, получает услугу от роуминговой системы, когда он обменивается данными с базовой станцией 110b. Это обусловлено тем, что базовая станция 110b принадлежит системе со значением SID, равным 4, которое не соответствует ни одному из значений SID двух домашних пар (SID, NID) для терминала.
В CDMA каждый терминал запрограммирован списком предпочтительного роуминга (PRL), который определяет конкретные системы, к которым может осуществлять доступ терминал, и, возможно, системы, к которым терминал не может осуществлять доступ. Список предпочтительного роуминга недоступен пользователям, но может быть обновлен с помощью заданной процедуры и сообщений. Список предпочтительного роуминга сохранен в энергонезависимой памяти терминала.
Фиг. 2 иллюстрирует структуру 200 списка предпочтительного роуминга. Структура PRL включает в себя системную таблицу 210 и таблицу 250 сбора. Системная таблица включает в себя перечень доступных и недоступных систем, который организован по географическим областям (GEO). Как показано на фиг. 2, предоставлена таблица для каждой географической области, и эта таблица включает в себя раздел 220 для доступных или разрешенных систем и раздел 230 для недоступных или запрещенных систем. Доступные системы включают в себя домашние системы и другие системы, к которым терминалу разрешено осуществлять доступ.
Таблица для каждой географической зоны может быть задана, чтобы включать в себя одну запись (или строку) для каждой системы, включенной в таблицу, и несколько полей (или столбцов) для необходимой информации по каждой системе. Эти поля могут включать в себя, например, поля SID/NID, предпочтения выбора, индикатора роуминга и индекса сбора. Для каждой записи поле SID/NID включает в себя уникальную пару (SID, NID) для ассоциативно связанной системы. Поле предпочтения выбора указывает предпочтение для ассоциативно связанной системы среди разрешенных систем с одной и той же географической области, где предпочтение типично задано сетевым оператором. Поле индикатора роуминга включает в себя значение индикатора роуминга для ассоциативно связанной системы. Поле индекса сбора включает в себя значение индекса, которое указывает на конкретную запись в таблице сбора, содержащую значения параметров, чтобы использовать для поиска и запроса связанной системы. Домашние системы типично также включены в системную таблицу, но также определены посредством списка домашних SID/NID, который типично сохранен отдельно от системной таблицы.
Таблица сбора включает в себя одну запись (или строку) для каждого уникального значения индекса и несколько полей (или столбцов) для различных значений параметров, используемых при запросе системы. Предпочтительный список роуминга описан более подробно в Приложении C документа TIA/EIA-683-B, который общедоступен и содержится в данном документе по обращению. В аспекте предоставлены системные теги для отображения на экране терминала на основе состояния роуминга терминалов. Тег – это набор буквенно-цифровых символов и, возможно, графики (к примеру, значков, изображений и т.п.), которые могут быть отображены на экране терминала. В варианте осуществления системные теги включают в себя теги домашней системы и теги роуминговой системы, которые могут быть рассмотрены как различные типы системных тегов. В варианте осуществления теги роуминговой системы дополнительно включают в себя групповые теги и отдельные теги, которые могут быть рассмотрены как различные типы тегов роуминговой системы. Различные и/или дополнительные типы тегов могут также быть заданы, и это не выходит за рамки объема изобретения. В варианте осуществления предоставлен один тег домашней системы для терминала, и он отображается каждый раз, когда терминал получает услугу от домашней системы. Тем не менее, также может быть предусмотрено несколько тегов домашней системы для терминала (к примеру, один тег домашней системы для каждой домашней пары (SID, NID)). В этом случае надлежащий тег домашней системы может быть отображен в зависимости от конкретной домашней системы, от которой терминал получает услугу. Для простоты последующее обсуждение предполагает, что только один тег домашней системы сохранен терминалом.
Тег роуминговой системы может быть отображен каждый раз, когда терминал получает услугу от роуминговой системы. Каждый групповой тег ассоциативно связан либо с одним значением индикатора роуминга, либо с диапазоном значений индикатора роуминга. Каждый отдельный тег ассоциативно связан либо с одним значением SID, либо с диапазоном значений SID. Конкретный тег роуминговой системы, чтобы отображать на экране терминала, зависит от значения индикатора роуминга и значения SID для роуминговой системы, от которой получена услуга.
Системные теги могут быть сохранены в энергонезависимой памяти в терминале так, чтобы эти теги сохранялись, когда питание отключается. Энергонезависимой памятью может быть энергонезависимое ОЗУ, флэш-память, сменный модуль идентификации пользователя (R-UIM), заданный в cdma2000, универсальный модуль идентификации абонента (USIM), заданный в W-CDMA, и т.п. В варианте осуществления системные теги могут быть загружены и обновлены посредством сигнализации по радиоинтерфейсу, как описано ниже.
Фиг. 3A иллюстрирует ассоциативную связь между списком домашних SID/NID и тегом домашней системы. В этом примере список домашних SID/NID включает в себя две пары (2, 65535) и (3, 65535) значений (SID, NID) для терминала, показанного на фиг. 1. Тег домашней системы включает в себя текстовую строку “Welcome to the home system”. Этот тег домашней системы отображается терминалом каждый раз, когда он принимает услугу от любой из систем, включенных в список домашних SID/NID, которой в данном примере является любая система со значением SID в 2 или 3.
Фиг. 3B иллюстрирует ассоциативную связь между системами в системной таблице и списком групповых тегов. Как показано на фиг. 2, каждая из разрешенных систем в системной таблице ассоциативно связана с конкретным значением индикатора роуминга. Несколько разрешенных систем могут быть ассоциативно связаны с одним и тем же значением индикатора роуминга. Групповой тег может быть задан для одного значения индикатора роуминга либо для диапазона значений индикатора роуминга. Несколько групповых тегов могут быть заданы, чтобы охватить все значения индикатора роуминга для разрешенных систем в системной таблице. Каждый групповой тег может быть ассоциативно связан с одним или несколькими значениями индикатора роуминга, тегом текста и/или графики и индикацией отображения роуминга, которая задает, как индикатор/значок роуминга должен быть отображен для группового тега.
В примере, показанном на фиг. 3B, список групповых тегов включает в себя три групповых тега, которые ассоциативно связаны с тремя значениями индикатора роуминга 0x40, 0x41 и 0x42, где 0x означает шестнадцатеричное значение. Каждый раз, когда терминал получает услугу от роуминговой системы, которая имеет значение индикатора роуминга, совпадающее с любым из этих трех значений индикатора роуминга, групповой тег, ассоциативно связанный с совпадающим значением, отображается на экране терминала. Например, если терминал получает услугу от роуминговой системы со значением индикатора роуминга 0x042, то отображается тег “CDMA Alliance C”, а также отображается мигающий индикатор/значок роуминга. В общем случае, индикатор/значок роуминга отображается в соответствии с индикацией отображения роуминга (к примеру, ВКЛ, ВЫКЛ и мигает), ассоциативно связанной с отображаемым групповым тегом.
Фиг. 3B иллюстрирует ассоциативную связь между системами в системной таблице и списком групповых тегов. Как показано на фиг. 2, каждая из разрешенных систем в системной таблице ассоциативно связана с конкретным значением SID. Отдельный тег может быть задан либо для одного значения SID, либо для диапазона значений SID. Каждый отдельный тег после этого должен быть ассоциативно связан с одним или несколькими значениями SID, тегом текста и/или графики, а также индикацией отображения роуминга. Для примера, показанного на фиг. 3C, список отдельных тегов включает в себя три отдельных тега, которые ассоциативно связаны со значением SID в 100, диапазоном значений SID от 101 до 105 и значением SID в 200. Каждый раз, когда терминал получает услугу от роуминговой системы, которая имеет значение SID, совпадающее с одним из значений SID, охватываемых списком отдельных тегов, отдельный тег, ассоциативно связанный с совпадающим значением SID, отображается на экране терминала. Например, если терминал получает услугу от роуминговой системы со значением SID в 103, то отображается тег “Network Operator XYZ”. Кроме того, индикатор/значок роуминга также отображается в соответствии с индикацией отображения роуминга, ассоциативно связанной с отображаемым тегом.
Фиг. 4 иллюстрирует вариант осуществления структуры 400 хранения системных тегов в терминале. В варианте осуществления тег домашней системы, список групповых тегов и список отдельных тегов сохранены в трех различных разделах энергонезависимой памяти или трех отдельных областях хранения в терминале. Список групповых тегов и список отдельных тегов включает в себя (1) набор полей для различных параметров списка и (2) таблицу тегов, которая сохраняет записи для всех тегов в списке, одну запись на тег. Запись каждого группового тега и запись каждого отдельного тега дополнительно включает в себя различные поля для ассоциативно связанного тега. Таблица 1 перечисляет поля тега домашней системы для типичного проекта.
Таблица 1 Тег домашней системы |
| Поле |
Длина (бит) |
Описание |
| Reserved |
6 |
Зарезервировано |
| Tag_Encoding |
5 |
Тип кодирования, используемый для каждого тега домашней системы |
| Tag_Len |
5 |
Длина тега домашней системы (в байтах) |
| Tag |
8ЧTag_Len |
Текст и/или графика для тега домашней системы |
Поле Tag_Encoding указывает конкретный тип кодирования, используемый для каждого символа в поле Tag. Возможные значения поля Tag_Encoding могут быть заданы, как показано в таблице 9.1-1 документа TSB-58-E, озаглавленного “Administration of Parameter Value Assignments for cdma2000 Spread Spectrum Standards”, который общедоступен и содержится в данном документе по обращению.
Таблица 2 перечисляет поля списка групповых тегов для типичного проекта.
Таблица 2 Список групповых тегов |
| Поле |
Длина (бит) |
Описание |
| Group_Tag_List_Size |
16 |
Общий размер (в байтах) списка групповых тегов |
| Group_Tag_List_ID |
16 |
Идентификатор списка групповых тегов |
| Tag_P_Rev |
8 |
Версия протокола для системных тегов |
| Def_Tag_Encoding |
5 |
Тип кодирования по умолчанию, используемый для групповых тегов |
| Num_Group_Tag_Recs |
8 |
Число групповых тегов в списке |
| Group_Tag_Table |
Переменная |
Записи групповых тегов |
| Group_Tag_CRC |
16 |
Значение CRC для списка групповых тегов |
Первые 5 полей в таблице 2 представляют заголовок списка групповых тегов. Group_Tag_List_ID включает в себя идентификатор списка групповых тегов. Этот идентификатор может быть использован, чтобы было удобно выяснять, какой список групповых тегов сохранен терминалом, без необходимости считывать отдельные записи тегов. Поле Def_Tag_Encoding указывает тип кодирования по умолчанию, чтобы использовать для полей Tag записей, включенных в Group_Tag_Table, если ни одна не задана какой-либо из этих записей.
Список групповых тегов может включать в себя любое число групповых тегов, при этом точное число указывается полем Num_Group_Tag_Recs. Каждый групповой тег сохранен как одна запись в Group_Tag_Table. Поле Group_Tag_CRC включает в себя значение контроля с помощью циклически избыточного кода (CRC), которое рассчитывается на основе всех полей списка групповых тегов (за исключением поля CRC). Значение CRC может быть использовано, чтобы определить, корректен ли список групповых тегов.
Таблица 3 перечисляет поля типичной записи группового тега, ассоциативно связанной с одним значением индикатора роуминга.
Таблица 3 Запись группового тега для одного значения индикатора роуминга |
| Поле |
Длина (бит) |
Описание |
| Group_Tag_Type |
3 |
Равно “000” для группового тега, ассоциативно связанное с одним значением индикатора роуминга |
| Roam_Disp_Ind |
4 |
Индикация отображения роуминга, чтобы использовать с тегом: 0000 = ВКЛ, 0001 = ВЫКЛ, 0010 = мигает |
| Encoding_Incl |
1 |
Указывает, включено ли поле Tag_Encoding в запись |
| Tag_Encoding |
0 или 5 |
Тип кодирования, используемый для поля Tag |
| Roam_Ind |
8 |
Значение индикатора роуминга, ассоциативно связанное с групповым тегом |
| Tag_Len |
5 |
Длина группового тега (в байтах) |
| Tag |
8ЧTag_Len |
Текст и/или графика для группового тега |
Традиционно индикатор/значок роуминга отображается на экране терминала способом, заданным значением индикатора роуминга. Привязка между значениями индикатора роуминга и индикацией отображения роуминга задана в TSB-58-E следующим образом: 0x00=ВКЛ, 0x01=ВЫКЛ, 0x02=мигает. Тем не менее, теги роуминговой системы могут быть ассоциативно связаны со значениями индикатора роуминга, которые находятся в диапазоне от 0x40 до 0x7F. Этот диапазон зарезервирован для нестандартного усовершенствованного индикатора роуминга (как указано в таблице 8.1-1 документа TSB-58-E), а индикация отображения роуминга не задана для индикатора/значка роуминга для этих значений индикатора роуминга. Таким образом, поле Roam_Disp_Ind используется, чтобы указать вариант отображения индикатора/значка роуминга для каждого тега роуминговой системы. Возможные значения поля Roam_Disp_Ind могут быть заданы, как показано в таблице 3.
Если запись группового тега включает в себя поле Tag_Encoding, то тип кодирования, включенный в это поле, используется для поля Tag в записи. В противном случае используется тип кодирования, включенный в поле Def_Tag_Encoding списка групповых тегов (как показано в таблице 2).
Таблица 4 перечисляет поля типичной записи группового тега, ассоциативно связанной с диапазоном значений индикатора роуминга.
Таблица 4 Запись группового тега для диапазона значений индикатора роуминга |
| Поле |
Длина (бит) |
Описание |
| Group_Tag_Type |
3 |
Равно “001” для группового тега, ассоциативно связанное с диапазоном значений индикатора роуминга |
| Roam_Disp_Ind |
4 |
Индикация отображения роуминга, чтобы использовать с тегом |
| Encoding_Incl |
1 |
Указывает, включено ли поле Tag_Encoding в запись |
| Tag_Encoding |
0 или 5 |
Тип кодирования, используемый для поля Tag |
| Low_Roam_Ind |
8 |
Значение индикатора роуминга для нижнего порога диапазона, ассоциативно связанное с групповым тегом |
| High_Roam_Ind |
8 |
Значение индикатора роуминга для верхнего порога диапазона, ассоциативно связанное с групповым тегом |
| Incl |
3 |
Значение приращения для значений индикатора роуминга в рамках диапазона |
| Tag_Len |
5 |
Длина группового тега (в байтах) |
| Tag |
8ЧTag_Len |
Текст и/или графика для группового тега |
Групповой тег в таблице 4 ассоциативно связан с диапазоном значений индикатора роуминга. Два порога диапазона заданы значениями полей Low_Roam_Ind и High_Roam_Ind. Поле Incl включает в себя значение приращения для значений индикатора роуминга в рамках диапазона. Групповой тег может быть задан так, чтобы он был ассоциативно связан только с поднабором значений в диапазоне, и это достигается посредством присвоения полю Incl значения, которое больше единицы. Например, чтобы охватить только нечетные значения индикатора роуминга, полям Low_Roam_Ind и High_Roam_Ind могут быть присвоены нечетные значения, а полю Incl может быть присвоено значение 2.
Таблица 5 перечисляет поля списка отдельных тегов для типичного проекта.
Таблица 5 Список отдельных тегов |
| Поле |
Длина (бит) |
Описание |
| Spec_Tag_List_Size |
16 |
Общий размер (в байтах) списка отдельных тегов |
| Spec_Tag_List_ID |
16 |
Идентификатор списка отдельных тегов |
| Tag_P_Rev |
8 |
Версия протокола для системных тегов |
| Def_Tag_Encoding |
5 |
Тип кодирования по умолчанию, используемый для конкретных тегов |
| Num_Spec_Tag_Recs |
8 |
Число отдельных тегов в списке |
| Spec_Tag_Table |
Переменная |
Записи отдельных тегов |
| Spec_Tag_CRC |
16 |
Значение CRC для списка отдельных тегов |
Первые 5 полей в таблице 5 представляют заголовок списка отдельных тегов. Список отдельных тегов может включать в себя любое число отдельных тегов, при этом точное число указывается полем Num_Spec_Tag_Recs. Каждый отдельный тег сохранен как одна запись в Spec_Tag_Table. Поле Spec_Tag_CRC включает в себя значение CRC, которое рассчитывается на основе всех полей списка отдельных тегов (за исключением поля CRC). Значение CRC может быть использовано, чтобы определить, корректен ли список отдельных тегов.
Таблица 6 перечисляет поля типичной записи отдельного тега, ассоциативно связанного с одним значением SID.
Таблица 6 Запись отдельного тега для одного значения SID |
| Поле |
Длина (бит) |
Описание |
| Spec_Tag_Type |
3 |
Равно “000” для отдельного тега, ассоциативно связанного с одним значением SID |
| Roam_Disp_Ind |
4 |
Индикация отображения роуминга для использования с тегом |
| Encoding_Incl |
1 |
Указывает, включено ли поле Tag_Encoding в запись |
| Tag_Encoding |
0 или 5 |
Тип кодирования, используемый для поля Tag |
| SID |
15 |
Значение SID, ассоциативно связанное с отдельным тегом |
| Tag_Len |
5 |
Длина отдельного тега (в байтах) |
| Tag |
8ЧTag_Len |
Текст и/или графика для отдельного тега |
Таблица 7 перечисляет поля типичной записи отдельного тега, ассоциативно связанного с набором значений SID.
Таблица 7 Запись отдельного тега для диапазона значений SID |
| Поле |
Длина (бит) |
Описание |
| Spec_Tag_Type |
3 |
Равно “001” для отдельного тега, ассоциативно связанного с диапазоном значений SID |
| Roam_Disp_Ind |
4 |
Индикация отображения роуминга для использования с тегом |
| Encoding_Incl |
1 |
Указывает, включено ли поле Tag_Encoding в запись |
| Tag_Encoding |
0 или 5 |
Тип кодирования, используемый для поля Tag |
| Low_SID |
15 |
Значение SID для нижнего порога диапазона, ассоциативно связанное с отдельным тегом |
| High_SID |
15 |
Значение SID для верхнего порога диапазона, ассоциативно связанное с отдельным тегом |
| Incl |
8 |
Значение приращения для значений SID в рамках диапазона |
| Tag_Len |
5 |
Длина отдельного тега (в байтах) |
| Tag |
8ЧTag_Len |
Текст и/или графика для отдельного тега |
Таблицы 1-7 показывают типичные форматы для тега домашней системы, списка групповых тегов, записей групповых тегов, списка отдельных тегов и записей отдельных тегов. Другие форматы также могут быть заданы для каждого из этих элементов, и это не выходит за рамки области применения изобретения. Например, тег домашней системы может быть задан, чтобы включать в себя CRC.
Фиг. 5 иллюстрирует типичный поток 500 сигналов для загрузки системных тегов в терминал посредством сигнализации по радиоинтерфейсу. В начале терминал принимает сообщение “Запрос характеристик протокола” от функции подготовки к использованию услуг по радиоинтерфейсу (OTAF), чтобы запросить характеристики терминала (этап 512). OTAF – это функция со стороны сети, отвечающая за администрирование параметров и подготовку к использованию услуг. Терминал отвечает сообщением “Ответ с характеристиками протокола”, которое указывает, имеет ли терминал возможность системных тегов (этап 514). Загрузка системных тегов выполняется, только если терминал поддерживает системные теги.
Затем обмениваются сообщениями “Запрос OTAPA” и “Ответ OTAPA” между терминалом и OTAF, чтобы инициировать администрирование параметров, которым в данном случае является загрузка системных тегов (этапы 516 и 518). После этого обмениваются сообщениями “Запрос на проверку” и “Ответ по проверке”, чтобы определить, может ли быть выполнено администрирование параметров для пользовательского терминала (этапы 522 и 524). Если ответ да, то обмениваются сообщениями “Запрос защищенного режима” и “Ответ по защищенному режиму”, чтобы разрешить шифрование на прикладном уровне (этапы 526 и 528). Это переводит дальнейший обмен данными в защищенный режим для загрузки системных тегов.
Далее терминал принимает сообщение “Запрос конфигурации системных тегов”, запрашивающее текущую конфигурационную информацию, касающуюся системных тегов, сохраненных терминалом (этап 532). Затем терминал отвечает сообщением “Ответ по конфигурации системных тегов” с текущей конфигурационной информацией о тегах (этап 534). После этого терминал принимает сообщение “Запрос на загрузку системных тегов”, чтобы загрузить системные теги, где теги, которые должны быть загружены, могут быть зависимы от текущей конфигурации тегов (этап 536). Затем терминал отвечает сообщением “Ответ по загрузке системных тегов”, которое подтверждает и дополнительно указывает результаты операции загрузки системных тегов (этап 538).
После этого обмениваются сообщениями “Запрос на выполнение” и “Ответ по выполнению”, чтобы инициировать сохранение загруженных системных тегов в энергонезависимой памяти терминала (этапы 542 и 544). Далее обмениваются сообщениями “Запрос защищенного режима” и “Ответ по защищенному режиму”, чтобы завершить защищенный обмен данными между терминалом и OTAF (этапы 546 и 548). В заключение обмениваются сообщениями “Запрос OTAPA” и “Ответ OTAPA”, чтобы завершить операцию загрузки системных тегов (этапы 552 и 554).
Фиг. 5 иллюстрирует типичный поток сигналов для загрузки системных тегов. Другие потоки сигналов также могут быть заданы и использованы, и это не выходит за рамки области применения изобретения. Далее подробнее описаны четыре сообщения системных тегов, использованные на этапах 532-538. Остальные сообщения на фиг. 5 подробно описаны в документе TIA/EIA-683-B.
Сообщение “Запрос конфигурации системных тегов” отправляется терминалу, чтобы запросить (этап 532) текущую конфигурационную информацию, касающуюся системных тегов, сохраненных терминалом. Таблица 8 перечисляет поля сообщения “Запрос конфигурации системных тегов” для типичного проекта.
Таблица 8 Сообщение “Запрос конфигурации системных тегов” |
| Поле |
Длина (бит) |
Описание |
| OTASP_Msg_Type |
8 |
Равно OxXX для сообщения “Запрос конфигурации системных тегов” |
| Block_ID |
8 |
Равно заданному в таблице 12 ниже |
Следующие два поля включены, если Block_ID=0x02 (список групповых тегов) или 0x04 (список отдельных тегов):
| Request_Offset |
16 |
Сдвиг от начала списка тегов для запрашиваемого блока данных информации о системных тегах |
| Request_Max_Size |
8 |
Размер запрашиваемого блока данных |
Блок данных описан более подробно далее. В таблицах 8-11 OxXX означает любое значение, которое доступно для назначения новому сообщению системных тегов. Сообщение “Ответ по конфигурации системных тегов” отправляется терминалом, чтобы вернуть запрошенную конфигурационную информацию OTAF (этап 534). Таблица 9 перечисляет поля сообщения “Ответ по конфигурации системных тегов” для типичного проекта.
Таблица 9 Сообщение “Ответ по конфигурации системных тегов” |
| Поле |
Длина (бит) |
Описание |
| OTASP_Msg_Type |
8 |
Равно OxXX для сообщения “Ответ по конфигурации системных тегов” |
| Block_ID |
8 |
Равно значению Block_ID в сообщении “Запрос конфигурации системных тегов” |
| Result_Code |
8 |
Результаты операции запроса. Равно заданному в документе TIA/EIA-683-B |
| Block_Len |
8 |
Длина поля Param_Data (в байтах) |
| Param_Data |
8ЧBlock_Len |
Запрошенный блок данных информации о системных тегах |
| Fresh_Incl |
1 |
Указывает, включено ли поле Fresh в сообщение |
| Fresh |
0 или 15 |
Произвольное число, используемое для шифрования |
| Reserved |
0 или 7 |
Зарезервировано |
Сообщение “Запрос на загрузку системных тегов” отправляется терминалу, чтобы загрузить системные теги в терминал (этап 536). Таблица 10 перечисляет поля сообщения “Запрос на загрузку системных тегов” для типичного проекта.
Таблица 10 Сообщение “Запрос на загрузку системных тегов” |
| Поле |
Длина(бит) |
Описание |
| OTASP_Msg_Type |
8 |
Равно OxXX для сообщения “Запрос на загрузку системных тегов” |
| Block_ID |
8 |
Равно заданному в таблице 12 ниже |
| Block_Len |
8 |
Длина поля Param_Data (в байтах) |
| Param_Data |
8ЧBlock_Len |
Блок данных информации о системных тегах, которые должны быть загружены |
| Fresh_Incl |
1 |
Указывает, включено ли поле Fresh в сообщение |
| Fresh |
0 или 15 |
Произвольное число, используемое для шифрования |
| Reserved |
0 или 7 |
Зарезервировано |
Сообщение “Ответ по загрузке системных тегов” отправляется терминалом, чтобы подтвердить загруженные системные теги (этап 538). Таблица 11 перечисляет поля сообщения “Ответ по загрузке системных тегов” для типичного проекта.
Таблица 11 Сообщение “Ответ по загрузке системных тегов” |
| Поле |
Длина (бит) |
Описание |
| OTASP_Msg_Type |
8 |
Равно OxXX для сообщения “Ответ по загрузке системных тегов” |
| Block_ID |
8 |
Равно значению Block_ID в сообщении “Запрос на загрузку системных тегов” |
| Result_Code |
8 |
Результаты операции загрузки. Равно заданному в документе TIA/EIA-683-B |
| Следующие два поля включены, если Block_ID = 0x01 (список групповых тегов) или 0x02 (список отдельных тегов): |
| Segment_Offset |
16 |
Сдвиг от начала списка тегов для только что загруженного сегмента информации о системных тегах |
| Segment_Size |
8 |
Размер только что загруженного сегмента |
Для четырех вышеописанных сообщений поле Block_ID показывает тип блока данных, запрашиваемого или отправляемого сообщением. Таблица 12 перечисляет различные типы блоков данных.
Таблица 12 Типы блоков данных |
| Сообщения «Запрос/ответ по конфигурации системных тегов» |
| Тип блока данных |
Block_ID |
| Тег домашней системы |
0х00 |
| Размер списка групповых тегов |
0х01 |
| Список групповых тегов |
0х02 |
| Размер списка отдельных тегов |
0х03 |
| Список отдельных тегов |
0х04 |
Сообщения «Запрос/ответ по загрузке системных тегов»
| Тип блока данных |
BIock_ID |
| Тег домашней системы |
0x00 |
| Список групповых тегов |
0x01 |
| Список отдельных тегов |
0x02 |
Терминал может быть опрошен сообщением “Запрос конфигурации системных тегов” с тем, чтобы отправить обратно блок данных для тега домашней системы, списка групповых тегов, размера списка групповых тегов, списка отдельных тегов или размера списка отдельных тегов. Блок данных размера включает в себя только определенную информацию, касающуюся списка тегов, и не включает в себя какие-либо записи списка тегов. Терминал может быть загружен с блоком данных для тега домашней системы, списка групповых тегов, списка отдельных тегов посредством сообщения “Запрос на загрузку системных тегов”. В одном варианте осуществления, который описан ниже, весь список групповых тегов или список отдельных тегов загружается в терминал, если вообще это возможно. В другом варианте осуществления групповые теги и отдельные теги могут быть отдельно загружены в терминал.
Типичный блок данных для тега домашней системы (Block_ID=0x00) может быть задан, как показано в таблице 1. Блок данных имеет максимальный размер в 264 бита. Типичный блок данных для размера списка групповых тегов может быть задан, как показано в таблице 13. Этот блок данных используется, если Block_ID=0x00 для сообщений о конфигурации системных тегов.
Таблица 13 Блок данных для размера списка групповых тегов |
| Поле |
Длина (бит) |
Описание |
| Max_Group_Tag_List_Size |
16 |
Максимальный размер списка групповых тегов |
| Curr_Group_Tag_List_Size |
16 |
Размер текущего списка групповых тегов |
| Group_Tag_List_ID |
16 |
Идентификатор списка групповых тегов |
| Tag_P_Rev |
8 |
Версия протокола для системных тегов |
| Num_Group_Tag_Recs |
8 |
Число групповых тегов в списке |
Типичный блок данных для размера списка отдельных тегов может быть задан, как показано в таблице 14. Этот блок данных используется, если Block_ID=0x03 для сообщений о конфигурации системных тегов.
Таблица 14 Блок данных для размера списка отдельных тегов |
| Поле |
Длина (бит) |
Описание |
| Max_Spec_Tag_List_Size |
16 |
Максимальный размер списка отдельных тегов |
| Curr_Spec_Tag_List_Size |
16 |
Размер текущего списка отдельных тегов |
| Spec_Tag_List_ID |
16 |
Идентификатор списка отдельных тегов |
| Tag_P_Rev |
8 |
Версия протокола для системных тегов |
| Num_Spec_Tag_Recs |
14 |
Число отдельных тегов в списке |
| Reserved |
2 |
Зарезервировано |
Типичный блок данных для списка групповых тегов и списка отдельных тегов может быть задан, как показано в таблице 15. Этот блок данных используется, если Block_ID=0x02 или 0x04 для сообщений о конфигурации системных тегов и Block_ID=0x01 или 0x02 для сообщений о загрузке системных тегов.
Таблица 15 Блок данных для списка групповых тегов и списка отдельных тегов |
| Поле |
Длина (бит) |
Описание |
| Tag_P_Rev |
8 |
Версия протокола для системных тегов |
| Reserved |
7 |
Зарезервировано |
| Last_Segment |
1 |
Указывает, является ли отправленный сегмент последним для списка тегов |
| Segment_Offset |
16 |
Сдвиг от начала списка тегов для только что отправленного сегмента |
| Segment_Size |
8 |
Размер отправленного сегмента (в байтах) |
| Segment_Data |
8ЧSegment_Size |
Данные для отправленного сегмента |
Четыре сообщения системных тегов, описанные выше, могут быть заключены в сообщение сигнализации (к примеру, “Сообщение пакета данных” на уровне 3 в IS-95 и IS-2000) перед передачей по радиоинтерфейсу. “Сообщение пакета данных” позволяет доставлять до 255 байт данных, и размер четырех сообщений системных тегов должен быть ограничен соответственно. Список групповых тегов и список отдельных тегов могут быть больше, чем размер “Сообщения пакета данных”. В этом случае весь список групповых тегов или список отдельных тегов может быть разбит на несколько сегментов и отправлен посредством нескольких экземпляров “Сообщения информационного пакета”, один сегмент на сообщение. Поле Segment_Size показывает размер текущего отправляемого сегмента. Поле Segment_Offset показывает сдвиг от начала списка тегов для текущего сегмента. Поле Last_Segment показывает, является ли текущий сегмент последним сегментом списка тегов. Хотя загрузка может быть выполнена посредством нескольких сообщений “Запрос на загрузку системных тегов” и нескольких экземпляров “Сообщения пакета данных”, вся операция загрузки может быть рассмотрена как выполняемая одной транзакцией сообщения.
Фиг.6A иллюстрирует формат сообщения “Ответ по конфигурации системных тегов”, отправленного терминалом, для трех различных типов блоков данных. Поле Param_Data этого сообщения включает в себя (1) блок данных для тега домашней системы, показанного в таблице 1, если Block_ID=0x00, (2) блок данных для размера списка групповых тегов, показанного в таблице 13, если Block_ID=0x01 или (3) блок данных для размера списка отдельных тегов, показанного в таблице 14, если Block_ID=0x03.
Фиг. 6B иллюстрирует формат сообщения “Ответ по конфигурации системных тегов”, отправленного терминалом, для двух различных типов блоков данных. Поле Pararn_Data этого сообщения включает в себя (1) блок данных для списка групповых тегов, показанного в таблице 15, если Block_ID=0x02 или (2) блок данных для списка отдельных тегов, также показанного в таблице 15, если Block_ID=0x04. На фиг. 6B отправляется блок данных для списка групповых тегов, как также показано на фиг. 6B, только часть списка групповых тегов в текущем блоке данных, при этом эта часть определяется полями Segment_Offset и Segment_Size блока данных.
Фиг. 6C иллюстрирует формат сообщения “Запрос на загрузку системных тегов”, отправленного терминалу, чтобы загрузить новый тег домашней системы (Block_ID=0x00). Поле Param_Data этого сообщения включает в себя блок данных для тега домашней системы, показанного в таблице 1 и на фиг. 6A.
Фиг. 6D иллюстрирует формат сообщения “Запрос на загрузку системных тегов”, отправленного терминалу, чтобы загрузить список отдельных тегов (Block_ID=0x02). Поле Param_Data этого сообщения включает в себя блок данных для списка отдельных тегов, который показан в таблице 15. Как показано на фиг. 6D, только часть списка отдельных тегов отправляется в текущем блоке данных, при этом эта часть определяется полями Segment_Offset и Segment_Size блока данных. Список групповых тегов может также быть загружен в терминал аналогичным способом.
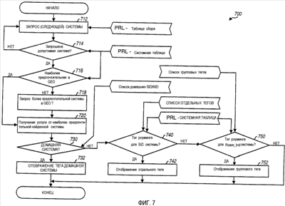
Фиг. 7 иллюстрирует блок-схему варианта осуществления процесса 700 отображения надлежащего системного тега на основе состояния роуминга терминала. В начале терминал пытается запросить систему (этап 712). Запрос системы типично выполняется в соответствии с таблицей сбора в списке предпочтительного роуминга. Например, значения параметров, ассоциативно связанные с индексом с наивысшим приоритетом (к примеру, индексом 0 в таблице сбора на фиг. 2), могут быть использованы первыми для запроса, значения параметров, ассоциативно связанные со следующим индексом с наивысшим приоритетом (к примеру, индексом 1), могут быть использованы далее, если запрос с индексом 0 был безуспешным, и т.д.
Если система запрошена, то определяется географическая область, к которой эта система принадлежит. После этого выполняется определение того, является ли запрошенная система допустимой (этап 714). Системная таблица может быть использована, чтобы выполнить это определение. В частности, запрошенная система считается допустимой, если она является одной из разрешенных систем в определенной географической области. Если запрошенная система недопустима, то процесс возвращается к этапу 712, чтобы запросить другую систему в той же географической области с помощью системной таблицы и таблицы сбора.
Если запрошенная система считается допустимой на этапе 714, то затем выполняется определение того, является ли запрошенная система наиболее предпочтительной для определенной географической области (этап 716). Предпочтение выбора в системной таблице может быть использовано, чтобы выполнить это определение. Если ответ «нет», то терминал пытается запросить более предпочтительную систему в той же географической области (этап 718). В любом случае услуга получается от наиболее предпочтительной системы, найденной терминалом (этап 720). Эта система также называется обслуживающей системой.
После этого выполняется определение того, является ли обслуживающая система домашней системой для терминала (этап 730). Это определение может быть выполнено на основе списка домашних SID/NID для терминала и пары (SID, NID) для обслуживающей системы. Если обслуживающая система является домашней системой, то отображается тег домашней системы (этап 732) и после этого процесс завершается.
В противном случае, если обслуживающая система не является домашней системой (этап 730), выполняется определение того, является ли SID обслуживающей системы одним из значений SID, охватываемых списком отдельных тегов (этап 740). Это определение может быть выполнено на основе записи системы для обслуживающей системы и списка отдельных тегов для терминала. Если ответ на этапе 740 «да», то отображается отдельный тег, ассоциативно связанный со значением SID для обслуживающей системы (этап 742), и после этого процесс завершается.
В противном случае выполняется определение того, является ли значение индикатора роуминга обслуживающей системы одним из значений индикатора роуминга, охватываемых списком групповых тегов (этап 750). Это определение может быть выполнено на основе записи системы для обслуживающей системы и списка групповых тегов для терминала. Если ответ на этапе 750 «да», то отображается групповой тег, ассоциативно связанный со значением индикатора роуминга для обслуживающей системы (этап 752), и после этого процесс завершается.
Фиг. 8 иллюстрирует блок-схему варианта осуществления центра 130 системных тегов и терминала 120, который поддерживает теги. Центр 130 системных тегов может быть реализован посредством одной из нескольких сетевых объектных сущностей. Например, центр 130 системных тегов может быть реализован посредством сетевой объектной сущности, которая поддерживает OTAF.
Центр 130 системных тегов поддерживает системные теги со стороны сети. В рамках центра 130 системных тегов контроллер 820 управляет загрузкой системных тегов в терминалы. Это объединяет отправку сообщения “Запрос конфигурации системных тегов” и “Запрос на загрузку системных тегов” в терминалы и прием сообщений “Ответ по конфигурации системных тегов” и “Ответ по загрузке системных тегов” от терминалов, как показано на фиг. 5, этапы 532, 536, 534, 538 соответственно. Контроллер 820 управляет генерированием и обработкой этих сообщений системных тегов. Блок 822 памяти предоставляет хранение для программных кодов и данных, используемых контроллером 820, а блок 812 памяти предоставляет хранение системных тегов (к примеру, тегов домашней системы, групповых тегов и отдельных тегов).
Чтобы загрузить системные теги, один или более системных тегов, которые должны быть загружены, извлекаются из блока 812 памяти и предоставляются процессору 814 сообщений, который заключает эти системные теги в подходящие сообщения системных тегов. Сообщения системных тегов могут быть дополнительно заключены в сообщения сигнализации (к примеру, “Сообщение пакета данных”). Затем предоставляются сообщения сигнализации мобильной коммутационной станции 140, которая дополнительно переадресует эти сообщения одной или более базовых станций под своим управлением. Каждая базовая станция обрабатывает принятые сообщения сигнализации и включает их в модулированный сигнал направленного вперед канала, который передается терминалам в ее зоне обслуживания.
В терминале 120 модулированный сигнал, переданный от базовой станции 110x, принимается антенной 852 и предоставляется приемному устройству (RCVR) 854. Приемное устройство 854 выполняет необходимые действия (к примеру, фильтрует, усиливает и преобразовывает с понижением частоты) с принятым сигналом и дополнительно оцифровывает приведенный к нужному состоянию сигнал, чтобы предоставлять выборки. Демодулятор/декодер 856 затем демодулирует выборки (к примеру, на основе обработки физического уровня cdma2000) и дополнительно декодирует демодулированные данные, чтобы предоставлять декодированные данные, которые включают в себя сообщения сигнализации в модулированном сигнале. Эти сообщения сигнализации могут дополнительно быть обработаны декодером 856 и/или контроллером 860, чтобы восстановить сообщения системных тегов, отправленные центром 130 системных тегов. Необходимые данные (к примеру, загруженные системные теги) в восстановленных сообщениях системных тегов могут быть извлечены и предоставлены блоку 862 энергонезависимой памяти и/или блоку 872 памяти в сменном модуле 870. Сменный модуль 870 может быть R-UIM (для cdma2000), USIM или SIM (для W-CDMA и GSM).
В обратном канале данные, сообщения системных тегов (содержащие информацию о системных тегах, конфигурационную информацию, подтверждение и т.п.) и сообщения сигнализации, которые должны быть отправлены терминалом, предоставляются кодер/модулятору 890, который заключает, кодирует и модулирует данные/сообщения. Затем с модулированными данными выполняются необходимые действия передающим устройством 892, чтобы предоставить модулированный сигнал обратного канала для передачи обратно базовой станции. Базовая станция принимает и обрабатывает модулированный сигнал, чтобы восстановить сообщения системных тегов, отправленные терминалом, и переадресовать эти сообщения в центр 130 системных тегов. Центр 130 системных тегов принимает и обрабатывает эти сообщения системных тегов как часть операции загрузки системных тегов.
Контроллер 860 управляет работой блоков в терминале 120. Например, контроллер 860 может управлять загрузкой системных тегов, передаваемых в сообщениях системных тегов, и может управлять сохранением загруженных тегов в блок 862 энергонезависимой памяти и/или сменный модуль 870. Контроллер 860 может дополнительно управлять извлечением надлежащего системного тега из блока 862 памяти и/или сменного модуля 870 на основе состояния роуминга терминала. Извлеченный системный тег затем предоставляется дисплейному устройству 880 для представления на экране. Блок 862 памяти также предоставляет хранение программных кодов и данных, используемых контроллером 860.
Фиг. 8 иллюстрирует конкретный вариант осуществления центра 130 системных тегов и терминала 120. Другие проекты также могут быть рассмотрены, и это не выходит за рамки области применения изобретения.
Для ясности выше были описаны конкретные проекты для различных аспектов системных тегов. В частности, были описаны конкретные проекты для системных тегов (тега домашней системы, групповых тегов и отдельных тегов), форматов тегов, сообщений системных тегов и форматов сообщений. В эти конкретные проекты могут быть внесены различные модификации и могут быть использованы различные альтернативные проекты, и это не выходит за рамки области применения изобретения. Например, могут быть сформированы различные типы тегов, могут быть использованы различные форматы тегов, могут быть реализованы различные сообщения системных тегов и различные форматы сообщений и т.п.
Также для ясности системные теги были описаны со ссылкой на cdma2000. В общем, описанные в данном документе системные теги могут быть использованы в различных системах беспроводной связи, таких как системы CDMA (к примеру, системы cdma2000, IS-95 и W-CDMA), системы TDMA (к примеру, системы GSM) и т.п.
Описанные в данном документе методики загрузки и отображения системных тегов могут быть реализованы различными средствами. Например, эти методики могут быть реализованы в аппаратных средствах, программном обеспечении или их сочетании. При реализации в аппаратных средствах элементы, используемые, чтобы реализовать одну или сочетание методик посредством терминала или сети, могут быть реализованы в одной или более специализированных интегральных схемах (ASIC), процессорах цифровых сигналов (DSP), устройствах цифровой обработки сигналов (DSPD), программируемых логических устройствах (PLD), программируемых пользователем матричных БИС (FPGA), процессорах, контроллерах, микроконтроллерах, микропроцессорах, других электронных устройствах, предназначенных, чтобы выполнять описанные в данном документе функции, или их сочетании.
При реализации в программном обеспечении загрузка и отображение системных тегов могут быть реализованы терминалом и сетью с помощью модулей (к примеру, процедур, функций и т.п.), которые выполняют описанные в данном документе функции. Программные коды могут быть сохранены в блоке памяти (к примеру, в блоках 822 и/или 862 памяти на фиг. 8) и приведены в исполнение процессором (к примеру, контроллером 820 и/или 860). Блок памяти может быть реализован в процессоре или внешне по отношению к процессору, причем во втором случае он может быть подсоединен к процессору с помощью различных средств, известных в данной области техники.
Предшествующее описание раскрытых вариантов осуществления предоставлено, чтобы дать возможность любому специалисту в данной области техники создавать или использовать настоящее изобретение. Различные модификации в этих вариантах осуществления будут явными для специалистов в данной области техники, а описанные в данном документе общие принципы могут быть применены к другим вариантам осуществления без отступления от духа и области применения изобретения. Таким образом, настоящее изобретение не предназначено, чтобы быть ограниченным показанными в данном документе вариантами осуществления, а должно удовлетворять самой широкой области применения, согласованной с принципами и новыми функциями, раскрытыми в данном документе.
Формула изобретения
1. Способ загрузки информации о системных тегах в системе беспроводной связи, при этом способ содержит этапы, на которых принимают первое сообщение, запрашивающее текущую конфигурационную информацию для системных тегов, сохраненных терминалом, в котором системные теги подходят для отображения на основе состояния роуминга терминала, причем системные теги, сохраненные терминалом, включают в себя, по меньшей мере, один тег домашней системы и, по меньшей мере, один тег роуминговой системы, и в котором каждый из системных тегов связан с одной или более системами, при этом, по меньшей мере, один тег роуминговой системы включает в себя, по меньшей мере, один групповой тег и, по меньшей мере, один отдельный тег, причем, по меньшей мере, один групповой тег связан с одним или более значений индикатора роуминга, и каждый из, по меньшей мере, одного отдельного тега связан с одним или более значений системной идентификации (SID); отправляют второе сообщение с запрошенной текущей конфигурационной информацией и принимают третье сообщение для загрузки, по меньшей мере, одного системного тега, причем тег, который должен быть загружен, зависит от текущей конфигурации тегов.
2. Способ по п.1, в котором, по меньшей мере, один групповой тег включен в первый список и, по меньшей мере, один отдельный тег включен во второй список.
3. Способ по п.2, в котором, если выбран весь список одного или более групповых тегов, то он загружается в терминал, и в котором, если выбран весь список одного или более отдельных тегов, то он загружается в терминал.
4. Способ получения информации о беспроводных обслуживающих системах из станции связи, содержащий этапы, на которых: обеспечивают системный тег, сконфигурированный таким образом, что он включает в себя информацию об упомянутых беспроводных обслуживающих системах, причем системный тег включает в себя тег домашней системы и тег роуминговой системы; отправляют сообщение на станцию связи для конфигурации системного тега; отправляют еще одно сообщение на упомянутую станцию связи для загрузки системного тега, причем загрузка системного тега содержит загрузку тега роуминговой системы станцией связи.
5. Способ по п,4, в котором этапы отправки сообщений выполняют в ответ на сообщение запроса, отправленные упомянутой станцией связи.
6. Способ предоставления информации о беспроводных обслуживающих системах в терминал связи, содержащий этапы, на которых: запрашивают из терминала связи о возможности поддержки системного тега, сконфигурированного таким образом, что он включает в себя информацию об упомянутых беспроводных обслуживающих системах, причем системный тег включает в себя тег домашней системы и тег роуминговой системы; отправляют сообщение запроса в упомянутый терминал связи для конфигурации системного тега; отправляют еще одно сообщение в упомянутую станцию связи для загрузки системного тега, причем загрузка системного тега содержит загрузку тега роуминговой системы станцией связи.
7. Способ обнаружения беспроводной обслуживающей системы в географическом положении, содержащий этапы, на которых: обеспечивают список предпочтительного роуминга, который включает в себя упомянутую беспроводную обслуживающую систему; обеспечивают системный тег, который включает в себя информацию об упомянутой беспроводной обслуживающей системе, причем системный тег включает в себя тег домашней системы и тег роуминговой системы; обнаруживают беспроводную обслуживающую систему в упомянутом географическом положении путем просмотра упомянутого списка предпочтительного роуминга, причем либо тег домашней системы, или тег роуминговой системы загружают на основе географического положения беспроводной обслуживающей системы, отображают информацию об обнаруженной беспроводной обслуживающей системе, основываясь на информации о беспроводной обслуживающей системе из системного тега.
8. Способ по п.7, дополнительно содержащий этап, на котором отображают дополнительную информацию о беспроводной обслуживающей системе в дополнение к отображению статуса роуминга.
9. Способ по п.8, дополнительно содержащий этап, на котором отображают специфическую информацию, относящуюся к упомянутой беспроводной обслуживающей системе из упомянутого системного тега, основываясь на индикаторе роуминга, предоставленного в упомянутом списке предпочтительного роуминга.
10. Способ по п.9, дополнительно содержащий этап, на котором отображают имя сетевого оператора беспроводной обслуживающей сети из системного тега, основываясь на системной идентификации, предоставленной в списке предпочтительного роуминга.
11. Устройство для получения информации о беспроводных обслуживающих системах из станции связи, причем устройство содержит: средство для обеспечения системного тега, сконфигурированного таким образом, что он включает в себя упомянутую информацию об упомянутых беспроводных обслуживающих системах, причем системный тег включает в себя тег домашней системы и тег роуминговой системы; средство для отправки сообщения в упомянутую станцию связи для конфигурации системного тега; средство для отправки еще одного сообщения в упомянутую станцию связи для загрузки системного тега, причем загрузка системного тега содержит загрузку тега роуминговой системы упомянутой станцией связи.
12. Устройство по п.11, дополнительно содержащее средство для ответа на сообщения, отправленные станцией связи.
13. Устройство по п.12, дополнительно содержащее средство для отображения дополнительной информации об упомянутой беспроводной обслуживающей системе в дополнение к отображению статуса роуминга.
14. Устройство по п.13, дополнительно содержащее средство для отображения специфической информации, относящейся к беспроводной обслуживающей системе из системного тега, основываясь на индикаторе роуминга, предоставленного в списке предпочтительного роуминга.
15. Устройство по п.13, дополнительно содержащее средство для отображения имени сетевого оператора беспроводной обслуживающей сети из системного тега, основываясь на системной идентификации, предоставленной в упомянутом списке предпочтительного роуминга.
16. Устройство для предоставления информации о беспроводных обслуживающих системах в терминал связи, причем устройство содержит: средство для запроса из терминала связи о возможности поддержки системного тега, сконфигурированного таким образом, что он включает в себя упомянутую информацию об беспроводных обслуживающих системах, причем системный тег включает в себя тег домашней системы и тег роуминговой системы; средство для отправки сообщения запроса в терминал связи для конфигурации системного тега; средство для отправки еще одного сообщения запроса в станцию связи для загрузки системного тега, причем загрузка системного тега содержит загрузку тега роуминговой системы упомянутой станцией связи.
17. Устройство для обнаружения беспроводной обслуживающей системы в географическом положении, причем устройство содержит: средство для обеспечения списка предпочтительного роуминга, который включает в себя упомянутую беспроводную обслуживающую систему; средство для обеспечения системного тега, который включает в себя информацию о беспроводной обслуживающей системе, причем системный тег включает в себя тег домашней системы и тег роуминговой системы; средство для обнаружения беспроводной обслуживающей системы в географическом положении путем просмотра списка предпочтительного роуминга, причем либо тег домашней системы, или тег роуминговой системы загружают на основе географического положения беспроводной обслуживающей системы, средство для отображения информации об обнаруженной беспроводной обслуживающей системе, основываясь на информации о беспроводной обслуживающей системе из системного тега.
РИСУНКИ
|
|