|
|
(21), (22) Заявка: 2008111500/09, 25.08.2006
(24) Дата начала отсчета срока действия патента:
25.08.2006
(30) Конвенционный приоритет:
26.08.2005 US 60/711,974 16.02.2006 US 11/357,552
(43) Дата публикации заявки: 10.10.2009
(46) Опубликовано: 27.04.2010
(56) Список документов, цитированных в отчете о поиске:
FR 2842048 A1, 09.01.2004. RU 2258310 C2, 10.08.2005. RU 2236757 C2, 20.09.2004. RU 2249915 C2, 10.04.2005. WO 2004/075473 A, 02.09.2004. US 2001/046218 A1, 29.11.2001.
(85) Дата перевода заявки PCT на национальную фазу:
26.03.2008
(86) Заявка PCT:
US 2006/033228 20060825
(87) Публикация PCT:
WO 2007/025133 20070301
Адрес для переписки:
129090, Москва, ул. Б.Спасская, 25, стр.3, ООО “Юридическая фирма Городисский и Партнеры”, пат.пов. Ю.Д.Кузнецову, рег. 595
|
(72) Автор(ы):
САМБХВАНИ Шарад Дипэк (US), АГРАВАЛ Авниш (US), МОНТОХО Хуан (US)
(73) Патентообладатель(и):
КВЭЛКОММ ИНКОРПОРЕЙТЕД (US)
|
(54) ПОДДЕРЖКА МЯГКОЙ ПЕРЕДАЧИ ОБСЛУЖИВАНИЯ ВОСХОДЯЩЕЙ ЛИНИИ СВЯЗИ В СИСТЕМАХ ТDD UMTS ДЛЯ ЭФФЕКТИВНОГО УПРАВЛЕНИЯ МОЩНОСТЬЮ И СКОРОСТЬЮ НА ВОСХОДЯЩЕЙ ЛИНИИ СВЯЗИ
(57) Реферат:
Изобретение относится к беспроводной связи. Описаны системы и способы, облегчающие поддержку мягкой передачи обслуживания восходящей линии связи в среде беспроводной связи TDD UMTS. Виртуальный активный набор (VAS) для каждого пользовательского устройства может генерироваться со стороны сети среды связи, и секторы, указанные в каждом VAS, могут быть сообщены в соответствующих списках. Секторы в VAS пользовательского устройства могут снабжаться скремблирующим кодом и назначениями ресурсов из номинального сектора, обслуживающего пользовательское устройство, эту информацию можно использовать при попытке приема и демодуляции сигналов восходящей линии связи от пользовательского устройства на всех базовых станциях из его VAS. Дополнительно такие ресурсы можно использовать для передачи команд управления мощностью и обратной активности на пользовательское устройство по нисходящей линии связи. Техническим результатом является повышение пропускной способности. 2 н. и 17 з.п. ф-лы, 10 ил.
Область техники, к которой относится изобретение
Нижеследующее описание относится, в целом, к беспроводной связи и, в частности, к обеспечению мягкой передачи обслуживания восходящей линии связи пользовательского устройства с использованием виртуального активного набора в беспроводной среде универсальной системы мобильной связи.
Уровень техники
Системы беспроводной связи стали основным средством связи для большинства людей по всему миру. Беспроводные устройства связи становятся все компактнее и мощнее для удовлетворения нужд потребителей и для повышения портативности и удобства. Повышение мощности обработки в мобильных устройствах, например сотовых телефонах, привело к повышению требований, предъявляемых к системам беспроводных сетей связи. Такие системы обычно не столь легко обновлять, как сотовые устройства, осуществляющие связь через их посредство. По мере расширения возможностей мобильного устройства может быть затруднительно поддерживать более старую систему беспроводной сети таким образом, чтобы облегчать полную эксплуатацию возможностей нового и усовершенствованного беспроводного устройства.
В частности, методы на основе частотного разделения обычно предусматривают деление спектра на отдельные каналы путем разбиения его на участки одинаковой ширины полосы частот, например, частотный диапазон, выделенный для беспроводной связи, можно разбить на 30 каналов, каждый из которых может нести речевой сигнал или, при осуществлении цифровых услуг, цифровые данные. Каждый канал можно единовременно назначить только одному пользователю. Один известный вариант представляет собой метод ортогонального частотного разделения, который позволяет эффективно делить всю ширину полосы частот системы на множественные ортогональные поддиапазоны. Эти поддиапазоны также называются тонами, несущими, поднесущими, бинами и/или частотными каналами. Каждый поддиапазон связан с поднесущей, которую можно модулировать данными. Согласно методам на основе временного разделения диапазон делится во временном измерении на последовательные кванты времени или временные интервалы. Каждому пользователю канала предоставляется квант времени для передачи и приема информации в циклическом режиме. Например, в любое данное время пользователю предоставляется доступ к каналу в течение короткого отрезка времени (пакета). Затем доступ предоставляется другому пользователю, которому выделяется короткий отрезок времени для передачи и приема информации. Цикл “последовательного предоставления доступа” продолжается и, в конце концов, каждый пользователь получает множественные отрезки времени передачи и приема.
Методы на основе кодового разделения обычно предусматривают передачу данных на нескольких частотах, доступных в любое время в диапазоне. В общем случае, данные цифруются и распределяются по общей полосе частот, причем множественные пользователи могут совместно использовать канал, и соответствующим пользователям можно назначать уникальный код последовательности. Пользователи могут передавать на одном и том же широкополосном участке спектра, причем сигнал каждого пользователя распределяется по всему диапазону посредством соответствующего уникального расширяющего кода. Этот метод может обеспечивать совместное использование, в котором один или несколько пользователей могут одновременно передавать и принимать. Такого совместного использования можно добиться посредством цифровой модуляции с расширением по спектру, в которой поток битов пользователя кодируется и распределяется по очень широкому каналу псевдослучайным образом. Приемник призван распознавать соответствующий уникальный код последовательности и снимать рандомизацию для сбора битов конкретного пользователя согласованным образом.
Типичная сеть беспроводной связи (например, использующая методы частотного, временного и кодового разделения) включает в себя одну или несколько базовых станций, которые обеспечивают зону покрытия, и один или несколько мобильных (например, беспроводных) терминалов, которые могут передавать и принимать данные в зоне покрытия. Типичная базовая станция может одновременно передавать несколько потоков данных для широковещательных, многоадресных и/или одноадресных услуг, причем поток данных это поток данных, в независимом приеме которого может быть заинтересован мобильный терминал. Мобильный терминал в зоне покрытия базовой станции может быть заинтересован в приеме одного, более чем одного или всех потоков данных, переносимых составным потоком. Аналогично, мобильный терминал может передавать данные на базовую станцию или другой мобильный терминал. Такая связь между базовой станцией и мобильным терминалом или между мобильными терминалами может ухудшаться в силу изменений канала и/или изменений мощности помехи. Например, вышеупомянутые изменения могут влиять на диспетчеризацию базовой станции, управление мощностью и/или прогнозирование скорости для одного или нескольких мобильных терминалов.
Традиционные системы TDD UMTS не поддерживают мягкую передачу обслуживания на восходящей линии связи, которая может вызывать нежелательную помеху в соседнем секторе в ходе передачи мощности от пользовательского устройства в свой обслуживающий сектор. Выведенный сектор не имеет ресурсов в традиционной системе для снижения мощности пользовательского устройства, создающего помеху, поскольку пользовательское устройство, создающее помеху, не прослушивает передачи, отличные от передач из своего обслуживающего сектора. Таким образом, существует необходимость в системе и/или способе повышения пропускной способности в таких системах беспроводной сети.
Сущность изобретения
Ниже представлена упрощенная сводка одного или нескольких вариантов осуществления для обеспечения понимания основ таких вариантов осуществления. Эта сущность изобретения не является исчерпывающим обзором всех возможных вариантов осуществления, и не призвана ни указывать ключевые или критические элементы всех вариантов осуществления, ни ограничивать объем некоторых или всех вариантов осуществления. Ее единственной целью является представление некоторых концепций одного или нескольких вариантов осуществления в упрощенной форме в качестве прелюдии к более подробному описанию, которое приведено ниже.
Согласно одному или нескольким вариантам осуществления и соответствующему их раскрытию описаны различные аспекты в связи с поддержкой мягкой передачи обслуживания восходящей линии связи в среде беспроводной связи TDD UMTS. Согласно одному аспекту виртуальный активный набор (VAS) для каждого пользовательского устройства может генерироваться со стороны сети среды связи, и секторы, указанные в каждом VAS, могут быть включены в соответствующие списки. Секторы в VAS пользовательского устройства могут дополнительно снабжаться скремблирующим кодом и назначениями ресурсов (например, временными интервалами, каналами, и т.д.) из номинального сектора, обслуживающего пользовательское устройство, эту информацию можно использовать при попытке приема и демодуляции сигналов восходящей линии связи от пользовательского устройства на всех базовых станциях из его VAS. Дополнительно такие ресурсы можно использовать для передачи команд управления мощностью и обратной активности в пользовательское устройство по нисходящей линии связи.
Согласно еще одному аспекту способ осуществления мягкой передачи обслуживания в среде беспроводной связи может содержать этапы, на которых оценивают виртуальный активный набор (VAS) пользовательского устройства на базовой станции сектора, причем VAS содержит список секторов, способных принимать и демодулировать передачи пользовательского устройства, снабжают все секторы, указанные в VAS, информацией назначения каналов и ресурсов, связанной с пользовательским устройством, и скремблирующим кодом, используемым пользовательским устройством, и принимают и демодулируют сигналы связи от пользовательского устройства во всех секторах, указанных в VAS. Способ может дополнительно содержать этап, на котором передают команды управления мощностью и команды обратной активности в пользовательское устройство от всех секторов, указанных в VAS. Дополнительно способ может содержать этапы, на которых идентифицируют пользовательское устройство, вызывающее помеху в секторе, указанный в его VAS, и обеспечивают команду управления мощностью или обратной активности от выведенного сектора для снижения мощности передачи или скорости передачи данных в пользовательском устройстве и ослабления помехи.
Согласно еще одному аспекту устройство, облегчающее мягкую передачу обслуживания восходящей линии связи в среде беспроводной связи, может содержать память на базовой станции, в которой хранится информация, относящаяся к пользовательскому устройству, совместно со списком секторов, в котором указана базовая станция, и процессор, который анализирует информацию, хранящуюся в памяти, обрабатывает информацию, принятую от пользовательского устройства, с использованием скремблирующего кода, назначенного пользовательскому устройству, и инициирует передачу команд управления мощностью и обратной активности в пользовательское устройство. Список секторов может содержать список всех секторов, пытающихся принимать и демодулировать сигналы от пользовательского устройства, включая номинальный сектор, который назначает скремблирующий код и ресурсы связи пользовательскому устройству. Все секторы в списке секторов могут передавать, по меньшей мере, одну из команд управления мощностью и обратной активности в пользовательское устройство с использованием скремблирующего кода номинального сектора. Дополнительно процессор может идентифицировать пользовательское устройство как агрессивное, когда пользовательское устройство передает на уровне мощности, превышающем заранее определенный порог, и вызывает помеху на базовой станции сектора, и может инициировать передачу команды управления мощностью или обратной активности в агрессивное пользовательское устройство, предписывающей агрессивному пользовательскому устройству снизить мощность передачи или скорость передачи данных ниже заранее определенного порога для ослабления помехи.
Согласно еще одному аспекту устройство, облегчающее поддержку мягкой передачи обслуживания восходящей линии связи в среде беспроводной связи, может содержать средство оценивания виртуального активного набора (VAS) для пользовательского устройства, причем VAS содержит список всех секторов, способных принимать и демодулировать сигналы от пользовательского устройства, и средство передачи команд управления мощностью и обратной активности в пользовательское устройство от всех секторов, указанных в VAS. Устройство может дополнительно содержать средство обнаружения агрессивного пользовательского устройства, которое передает на уровне мощности, превышающем заранее определенный порог, и вызывает помеху на базовой станции сектора, и базовая станция, испытывающая помеху, может передавать команду управления мощностью или обратной активности, предписывающую пользовательскому устройству снизить мощность передачи или скорость передачи данных и ослабить помеху на базовой станции сектора, подвергшейся агрессии. Кроме того, устройство может содержать средство мониторинга способности совокупности секторов принимать и демодулировать сигналы от пользовательского устройства, и средство периодического обновления VAS, по меньшей мере, частично, на основании информации, генерируемой средством мониторинга.
Согласно еще одному аспекту предусмотрен компьютерно-считываемый носитель информации, на котором хранятся компьютерно-выполняемые инструкции для генерации списка секторов на базовой станции, который содержит идентификаторы всех секторов, способных принимать и демодулировать сигналы от пользовательского устройства, и передачи команд управления мощностью и обратной активности в пользовательское устройство от всех секторов, указанных в списке секторов. Компьютерно-считываемый носитель информации может дополнительно содержать инструкции для идентификации пользовательского устройства, вызывающего помеху в секторе, указанном в его списке секторов, и для передачи команды управления мощностью или обратной активности от сектора, в котором создана помеха, в пользовательское устройство, вызывающее помеху, причем команда предписывает пользовательскому устройству передавать на более низком уровне мощности или на более низкой скорости передачи данных. Дополнительно компьютерно-считываемый носитель информации может содержать инструкции для периодического обновления списка секторов на основании, по меньшей мере, частично, измерений, связанных со способностью совокупности секторов принимать и демодулировать сигналы связи от пользовательского устройства.
Согласно еще одному аспекту предусмотрен процессор на базовой станции, который выполняет инструкции для мягкой передачи обслуживания восходящей линии связи в среде беспроводной связи, причем инструкции содержат анализ виртуального активного набора (VAS), содержащего список всех секторов, способных осуществлять связь с пользовательским устройством, проверку, что базовая станция указана в VAS пользовательского устройства, прием и демодуляцию сигналов связи от пользовательского устройства и передачу команд управления мощностью и обратной активности в пользовательское устройство. Процессор может дополнительно выполнять инструкции для передачи сигналов данных в пользовательское устройство, если базовая станция находится в номинальном секторе пользовательского устройства, и для использования скремблирующего кода и ресурсов связи, назначенных пользовательскому устройству номинальным сектором, если базовая станция не находится в номинальном секторе пользовательского устройства.
Для решения вышеизложенных и связанных задач один или несколько вариантов осуществления содержат признаки, полностью описанные ниже и частично указанные в формуле изобретения. Нижеследующее описание и прилагаемые чертежи детально раскрывают некоторые иллюстративные аспекты одного или нескольких вариантов осуществления. Однако эти аспекты указывают лишь некоторые из возможных путей применения принципов различных вариантов осуществления, и описанные варианты осуществления призваны включать в себя все подобные аспекты и их эквиваленты.
Краткое описание чертежей
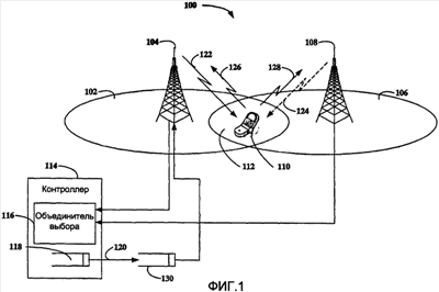
Фиг.1 – система, в которой мягкая передача обслуживания восходящей линии связи возможна в среде беспроводной связи cdma2000 1x с усовершенствованием только передачи данных (EvDO).
Фиг.2 – система, облегчающая связь в среде связи TDD UMTS согласно стандарту TDD UMTS.
Фиг.3 – система беспроводной связи множественного доступа согласно одному или нескольким вариантам осуществления.
Фиг.4 – способ обеспечения мягкой передачи обслуживания восходящей линии связи в среде беспроводной связи TDD UMTS с использованием виртуального активного набора (VAS) согласно одному или нескольким аспектам.
Фиг.5 – способ передачи информации в среде связи TDD UMTS с использованием VAS согласно одному или нескольким описанным здесь аспектам.
Фиг.6 – способ генерации физического канала, предназначенного для передачи информации управления мощностью и скоростью для пользовательского устройства в среде беспроводной связи TDD UMTS, согласно различным изложенным здесь аспектам.
Фиг.7 – способ управления системной нагрузкой в среде беспроводной связи TDD UMTS согласно различным аспектам.
Фиг.8 – пользовательское устройство, облегчающее осуществление мягкой передачи обслуживания восходящей линии связи в среде беспроводной связи TDD UMTS, согласно одному или нескольким описанным здесь вариантам осуществления.
Фиг.9 – система, облегчающая мягкую передачу обслуживания восходящей линии связи в среде беспроводной связи TDD UMTS согласно одному или нескольким изложенным здесь аспектам.
Фиг.10 – среда беспроводной сети, которую можно использовать в связи с различными описанными здесь системами и способами.
ПОДРОБНОЕ ОПИСАНИЕ
Различные варианты осуществления описаны ниже со ссылкой на чертежи, снабженные сквозной системой обозначений. В нижеследующем описании, в целях объяснения, многочисленные конкретные детали изложены для обеспечения полного понимания одного или нескольких вариантов осуществления. Очевидно, однако, что такие варианты осуществления можно реализовать на практике без этих конкретных деталей. В других примерах общеизвестные конструкции и устройства показаны в виде блок-схемы для облегчения описания одного или нескольких вариантов осуществления.
Используемые в этой заявке термины “компонент”, “система” и т.п. следует рассматривать в связи с компьютерной сущностью, представляющей собой оборудование, оборудование в сочетании с программным обеспечением, программное обеспечение или выполняющиеся программы. Например, компонент может представлять собой, но без ограничения, процесс, выполняющийся на процессоре, процессор, объект, выполняемый модуль, поток выполнения, программу и/или компьютер. Один или несколько компонентов могут располагаться в процессе и/или потоке выполнения, и компонент может размещаться на одном компьютере и/или может быть распределенным между двумя или более компьютерами. Кроме того, эти компоненты могут выполняться с различных компьютерно-считываемых носителей информации, на которых могут храниться различные структуры данных. Компоненты могут осуществлять связь посредством локальных и/или удаленных процессов, например, в соответствии с сигналом, имеющим один или несколько пакетов данных (например, данные из одного компонента, взаимодействующего с другим компонентом в локальной системе, распределенной системе, и/или по сети, например, Интернету, с другими системами посредством сигнала).
Кроме того, различные варианты осуществления описаны здесь применительно к абонентской станции. Абонентскую станцию также можно называть системой, абонентским устройством, мобильной станцией, мобильным устройством, удаленной станцией, точкой доступа, базовой станцией, удаленным терминалом, терминалом доступа, пользовательским терминалом, пользовательским агентом или пользовательским оборудованием. Абонентская станция может представлять собой сотовый телефон, радиотелефон, телефон протокола инициирования сеанса (SIP), станцию беспроводной местной системы связи (WLL), карманный персональный компьютер (КПК), карманное устройство, имеющее способность к беспроводной связи, или иное устройство обработки, подключенное к беспроводному модему.
Кроме того, различные описанные здесь аспекты или признаки можно реализовать в виде способа, устройства или изделия производства с использованием стандартных методов программирования и/или конструирования. Используемый здесь термин “изделие производства” призван охватывать компьютерную программу, доступную из компьютерно-считываемого устройства, носителя информации или среды. Например, компьютерно-считываемые носители информации могут включать в себя, но без исключения, магнитные запоминающие устройства (например, жесткий диск, флоппи-диск, магнитные полоски ), оптические диски (например, компакт-диск (CD), цифровой универсальный диск (DVD) ), смарт-карты и устройства флэш-памяти (например, карту, линейку, ключ ).
Согласно различным аспектам здесь описаны системы и способы, облегчающие мягкую передачу обслуживания на восходящей линии связи в системах TDD UMTS. Мягкая передача обслуживания восходящей линии связи является полезной особенностью систем CDMA для облегчения управления мощностью передачи пользовательского устройства, чтобы остаточная частота кадровой ошибки (FER) на контроллере сети была равна конкретно установленному значению. Это позволяет пользовательскому устройству передавать на минимальной мощности, что позволяет ему достигать этой заданной FER на контроллере сети без ненужной растраты мощности и без нежелательного увеличения помехи в своем собственном секторе или соседних секторах. Кроме того, мягкая передача обслуживания восходящей линии связи позволяет каждому отдельному принимающему сектору управлять системной нагрузкой, передавая информацию, относящуюся к обратной активности. Таким образом, пользовательские устройства могут принимать информацию, относящуюся к системной нагрузке, и определяющую, должно ли данное пользовательское устройство снизить свою скорость передачи данных для снижения уровня помехи (RoT). Соответственно различные изложенные здесь аспекты описывают алгоритм, позволяющий реализовать мягкую передачу обслуживания восходящей линии связи в системах TDD UMTS. Дополнительно такие системы и способы применимы к версиям TDD UMTS с низкой скоростью передачи элементарной посылки (с низкой чиповой скоростью) (LCR), а также с высокой скоростью передачи элементарной посылки (с высокой чиповой скоростью) (HCR).
На фиг.1 показана система 100, в которой мягкая передача обслуживания возможна в среде беспроводной связи cdma2000 1x с усовершенствованием только передачи данных (EvDO). Показано, что первый сектор 102 на первой базовой станции 104 имеет зону покрытия, которая перекрывается со вторым сектором 106 на второй базовой станции 108. Первая базовая станция 104 и вторая базовая станция 108 может быть или не быть одной и той же базовой станцией. Показано, что пользовательское устройство 110 находится в области перекрытия 112. Эта область является областью мягкой передачи обслуживания в случае, когда первая базовая станция 104 отлична от второй базовой станции 108 или является областью мягчайшей передачи обслуживания в случае, когда первая базовая станция 104 совпадает со второй базовой станцией 108. Соответственно первый сектор 102 и второй сектор 106 входят в активный набор пользовательского устройства 110. В случае, когда первая базовая станция 104 и вторая базовая станция 108 являются разными базовыми станциями, показано, что контроллер 114 базовых станций содержит объединитель выбора 116, который объединяет трафик восходящей линии связи от базовых станций 104 и 108. Дополнительно контроллер 114 содержит очередь 118, в которой временно хранятся пакеты данных для передачи по нисходящей линии связи. Базовая станция 104 (например, передающая базовая станция в этой иллюстрации) связана с очередью 130. Данные 120 нисходящей линии связи передаются между очередями 118 и 130 на базовую станцию 104, которая, в свою очередь, передает данные на пользовательское устройство 110. Информация 122 нисходящей линии связи может передаваться с базовой станции 104 на пользовательское устройство 110 и может содержать данные нисходящей линии связи, информацию управления мощностью восходящей линии связи и информацию обратной активности. Очевидно, что базовая станция 108 может передавать сигнал 124, содержащий информацию управления мощностью, а также информацию обратной активности, но не может передавать данные нисходящей линии связи. Пользовательское устройство 110 может осуществлять связь с базовыми станциями 104 и 108, передавая сигналы 126 и 128 восходящей линии связи соответственно, которые могут содержать данные, а также информацию обслуживающей соты. Очевидно, что сигналы 126 и 128 могут быть идентичными (например, могут быть одним и тем же сигналом, передаваемым на обе базовые станции 104 и 108).
На нисходящей линии связи традиционной системы EvDO единичный сектор (например, сектор 102) является “обслуживающим сектором”, тогда как передачи пользовательского устройства на восходящей линии связи демодулируются и декодируются всеми секторами в активном наборе пользовательского устройства. Поскольку передачи пользовательского устройства на восходящей линии связи демодулируются и декодируются всеми секторами в активном наборе пользовательского устройства, пользовательское устройство может выбрать любой из этих секторов в качестве “обслуживающего сектора”. В EvDO операция указания осуществляется посредством «крышки» управления скоростью передачи данных (DRC). Поэтому изменение крышки DRC в EvDO приводит к смене обслуживающего сектора, которое может сопровождаться изъятием пакетов из очереди и постановки их в очередь в буферах передачи секторов. Отвергнутый сектор удаляет из очереди это пользовательское устройство в своем буфере передачи, а новый обслуживающий сектор ставит в очередь данные пользовательского устройства в своем буфере передачи. Операция удаления из очереди/постановки в очередь может производиться быстрее или медленнее в зависимости от реализации. Например, очереди пакетных данных могут поддерживаться на контроллере, а их копия – на обслуживающем секторе. При выборе нового сектора очередь нового сектора может наполняться из контроллера или из старого обслуживающего сектора, поскольку старый обслуживающий сектор может располагаться географически вблизи нового обслуживающего сектора (например, если оба секторы принадлежат одной и той же соте). Две задержки, а именно SoftHandoffDelay и SofterHandoffDelay можно использовать, чтобы пользовательское устройство могло оценить “затраты” (временные) на смену обслуживающего сектора. Такие оценочные значения могут использоваться алгоритмом повторного указания пользовательского устройства для выбора надлежащего гистерезиса, управляющего алгоритмом.
Таким образом, на фиг.1 показаны передача и прием сигналов нисходящей линии связи и восходящей линии связи в системе EvDO. Согласно фигуре только один сектор (сектор 102) передает данные трафика по нисходящей линии связи для данного пользователя. Однако все секторы в активном наборе пользовательского устройства передают команды управления мощностью восходящей линии связи в своих соответствующих передачах нисходящей линии связи для управления мощностью передачи пользовательского устройства для достижения эффективного PER 1% на выходе объединителя выбора 116 контроллера 114. Кроме того, все секторы в активном наборе пользовательского устройства 110 могут передавать команды обратной активности в своих соответствующих передачах нисходящей линии связи для управления скоростью передачи данных пользовательского устройства для достижения уровня, который не противоречит максимальной допустимой нагрузке восходящей линии связи. Команды управления скоростью, посредством бита обратной активности, могут управлять системной нагрузкой (RoT), воспринимаемой каждым сектором в активном наборе пользовательского устройства. Такие команды содержат один бит, который указывает, превышает ли системная нагрузка, воспринимаемая конкретным сектором, желательное пороговое значение.
Заметим, что для интерпретации команд управления мощностью и скоростью можно использовать разные правила. Радиоинтерфейс EvDO определяет правила, которым должно следовать пользовательское устройство после приема команд управления мощностью и обратной активности. Кратко, для команд управления мощностью используется правило “OR of downs”. Это правило предполагает, что, пока существует хотя бы один сектор, указывающий команду управления мощностью “вниз”, пользовательское устройство должно снижать свою мощность передачи, чтобы, по крайней мере, этот сектор мог правильно принять передачу пользовательского устройства. Напротив, для команд обратной активности применяется правило “OR of busy”. Аналогично, это правило предполагает, что, пока существует хотя бы один сектор, указывающий, что системная нагрузка слишком высока, пользовательское устройство будет инициировать некую процедуру для снижения своей скорости передачи данных и, таким образом, статистически снижать системную нагрузку.
На фиг.2 показана система 200, обеспечивающая связь в среде связи TDD UMTS согласно стандарту TDD UMTS. Современные системы TDD UMTS не предусматривают мягкую передачу обслуживания восходящей линии связи в силу самого стандарта и реализации абонентских устройств и сетевой инфраструктуры.
Согласно фигуре первый сектор 202 сети принадлежит первой базовой станции 204 и перекрывается со вторым сектором 206 сети, принадлежащим второй базовой станции 208. Показано, что пользовательское устройство 210 находится в области 212, где секторы 202 и 206 перекрываются. Согласно фигуре сектор 202 является обслуживающим сектором для пользовательского устройства 210 и, таким образом, передает данные нисходящей линии связи с контроллера 214, который содержит очередь 216, аналогичную очереди, описанной со ссылкой на фиг.1. Контроллер 214, посредством очереди 216 передает по нисходящей линии связи пакетные данные 218 в другую очередь 224, связанную с сектором 202 и/или базовой станцией 204. Затем информация нисходящей линии связи передается с базовой станции обслуживающего сектора 204 на пользовательское устройство 210 посредством сигнала 220, содержащего данные нисходящей линии связи, а также информацию управления мощностью восходящей линии связи. Затем пользовательское устройство 210 может передавать информацию по восходящей линии связи 222, каковые данные могут передаваться с помощью уникального скремблирующего кода обслуживающего сектора. Таким образом, хотя показано, что сигнал 222 передается на базовую станцию 204 и базовую станцию 208, только базовая станция 204 (например, базовая станция обслуживающего сектора) декодирует передачу данных восходящей линии связи.
Основной характеристикой передачи и приема в системе TDD UMTS является скремблирующий код, используемый для передачи данных на пользовательское устройство и с него. Такие коды обычно имеют 16 элементарных посылок (чипов) в длину и полностью определяют сектор, в результате чего каждый сектор в системе может иметь уникальный скремблирующий код, связанный с его передачами. Таким образом, тот же самый скремблирующий код, который используется для передач нисходящей линии связи от сектора 202, может использоваться пользовательским устройством 210 для своих передач.
Согласно фиг.2 существует единственная линия связи на нисходящей линии связи и на восходящей линии связи, соединяющая сторону сети с пользовательским устройством 210 в данное время. Это так, несмотря на тот факт, что пользовательское устройство 210 находится в зоне покрытия обоих секторов 202 и 206. В такой традиционной системе UMTS не предусмотрена мягкая передача обслуживания на восходящей линии связи (в отличие от системы EvDO) и также не предусмотрено многосекторное управление мощностью или скоростью для регулировки мощности или скорости передачи пользовательского устройства. Сектор, скремблирующий код которого используется для передачи, можно именовать “номинальным сектором”, который является единственным важным сектором для пользовательского устройства в типичной среде связи TDD UMTS. Передовые методы многопользовательского обнаружения (AMUD) могут обеспечивать прием передач пользовательского устройства секторами, отличными от номинального сектора. Дополнительно секторы, скремблирующие коды которых отличаются от используемого пользовательским устройством, но которые все же пытаются принимать и демодулировать сигнал пользовательского устройства, можно именовать “секторами AMUD”.
Чтобы от сектора 206 можно было ожидать, что он способен демодулировать и декодировать передачу пользовательского устройства, пользовательское устройство 210 должно передавать с использованием скремблирующего кода, уникального для сектора 206. Реализация пользовательского устройства, одновременно осуществляющего связь посредством более чем одного сектора, может иметь место в следующих двух сценариях. Согласно первому сценарию пользовательское устройство может передавать данные, скремблированные с использованием соответствующих скремблирующих кодов каждого из секторов, для чего требуется более чем один модулятор и в связи с чем пользовательское устройство должно использовать ресурсы восходящей линии связи в более чем одном секторе. Однако такой сценарий непрактичен в том отношении, что использование совокупности модуляторов в пользовательском устройстве может отрицательно сказываться на бюджете линии связи, связанной с пользовательским устройством. Например, пользовательское устройство, осуществляющее связь одновременно с двумя секторами и использующее соответствующие скремблирующие коды, связанные с ними, может снижать бюджет восходящей линии связи на 3 дБ.
Согласно второму сценарию передачи пользовательского устройства с использованием конкретного скремблирующего кода может демодулировать не только сектор, которому назначен скремблирующий код, но также секторы, способные принимать передачи пользовательского устройства. В этом сценарии сектор принимает сигналы ото всех пользовательских устройств, выделенных его скремблирующему коду, а не только от пользовательских устройств, которые могут находиться в пределах прямой видимости на его периметре и которые используют скремблирующий код другого сектора.
На фиг.3 показана система 300 беспроводной связи множественного доступа, которую, например, можно использовать в связи с одним или несколькими изложенными здесь вариантами осуществления. 3-секторная базовая станция 302 включает в себя множественные группы антенн, одна из которых включает в себя антенны 304 и 306, другая включает в себя антенны 308 и 310 и третья включает в себя антенны 312 и 314. На фигуре показано только две антенны для каждой группы антенн, однако для каждой группы антенн можно использовать большее или меньшее количество антенн, причем наборы приемных и передающих антенн не обязаны иметь равное количество антенн. Например, конкретный/ая сектор или сота может использовать две приемные антенны и одну передающую антенну, или наоборот, или три передающие антенны и две приемные антенны и т.д. Дополнительно секторы не обязаны иметь равные количества антенн по отношению друг к другу. Например, первый сектор может использовать две приемные антенны и две передающие антенны, второй сектор может использовать две приемные антенны и одну передающую антенну, третий сектор может использовать одну приемную антенну и одну передающую антенну, и т.д. т.е. в данном секторе можно использовать любую комбинацию количеств и типов передающих и/или приемных антенн, что очевидно специалисту в данной области техники.
Мобильное устройство 316 осуществляет связь с антеннами 312 и 314, причем антенны 312 и 314 передают информацию в мобильное устройство 316 по прямой линии 320 связи и принимают информацию от мобильного устройства 316 по обратной линии 318 связи. Мобильное устройство 322 осуществляет связь с антеннами 304 и 306, причем антенны 304 и 306 передают информацию в мобильное устройство 322 по прямой линии 326 связи и принимают информацию от мобильного устройства 322 по обратной линии 324 связи.
Каждая группа антенн и/или область, в которой они призваны осуществлять связь, часто именуется сектором базовой станции 302. В иллюстрируемом варианте осуществления группы антенн предназначены для осуществления связи с мобильными устройствами в секторе зоны покрытия базовой станции 302. При осуществлении связи по прямым линиям связи 320 и 326 передающие антенны базовой станции 302 могут использовать методы направленной передачи для повышения отношения сигнал/шум прямых линий связи для разных мобильных устройств 316 и 322. Дополнительно базовая станция, использующая направленную передачу для передачи на мобильные устройства, произвольно распределенные по ее зоне покрытия, создает меньшую помеху для мобильных устройств в соседних сотах/секторах, чем базовая станция, передающая через одну антенну на все мобильные устройства в своей зоне покрытия. Базовая станция может быть стационарной станцией, используемой для связи с терминалами, и также может именоваться точкой доступа, узлом B или каким-либо иным термином. Мобильное устройство также можно называть мобильной станцией, пользовательским оборудованием (UE), беспроводным устройством связи, терминалом, терминалом доступа, пользовательским устройством или каким-либо иным термином. Описанное здесь пользовательское устройство и т.п. может представлять собой, например, сотовый телефон, смартфон, портативный компьютер, КПК, карманное устройство связи, карманное вычислительное устройство, спутниковый радиоприемник, навигатор глобальной системы позиционирования или любое другое устройство, пригодное для связи по беспроводной сети, что очевидно специалисту в данной области техники.
На фиг.4-6 представлены способы, относящиеся к генерации VAS и/или к поддержке мягкой передачи обслуживания в среде беспроводной связи. Например, способы могут относиться к осуществлению мягкой передачи обслуживания в беспроводной среде TDD UMTS, среде OFDM, среде OFDMA, среде CDMA, среде TDMA, среде TDD, среде SDMA или любой другой подходящей беспроводной среде. Хотя, для простоты объяснения, способы показаны и описаны в виде последовательности действий, очевидно, что способы не ограничиваются порядком действий, поскольку некоторые действия могут согласно одному или нескольким вариантам осуществления осуществляться в другом порядке и/или одновременно с другими действиями, показанными и описанными здесь. Например, специалисту в данной области техники очевидно, что способ альтернативно можно представить в виде последовательности взаимосвязанных состояний или событий, например, в виде диаграммы состояний. Кроме того, не все проиллюстрированные действия могут потребоваться для реализации способа согласно одному или нескольким вариантам осуществления.
На фиг.4 представлен способ 400 обеспечения мягкой передачи обслуживания в среде беспроводной связи TDD UMTS с использованием виртуального активного набора (VAS), согласно одному или нескольким аспектам. VAS это список секторов, которые пытаются демодулировать и декодировать передачи данного пользовательского устройства, и может создавать и быть известным на стороне сети, а также самому пользовательскому устройству. Номинальный сектор это сектор, скремблирующий код которого пользовательское устройство использует для передачи сигналов, и, таким образом, указанный в VAS пользовательского устройства. Если другие секторы (секторы AMUD) способны принимать передачи от пользовательского устройства (например, когда пользовательское устройство приближается/входит в зоны покрытия таких секторов), такие секторы могут добавляться в VAS пользовательского устройства. Ввиду вышеизложенного VAS пользовательского устройства можно генерировать и/или задавать на этапе 402, и можно обновлять по мере того, как пользовательское устройство пересекает зоны покрытия совокупности секторов. Способность сектора демодулировать и декодировать пользовательские устройства, формально не принадлежащие сектору, можно испытывать посредством алгоритма AMUD (например, когда сектор пытается совместно демодулировать пользовательские устройства в других секторах). VAS можно обновлять с течением времени посредством измерений со стороны сети, относящихся к способности данного сектора продолжать демодуляцию сигналов от пользовательского устройства, в VAS которого указан этот сектор. На этапе 404 передачи пользовательского устройства можно осуществлять с использованием скремблирующего кода от номинального сектора, связанного с пользовательским устройством. Таким образом, можно обеспечить связь между секторами (Узлами B) и контроллером (RNC) для поддержания актуального VAS для всех пользовательских устройств в системе. При наличии изменения в VAS пользовательского устройства сеть может информировать пользовательское устройство об этом посредством сигнализации.
На этапе 406 все секторы в VAS можно снабжать информацией, относящейся к каналам и ресурсам (например, к временным интервалам, каналообразующим кодам ), назначенным пользовательскому устройству для связи по нисходящей линии связи и восходящей линии связи. Таким образом, секторы AMUD могут поддерживать информацию о том, какие каналы, передаваемые с пользовательского устройства, в VAS которого указаны такие секторы AMUD, можно принимать и демодулировать. Таким образом, построение VAS является взаимным в том смысле, что все секторы в VAS данного пользовательского устройства предположительно пытаются принимать и демодулировать передачи от этого пользовательского устройства, что может осуществляться на этапе 408. Аналогично пользовательское устройство предположительно пытается принимать передачи от всех секторов в своем VAS. Таким образом, на стороне пользовательского устройства все передачи можно осуществлять с использованием скремблирующего кода и исходного выделения ресурсов его номинального сектора, и пользовательское устройство может принимать и демодулировать команды управления мощностью и команды обратной активности от всех секторов в своем VAS. Для передачи команд управления мощностью и команд обратной активности от сектора AMUD может потребоваться дополнительное выделение ресурсов нисходящей линии связи (например, временных интервалов, каналообразующих кодов ) для передачи информации управления мощностью и скоростью для пользовательских устройств, для которых сектор указан в соответствующем VAS.
На фиг.5 представлен способ 500 передачи информации в среде связи TDD UMTS с использованием VAS согласно одному или нескольким описанным здесь аспектам. С точки зрения сети все секторы в VAS пользовательского устройства могут передавать команды и/или сообщения управления мощностью, а также команды и/или сообщения обратной активности на пользовательское устройство на этапе 502. Передача информации нисходящей линии связи на каждом секторе согласуется с его соответствующим скремблирующим кодом. Дополнительно все секторы в VAS пользовательского устройства могут пытаться принимать и демодулировать передачи от пользовательского устройства и могут располагать информацией о назначении каналов и ресурсов в номинальном секторе пользовательского устройства. На этапе 504 пользовательское устройство может передавать данные с использованием скремблирующего кода, связанного с номинальным сектором пользовательского устройства. На этапе 506, в случае, когда происходит мягкая передача обслуживания нисходящей линии связи, номинальный сектор пользовательского устройства меняется, и пользовательское устройство может начать передавать с помощью скремблирующего кода нового номинального сектора. Такая информация может быть доступна всем секторам в VAS пользовательского устройства (например, через контроллер сети ) для обновления информации ресурсов/каналов и т.п.
Правила интерпретации команд мощности и скорости на пользовательском устройстве могут быть сформулированы по той же логической схеме, что и в системах EvDO, например “OR of downs” для команд управления мощностью и “OR of busy” для команд обратной активности. Дополнительно описанный алгоритм не вмешивается в осуществление регулярной передачи обслуживания нисходящей линии связи за исключением того, что передача обслуживания нисходящей линии связи может менять сектор, указанный как “номинальный сектор”. Со сменой “номинального сектора” пользовательское устройство начинает использовать скремблирующий код и канал/ресурсы, соответствующие новому “номинальному сектору”.
На фиг.6 представлен способ 600 генерации физического канала, предназначенного для передачи информации управления мощностью и скоростью для пользовательского устройства в среде беспроводной связи TDD UMTS, согласно различным изложенным здесь аспектам. На этапе 602 можно создать физический канал для передачи информации управления мощностью и скоростью для пользовательского устройства, которое зачислило данный сектор в свой VAS и для которого сектор не является “номинальным сектором” пользовательского устройства. На этапе 604 можно задать совокупность уровней использования ресурсов (например, ресурсов, относящихся к, по меньшей мере, одной из мощности передачи и скорости передачи), например, занят/не занят, а также промежуточные уровни, например, “половина емкости”, “занят на половину емкости”, “занят на три четверти емкости” или любое другое количество промежуточных уровней для повышения детализации системы и точности управления системной нагрузкой. На этапе 606 сектор, для которого на этапе 602 создан новый канал, может использовать новый канал для передачи информации управления мощностью, а также информации обратной активности и/или управления скоростью на все пользовательские устройства, для которых этот сектор указан в их соответствующих VAS.
Информация управления мощностью, передаваемая на этапе 606, может представлять собой единичную команду повышения/понижения, которая в настоящее время задана в LCR TDD UMTS, или сообщение, которое в настоящее время задано в UMTS TDD HCR. Аналогично информация управления скоростью, передаваемая на этапе 606, также может представлять собой единичную команду занят/не занят или может иметь несколько уровней для более точного управления системной нагрузкой. Информацию управления скоростью также можно передавать как часть нового физического канала или как часть сообщения. При осуществлении управления скоростью один из аспектов, который может быть связан с системной нагрузкой, представляет собой способность сектора принимать и демодулировать передачу пользовательского устройства с постоянной скоростью. В этой связи фактор, например, доступная размерность для эффективного приема всей передачи пользовательского устройства, в частности, секторами AMUD, можно учитывать при генерации информации управления скоростью. Действительно, эффективная реализация алгоритмов AMUD может ограничивать способность сектора к приему и демодуляции секторов вне своего пространства сигнала (например, пользовательские устройства, использующие скремблирующие коды, отличные от скремблирующего кода сектора), и потому информация управления скоростью может указывать это пользовательскому устройству.
Местоположение в отношении ресурсов физического канала передачи команд управления мощностью и обратной активности не имеет отношения к описанным здесь способам. Поэтому создание нового физического канала, несущего управление мощностью и скоростью, для всех пользовательских устройств, VAS которых содержит этот сектор, может значительно повысить эффективность алгоритма. Альтернативно реализация на основе сообщений может предусматривать, что каждый сектор передает на контроллер информацию мощности и скорости для каждого конкретного пользовательского устройства для облегчения создания сообщения. Сообщения для каждого из секторов, связанных с контроллером сети, затем можно доставлять в секторы для передачи на пользовательские устройства по радио. Альтернативно информацию управления мощностью и скоростью от всех секторов в VAS пользовательского устройства можно переносить в сообщении или совокупности сообщений, передаваемых посредством “номинального сектора” пользовательского устройства.
На фиг.7 представлен способ 700 управления системной нагрузкой в среде беспроводной связи TDD UMTS согласно различным аспектам. На этапе 702 информация управления мощностью и скоростью может поступать на пользовательское устройство от всех секторов (например, базовых станций) в VAS пользовательского устройства. На этапе 704 все секторы, указанные в VAS пользовательского устройства, могут пытаться принимать и демодулировать передачи от пользовательского устройства, как указано со ссылкой на предыдущие фигуры. На этапе 706 можно производить определение, превышает ли помеха в данном секторе заранее определенный порог. Если на этапе 706 определено, что сектор испытывает уровень помехи выше желательного или разрешенного, то на этапе 708 можно потребовать, чтобы агрессивное пользовательское устройство (например, пользовательское устройство, участвующее в создании сверхпорогового уровня помехи) снизило свою мощность и/или скорость передачи для облегчения приведения уровня помехи обратно к приемлемым величинам. Такое снижение мощности и/или скорости можно обеспечить, сигнализируя контроллеру области, который, в свою очередь, может сигнализировать всем секторам, указанным в VAS агрессивного пользовательского устройства, изменить сигналы управления мощностью и/или управления скоростью, которые они передают на агрессивное пользовательское устройство.
Согласно связанному аспекту сектор, подвергающийся агрессии, может сам подавать сигнал на агрессивное пользовательское устройство для снижения его мощности передачи для приведения, таким образом, вызванного им уровня помехи к значению ниже заранее определенного приемлемого порогового уровня на этапе 708. Согласно этому аспекту информацию помехи не нужно передавать через контроллер, поскольку наиболее нагруженный сектор (например, сектор, подвергающийся агрессии) может рассылать бит команды “занят” на этапе 708, который, будучи принят агрессивным пользовательским устройством, предписывает устройству снизить его скорость передачи данных (например, согласно правилу “OR of busy”), что очевидно специалисту в данной области техники.
Если на этапе 706 определено, что уровень помехи не превышает заранее определенный пороговый уровень, то способ может возвратиться к этапу 702 для продолжения передачи команд управления мощностью и/или скоростью без их изменения. Таким образом, способ 700 может облегчать обеспечение управления посредством обратной связи совокупностью пользовательских устройств по совокупности секторов и/или базовых станций для снижения неприемлемо высоких уровней помехи между ними. Дополнительно, очевидно, что передовые методы многопользовательского обнаружения, описанные со ссылкой на эту и предыдущие фигуры, можно использовать посредством реализации линейно-блочной MMSE или посредством другой линейной или нелинейной адаптивной схемы для облегчения подавления помехи, и т.д., что очевидно специалисту в данной области техники.
Очевидно, что согласно одному или нескольким описанным здесь вариантам осуществления и/или способам можно сделать выводы, касающиеся осуществления мягкой передачи обслуживания пользовательского устройства, и т.д. Используемый здесь термин “делать вывод” или “вывод” относится, в целом, к процессу рассуждения о состояниях или вывода состояний системы, среды, и/или пользователя на основании ряда наблюдений за событиями и/или данными. Вывод можно использовать для идентификации того или иного контекста или действия или для генерации, например, распределения вероятности по состояниям. Вывод может быть вероятностным, т.е. представлять собой вычисление распределения вероятности по состояниям, представляющим интерес, на основании данных и событий. Вывод также может относиться к методам, применяемым для составления высокоуровневых событий из набора событий и/или данных. Такой вывод приводит к построению новых событий или действий из набора наблюдаемых событий и/или сохраненных данных событий, независимо от того, связаны ли между собой события в тесной временной близости и проистекают ли события и данные из одного или нескольких источников событий и данных.
Согласно примеру один из представленных выше способов может включать в себя делание выводов в отношении формирования мягкой передачи обслуживания на восходящей линии связи для пользовательского устройства. Например, со ссылкой на секторы, подлежащие включению в VAS пользовательского устройства, можно сделать выводы относительно того, достаточно ли силен сигнал маяка данного сектора для оправдания включения сектора в VAS пользовательского устройства. Согласно этому примеру сектор, потенциально способный принимать и декодировать сигналы от пользовательского устройства, может отслеживать свой сигнал маяка, и можно делать вывод в отношении того, обладает ли такой сигнал уровнем выше заранее определенного порогового уровня. Если да, сектор можно включить в VAS пользовательского устройства в качестве сектора, который способен осуществлять связь с пользовательским устройством. Если уровень сигнала маяка сектора ниже заранее определенного порогового значения, можно сделать выводы в отношении того, включать ли, тем не менее, сектор в VAS пользовательского устройства, на основании, например, направления движения пользовательского устройства (например, в котором предварительно картографированная информация положения пользовательского устройства указывает, что пользовательское устройство направляется к рассматриваемому сектору), и т.п.
Согласно еще одному примеру контроллер области может сделать выводы в отношении того, какие секторы включать в VAS пользователя. Такие выводы могут опираться, например, на трафик связи в одном или нескольких потенциальных секторах VAS, чтобы сектор, испытывающий трафик на уровне емкости, можно было временно исключить из VAS пользовательского устройства на границе сектора. В аналогичном примере, контроллер может делать выводы в отношении исключения одного или нескольких секторов на основании наличия других секторов с более сильными способностями и/или сигналами связи в данное время. Очевидно, что вышеприведенные примеры носят иллюстративный характер и не призваны ограничивать количество выводов, которые можно делать, или способ, которым делаются такие выводы, в связи с различными описанными здесь вариантами осуществления и/или способами.
На фиг.8 показан пример пользовательского устройства 800, облегчающего осуществление мягкой передачи обслуживания восходящей линии связи в среде беспроводной связи TDD UMTS, согласно одному или нескольким описанным здесь вариантам осуществления. Пользовательское устройство 800 содержит приемник 802, который принимает сигнал, например, от приемной антенны и осуществляет обычные действия (например, фильтрации, усиления, преобразования с понижением частоты и т.д.) над принятым сигналом и цифрует обработанный сигнал для получения выборок. Демодулятор 804 может удалять любой циклический префикс, присоединенный к каждому символу, и может получать принятые символы для поддиапазонов в течение каждого периода символа, а также выдавать принятые символы пилот-сигнала в процессор 806 для оценки канала.
Процессор 806 может представлять собой процессор, предназначенный для анализа информации, принятой компонентом 802 приемника и/или для генерации информации для передачи передатчиком 816, процессор, который управляет одним или несколькими компонентами пользовательского устройства 800, и/или процессор, который анализирует информацию, принятую приемником 802, генерирует информацию для передачи передатчиком 816 и управляет одним или несколькими компонентами пользовательского устройства 800.
Пользовательское устройство 800 может дополнительно содержать память 808, оперативно подключенную к процессору 806, в которой хранится информация, относящаяся к VAS 810 пользовательского устройства 800, секторам в VAS 810, протоколам и/или алгоритмам выбора сектора, информация скремблирующего кода, относящаяся к номинальному сектору пользовательского устройства 800, или любая другая подходящая информация, относящаяся к облегчению мягкой передачи обслуживания на восходящей линии связи пользовательского устройства 800, описанная здесь. В памяти 808 может дополнительно храниться информация, связанная с идентификаторами, обозначениями сектора (например, обслуживающий, номинальный, AMUD, ) и т.д., чтобы пользовательское устройство 800 могло использовать описанные здесь сохраненные протоколы, алгоритмы, информацию для облегчения мягкой передачи обслуживания. Кроме того, память 808 можно обновлять с течением времени посредством измерений со стороны сети, относящихся к способности данного сектора (например, базовой станции), продолжать демодуляцию сигналов от пользовательского устройства 800. Например, контроллер (не показан) может поддерживать актуальный VAS 810 для каждого пользовательского устройства в сети и может обновлять память 808 через текущий обслуживающий сектор пользовательского устройства 808. Дополнительно контроллер может снабжать все секторы в VAS 810 пользовательского устройства 800 информацией, относящейся к каналам, выделенным пользовательскому устройству 800, а также ресурсам, выделенным номинальному сектору для облегчения связи между пользовательским устройством 800 и обслуживающим сектором с использованием скремблирующего кода, назначенного номинальному сектору, и т.д.
Очевидно, что описанные здесь компоненты хранилища данных (например, памяти) могут представлять собой энергозависимую память или энергонезависимую память, или могут включать в себя как энергозависимую, так и энергонезависимую память. В порядке иллюстрации, но не ограничения энергонезависимая память может включать в себя постоянную память (ПЗУ), программируемую ПЗУ (ППЗУ), электрически программируемую ПЗУ (ЭППЗУ), электрически стираемую ПЗУ (ЭСППЗУ) или флэш-память. Энергозависимая память может включать в себя оперативную память (ОЗУ), которая действует как внешняя кэш-память. В порядке иллюстрации, но не ограничения, ОЗУ доступно во многих формах, например, синхронное ОЗУ (SRAM), динамическое ОЗУ (DRAM), синхронное DRAM (SDRAM), SDRAM с удвоенной скоростью передачи данных (DDR SDRAM), расширенное SDRAM (ESDRAM), Synchlink DRAM (SLDRAM) и ОЗУ Rambus прямого доступа (DRRAM). Предполагается, что память 808 рассматриваемых систем и способов содержит, но без ограничения, эти и любые другие пригодные типы памяти.
Процессор 808 дополнительно подключен к VAS 810, что может облегчать мягкую передачу обслуживания с одной или несколькими базовыми станциями, по меньшей мере, частично, на основании информации, хранящейся в памяти 808 и/или информации, принятой и обработанной процессором 806. VAS 810 может быть оперативно связан с идентификатором 812 номинального сектора, который также может быть подключен к процессору 806 и который может гарантировать, что передачи, исходящие от пользовательского устройства, 800 передаются с использованием скремблирующего кода номинального сектора пользовательского устройства, который может быть включен в VAS 810 и в память 808 пользовательского устройства 800. Пользовательское устройство 800 дополнительно содержит модулятор 814 символов и передатчик 816, который передает модулированный сигнал с использованием скремблирующего кода, связанного с номинальным сектором, идентифицированным идентификатором 812 номинального сектора. Таким образом, пользовательское устройство 800 может облегчать мягкую передачу обслуживания восходящей линии связи между секторами в VAS 810, в среде связи TDD UMTS.
На фиг.9 показана система 900 для облегчения мягкой передачи обслуживания восходящей линии связи в среде беспроводной связи TDD UMTS согласно одному или нескольким изложенным здесь аспектам. Система 900 содержит базовую станцию 902, которая осуществляет связь с одним или несколькими пользовательскими устройствами 904 через передающую антенну 906 и приемную антенну 908, хотя в связи с различными аспектами можно использовать более одной передающей и приемной антенны. Базовая станция 902 содержит приемник 910, который принимает информацию от приемной антенны 908 и оперативно связан с демодулятором 912, который демодулирует принятую информацию. Демодулированные символы могут анализироваться процессором 914, который аналогичен процессору, описанному выше со ссылкой на фиг.8, который подключен к памяти 916, где хранится информация, относящаяся к пользовательским устройствам 904, VAS для каждого пользовательского устройства 904, идентификаторы секторов, хранящихся в VAS каждого пользовательского устройства, включая номинальный сектор, и любые секторы AMUD в каждом VAS, совместно со скремблирующими кодами для таких секторов, информация временных интервалов и т.п., выделения ресурсов и/или любая другая пригодная информация, относящаяся к разрешению базовой станции 902 осуществлять мягкую передачу обслуживания на восходящей линии связи, которая описана здесь.
Процессор 914 дополнительно подключен к анализатору 918 VAS, который может обрабатывать информацию, относящуюся к VAS пользовательских устройств, их обновлениям, ресурсам, выделенным пользовательским устройствам 904 и/или другим секторам, указанным в VAS каждого пользовательского устройства, в котором указана базовая станция 902, и т.д., чтобы модулятор 922 и/или передатчик 924 на базовой станции 902 мог надлежащим образом модулировать и передавать сигнал связи на пользовательское устройство 904 через передающую антенну 906. На основании такой информации базовая станция 902 может передавать на пользовательское устройство 904 с использованием связанного с ним скремблирующего кода и по каналу, выделенному пользовательскому устройству 904. Канал, выделенный пользовательскому устройству 904, может использоваться совместно с другими пользовательскими устройствами для минимизации служебной нагрузки.
Дополнительно анализатор 918 VAS может быть оперативно связан с монитором порога 920, который может непрерывно оценивать уровень помехи в секторе, обслуживаемом базовой станцией 902. Например, пользовательское устройство, указавшее базовую станцию 902 в своем VAS, может передать сигнал, который базовая станция 902 может попытаться демодулировать, но на уровне мощности, который чрезмерно высок для базовой станции 902 (например, на уровне, который вызывает уровень помехи, превышающий приемлемый пороговый уровень). Анализатор 918 VAS может определять, какое пользовательское устройство несет ответственность за агрессивную передачу, и базовая станция 902 может сигнализировать всем станциям в VAS пользовательского устройства передавать сигналы команды управления мощностью (и/или информацию управления скоростью) для снижения мощности передачи пользовательского устройства. Таким образом, агрессивное пользовательское устройство может получать команды ото всех секторов, способных принимать и демодулировать сигналы от него, что позволяет им осуществлять управление посредством обратной связи передачами пользовательского устройства на восходящей линии связи.
Очевидно, что базовая станция 902 может быть обслуживающей станцией, номинальной станцией или станцией AMUD в VAS одного или нескольких пользовательских устройств 904 в любой данный момент времени, и может переключаться между ними согласно указанию от контроллера (не показан) и/или согласно выбору в качестве базовой станции обслуживающего сектора со стороны пользовательского устройства. Дополнительно базовая станция 902 может пытаться принимать и декодировать сигналы ото всех пользовательских устройств 904, в VAS которых указана базовая станция 902. Кроме того, все такие базовые станции во всех секторах AMUD, указанных в VAS, располагают информацией о назначениях каналов и выделениях ресурсов в номинальном секторе конкретного пользовательского устройства для каждого такого сектора AMUD. Располагая такой информацией, сектор AMUD может передавать команды управления мощностью и/или команды обратной активности на данное пользовательское устройство, указавшее сектор AMUD в своем VAS, и может принимать и демодулировать передачи от таких пользовательских устройств.
На фиг.10 показана иллюстративная система беспроводной связи 1000. Для упрощения показано, что система беспроводной связи 1000 содержит одну базовую станцию и один терминал. Однако, очевидно, что система может включать в себя более одной базовой станции и/или более одного терминала, причем дополнительные базовые станции и/или терминалы могут быть, по существу, сходными с или отличными от иллюстративных базовой станции и терминала, описанных ниже. Кроме того, очевидно, что на базовой станции и/или терминале можно использовать описанные здесь системы (фиг.8-9) и/или способы (фиг.4-7) для облегчения беспроводной связи между ними.
Согласно фиг.10 на нисходящей линии связи, на точке доступа 1005, процессор 1010 данных передающего тракта (TX) принимает, форматирует, кодирует, перемежает и модулирует (или отображает в символы) данные трафика и выдает модулированные символы (“символы данных”). Модулятор 1015 символов принимает и обрабатывает символы данных и символы пилот-сигнала и выдает поток символов. Модулятор 1015 символов мультиплексирует данные и символы пилот-сигнала и выдает их на передатчик (TMTR) 1020. Каждый передаваемый символ может представлять собой символ данных, символ пилот-сигнала или нулевое значение сигнала. Символы пилот-сигнала можно передавать непрерывно в каждый период символа. Символы пилот-сигналы можно мультиплексировать с частотным разделением (FDM), ортогонально мультиплексировать с частотным разделением (OFDM), мультиплексировать с временным разделением (TDM), мультиплексировать с частотным разделением (FDM) или мультиплексировать с кодовым разделением (CDM).
TMTR 1020 принимает и преобразует поток символов в один или несколько аналоговых сигналов и дополнительно обрабатывает (например, усиливает, фильтрует и преобразует с повышением частоты) аналоговые сигналы для генерации сигнала нисходящей линии связи, пригодного для передачи по беспроводному каналу. Затем сигнал нисходящей линии связи передается через антенну 1025 на терминалы. На терминале 1030 антенна 1035 принимает сигнал нисходящей линии связи и выдает принятый сигнал на приемник (RCVR) 1040. Приемник 1040 обрабатывает (например, фильтрует, усиливает и преобразует с понижением частоты) принятый сигнал и цифрует обработанный сигнал для получения выборок. Демодулятор 1045 символов демодулирует и выдает принятые символы пилот-сигнала на процессор 1050 для оценки канала. Демодулятор 1045 символов дополнительно принимает оценку частотной характеристики для нисходящей линии связи от процессора 1050, осуществляет демодуляцию данных на принятых символах данных для получения оценок символов данных (которые являются оценками переданных символов данных) и выдает оценки символов данных на процессор 1055 данных RX, который демодулирует (т.е. выполняет обратное отображение символов), снимает перемежение и декодирует оценки символов данных для восстановления переданных данных трафика. Обработка демодулятором 1045 символов и процессором 1055 данных RX комплементарна обработке модулятором 1015 символов и процессором 1010 данных TX соответственно на точке доступа 1005.
На восходящей линии связи, процессор 1060 данных TX обрабатывает данные трафика и выдает символы данных. Модулятор 1065 символов принимает и мультиплексирует символы данных с символами пилот-сигнала, осуществляет модуляцию и выдает поток символов. Затем передатчик 1070 принимает и обрабатывает поток символов для генерации сигнала восходящей линии связи, который передается антенной 1035 на точку доступа 1005.
На точке доступа 1005 сигнал восходящей линии связи от терминала 1030 принимается антенной 1025 и обрабатывается приемником 1075 для получения выборок. Затем демодулятор 1080 символов обрабатывает выборки и выдает принятые символы пилот-сигнала и оценки символов данных для восходящей линии связи. Процессор 1085 данных RX обрабатывает оценки символов данных для восстановления данных трафика, переданных терминалом 1030. Процессор 1090 осуществляет оценку канала для каждого активного терминала, передающего на восходящей линии связи. Множественные терминалы могут передавать пилот-сигнал одновременно по восходящей линии связи в соответствующих назначенных им наборах поддиапазонов пилот-сигнала, причем наборы поддиапазонов пилот-сигнала могут пересекаться.
Процессоры 1090 и 1050 направляют (например, управляют, координируют, администрируют и т.д.) работу на точке доступа 1005 и терминале 1030 соответственно. Соответствующие процессоры 1090 и 1050 могут быть связаны с блоками памяти (не показаны), где хранятся программные коды и данные. Процессоры 1090 и 1050 также могут осуществлять вычисления для вывода оценок частотной и импульсной характеристики восходящей линии связи и нисходящей линии связи соответственно.
Для системы множественного доступа (например, FDMA, OFDMA, CDMA, TDMA и т.д.) множественные терминалы могут одновременно передавать на восходящей линии связи. Для такой системы поддиапазоны пилот-сигнала могут совместно использоваться разными терминалами. Методы оценки канала можно использовать в случаях, когда поддиапазоны пилот-сигнала для каждого терминала охватывают весь рабочий диапазон (возможно, за исключением границ диапазона). Такая структура поддиапазонов пилот-сигнала желательна для получения частотного разнесения для каждого терминала. Описанные здесь методы можно реализовать по-разному. Например, эти методы можно реализовать в оборудовании, программном обеспечении или в их комбинации. Для аппаратной реализации блоки обработки, используемые для оценки канала, можно реализовать в одной или нескольких специализированных интегральных схемах (СИС), цифровых сигнальных процессорах (ЦСП), устройствах цифровой обработки сигнала (DSPD), программируемых логических устройствах (ПЛУ), вентильных матрицах, программируемых пользователем (FPGA), процессорах, контроллерах, микроконтроллерах, микропроцессорах, других электронных устройствах, призванных осуществлять описанные здесь функции, или в их комбинациях. Программная реализация может предусматривать модули (например, процедуры, функции и т.п.), которые осуществляют описанные здесь функции. Программные коды могут храниться в блоке памяти и выполняться процессорами 1090 и 1050.
Для программной реализации описанные здесь методы можно реализовать посредством модулей (например, процедур, функций и т.п.), которые осуществляют описанные здесь функции. Программные коды могут храниться в блоках памяти и выполняться процессорами. Блок памяти можно реализовать в процессоре или вне процессора, в каковом случае он может быть подключен с возможностью передачи данных к процессору различными средствами, известными в технике.
Выше были приведены примеры одного или нескольких вариантов осуществления. Конечно, невозможно описать все мыслимые комбинации компонентов или способов в целях описания вышеупомянутых вариантов осуществления, но специалист в данной области техники может дополнительно предложить многочисленные комбинации и перестановки различных вариантов осуществления. Соответственно описанные варианты осуществления призваны охватывать все подобные изменения, модификации и вариации, отвечающие сущности и объему прилагаемой формулы изобретения. Кроме того, в той степени, в которой термин “включает в себя” используется в подробном описании или формуле изобретения, такой термин подразумевает исключение наподобие термина “содержит”, поскольку “содержит” интерпретирует при использовании в качестве традиционного слова в формуле изобретения.
Формула изобретения
1. Способ осуществления мягкой передачи обслуживания в среде беспроводной связи, содержащий этапы, на которых оценивают виртуальный активный набор (VAS) пользовательского устройства, причем VAS содержит список секторов, способных принимать и демодулировать передачи пользовательского устройства, снабжают секторы, указанные в VAS, информацией назначения каналов и ресурсов, связанной с пользовательским устройством, и скремблирующим кодом, используемым пользовательским устройством, и принимают и демодулируют сигналы связи от пользовательского устройства в секторах, указанных в VAS.
2. Способ по п.1, дополнительно содержащий этап, на котором передают команды управления мощностью в пользовательское устройство от всех секторов, указанных в VAS.
3. Способ по п.1, дополнительно содержащий этап, на котором передают команды обратной активности в пользовательское устройство от всех секторов в VAS.
4. Способ по п.3, дополнительно содержащий этап, на котором передают информацию управления скоростью в командах обратной активности от всех секторов, указанных в VAS.
5. Способ по п.1, дополнительно содержащий этап, на котором применяют скремблирующий код, используемый пользовательским устройством, для передачи команд от всех секторов, указанных в VAS, в пользовательское устройство.
6. Способ по п.1, дополнительно содержащий этап, на котором обеспечивают, по меньшей мере, одно из информации назначения канала, информацию временных интервалов и информации назначения кода в информации назначения ресурсов.
7. Способ по п.1, дополнительно содержащий этап, на котором идентифицируют пользовательское устройство, которое передает на уровне, превышающем заранее определенный пороговый уровень, причем заранее определенный пороговый уровень указывает уровни мощности, вызывающие помеху на базовой станции сектора в VAS пользовательского устройства.
8. Способ по п.7, дополнительно содержащий этап, на котором обеспечивают команду управления мощностью от сектора в пользовательское устройство для снижения мощности передачи в пользовательском устройстве и, таким образом, для ослабления вызываемой им помехи.
9. Способ по п.7, дополнительно содержащий этап, на котором используют контроллер базовых станций, который принимает информацию, относящуюся к пользовательскому устройству, и сигнализирует всем секторам в VAS пользовательского устройства передать команду управления мощностью, предписывающую пользовательскому устройству снизить мощность передачи.
10. Способ по п.1, дополнительно содержащий этап, на котором периодически обновляют VAS измерениями, относящимися к способности секторов начинать и/или продолжать прием и демодуляцию передач от пользовательского устройства.
11. Способ по п.10, дополнительно содержащий этапы, на которых оценивают, находится ли пользовательское устройство в зоне покрытия сектора, и определяют, включать ли сектор в VAS.
12. Устройство, облегчающее мягкую передачу обслуживания восходящей линии связи в среде беспроводной связи, содержащее память на базовой станции, в которой хранится информация, относящаяся к пользовательскому устройству, совместно со списком секторов, в котором указана базовая станция, и процессор, который анализирует информацию, хранящуюся в памяти, обрабатывает информацию, принятую от пользовательского устройства, с использованием скремблирующего кода, назначенного пользовательскому устройству, и инициирует передачу команд управления мощностью и команд обратной активности в пользовательское устройство.
13. Устройство по п.12, в котором список секторов содержит список всех секторов, пытающихся принимать и демодулировать сигналы от пользовательского устройства.
14. Устройство по п.13, в котором список секторов содержит номинальный сектор, который назначает скремблирующий код и ресурсы связи пользовательскому устройству.
15. Устройство по п.14, в котором ресурсы связи содержат, по меньшей мере, один из ресурсов каналов, временных интервалов и ресурсов кодов.
16. Устройство по п.15, в котором секторам, указанным в списке секторов, известны скремблирующий код и ресурсы связи, назначенные пользовательскому устройству.
17. Устройство по п.16, в котором секторы в списке секторов передают, по меньшей мере, одну из команд управления мощностью и команд обратной активности в пользовательское устройство с использованием скремблирующего кода номинального сектора.
18. Устройство по п.17, в котором процессор идентифицирует определенные пользовательские устройства, когда пользовательское устройство передает на уровне мощности, превышающем заранее определенный порог, и вызывает помеху на базовой станции сектора.
19. Устройство по п.18, в котором процессор инициирует передачу команды управления мощностью в пользовательское устройство, предписывающей пользовательскому устройству снизить мощность передачи ниже заранее определенного порога для ослабления помехи.
РИСУНКИ
|
|