|
|
(21), (22) Заявка: 2008125923/09, 26.06.2008
(24) Дата начала отсчета срока действия патента:
26.06.2008
(43) Дата публикации заявки: 10.01.2010
(46) Опубликовано: 27.04.2010
(56) Список документов, цитированных в отчете о поиске:
ЧИСТЯКОВ Н.И., СИДОРОВ В.М. Радиоприемные устройства. Связь. – М., 1974, с.329. RU 2231218 C1, 20.06.2004. US 5263194 A, 16.11.1993. US 6735423 B1, 11.05.2004. Радио, 7, 2005, с.43, 44, 46, рис.1, 2. ВЕРЗУНОВ М.В. Однополосная модуляция в радиосвязи. Воениздат Министерства Обороны СССР. – М., 1972. с 96, 115-120.
Адрес для переписки:
127994, Москва, ул. Образцова, 9, стр. 9, МИИТ
|
(72) Автор(ы):
Волков Анатолий Алексеевич (RU), Волкова Ирина Анатольевна (RU)
(73) Патентообладатель(и):
Государственное образовательное учреждение высшего профессионального образования “Московский государственный университет путей сообщения” (МИИТ) (RU)
|
(54) ФАЗОКОМПЕНСАЦИОННЫЙ ПРЕСЕЛЕКТОР-СМЕСИТЕЛЬ ПРИЕМНИКА РАДИОСИГНАЛОВ
(57) Реферат:
Изобретение относится к области приема радиосигналов. Достигаемый технический результат – повышение качества приема за счет повышения степени подавления зеркального канала приема до требуемого значения 3=80 дБ. Фазокомпенсационный преселектор-смеситель приемника радиосигналов содержит усилитель радиочастоты, четыре смесителя, два гетеродина, два фазовращателя на 90°, фазоинвертор, сумматор, фильтр сосредоточенной селекции. 2 ил.
Изобретение относится к области приема радиосигналов.
Известны фазокомпенсационные преселекторы-смесители (преобразователи частоты) приемника радиосигналов, описанные в литературе, например, в:
1. Горелов Г.В., Фомин А.Ф., Волков А.А., Котов В.К. Теория передача сигналов на железнодорожном транспорте. – М:. Транспорт, 2001, с.304-306.
2. Верзунов М.В. и др. Однпополосная модуляция. – М.: Воениздат, 1962, с.95-101.
3. Момот Е.Г. Проблемы и техника синхронного радиоприема. – М.: Наука, 1961, с.59-60.
По технической сущности наиболее близким к изобретению является устройство, описанное в первом источнике, которое по этой причине и принимается за его прототип. Во втором и третьем источниках описаны аналоги изобретения.
Прототип состоит из двух смесителей, гетеродина, фазовращателя на 90°, полосового фазовращателя на 90°, фазоинвертора, сумматора, фильтра сосредоточенной селекции (ФСС), причем входы обоих смесителей соединены между собой накоротко и подключены к выходу усилителя радиочастоты (УРЧ) приемника; выход первого смесителя подключен к одному входу сумматора непосредственно, а выход другого смесителя подключен ко второму входу сумматора через последовательно соединенные полосовой фазовращатель на 90° и фазоинвертор; выход сумматора подключен к входу ФСС; выход гетеродина соединен со вторым вводом первого смесителя непосредственно и со вторым входом второго смесителя – через фазовращатель на 90°.
Основным недостатком прототипа является относительно низкая степень подавления зеркального канала З=30 дБ из-за большой погрешности  =2°-3° фазового сдвига на угол =90° в полосовом фазовращателе, что приводит к существенному снижению качества радиоприема.
Техническим результатом изобретения является повышение качества радиоприема за счет повышения степени подавления зеркального канала до требуемого значения З=80 дБ.
Сущность изобретения состоит в том, что в фазокомпенсационный преселектор-смеситель приемника радиосигналов, состоящий из усилителя радиочастоты (УРЧ), первого и второго смесителей, гетеродина, фазовращателя на 90°; фазоинвертора, сумматора, фильтра сосредоточенной селекции (ФСС), причем сигнальные входы обоих смесителей соединены между собой накоротко и подключены к выходу УРЧ приемника, а гетеродин своим выходом подключен по второму входу первого смесителя непосредственно и ко второму входу второго смесителя – через фазовращатель на 90°; выход сумматора соединен со входом ФСС, введены дополнительно третий и четвертый смесители, второй гетеродин и второй фазовращатель на 90°; причем выход первого смесителя соединен с первым входом сумматора через третий смеситель, а выход второго смесителя соединен со вторым входом сумматора через последовательно включенные четвертый смеситель и второй фазоинвертор; выход второго гетеродина подключен ко второму входу третьего смесителя непосредственно и ко второму входу четвертого смесителя сигнала – через второй фазовращатель на 90°.
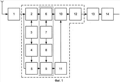
Изобретение иллюстрируется чертежами.
На фиг.1 представлена структурная схема предлагаемого фазокомпенсационного преселектора-смесителя, а на фиг.2 – частоты полезного сигнала с, гетеродина г зеркального канала з, промежуточной частоты пр.
На фиг.1 обозначено:
1 – усилитель радиочастоты (УРЧ);
2, 5, 6, 9 – смесители (преобразователи частоты сигналов);
3, 7 – гетеродины;
4, 8 – фазовращатели на 90°;
10 – сумматор;
11 – фазоинвертор;
12 – фильтр сосредоточенной селекции (ФСС);
13 – усилитель радиочастоты (УРЧ);
14 – детектор.
В целом – это схема радиоприемника. Блоки фазокомпенсационного преселектора-смесителя обведены пунктирной линией, а введенные элементы обведены точками.
Работа схемы происходит следующим образом:
uc(t)=Ucsin[ ct+ c( 0,t)].
С выхода УРЧ 1 сумма сигналов основного и зеркального uс(t)=Uсsin[ сt+ с( с,t)] каналов, т.е. u1(t)=uc(t)+uз(t),
поступает на одни входы первого 2 и второго 5 смесителей. Здесь ( ,t) – составляющая фаза сигнала, несущая информацию о передаваемом сообщении (t).
Колебания гетеродина 3 uг(t)=Uгsin гt подаются на второй вход первого смесителя 2 непосредственно и на второй вход второго смесителя 5 – через фазовращатель 4 на 90°, т.е.
,
где выбрано г> с, как показано на фиг.2. На выходе смесителей 2, 5, представляющих собой в эквиваленте перемножители сигналов с активной нагрузкой, образуются колебания:
u2(t)=u1(t)·uг(t)=0,5U1U2{cos[( г– с)t- c( c,t)]+cos[ з– г)t+ з( з,t)]+в.ч.},
u5(t)=u1(t)·u4(t)=0,5U1Uг{-sin[( г– с)t- c( c,t)]+sin[ з– г)t+ з( з,t)]+в.ч.}.
Здесь высокочастотные (в.ч.) составляющие представляют собой не разницу, а сумму частот, которые затем отображаются в ФСС.
Разница частот в обоих случаях равна первой промежуточной частоте
пр1= г– с= з– г.
Видно, что колебания u2(t) и u5(t) находятся в квадратуре между собой и поэтому, невзирая на разные знаки сигналов основного и зеркального каналов в u5(t), исключить зеркальный канал путем вычитания u5(t) из u2(t) невозможно.
Для такого исключения зеркального канала и введены указанные выше дополнительные элементы, обведенные точками на фиг.1.
Далее колебание u2(t) поступает на один вход третьего перемножителя 6, а колебание u5(t) – на один вход четвертого перемножителя 9. Колебания второго гетеродина 7 u7(t)=U7sin 7t поступают на второй вход перемножителя 6 непосредственно и на второй вход перемножителя 9 – через второй фазовращатель на 90° 8, т.е. 
Частота колебания гетеродина 7 7< пр1. Например, для стандартных промежуточных частот, используемых в железнодорожных радиостанциях системы ЖР-У,

fпр2=1,59 МГц, частота второго гетеродина fг2=24-1,59=22,41 МГц.
Поэтому на выходе перемножителей 6, 9 с активной нагрузкой будут колебания:
u6(t)=u2(t)u7(t)=0,25U1UгU7{sin[( пр1– 7)t- с( с,t)]+sin[( пр1– 7)t+ з( з,t)]+В.Ч.},
u9(t)=u5(t)u8(t)=0,25U1UгU7{-sin[( пр1– 7)t- с( с,t)]+sin[( пр1– 7)t+ з( з,t)]+В.Ч.}.
Здесь в В.Ч. входит предыдущие в.ч. и суммарные частоты второго преобразования, которые много больше второй промежуточной частоты пp2= пр1– 7.
Для приведенного выше примера сумма fпр1+f7=24+22,41=46,4 МГц>>1,59 МГц и поэтому ФСС, настроенный на fпр2=1,59 МГц, не пропускает на свой выход частоту 46,4 МГц.
В результате второго преобразования частоты сигналы основного канала на выходе блоков 6 и 9 находятся в противофазе, а сигналы зеркального канала – в фазе. Теперь можно исключить зеркальный канал путем вычитания u9(t) из u6(t).
Для этого колебания u6(t) подаются на один вход сумматора 10 непосредственно, а колебания u9(t) – на другой его вход через аналоговый фазоинвертор 11, в результате чего на выходе сумматора 10 имеется только колебание основного канала:
u10(t)=u6(t)-u9(t)=0,59U1UГU7sin[ пр2t- c( c,t)]+В.Ч.
Далее сигнал u10(t) поступает на вход ФСС 12, пропускающий на свой выход только основной сигнал второй промежуточной частоты пр и не пропускающий В.Ч. составляющие.
Так фазокомпенсационным способом с помощью введенных элементов подавляется зеркальный канал. Степень этого подавления при одинаковых уровнях сигналов u (t) и u9(t) определяется выражением: здб=lgsin0,5 .
Так как фазовому сдвигу на 90° подвергается колебание гетеродина только одной частоты, то  можно обеспечить очень малым, вплоть до 7 минут.
В этом случае з=80 дБ вместо 35, как в прототипе. Так как вторая промежуточная частота низкая ( пр2< пр1), то существенно упрощается ФСС на выходе сумматора. Но при втором преобразовании частоты появляется второй зеркальный канал, отстоящий от частоты пр1 полезного сигнала на 2 пр2.
Второй зеркальный канал автоматически устраняется, как и первый, фазокомпенсационно, что можно показать аналитически, выделив из uпр1(t) составляющую, частота которой ниже частоты второго гетеродина 7 на пр2.
Технико-экономическим эффектом изобретения является повышение качества речевых сообщений за счет подавления побочных каналов приема фазокомпенсационным способом с высокой степенью 80 дБ вместо 35 дБ и упрощения и удешевления приемника.
Формула изобретения
Фазокомпенсационный преселектор-смеситель приемника радиосигналов, состоящий из усилителя радиочастоты (УРЧ), первого и второго смесителей, гетеродина, фазовращателя на 90°, фазоинвертора, сумматора, фильтра сосредоточенной селекции (ФСС), причем сигнальные входы обоих смесителей соединены между собой и подключены к выходу УРЧ приемника, а гетеродин своим выходом подключен ко второму входу первого смесителя непосредственно и ко второму входу второго смесителя через фазовращатель на 90°; выход сумматора подключен к входу ФСС, отличающийся тем, что в него введены дополнительно третий и четвертый смесители, второй гетеродин и второй фазовращатель на 90°, причем выход первого смесителя подключен к одному входу сумматора через третий смеситель, а выход второго смесителя подключен к другому входу сумматора через последовательно включенные четвертый смеситель и фазоинвертор; выход второго гетеродина подключен к другому входу третьего смесителя непосредственно и к другому входу четвертого смесителя через второй фазовращатель на 90°.
РИСУНКИ
|
|