|
|
(21), (22) Заявка: 2008123025/09, 07.06.2008
(24) Дата начала отсчета срока действия патента:
07.06.2008
(43) Дата публикации заявки: 27.12.2009
(46) Опубликовано: 27.04.2010
(56) Список документов, цитированных в отчете о поиске:
RU 2233020 C1, 20.07.2004. SU 1249679 A1, 07.08.1986. SU 1711312 A1, 07.02.1992. RU 2317631 C1, 20.02.2008. CN 24920006 Y, 15.05.2002. DE 19500564 A1, 18.07.1996. БУТ Д.А. Бесконтактные электрические машины. – М.: Высшая школа, 1990, с.385. БЕРТИНОВ А.И. Специальные электрические машины. – М.: Энергоиздат, 1982, с.318-327.
Адрес для переписки:
428009, Чувашская Республика, г.Чебоксары, ул. Лебедева, 25, кв.25, М.Ф. Ефимову
|
(72) Автор(ы):
Ефимов Михаил Федорович (RU), Столяров Николай Аркадьевич (RU), Захаров Валерий Григорьевич (RU)
(73) Патентообладатель(и):
Ефимов Михаил Федорович (RU), Столяров Николай Аркадьевич (RU)
|
(54) БЕСКОНТАКТНАЯ МАГНИТОЕМКОСТНАЯ ЭЛЕКТРИЧЕСКАЯ МАШИНА
(57) Реферат:
Изобретение относится к области электротехники, а именно к емкостным электрическим машинам. Предлагаемая бесконтактная магнитоемкостная электрическая машина выполнена в виде бесконтактного емкостного генератора с плавающим ротором, содержащего статор с набором радиальных плоских основных пластин и ротор, выполненный в виде звездообразного диска с плоскими лопастями, находящимися в зазоре между основными неподвижными пластинами. При этом электропроводящие подвижные плоские сектора ротора, соединяющие его подвижные обмотки с подвижными пластинами двух пар воздушных конденсаторов переменной емкости, прикрепленные общими электрическими выводами к внутренней стенке корпуса машины, две группы неподвижных пластин одной из которых соединены к источнику постоянного напряжения, а две группы неподвижных пластин другой – к нагрузке, размещены между северными и южными полюсами постоянных магнитов, установленных на неподвижную ось из немагнитного материала. Технический результат, достигаемый при использовании данного изобретения, заключается в повышении мощности и КПД предлагаемой электрической машины. 2 ил.
Изобретение относится к области электротехники, в частности к емкостным электрическим машинам. Из известных емкостных электрических машин наиболее близким по конструкции и технической сущности является бесконтактный емкостной генератор с плавающим ротором. Однако указанный емкостной генератор не получил широкого распространения из-за относительно невысоких его энергетических показателей.
Технический результат заявленного решения – наиболее полное использование энергий электрического и магнитного полей для существенного увеличения мощности машины и экономии электроэнергии.
Технический результат достигается тем, что в предлагаемой конструкции магнитоемкостной электрической машины вращение ротора происходит за счет взаимодействий полей постоянных магнитов с зарядными и разрядными токами, протекающими в электропроводящих подвижных секторах ротора, включенных между последовательно включенными воздушными конденсаторами переменной емкости через обмотки, соединенные последовательно между ними.
Предложенная бесконтактная магнитоемкостная электрическая машина, выполненная в виде бесконтактного емкостного генератора с плавающим ротором, содержащего статор с набором радиальных плоских основных пластин и ротор, выполненный в виде звездообразного диска с плоскими лопастями, находящимися в зазоре между основными неподвижными пластинами, отличается тем, что электропроводящие подвижные плоские сектора ротора, соединяющие его подвижные обмотки с подвижными пластинами двух пар воздушных конденсаторов переменной емкости, прикрепленные общими электрическими выводами к внутренней стенке корпуса машины, две группы неподвижных пластин одной из которых соединены к источнику постоянного напряжения, а две группы неподвижных пластин другой – к нагрузке, размещены между северными и южными полюсами постоянных магнитов, установленных на неподвижную ось 5 из немагнитного материала, на которой также насажен подшипник, находящийся во фрикционной связи с ведомым колесом 12, установленным на вал 13 внешнего механизма. Последний не указан на чертежах.
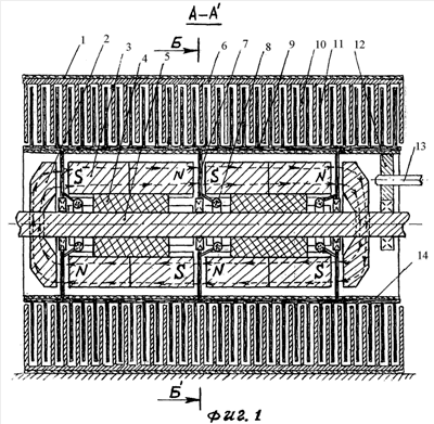
Продольный и поперечный разрезы бесконтактной магнитоемкостной электрической машины показаны на фигурах 1 и 2 соответственно. Ее статор 1 выполнен в виде полого цилиндра из диэлектрического и диамагнитного материала, на внутренней поверхности которого закреплены две пары общих электрических выводов 6 неподвижных пластин 10 воздушных конденсаторов переменной емкости. Две пары групп ее подвижных пластин 11, объединенные общими цилиндрическими секторами 9, заклеенными на внешнюю поверхность диэлектрического и немагнитного полого барабана 14 ротора, соединены с электропроводящими секторами 7, находящимися между северными и южными полюсами постоянных магнитов 3, попарно соединенных между собой через обмотки 8 ротора. Электропроводящие сектора 7 ротора могут вращаться на подшипниках вокруг неподвижной оси 5. Магнитные силовые линии, исходящие с постоянных магнитов 3, замыкаются через дискообразные магнитопроводы 2, установленные на концах оси 5.
Верхний неподвижный общий вывод 6 группы неподвижных пластин 10 конденсатора при работе соединен с положительным полюсом источника постоянного напряжения U, нижний – с отрицательным. Боковые общие выводы 6 групп неподвижных пластин 10 конденсаторов переменной емкости соединены с нагрузкой R.
Бесконтактная магнитоемкостная электрическая машина работает следующим образом. При включении автомата А неподвижной емкости начинают заряжаться, что означает протекание тока заряда по электропроводящим секторам 7 с верхних подвижных пластин 11 к нижним через обмотки 8. В этом случае токи заряда протекают в магнитном поле, и на электропроводящие сектора 7 начинают действовать по правилу левой руки механические (пондеромоторные) силы, и ротор начинает вращаться по часовой стрелке. При этом подвижные пластины 11 конденсаторов выходят из зоны неподвижных пластин 10 и входят в зону неподвижных пластин 10 боковых конденсаторов, где по электропроводящим секторам между подвижными пластинами 11 потечет ток разряда, но уже в противоположную сторону. Поскольку в этой зоне магнитные силовые линии в свою очередь направлены противоположно, то направление механических (пондеромоторных) сил, действующих на сектора с разрядным током, остается таким же, как вначале. При протекании разрядного тока через боковые неподвижные пластины 10 конденсаторов ток потечет и через нагрузку R. Далее верхние подвижные пластины 11 конденсаторов в итоге оказываются в зоне заряженных отрицательно неподвижных пластин 10 нижнего конденсатора, а нижняя – в зоне заряженных положительно неподвижных пластин 10 верхнего конденсатора, что обуславливает протекание очередного тока заряда через соединяющие их электропроводящие секторы в том же направлении, в каком до этого протекал ток разряда, то есть к тем же подвижным пластинам конденсаторов – сверху вниз. Этим заканчивается пол-оборота ротора. В дальнейшем его движение происходит по тем же правилам, по каким оно происходило до этого.
В каждом обороте ротора направление электрического тока через пары электропроводящих секторов меняется дважды, или за один цикл через них протекают зарядные и разрядные токи по два раза.
Преимуществом данной конструкции бесконтактной магнитоемкостной электрической машины состоит в том, что на одной оси можно установить несколько таких машин и их конденсаторы переменной емкости включить параллельно для увеличения результирующих зарядных и разрядных токов, что позволяет существенно повысить величину общей их мощности. При этом нужно просто предусмотреть по необходимости несколько жестких связей удлиненной неподвижной оси с корпусом машины.
И, наконец, следует отметить, что предлагаемая емкостная электромагнитная машина фактически является одновременно и двигателем и генератором электрического тока с высоким КПД.
Источники информации
1. Бут Д.А. «Бесконтактные электрические машины» – М.: Высшая школа – 1990 г.
2. Калашников С.Г. «Электричество» – М.: Наука – 1985 г.
3. Копылов И.П. «Электрические машины» – М.: Энергоатомиздат, 1986.
4. Специальные электрические машины – под ред. А.И.Бертинова – М.: Энергоатомиздат, 1982 г., с.318-327.
Формула изобретения
Бесконтактная магнитоемкостная электрическая машина, выполненная в виде бесконтактного емкостного генератора с плавающим ротором, содержащего статор с набором радиальных плоских основных пластин и ротор, выполненный в виде звездообразного диска с плоскими лопастями, находящимися в зазоре между основными неподвижными пластинами, отличающаяся тем, что электропроводящие подвижные плоские сектора ротора, соединяющие его подвижные обмотки с подвижными пластинами двух пар воздушных конденсаторов переменной емкости, прикрепленные общими электрическими выводами к внутренней стенке корпуса машины, две группы неподвижных пластин одной из которых соединены к источнику постоянного напряжения, а две группы неподвижных пластин другой – к нагрузке, размещены между северными и южными полюсами постоянных магнитов, установленных на неподвижную ось из немагнитного материала.
РИСУНКИ
|
|