|
|
(21), (22) Заявка: 2007118205/09, 26.10.2005
(24) Дата начала отсчета срока действия патента:
26.10.2005
(30) Конвенционный приоритет:
28.10.2004 FR 0411552
(43) Дата публикации заявки: 27.11.2008
(46) Опубликовано: 27.04.2010
(56) Список документов, цитированных в отчете о поиске:
US 2002/155750 A1, 24.10.2002. RU 2017285 C1, 30.07.1994. US 6336824 B1, 08.01.2002. EP 1124286 A, 16.08.2001. DE 19949387 A1, 31.05.2001. EP 0837526 A, 22.04.1998. DE 7719374 U1, 29.09.1977.
(85) Дата перевода заявки PCT на национальную фазу:
16.05.2007
(86) Заявка PCT:
FR 2005/002678 20051026
(87) Публикация PCT:
WO 2006/048530 20060511
Адрес для переписки:
119296, Москва, а/я 113, пат.пов. Э.П.Песикову, рег. 204
|
(72) Автор(ы):
БЛАНШО Мишель (FR)
(73) Патентообладатель(и):
ПРОФЕШНЛ ДЖЕНЕРАЛ ЭЛЕКТРОНИК ПРОДАКТС ПИДЖИИПИ (FR)
|
(54) КОМПОНЕНТ СОЕДИНИТЕЛЬНОЙ КОРОБКИ И БЕЗВИНТОВОЙ СОЕДИНИТЕЛЬ
(57) Реферат:
Компонент соединительной коробки состоит из коробки, пересеченной электропроводящими средствами (30) с концевой поверхностью (110), несущей механические (111) и электрические (114) соединительные средства, обеспечивающие ее крепление к модульному компоненту электрического устройства, и несущие средства одной концевой поверхности (150) для соединения, по меньшей мере, с одним силовым кабелем. Указанная коробка включает, по меньшей мере, один корпус (104) для размещения в нем соединительных средств, предназначенных для электрического соединения, по меньшей мере, с одним силовым кабелем. Соединительное средство представляет собой безвинтовой соединитель (4), а указанная коробка содержит плунжер (136, 137, 138), который выполнен прессованием с верхней поверхностью (13, 113), и плунжер движется перпендикулярно указанной верхней поверхности (113), имеющейся в каждом корпусе (104) для размещения безвинтового соединителя (4). Технический результат – повышение электрической безопасности и обеспечение простого и быстрого обслуживания. 2 н. и 18 з.п. ф-лы, 12 ил.
Настоящее изобретение в целом относится к электрическим устройствам, состоящим из сборки модульных компонентов, и, более точно, изобретение относится к соединительной коробке, которая соединяется с сетью подачи электроэнергии.
Обычно модульные компоненты снабжены на своих концах механическими и электрическими средствами подключения к электросети и соединяются друг с другом в определенной последовательности, причем каждый компонент выполняет определенную электрическую функцию, как, например, патрон для лампы, прерыватель, выключатель, контрольная лампа, разрядник и т.д.
Потребитель энергии содержит электрическое устройство подобно группе узлов с электрическими функциями, которые необходимы для соединения подходящих модульных компонентов друг с другом.
Модульные компоненты, выполняющие функцию соединительной коробки, устанавливаются на конце сборки, чтобы обеспечить соединение с силовыми кабелями. Эти компоненты, которые формируют соединительную коробку, имеют средства механического подключения к электросети и к другим модульным компонентам на одной концевой поверхности, тогда как другая концевая поверхность обеспечивает подключение силовых кабелей к сети питания.
Такие соединительные устройства имеют форму коробки, содержащей одно или несколько соединительных средств, предназначенных для электрического соединения с силовыми кабелями.
Традиционно, обычные соединительные средства представляют собой винтовые зажимы или безвинтовые соединители.
Соединительные средства типа зажимных винтов содержат цилиндрическое отверстие, в котором проводник кабеля фиксируется зажимным винтом, проходящим диаметрально через указанное отверстие.
Безвинтовые соединители, часто называемые разъемами гарпунного типа, содержат упругие средства, которые позволяют ввести проводник, но препятствуют его свободному выходу.
Независимо от типа соединительных средств, при отсоединении кабеля необходим соответствующий инструмент для изменения установки; с одной стороны, требуется проем в стенке соединительной коробки для прохода инструмента, что снижает электрическую безопасность соединительной коробки, и с другой стороны, увеличивает время обслуживания соединительной коробки.
Настоящее изобретение предлагает модульный компонент, который формирует соединительную коробку и который не требует применения инструмента для отсоединения силовых распределительных кабелей, что повышает электрическую безопасность и обеспечивает простое и быстрое обслуживание.
С этой целью создано изобретение, относящееся к компонентам соединительной коробки для электрических устройств, состоящих из сборки модульных компонентов, снабженных на концах механическими и электрическими средствами подключения к электросети, причем указанные компоненты соединительной коробки состоят из коробки, пересекаемой электропроводящими средствами, концевая поверхность которой снабжена механическими и электрическими соединительными средствами, позволяющими прикрепить ее к модульному компоненту указанного электрического устройства, и одного средства на концевой поверхности для соединения, по меньшей мере, с одним силовым кабелем, при этом указанная коробка содержит, по меньшей мере, один корпус для размещения соединительного средства, предназначенного для электрического соединения, по меньшей мере, с одним силовым кабелем, отличающийся тем, что указанное соединительное средство представляет собой безвинтовой соединитель, а также тем, что указанная коробка имеет плунжер, который выполнен формовкой его верхней поверхности, и тем, что он подвижен перпендикулярно указанной верхней поверхности, расположенном на каждом корпусе для размещения безвинтового соединителя.
Компонент соединительной коробки согласно изобретению, также отличающийся тем, что:
– указанный безвинтовой соединитель состоит из клетки, в которой расположена упругая лапка,
– клетка имеет нижнюю поверхность, переднюю поверхность, расположенную на конце указанной нижней поверхности перпендикулярно к ней, верхнюю поверхность, перпендикулярную передней поверхности и параллельную нижней поверхности, и боковые поверхности, расположенные перпендикулярно верхней поверхности и расширяющиеся с обеих сторон от передней поверхности в направлении нижней поверхности,
– два контакта, входящие в переднюю поверхность клетки и проходящие перпендикулярно указанной передней поверхности к внутренней части указанной клетки,
– верхняя поверхность пересечена центральным отверстием,
– указанная упругая лапка состоит из нижней поверхности и наклонной поверхности, разделенной на две части разрезом,
– каждая часть наклонной поверхности опирается на свой конец, который не связан с нижней поверхностью, и по разрезу проходит выступ, изогнутый в направлении указанной нижней поверхности,
– указанные плунжеры состоят из цилиндра, пересекающего отверстие верхней поверхности соединительной коробки, и ножки,
– контур сечения указанных ножек вписывается в контур центрального отверстия клетки,
– каждый плунжер прикреплен к концу упругого язычка, расположенного параллельно верхней поверхности коробки, по стенке последней, повернутой к внутренней части коробки, и соединенной с ним своим концом напротив конца, несущего цилиндр, содержащий плунжер,
– концевая поверхность снабжена средством, соединенным, по меньшей мере, с одним силовым кабелем, и имеет круглые цилиндрические отверстия, распределенные поперек и объединенные в пары, обращенные к корпусам, предназначенным для безвинтовых соединителей.
Настоящее изобретение также относится к безвинтовому соединителю, состоящему из клетки, содержащей упругую пластину, отличающегося тем, что клетка имеет нижнюю поверхность, переднюю поверхность, расположенную в конце указанной нижней поверхности перпендикулярно к ней, верхнюю поверхность, перпендикулярную передней поверхности и параллельную нижней поверхности, и боковые поверхности, расположенные перпендикулярно верхней поверхности и расширяющиеся с обеих сторон от передней поверхности в направлении нижней поверхности, а также тем, что имеются два контакта, входящие в переднюю поверхность клетки перпендикулярно указанной передней поверхности, к внутренней части указанной клетки.
Указанный безвинтовой соединитель согласно изобретению также отличается тем, что:
– клетка имеет два направляющих канала, очерчиваемых лапкой, вырез в передней поверхности, верхнюю поверхность и боковые поверхности,
– боковые поверхности имеют высоту, которая меньше, чем высота передней поверхности, и имеют расширения, продолжающиеся к нижней поверхности и заканчивающиеся в крючках, загнутых под указанной нижней поверхностью,
– верхняя поверхность пересечена центральным отверстием,
– указанная упругая лапка состоит из нижней поверхности и наклонной поверхности, разделенной на две части разрезом,
– каждая часть наклонной поверхности опирается на свой конец, который не связан с нижней поверхностью и по разрезу имеется ушко, изогнутое в направлении указанной нижней поверхности,
– упругая лапка помещена в клетку со своей нижней поверхностью на нижней поверхности клетки со своей наклонной поверхностью в двух частях, повернутых к передней поверхности клетки и удерживаемых в определенном положении в указанной клетке взаимодействием выреза в его нижней поверхности с лапкой, сформированной в нижней поверхности клетки с помощью прорези,
– ушки упругой лапки расположены под центральным отверстием верхней поверхности клетки,
– нижняя поверхность указанной упругой лапки имеет волнистую часть.
В дальнейшем описании мы будем называть модульный компонент, формирующий соединительную коробку, соединительной коробкой.
Изобретение будет лучше понято из последующего описания, не ограничивающего изобретение примера со ссылками на сопровождающие чертежи, на которых:
– фигура 1 – перспективный вид передней поверхности вставки кабеля в соединительную коробку согласно первому варианту изобретения,
– фигура 2 – перспективное изображение в разобранном виде поверхности напротив поверхности вставки кабеля, соединительной коробки согласно первому варианту изобретения,
– фигура 3 – вид, аналогичный фигуре 1, соединительной коробки согласно второму варианту изобретения,
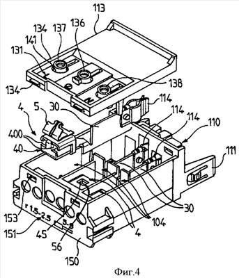
– фигура 4 – перспективное изображение в разобранном виде, соответствующее фигуре 3,
– фигура 5 – вид в частичном разрезе на верхнюю поверхность соединительной коробки согласно первому варианту изобретения по линии V-V фигуры 3,
– фигура 6 – вид в частичном разрезе на верхнюю поверхность соединительной коробки согласно первому варианту изобретения по линии VI-VI фигуры 3,
– фигуры 7 и 8 – перспективные представления поверхности и дна безвинтового соединителя, сформированного на конце шины источника питания,
– фигура 9 – продольный вид в частичном разрезе безвинтового соединителя,
– фигура 10 – перспективное представление упругой лапки, расположенной в безвинтовом соединителе,
– фигура 11 – вид по стрелке XI на упругую лапку фигуры 10,
– фигура 12 – вид сверху на упругую лапку, показанную на фигуре 10.
В вариантах, показанных на чертежах в виде не ограничивающих изобретение примеров, соединительные коробки согласно изобретению разработаны для оборудования, в котором каждый модульный компонент опирается на первую концевую поверхность гнезда подключения к электросети и штыревые контакты, тогда как вторая концевая поверхность несет штыревые контакты для подключения к электросети и контактные гнезда.
Концевая поверхность 10 соединительной коробки 1, показанная на фигурах 1 и 2, имеет контактные гнезда 11, из которых на фигурах показано только одно, каждое из которых проходит по боковой поверхности 12, и лапки для подключения к электросети, состоящие из концов токоведущих шин 30, чтобы обеспечить соединение указанной соединительной коробки с первой концевой поверхностью модульного компонента.
В примере, показанном на фигурах, концевая поверхность 10 несет механические и электрические средства соединения соединительной коробки 1, которые имеют пружину 25, взаимодействующую с устройством безопасности 24, которое отводит ее к внешней стороне соединительной коробки. Это устройство безопасности закрывает электрический штыревой контакт 30, когда соединительная коробка 1 не соединена с модульным компонентом и выдвигается к внутренней части соединительной коробки, по мере приближения модульного компонента с тем, чтобы концы токоведущих шин 30 освобождены и соединены с контактными гнездами указанного модульного компонента. Во время этого соединения соединительной коробки и модульного компонента концы токоведущих шин 30 не доступны с внешней стороны компонентов, что устраняет любую возможность контакта внешнего объекта с указанными токоведущими шинами 30.
В соединительной коробке 100, показанной на фигурах 3 и 4, концевая поверхность 110 несет механические штыревые контактные средства 111, по одному на конце каждой боковой поверхности 112, и электрические контактные гнезда 114, причем зажимы 114 расположены на концах токоведущих шин 30, чтобы обеспечить соединение указанной соединительной коробки со второй концевой поверхностью модульного компонента.
На концевой поверхности, которая не несет механических и электрических средств подключения к электросети, соединительная коробка электрического устройства состоит из сборки модульных компонентов и имеет средства для соединения с силовыми кабелями.
Согласно изобретению, соединительные средства силовых кабелей, расположенных в соединительных коробках, состоят из безвинтовых соединителей 4, которые создаются токоведущими шинами 30.
Безвинтовые соединители 4 будут описаны ниже более подробно перед завершением описания средств, размещенных в соединительной коробке согласно изобретению, на основе их использования.
Указанные безвинтовые соединители 4 состоят, в основном, из клетки 40, в которой размещена упругая пластина 5.
Как видно из фигур, и особенно на фигурах 7-9, клетка 40 имеет нижнюю поверхность 41, сформированную в расширении одного торца 34, расположенную перпендикулярно общей плоскости токоведущей шины 30. Указанный торец 34 образуется путем изгиба металлического фланца, содержащего указанную токоведущую шину 30.
Как показано на фигурах, лапка 49, сформированная в удлинении 35 одного плоского торца 34 токоведущей шины 30, согнута в направлении к внутренней части клетки 40.
Клетка 40 также имеет переднюю поверхность 42, расположенную на конце нижней поверхности напротив токоведущей шины 30 и перпендикулярно к указанной нижней поверхности 41, и верхнюю поверхность 43, расположенную перпендикулярно к передней поверхности 42 и параллельно нижней поверхности 41.
Две лапки 44 врезаны в переднюю поверхность 42 и согнуты к внутренней части клетки 40, чтобы продолжить перпендикуляр к указанной передней поверхности 42.
Передняя поверхность 42 имеет форму перевернутого Т.
Верхняя поверхность 43 пересечена центральным отверстием 45 квадратного поперечного сечения в варианте, показанном в фигурах.
Боковые поверхности 46, расположенные перпендикулярно верхней поверхности 43, расширяются с обеих сторон от передней поверхности 42 в направлении нижней поверхности 41. Эти боковые поверхности 46, на примере, показанном на фигурах, имеют высоту, которая меньше высоты передней поверхности 42, и имеют расширения 47, которые продолжаются до нижней поверхности 41 и оканчиваются крючками 48, повернутыми под указанную нижнюю поверхность 41.
Такое устройство клетки 40 обеспечивает формирование двух направляющих каналов 400, которые разграничены лапкой 44, вырезом на передней поверхности 42, верхней поверхностью 43 и боковой поверхностью 46.
Упругая пластина 5, показанная на фигурах 10-12, состоит из нижней поверхности 51 и наклонной поверхности, разделенной на две части 54 разрезом 55.
Каждая часть 54 наклонной поверхности опирается на свой конец, который не связан с нижней поверхностью 51 и по разрезу 55 ушка 56 изогнут в направлении указанной нижней поверхности 51.
Как показано на фигурах 9 и 4, указанные ушки расположены под центральным отверстием 54 верхней поверхности 43 клетки 40, когда упругая пластина 5 помещена в указанную клетку 40.
Упругая пластина 5 расположена в клетке 40 своей нижней поверхностью 51 на нижней поверхности 41 клетки со своей наклонной поверхности в виде двух частей 54 повернутых к передней поверхности 42 клетки 40. Указанная упругая пластина 5 удерживается в нужном положении в клетке 40 взаимодействием выреза 53 на своей нижней поверхности 51 с ушком 49 клетки 40.
Для улучшения упругих характеристик упругой пластины 5 ее нижняя поверхность 51 имеет волнистую часть 52.
Чтобы подключить силовой кабель, который не показан на фигурах, его разделанный конец вставляется в один из каналов 400 клетки 40. Стенки, окружающие каналы 400, точно направляют разделанный конец кабеля, который упирается в одну часть 54 наклонной поверхности упругой пластины 5 и поворачивает ее к нижней поверхности 51, преодолевая силу упругости пластины.
Упругая пластина 5 прикладывает усилие к кабелю, и это усилие прижимает кабель к верхней поверхности 43 и обеспечивает соединение указанного кабеля с сетью с помощью безвинтового соединителя 4 согласно изобретению. Любое движение, направленное на вытаскивание указанного кабеля из клетки 40, блокируется упругой пластиной 5.
Дополнительные средства, используемые в соединительных коробках согласно изобретению и обеспечивающие работу безвинтового соединителя 4, описаны ниже со ссылками на фигуры 1-6.
Концевая поверхность 150 соединительных коробок, с помощью которых подключаются кабели, так же как часть 135 верхней поверхности 13 вблизи концевой поверхности, идентичны для соединительных коробок 1, 2 согласно двум вариантам; следовательно, мы будем использовать те же самые ссылки для этих компонентов.
Как правило, стенки, сформированные в процессе прессования указанных коробок, содержащих каждая соединительную коробку 1, 2, определяют расположение и разделение токоведущих шин 30 и соединителей для силовых кабелей, которые они удерживают.
Указанная концевая поверхность 150 имеет шесть круглых цилиндрических отверстий 140, распределенных в поперечном направлении; эти отверстия 140 расположены попарно и обращены к корпусам, предназначенным для размещения безвинтовых соединителей 4.
Когда указанные безвинтовые соединители 4 согласно изобретению помещены в корпусы 104, определяемые указанными стенками коробки, каждое из отверстий 140 обращено к каналу 400 клетки 40.
Силовой кабель, вставляемый в отверстие 140, точно направляется в канал 400 клетки 40, которая ведет кабель внутри соответствующего безвинтового соединителя 4.
Соединительные коробки согласно изобретению более выгодны в том, что при модификации установки они позволяют удалить силовой кабель без применения инструмента типа отвертки.
С этой целью, часть 135 верхней поверхности 13, 113 соединительной коробки 1, 2, которая расположена около концевой поверхности 150, с помощью которой соединительная коробка связана с силовыми кабелями, несет плунжера 136, 137 и 138, которые предусмотрены на указанной верхней поверхности 13, 113 и которые перемещаются перпендикулярно этой поверхности.
Эти плунжеры 136, 137 и 138 разработаны специально, чтобы обеспечить отключение кабелей от земли, от силовой линии и от нейтрального проводника, и расположены над корпусами 104, определяемыми стенками для размещения безвинтовых соединителей 4.
Как показано на фигурах 5 и 6, указанные плунжеры 136, 137 и 138 состоят из цилиндра 136, 137 и 138, пересекающего отверстие 141 части 135 верхней поверхности соединительной коробки, и ножки 139, диаметр которой меньше диаметра указанного цилиндра 136, 137 и 138.
По причинам, которые будут описаны ниже, контур сечения указанной ножки 139 может быть встроен в контур центрального отверстия 45 клетки 40.
Указанная ножка 139 может затем быть вставлена в центральное отверстие 45 клетки 40.
Плунжеры 136, 137 и 138 выполнены таким образом, что они могу двигаться перпендикулярно верхней поверхности соединительной коробки. С этой целью, каждый из указанных плунжеров 136, 137 и 138 прикреплен к концу упругого язычка 142, расположенного параллельно верхней поверхности коробки, по стенке поверхности, повернутой к внутренней части коробки, и соединен с последней своим концом 143, противоположным концу, несущему цилиндр, содержащий плунжер. Обычно отверстия 144 верхней поверхности позволяют выполнить указанные упругие язычки 142 прессованием.
Благодаря такому устройству, каждый плунжер 136, 137 и 138 расположен со своей ножкой 139 по вертикали центрального отверстия 45 клетки 40 безвинтового соединителя 4.
Нажатие на один из этих плунжеров 136, 137 и 138 приводит к его перемещению перпендикулярно верхней поверхности соединительной коробки и в направлении к внутренней части указанной соединительной коробки.
Такое движение вставляет ножку 139 указанного плунжера через отверстие 45 клетки соединителя так, что указанная ножка 139 нажимает на ушки 56 упругой пластины 5 соединителя. Упругая пластина 5, таким образом, деформируется, часть 54 ее наклонной поверхности отходит от нижней поверхности 51 и, таким образом, освобождает силовой кабель (или кабели), соединенные с безвинтовым соединителем 4 в соответствии с усилием его прижима к верхней поверхности 43 клетки 40.
После этого достаточно потянуть кабель (или кабели) наружу от соединительной коробки, чтобы вынуть их.
Как показано на фигурах, плунжеры 137, 138, расположенные у кромки верхней поверхности 13, 113, имеют свою верхнюю поверхность в той же самой плоскости, что и кромка 145 указанной верхней поверхности. Такое устройство предотвращает случайный нажим на указанные плунжеры.
По тем же соображениям безопасности перед поршнем 136 сформирован выступ 146, соответствующий заземлению, которое расположено в середине верхней поверхности 13, 113 и легко доступно даже для случайного нажатия, более того, даже из-за внутренних усилий при установке коробки, поэтому плунжер 136 расположен выше, чем другие два плунжера.
Как правило, верхние поверхности 13, 113 несут ушки 134, которые насчитаны для размещения в отверстиях 153 концевых поверхностей 10, 150 соединительной коробки.
Как показано позициями 131 и 151, технические условия, требуемые по современным стандартам, написаны на соединительной коробке, и эти надписи формуются вместе со стенками последней.
Полезно, когда среди модульных компонентов, разработанных для конструкции путем сборки электрического устройства, предлагаются две соединительные коробки согласно изобретению. Таким образом, можно предусмотреть соединение с силовыми кабелями на одном конце или на другом конце устройства в зависимости от окружающей среды, в которой должна работать установка.
Формула изобретения
1. Компонент соединительной коробки для электрического устройства, состоящего из сборки модульных компонентов, снабженными на концах механическими и электрическими средствами подключения к электросети, указанный компонент соединительной коробки состоит из собственно коробки, пересеченной электрическими электропроводящими средствами (30) с концевой поверхностью (10, 110), снабженной механическими (11, 111) и электрическими (30, 114) соединительными средствами, обеспечивающими ее крепление к модульному компоненту указанного электрического устройства, и с одной концевой поверхностью (150), снабженной средствами для ее соединения, по меньшей мере, с одним силовым кабелем; указанная коробка, содержит, по меньшей мере, один корпус (104) для размещения в нем соединительных средств, предназначенных для электрического соединения, по меньшей мере, с одним силовым кабелем, отличающийся тем, что указанное соединительное средство представляет собой безвинтовой соединитель (4), и тем, что указанная коробка имеет плунжер (136, 137, 138), который выполнен его формовкой с верхней поверхностью (13, 113), и тем, что плунжер движется перпендикулярно указанной верхней поверхности (13, 113), размещенной над каждым корпусом (104), используемым для размещения безвинтового соединителя (4).
2. Компонент соединительной коробки по п.1, в котором указанный безвинтовой соединитель (4) состоит из клетки (40), в которой расположена упругая пластина (5).
3. Компонент соединительной коробки по п.2, в котором клетка (40) имеет нижнюю поверхность (41), переднюю поверхность (42), расположенную на конце указанной нижней поверхности (41) и перпендикулярно к ней, при этом верхняя поверхность (43) перпендикулярна передней поверхности (42) и параллельна нижней поверхности (41), и боковые поверхности (46), расположенные перпендикулярно верхней поверхности (43) и расширяющиеся с обеих сторон от передней поверхности (42) в направлении нижней поверхности (41).
4. Компонент соединительной коробки по п.3, в котором две лапки (44), врезанные в переднюю поверхность (42) клетки (40), расположены перпендикулярно указанной передней поверхности (42) по направлению к внутренней части указанной клетки (40).
5. Компонент соединительной коробки по п.3, в котором верхняя поверхность (43) пересечена центральным отверстием (45).
6. Компонент соединительной коробки по любому из пп.2-5, в котором указанная упругая пластина (5) состоит из нижней поверхности (51) и наклонной поверхности, разделенной на две части (54) разрезом (55).
7. Компонент соединительной коробки по п.6, в котором каждая часть (54) наклонной поверхности несет на своем конце, который не связан с нижней поверхностью (51), и по вырезу (55) ушко (56), которое изогнуто в направлении указанной нижней поверхности (51).
8. Компонент соединительной коробки по п.1, в котором указанные плунжеры (136, 137, 138) состоят из цилиндра, пересекающего отверстие (141) в верхней поверхности (13, 113) соединительной коробки и ножки (139).
9. Компонент соединительной коробки по п.8, в котором контур сечения указанных ножек (139) вписывается в контур центрального отверстия (45) клетки (40).
10. Компонент соединительной коробки по п.1, в котором каждый плунжер (136, 137, 138) прикреплен к концу упругого язычка (142), расположенного параллельно верхней поверхности (13, 113) коробки, по стенке последней с поворотом к внутренней части коробки, и соединенного с ней своим концом (143), противоположным тому, который несет цилиндр, содержащий плунжер.
11. Компонент соединительной коробки по п.1, в котором концевая поверхность (150), снабженная средством соединения, по меньшей мере, с одним силовым кабелем, имеет круглые цилиндрические отверстия (140), распределенные поперек и организованные парами, обращенными к корпусу (104), предназначенному для размещения безвинтового соединителя (4).
12. Безвинтовой соединитель, состоящий из клетки (40), в которой расположена упругая пластина (5), причем клетка (40) имеет нижнюю поверхность (41), переднюю поверхность (42), расположенную в конце указанной нижней поверхности (41) и перпендикулярно к ней, верхнюю поверхность (43), перпендикулярную передней поверхности (42) и параллельную нижней поверхности (41), и боковые поверхности (46), расположенные перпендикулярно верхней поверхности (43) и расширяющиеся с обеих сторон от передней поверхности (42) в направлении нижней поверхности (41), и в котором две лапки (44), врезанные в переднюю поверхность (42) клетки (40), продолжают перпендикуляр на указанную переднюю поверхность (42) к внутренней части указанной клетки (40).
13. Безвинтовой соединитель по п.12, в котором клетка (40) имеет два направляющих канала (400), определенные лапками (44), вырез передней поверхности (42), верхнюю поверхность (43) и боковую поверхность (46).
14. Безвинтовой соединитель по п.12 или 13, в котором боковые поверхности (46) имеют высоту, которая меньше высоты передней поверхности (42), и имеют расширения (47), проходящие к нижней поверхности (41) и оканчивающиеся крючками (48), загнутыми под указанную нижнюю поверхность (41).
15. Безвинтовой соединитель по п.12 или 13, в котором верхняя поверхность (43) пересечена центральным отверстием (45).
16. Безвинтовой соединитель по п.12 или 13, в котором указанная упругая пластина (5) состоит из нижней поверхности (51) и наклонной поверхности, разделенной на две части (54) разрезом (55).
17. Безвинтовой соединитель по п.16, в котором каждая часть (54) наклонной поверхности несет на своем конце, который не связан с нижней поверхностью (51), и по разрезу (55) ушко (56), которое изогнуто в направлении указанной нижней поверхности (51).
18. Безвинтовой соединитель по п.17, в котором упругая пластина (5) расположена в клетке (40) со своей нижней поверхностью (51) на нижней поверхности (41) клетки (40) со своей наклонной поверхности в двух частях (54) повернутых к передней поверхности (42) клетки (40) и удерживаемых в рабочем положении в указанной клетке (40) взаимодействием выреза (53) его нижней поверхности (51) с лапкой (49), которая сформирована в нижней поверхности (41) клетки (40) на основе разреза (35).
19. Безвинтовой соединитель по п.18, в котором ушки (56) упругой лапки (5) расположены под центральном отверстием (45) в верхней поверхности (43) клетки (40).
20. Безвинтовой соединитель по п.16, в котором нижняя поверхность (51) указанной упругой пластины (5) имеет волнистую часть (52).
РИСУНКИ
|
|