|
|
(21), (22) Заявка: 2008148046/09, 01.12.2008
(24) Дата начала отсчета срока действия патента:
01.12.2008
(46) Опубликовано: 27.04.2010
(56) Список документов, цитированных в отчете о поиске:
RU 2336625 C1, 20.10.2008. RU 1524758 С, 15.12.1994. ЕР 1670091 A1, 14.06.2006. JP 2006-050334 A, 16.02.2006. US 2004/021531 A1, 05.02.2004.
Адрес для переписки:
197376, Санкт-Петербург, ул. Проф. Попова, 5, СПГЭТУ, патентный отдел, К.И. Берковской
|
(72) Автор(ы):
Буслов Олег Юрьевич (RU), Головков Александр Алексеевич (RU), Кейс Владимир Николаевич (RU), Козырев Андрей Борисович (RU)
(73) Патентообладатель(и):
Государственное образовательное учреждение высшего профессионального образования “Санкт-Петербургский государственный электротехнический университет “ЛЭТИ” (RU)
|
(54) СВЧ АВТОГЕНЕРАТОР
(57) Реферат:
Устройство относится к области радиоэлектроники и представляет собой СВЧ автогенератор, который может использоваться в качестве перестраиваемого генератора в СВЧ синтезаторах частоты, как самостоятельный радиопередатчик в системах локации и передачи информации, а также в системах предупреждения столкновений автомобилей, активных фазированных антенных решетках. Технический результат – уменьшение массогабаритных характеристик автогенератора при сохранении или улучшении его основных параметров за счет введения второй диэлектрической подложки. Достигается тем, что устройство содержит диэлектрическую подложку (1), нижняя поверхность (2) которой металлизирована, а в металлизации выполнено круглое отверстие (3), диаметр которого выбран из условия обеспечения резонанса на его рабочей частоте, а на второй металлизированной поверхности выполнена топология (4) перестраиваемого СВЧ автогенератора, вторую диэлектрическую подложку (5), расположенную под первой диэлектрической подложкой (1) со стороны ее металлизированной поверхности с круглым отверстием (3), контактирующую с металлизацией (2) на нижней поверхности первой диэлектрической подложки (1), расположенный снизу первый металлический экран (6), электрически соединенный с металлизацией (2) на нижней поверхности первой диэлектрической подложки (1), второй металлический экран (7), расположенный сверху и электрически соединенный с металлизацией (2) первой диэлектрической подложки (1). 5 ил.
Устройство относится к области радиоэлектроники и представляет собой СВЧ автогенератор, который может использоваться в качестве перестраиваемого генератора в СВЧ синтезаторах частоты, как самостоятельный радиопередатчик в системах локации и передачи информации, а также в системах предупреждения столкновений автомобилей, активных фазированных антенных решетках, когда активные модули решетки выполняют одновременно функции генерирования и модуляции СВЧ колебаний; а также во многих других случаях, когда необходима генерация СВЧ сигналов с угловой модуляцией с быстрым изменением частоты сигнала.
Известны автогенераторы СВЧ сигнала с электронной перестройкой частоты, в которых для стабилизации частоты автогенератора используются планарные диэлектрические резонаторы, позволяющие сравнительно просто реализовать систему электронной перестройки частоты диэлектрического резонатора. Такие устройства описаны, например, в европейском патенте ЕР 1670091 А1 (Кл. Н01Р 1/20), опубликованном 14.06.2006 (Bulletin 2006/24), и в патенте Российской Федерации RU 2336625 С1 (Кл. МПК Н03В 5/18), опубликованном 20.10.2008. В первом патенте автогенератор содержит в своем составе две металлизированные диэлектрические подложки, одна из которых на одной из сторон содержит топологию автогенератора, при этом другая сторона в металлизации содержит отверстие связи. Вторая диэлектрическая подложка металлизирована с двух сторон, причем в каждой из металлизированных поверхностей имеются отверстия, образующие планарный диэлектрический резонатор. Наличие второй металлизированной подложки приводит к усложнению конструкции автогенератора и увеличению числа технологических циклов при его изготовлении. Во втором патенте рассматриваемый автогенератор, который для снижения диэлектрических потерь в подложке выполнен на подложке с низкой диэлектрической проницаемостью, что приводит к увеличению диаметра планарного диэлектрического резонатора, а следовательно, к возрастанию массогабаритных характеристик устройства.
Конструкция автогенератора, описанная в патенте RU 2336625 С1 (Кл. МПК Н03В 5/18), является наиболее близким по совокупности существенных признаков.
Известное устройство содержит диэлектрическую подложку, на верхней поверхности которой выполнена топология перестраиваемого СВЧ автогенератора, включающая полупроводниковый генерирующий элемент с цепью подачи питания, к которому подключены отрезок микрополосковой линии для связи генерирующего элемента с планарным диэлектрическим резонатором за счет электромагнитного поля, и отрезок микрополосковой линии для вывода энергии СВЧ сигнала в согласованную нагрузку, систему управления частотой планарного диэлектрического резонатора в виде отрезка микрополосковой линии с цепью подачи смещения и варикапом.
Нижняя поверхность подложки металлизирована, и в металлизации выполнено круглое отверстие, диаметр которого выбран из условия обеспечения резонанса на рабочей частоте автогенератора, образующее планарный диэлектрический резонатор. Отрезки микрополосковых линий, выполненных на верхней поверхности подложки относительно отверстия в металлизации нижней поверхности подложки, расположены: первый – по оси, проходящей через центр проекции окружности отверстия в металлизации на вторую поверхность подложки, а второй касается окружности проекции отверстия в металлизации на вторую поверхность подложки, образующей планарный диэлектрический резонатор. Микрополосковые линии связаны с планарным диэлектрическим резонатором за счет электромагнитного поля.
Диэлектрическая подложка заключена в металлизированные экраны, соединенные с металлизацией на нижней поверхности диэлектрической подложки.
Однако это устройство имеет тот недостаток, что в нем, как правило, для снижения диэлектрических потерь используются диэлектрические подложки с низкой диэлектрической проницаемостью, что приводит к увеличению диаметра планарного диэлектрического резонатора и возрастанию массогабаритных характеристик всего устройства. При необходимости снижения размеров устройства единственным путем решения является увеличение диэлектрической проницаемости диэлектрической подложки в автогенераторе, что неизбежно ведет к увеличению диэлектрических потерь в автогенераторе и ухудшению его основных характеристик.
Таким образом, решаемой задачей является создание устройства с улучшенными массогабаритными характеристиками автогенератора при сохранении или улучшении его основных параметров.
Поставленная задача решается за счет того, что предлагаемое устройство так же, как и известное, содержит диэлектрическую подложку, одна из поверхностей которой металлизирована, и в металлизации выполнено круглое отверстие, диаметр которого выбран из условия обеспечения резонанса на его рабочей частоте, а на второй поверхности выполнена топология перестраиваемого СВЧ автогенератора, также верхний и нижний металлические экраны. Но, в отличие от известного устройства, в предлагаемом СВЧ автогенераторе диэлектрическая подложка со стороны металлизированной поверхности, содержащей круглое отверстие, контактирует со второй диэлектрической подложкой, тангенс угла диэлектрических потерь которой не более тангенса угла диэлектрических потерь первой диэлектрической подложки.
Технический результат, достигаемый таким решением, состоит в уменьшении массогабаритных характеристик автогенератора при сохранении или улучшении его основных параметров за счет введения в конструкцию автогенератора второй диэлектрической подложки. Введение второй диэлектрической подложки приводит к большей концентрации электромагнитного поля в объеме диэлектриков за счет снижения полей рассеяния вне диэлектриков. Это, в свою очередь, ведет к увеличению эффективной диэлектрической проницаемости планарного резонатора и снижению СВЧ металлических потерь в металлических экранах, то есть к уменьшению диаметра отверстия планарного диэлектрического резонатора и повышению его собственной добротности.
Изобретение поясняется чертежами, где на фиг.1 схематически показана одна из возможных конструкций заявляемого СВЧ автогенератора. На фиг.2 показано поперечное сечение планарного диэлектрического резонатора. На фиг.3 схематически показана полная конструкция СВЧ автогенератора. На фиг.4 показано распределение электрических составляющих электромагнитного поля в планарном диэлектрическом резонаторе, выполненном на основе одной диэлектрической подложки и двух подложек.
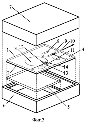
Заявляемое устройство содержит диэлектрическую подложку 1, нижняя поверхность 2 которой металлизирована, а в металлизации выполнено круглое отверстие 3, диаметр которого выбран из условия обеспечения резонанса на его рабочей частоте, а на второй металлизированной поверхности выполнена топология 4 перестраиваемого СВЧ автогенератора, вторую диэлектрическую подложку 5, расположенную под первой диэлектрической подложкой 1 со стороны ее металлизированной поверхности с круглым отверстием 3, контактирующую с металлизацией 2 на нижней поверхности первой диэлектрической подложки 1, расположенный снизу первый металлический экран 6, электрически соединенный с металлизацией 2 на нижней поверхности первой диэлектрической подложки 1, второй металлический экран 7, расположенный сверху и электрически соединенный с металлизацией 2 первой диэлектрической подложки 1.
Первая диэлектрическая подложка 1 со слоем металлизации нижней поверхности 2 с круглым отверстием в нем 3 и со второй диэлектрической подложкой, тангенс угла диэлектрических потерь которой не более тангенса угла диэлектрических потерь первой диэлектрической подложки 1, образуют планарный диэлектрический резонатор, резонансная частота которого равна частоте генерируемых колебаний. Генерируемой частотой определяется диаметр отверстия в металлизации первой диэлектрической подложки.
На фиг.3 приведена более полная схема топологии перестраиваемого СВЧ автогенератора 4, расположенной на второй поверхности первой диэлектрической подложки 1, которая представляет собой U-образный отрезок микрополосковой линии связи 8 планарного диэлектрического резонатора, подключенную одним концом к полупроводниковому генерирующему элементу 9 с цепью подачи питания, расположенную по оси, проходящей через центр проекции окружности отверстия 3 в металлизации 2, так что она касается U-коленом проекции отверстия в металлизации на нижней стороне подложки 1, микрополосковую линию связи 10 для вывода энергии СВЧ сигнала, подключенную одним концом к полупроводниковому генерирующему элементу 9 с цепью подачи питания и расположенную на верхней поверхности подложки 1, второй отрезок микрополосковой линии 11, короткозамкнутый на одном конце, и отрезок микрополосковой линии передачи 12 с цепью смещения на варикап 14, также расположенные на верхней поверхности подложки 1 по оси, проходящей через центр проекции окружности отверстия 3 перпендикулярно U-образному отрезку микрополосковой линии связи 8 планарного резонатора, варикап 14, подключенный в зазоре между короткозамкнутым вторым отрезком микрополосковой линии 11 и отрезком микрополосковой линии передачи 12 с цепью смещения, металлизированное отверстие 13, проходящее через подложку 1 от короткозамкнутого конца второго отрезка микрополосковой линии 11 до металлизации 2.
Заявляемый СВЧ автогенератор работает как известное устройство, описанное в патенте RU 2336625 С1 (Кл. МПК Н03В 5/18).
В предлагаемом устройстве введена вторая диэлектрическая подложка 5, тангенс угла диэлектрических потерь которой не более тангенса угла диэлектрических потерь первой диэлектрической подложки 1, контактирующая с диэлектрической подложкой 1 со стороны металлизированной поверхности 2, содержащей круглое отверстие 3, что приводит к большей концентрации электромагнитного поля в объеме диэлектриков и снижению полей рассеяния вне диэлектриков. На фиг.4а показано распределение электрических составляющих электромагнитного поля в планарном диэлектрическом резонаторе, выполненном на основе одной диэлектрической подложки, а на фиг.4б – на основе двух подложек.
Эффективная диэлектрическая проницаемость планарного резонатора в известном устройстве определяется диэлектрическими проницаемостями первой диэлектрической подложкой 1 и воздушной средой. Электрическое поле рассеяния в воздухе в этом случае может быть весьма значительным (см. фиг.4а). Введение в устройство второй диэлектрической подложки 3 с диэлектрической проницаемостью большей, чем диэлектрическая проницаемость воздушной среды, позволяет сконцентрировать электрическое поле внутри двух диэлектрических подложек, что ведет к увеличению эффективной диэлектрической проницаемости и уменьшению полей рассеяния электрического поля в пространстве вне диэлектриков (см. фиг.4б). Это, в свою очередь, приведет к снижению рабочей частоты автогенератора, если диаметр круглого отверстия 3 планарного диэлектрического резонатора останется неизменным, и, следовательно, для возвращения рабочей частоты автогенератора к прежнему значению требуется уменьшение диаметра отверстия 3 в металлизации 2 планарного диэлектрического резонатора, что, в свою очередь, уменьшает массогабаритные характеристики прибора. Снижение полей рассеяния в предлагаемом варианте устройства приводит также и к уменьшению электрических потерь в металлическом экране 6, что позволит сократить размер между металлическим экраном 6 и планарным диэлектрическим резонатором. Примером предлагаемой конструкции устройства может служить использование диэлектрической подложки 1, выполненной из высокочастотного ламинированного полимерного материала Rogers RO3003 с диэлектрической проницаемостью =3, тангенсом угла диэлектрических потерь tg =1.3·10-3, и второй диэлектрической подложки 5 из высокочастотного поликристаллического материала – поликор с =10 и tg =1·10-4. В результате такой комбинации диаметр планарного диэлектрического резонатора уменьшается примерно в полтора раза, а электромагнитное поле будет сконцентрировано в объеме диэлектрических подложек 1 и 5, что приведет к уменьшению СВЧ потерь в металлических экранах 6, 7 и повышению собственной добротности планарного диэлектрического резонатора. Использование в качестве второй диэлектрической подложки 5 высокочастотного материала с низкой диэлектрической проницаемостью и меньшим тангенсом угла диэлектрических потерь, по сравнению с первой диэлектрической подложкой 1, например с применением полимерного материала Rogers RO3003 ( =3, tg =1.3·10-3) и материала Rogers RO3210 ( =10.2, tg =1.3·10-3), также приведет к уменьшению диаметра и увеличению собственной добротности планарного диэлектрического резонатора.
Описание работы устройства показывает, что использование в конструкции автогенератора второй диэлектрической подложки, расположенной под первой диэлектрической подложкой со стороны ее металлизированной поверхности с круглым отверстием, ведет к уменьшению диаметра отверстия планарного диэлектрического резонатора и, следовательно, к уменьшению массогабаритных характеристик устройства, а повышение собственной добротности резонатора приводит к увеличению стабильности частоты автогенератора и снижению его фазовых шумов.
Предлагаемый СВЧ автогенератор может быть реализован в различных вариантах, позволяющих одновременно генерировать стабильный СВЧ сигнал, осуществлять его угловую модуляцию либо перестройку частоты сигнала.
Формула изобретения
СВЧ автогенератор, содержащий диэлектрическую подложку, одна из поверхностей которой металлизирована и в металлизации выполнено круглое отверстие, диаметр которого выбран из условия обеспечения резонанса на его рабочей частоте, а на второй поверхности выполнена топология перестраиваемого СВЧ автогенератора, также верхний и нижний металлические экраны, отличающийся тем, что диэлектрическая подложка со стороны металлизированной поверхности, содержащей круглое отверстие, контактирует со второй диэлектрической подложкой, тангенс угла диэлектрических потерь которой не более тангенса угла диэлектрических потерь первой диэлектрической подложки.
РИСУНКИ
|
|