|
|
(21), (22) Заявка: 2009103616/28, 03.02.2009
(24) Дата начала отсчета срока действия патента:
03.02.2009
(46) Опубликовано: 27.04.2010
(56) Список документов, цитированных в отчете о поиске:
RU 2050652 C1, 20.12.1995. SU 1023677 A1, 15.06.1983. RU 94005970 A1, 20.08.1995. RU 66541 U1, 10.09.2007.
Адрес для переписки:
398024, г.Липецк, ул. Депутатская, 30, кв.2, В.Л. Банникову
|
(72) Автор(ы):
Банников Виталий Львович (RU)
(73) Патентообладатель(и):
Банников Виталий Львович (RU)
|
(54) ЛАМПА АВТОМАТ С ПОШАГОВЫМ ВКЛЮЧЕНИЕМ (СПОСОБ ЗАЩИТЫ ОСВЕТИТЕЛЬНОЙ ЛАМПЫ НАКАЛИВАНИЯ)
(57) Реферат:
Изобретение относится к электротехнике, а именно к тепловым источникам оптического излучения лампам накаливания. Лампа автомат с пошаговым включением, работающая полностью в автоматическом режиме, может подключаться к электросети с дискретностью в три шага. Сущность изобретения: способ защиты осветительной лампы накаливания, включающий регулирование сопротивления цепи нити накала в переходном режиме путем поочередного замыкания резистивных элементов, соединенных последовательно с нитью накала при помощи термореле (1) и термореле (2), при этом сопротивление цепи нити накала регулируют так, чтобы в каждый момент времени переходного процесса обеспечивалось выполнение соотношения Rн+(R1+R2) Rн*, где Rн – значение сопротивления нити накала в статическом режиме (в холодном состоянии); R1 и R2 – значения сопротивлений резисторов; Rн* – значение сопротивления нити накала в динамическом режиме работы (в горячем состоянии). Технический результат – увеличение срока службы, предохранение от преждевременного перегорания. 15 ил.
Изобретение относится к электротехнике, а именно к тепловым источникам оптического излучения лампам накаливания (ЛН).
Сущность изобретения: способ заключается в том, что регулируют сопротивление цепи нити накала (НН) в переходном режиме (ПР) путем поочередного замыкания резисторов R1 и R2, последовательно соединенных с нитью при помощи термореле (1) и термореле (2), таким образом, чтобы в момент включения лампы накаливания выполнялось равенство Rн+(R1+R2) Rн*, где Rн-значение сопротивления НН ЛН, R1, R2 – значения сопротивлений резисторов, Rн*-значение сопротивления НН ЛН в динамическом режиме работы (3) (в горячем состоянии, в конце ПР).
Описание изобретения.
Изобретение относится к электротехнике, а именно к тепловым источникам оптического излучения лампам накаливания, имеющим защиту нити накала, для предохранения от преждевременного перегорания.
Известен способ включения осветительной лампы в электрическую сеть, включающий регулирование сопротивления цепи нити накала в переходном режиме путем последовательного подключения дополнительного сопротивления, проявляющего свойства полупроводника с отрицательным температурным коэффициентом сопротивления (ТКС) (патент РФ 2050652, 1995). Однако поскольку терморезистор установлен без вмешательства в конструкцию лампы накаливания (вне лампы), то изобретение скорее относится к электроустановочным устройствам (патронам). Такое техническое решение связано с рядом неудобств. Прежде всего установкой вкладыша (терморезистора) должен заниматься специалист, имеющий соответствующие навыки, к тому же потребуется установка вкладыша в каждое электроустановочное устройство (патрон), что потребует материальных затрат и времени. Если же терморезистор установить в непосредственном контакте с источником тепла (нитью накала), то терморезистор будет работать в жестком тепловом режиме, что отрицательно скажется на надежности терморезистора и будет способствовать скорейшему выходу его из строя. К тому же терморезистор должен быть изготовлен из тугоплавких материалов с отрицательным ТКС.
Модель “Лампа автомат с пошаговым включением” освобождена от выше перечисленных недостатков, так как модель “Лампа автомат с пошаговым включением” не содержит электронных элементов (радиодеталей) и отличается от существующих прототипов простотой и оригинальностью технического решения.
Представленная в данном разделе модель “Лампа автомат с пошаговым включением” имеет возможность подключаться к электросети с дискретностью в три шага, то есть при подаче на лампу напряжения питания, яркость света составит 1/3 от номинального значения. Примерно через две секунды термореле (1) замкнет накоротко резистивный элемент (R1) и интенсивность светового излучения составит 2/3, еще через две секунды термореле (2) замкнет накоротко резистивный элемент (R2) и яркость лампы достигнет номинального значения. Весь переходный процесс выполняется лампой полностью в автоматическом режиме. Модель “Лампа автомат с пошаговым включением” имеет абсолютную симметрию расположения конструктивных элементов. Сделано это для того, чтобы уменьшить выделение тепла резистором и равномерно распределить тепловую отдачу резистивных элементов, а также уменьшить массогабаритные показатели резисторов.
«Лампа автомат с пошаговым включением» состоит из цоколя, колбы из светопрозрачного материала, наполненной инертным газом, стеклянного держателя, в который вплавлены провод (1) и провод (2), а также металлические держатели (хомуты) резистивных элементов (резисторов R1; R2). Эти металлические хомуты надеваются на корпуса резисторов R1; R2 и фиксируются при помощи “замка” или заклепки, при этом контактная пластина (1) оказывается пропущенной под кольцом хомутом (1), а контактная пластина (2) оказывается пропущенной под кольцом хомутом (2) соответственно. Таким образом, создается необходимая жесткость контактной пластине (1) и контактной пластине (2). Также хомуты обеспечивают жесткую фиксацию резисторов (помимо провода (1) и провода (2), которые поддерживают резисторы снизу). Раскройка колец (хомутов) приведена на фиг.9. На конце выводы хомутов имеют зазубрины (или отверстия) для лучшего сцепления выводов хомутов со стеклянным держателем (1), в который они вплавляются. Этот хомут изготовлен из целой металлической пластины и имеет “замок”. “Замок” представляет собой прямоугольный выступ, согнутый по линии сгиба под прямым углом, по направлению к пластине с одной стороны, а с другой стороны пластина хомута имеет вырез, в который вставляется прямоугольный выступ, после чего загибается. “Замок” закрыт. Вместо “замка” можно использовать заклепку, в этом случае обе пластины должны иметь сквозное отверстие. На фиг.10 показана раскройка хомута для ЛН на фиг.1б и фиг.1в. Этот хомут состоит из двух металлических пластин и имеет “замки”. “Замки” представляет собой вырезы прямоугольной формы, а на другом конце – прямоугольные выступы, которые входят в прямоугольные вырезы, после чего их необходимо загнуть – “замок” закрыт. Кроме того, этот хомут имеет отверстия для заклепок (пять отверстий). Вместо заклепок можно применить “замки”, описанные выше, или фиксировать любым другим приемлемым способом.
На фиг.8 показаны возможные варианты изготовления резисторов. Корпус резистора представляет собой стеклянную трубку из термостойкого стекла. Внутри стеклянной трубки (1) установлена нихромовая спираль (2) (при необходимости изготовленная по технологии намотки вольфрамовой спирали (для компактного размещения спирали внутри стеклянной трубки)). Площадь поперечного сечения и длина проволоки рассчитываются исходя из мощности лампы и требуемого электрического сопротивления резистивного элемента. Значения сопротивлений резисторов сведены в таблицу 1. Внешне резистор напоминает вставку плавкую (стеклянный предохранитель для бытовой технике). Возможно возникнет необходимость изготовить резисторы по технологии изготовления ЛН (откачать воздух, заполнить стеклянную трубку инертным газом и заплавить). Сделать это нужно для того, чтобы исключить покрывание ионами нихрома (в процессе испарения спирали) внутренней поверхности стеклянной колбы ЛН. Как известно, покрытая изнутри темным зеркальным напылением колба ЛН (вследствие длительной эксплуатации лампы) имеет меньший коэффициент по светоотдаче, а это приводит к снижению КПД ЛН. Если принять вышеперечисленные меры, процесс “старения” лампы будет замедлен. На фиг.1а; 1б; 2; 2а показаны модели “Лампа автомат с пошаговым включением” при использовании резисторов, показанных на фиг.8(а). На фиг.1; 3; 3а показаны модели “Лампа автомат с пошаговым включением” при использовании резисторов с металлическими колпаками, показанных на фиг.8(б). На фиг.1в показана модель “Лампа автомат с пошаговым включением”, в которой используются резистивные элементы, у которых в нижней части металлические колпаки, а в верхней нет.
Тело накала представляет собой вольфрамовую проволоку, свернутую в спираль (по технологии завода-изготовителя).
Новыми деталями в модели являются два резистивных элемента и два термореле (термореле (1) и термореле (2)). Термореле представляет собой металлическую пластину, имеющую свойство совершать механическую работу при изменении температуры. Такие пластины термореле работают во многих теплоэлектрических приборах промышленного и бытового назначения. В качестве примера можно привести несколько приборов, где используются пластины термореле: электроутюги (в качестве реле, реагирующего на изменение температуры, и при значении температуры, определенном регулятором мощности, размыкают цепь), электрофены, электрочайники, тепловентиляторы (в качестве защиты от тепловой перегрузки) и другие электроприборы.
Термореле (1) закреплено на выводе (или оно само является выводом) резистора R1, a термореле (2) закреплено на выводе (или оно само является выводом) резистора R2, методом контактной сварки диффузионно-сплавным или вплавлено в корпус резистора (в случае, когда пластина термореле сама является выводом резистора).
“Лампа автомат с пошаговым включением” имеет эффективную защиту от пускового тока. Система защиты состоит из резистивных элементов R1, R2, термореле (1) и термореле (2). В основу изобретения поставлена задача разработать способ включения осветительной лампы накаливания в электрическую сеть, обеспечивающий эффективное регулирование сопротивления цепи нити накала в переходном режиме (обеспечить защиту вольфрамовой спирали лампы накаливания в момент включения, потому что в момент включения амплитуда пускового тока в 12 – 14 раз превышает номинальное значение потребляемого тока), а также увеличить дискретность, что улучшает эксплуатационные характеристики (улучшает визуальное восприятие переходного процесса).
Сущность изобретения заключается в том, что по способу, включающему регулирование сопротивления цепи нити накала в переходном режиме путем поочередного замыкания последовательно соединенных с нитью накала резистивных элементов (R1, R2) при помощи термореле (1) и термореле (2). Сопротивление нити накала регулируют таким образом, чтобы в момент включения лампы накаливания обеспечивалось выполнение равенства Rн+(R1+R2) Rн*, где Rн – значение сопротивления вольфрамовой спирали лампы накаливания в статическом режиме. R1, R2 – значения сопротивлений резисторов, Rн* – значение сопротивления нити накала в динамическом режиме работы (3) (в конце переходного режима).
Регулирование сопротивления цепи нити накала в переходном режиме путем поочередного замыкания резистивных элементов R1; R2, соединенных последовательно с нитью накала при помощи термореле (1) и термореле (2) таким образом, чтобы в момент включения обеспечивалось выполнение равенства Rн+(R1+R2) Rн*, позволяет гарантированно обеспечить защиту нити накала от пускового тока, значение которого почти в 1.5 порядка превышает амплитудное значение номинального потребляемого тока лампы накаливания.
На фиг.1-4 приведены монтажные чертежи, на которых лампы отличаются только компоновкой конструктивных элементов. Лампы на фиг.1; 1а; 1б; 1в; 2а; 3; 3а отличаются от лампы на фиг.2 тем, что у этих ламп выводы резисторов (они же держатели нити накала) выполняют функции термореле (1) и термореле (2) соответственно. На фиг.4 показан монтажный чертеж миниатюрной “Лампы автомат с пошаговым включением”, предназначенной для осветительных устройств с батарейным питанием, транспортных средств и других вариантов применения. На фиг.5 и 6 приведены графические зависимости, иллюстрирующие следующие физические процессы: переходный процесс установления тока на нити накаливания при отсутствии в ее цепи дополнительного сопротивления, состоящего из резисторов R1 и R2 (фиг.5); переходный процесс установления тока на нити накаливания при включенной системе защиты от пускового тока (фиг.6).
В таблице 1 приведены значения сопротивления добавочных резистивных элементов при напряжении сети U=220 В и температуре вольфрамовой спирали t=2500°C в нагретом состоянии в конце переходного режима (в режиме работы(3)) для серийных ламп накаливания, выпускаемых отечественной промышленностью, расчитанных на мощность от 25 Вт до 500 Вт.
Описание работы модели “Лампа автомат с пошаговым включением”
1. Статический режим работы
В статическом режиме работы напряжения питания на лампе накаливания нет.
Сопротивление нити накала минимально и составляет примерно 1/14 от сопротивления этой спирали в динамическом режиме работы (3) (в нагретом состоянии). В этом режиме термореле (1) и термореле(2) разомкнуты, таким образом резисторы R1 и R2 оказываются соединены последовательно с нитью накала; отсюда следует, что суммарное сопротивление резисторов и нити накала равно сопротивлению нити накала в динамическом режиме работы(3) (в горячем состоянии). Таким образом, обеспечивается выполнение равенства Rн+(R1+R2) Rн*, где Rн – значение сопротивления нити накала лампы накаливания в статическом режиме (в холодном состоянии), R1 и R2 – значение сопротивлений резисторов, выполняющих функцию мощных резистивных элементов, Rн* – значение сопротивления нити накала в динамическом режиме работы(3) (в горячем состоянии).
2. Динамический режим работы (1)
В динамическом работы (1) происходит переход из статического режима работы в динамический. На лампу накаливания будет подано напряжение питания, при этом оба термореле будут разомкнуты, значит напряжение питания будет поступать на нить накала через последовательно соединенные резисторы R1 и R2, которые значительно ослабят амплитуду поступающего на нить накала тока, таким образом, амплитудное значение пускового тока будет равно значению потребляемого номинального тока. В динамическом режиме работы(1) нить накала прогревается так, что ее электрическое сопротивление увеличивается почти до номинального значения, таким образом, в динамическом режиме работы (1) происходит подготовка нити накала к основному (номинальному) режиму работы (3). После такой доработки обычной лампы накаливания ее срок службы увеличится в несколько раз. Лампа накаливания будет служить так долго, что за время эксплуатации в процессе испарения вольфрамовой спирали изнутри колба покроется зеркальным налетом.
В динамическом режиме работы (1) лампа накаливания должна работать не менее одной секунды, иначе вольфрамовая спираль не прогреется до нужной температуры, соответственно ее электрическое сопротивление не увеличится до значения, близкого к номинальному.
Яркость свечения лампы в динамическом режиме работы(1) по визуальному восприятию составит примерно 1/3 от номинального значения.
3. Динамический режим работы (2)
Примерно через две секунды с момента подачи на лампу напряжения питания тепло передано от тела накала пластине термореле (1), и как только порог срабатывания термореле (1) будет достигнут, оно начнет отклоняться и замкнет накоротко резистор R1. Скачок тока, вызванный коротким замыканием резистора R1, не представляет опасности для нити накала, так как вольфрамовая спираль успела прогреться, соответственно ее электрическое сопротивление увеличилось почти до номинального значения, а напряжение питания на нить накала продолжает поступать через резистор R2. Произошел переход лампы накаливания из динамического режима работы (1) в динамический режим работы (2). Температура вольфрамовой спирали становится еще выше, что способствует еще более сильному удержанию термореле (1). Яркость свечения лампы в динамическом режиме работы (2) по визуальному восприятию составит примерно 2/3 от номинального значения.
4. Динамический режим работы (3) (Номинальный режим)
Примерно через две секунды после срабатывания термореле (1) тепло передано пластине термореле (2), и как только порог срабатывания термореле (2) будет достигнут, оно начнет отклоняться и замкнет накоротко резистор R2. Скачок тока, вызванный коротким замыканием резистора R2, не представляет опасности для нити накала, так как электрическое сопротивление вольфрамовой спирали достигло номинального значения в предыдущих режимах работы. Произошел переход лампы накаливания из динамического режима работы (2) в динамический режим работы (3) (в номинальный режим). Температура вольфрамовой спирали становится еще выше, что способствует еще более сильному удержанию термореле (2). В динамическом режиме работы (3) лампа будет работать до отключения питания. Яркость свечения лампы в динамическом режиме работы (3) достигнет номинального значения. При отключении питания, в любой момент времени, из любого режима работы модель “Лампа автомат с пошаговым включением” переходит в статический режим.
О настройке
Термореле (1) и термореле (2) настроены таким образом, что первым всегда срабатывает термореле (1). Настройка термореле заключается в определении времени срабатывания (быстродействии), причем время срабатывания можно устанавливать в широких пределах путем отдаления/сближения пластины термореле от/к телу накала (для лампы на фиг.2). Также пластина термореле должна иметь минимальный зазор между контактной пластиной (чем меньше зазор, тем выше быстродействие). Зазор может быть в пределах 0,5-1 мм, точное значение определяется в процессе настройки. Так как пластина термореле реагирует на изменение температуры, то быстродействие так же будет зависеть от площади поперечного сечения держателей тела накала (для ЛН на фиг.2) и площади поперечного сечения самой пластины термореле (чем меньше, тем выше быстродействие), а также теплопроводимости (меняя соотношение сплава пластины термореле). Оперируя вышеперечисленными факторами, определяют очередность и быстродействие термореле.
Важно временные интервалы от подачи напряжения питания на лампу накаливания до срабатывания термореле (1), а после срабатывания термореле (1) до срабатывания термореле (2) сделать равными для лучшего визуального восприятия переходного процесса. В качестве примера, интервал составляет две секунды (общее время ПР примерно равно пяти секундам).
О замене деталей
Вместо резистора R1 допустимо использовать диод (если температура внутри колбы не вызовет тепловой пробой диода). В этом случае работа лампы несколько изменится, а именно: с момента подачи на лампу напряжения питания до того момента, как сработает термореле (1) и замкнет накоротко диод, она будет мерцать. Считать это явление недостатком не стоит, так как время, в течение которого лампа будет мерцать, составит чуть больше двух секунд, наоборот это явление можно считать дополнительным эффектом, к тому же по размерам диод меньше резистора и поэтому его проще разместить внутри стеклянной колбы лампы накаливания. Если диод применить вместо R2, то время мерцания ЛН составит около четырех секунд. (Диод должен подходить по току и рабочему напряжению в зависимости от мощности лампы и значения электрического сопротивления резистора R1 или R2). При использовании диода вместо одного из резисторов диод поделит напряжение питания на два, а общее сопротивление резисторов уменьшится в два раза, так как R1=R2. Равенство примет вид: I=U/2/(Rн+R1) или I=U/2/(Rн+R2), из соотношений следует равенство пускового тока номинальному с небольшими погрешностями в сторону уменьшения тока ниже номинального.
Примечание: в переходном режиме (с момента подачи на лампу напряжения питания резисторы будут сильно нагреваться, однако время переходного процесса мало и запаса мощности резисторов хватит для преодоления максимальной нагрузки). На фиг.7 приведена электрическая схема (для лампы мощностью 100 Вт), на которой показано падение напряжения на резисторах R1 и R2, а также значение напряжения на нити накала, при U=237 В; Р=100 Вт, в динамическом режиме работы (1) (в начале переходного режима).
Значения сопротивления и тока, приведенные в таблице 1, вычислены при помощи формул:


Пусковой ток: Io=U/Rн.
Номинальный ток: I=U/Rн*,
или I=U/(Rн+R1+R2), или I=U/2/(Rн+R) (при использовании диода вместо резистора R1 или R2).
U=220 В; Wo=0.005; t=2500°C; to=20°C.
| Таблица 1 |
| Мощность, Вт |
Сопротивление |
Ток |
| Rн*, Ом |
Rн, Ом |
R1, Ом |
R2, Ом |
Ном., А |
Пуск., А |
| 25 |
1936 |
144 |
896 |
896 |
0.11 |
1.52 |
| 40 |
1210 |
90 |
560 |
560 |
0.18 |
2.44 |
| 60 |
806 |
60 |
373 |
373 |
0.27 |
3.66 |
| 75 |
645 |
48 |
298 |
298 |
0.34 |
4.58 |
| 100 |
484 |
36 |
224 |
224 |
0.45 |
6.11 |
| 150 |
322 |
24 |
150 |
150 |
0.6S |
9.16 |
| 200 |
242 |
18 |
112 |
112 |
0.9 |
12.22 |
| 300 |
161 |
12 |
75 |
75 |
1.37 |
18.33 |
| 500 |
97 |
7 |
45 |
45 |
2.27 |
31.43 |
Все значения сопротивлений, приведенных в таблице 1, округлены до целого числа.
Новшество заключается в добавлении системы защиты – два резистивных элемента, последовательно соединенных с нитью накала и поочередно замыкаемых при помощи двух термореле в процессе переходного режима.
Комментарий к чертежам
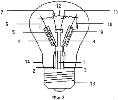
Список конструктивных элементов и их назначение для фиг.1; 1a; 1б; 1в; 2; 2а; 3; 3а (“Лампа автомат с пошаговым включением”)
| 1. Держатель (стекло) |
2. Провод (1) (металл). |
| 3. Провод (2) (металл). |
4. Резистивный элемент (резистор R1). |
| 5. Контактная пластина (1) (металл). |
6. Пластина термореле (1) (металл), |
| 7. Держатель (1) (металл). |
8. Резистивный элемент (резистор R2). |
| 9. Контактная пластина (2) (металл). |
10. Пластина термореле (2) (металл). |
| 11. Держатель (2) (металл). |
12. Нить накала (вольфрамовая спираль). |
| 13. Цоколь (металл). |
14. Колба (стекло). |
| 15. Кольцо (1), фиксирующее (металл) |
16. Кольцо (2), фиксирующее (металл). |
| 17. Хомут (металл) (для лампы фиг.1б; 1в) |
 |
Держатель (1) и держатель (2) предохраняют нить накала от провисания. На фиг.1; 1a; 1б; 1в; 2а; 3; 3а держатели нити накала выполняют функции термореле (1) и термореле (2). В этих лампах нить накала по мере прогревания пластин термореле будет перемещаться вместе с термореле (так как нить имеет непосредственный контакт с пластиной термореле (1) и термореле (2)).
Список конструктивных элементов и их назначение для фиг.4 (миниатюрная “Лампа автомат с пошаговым включением”)
| 1. Держатель (капля стекла) |
2. Провод (1) (металл). |
| 3. Провод (2) (металл). |
4. Резистивный элемент (резистор R1). |
| 5. Контактная пластина (1) (металл). |
6. Пластина термореле (1) (металл), |
| 7. Резистивный элемент (резистор R2). |
8. Контактная пластина (2) (металл). |
| 9. Пластина термореле (2) (металл). |
10. Нить накала (вольфрамовая спираль). |
| 11. Фиксирующее кольцо (1) (металл). |
12. Фиксирующее кольцо (2) (металл). |
| 13. Цоколь (металл). |
14. Колба (стекло). |
На фиг.4 цоколь и колба из светопрозрачного материала не изображены. Миниатюрная “Лампа автомат с пошаговым включением” может быть выполнена в безцокольном варианте.
На фиг.4 держатели нити накала выполняют функции термореле (1) и термореле (2). В этой лампе нить по мере прогревания пластин термореле будет перемещаться вместе с термореле (так как нить накала имеет непосредственный контакт с пластиной термореле (1) и термореле (2)).
На контактные точки АВ подается напряжение питания.
Резисторы R1 и R2 изготовлены из термостойкого диэлектрика (возможно, стекла) и высокоомной проволоки (возможно, нихрома) или любых других материалов, не меняя суть изобретения.
Формула изобретения
Способ защиты осветительной лампы накаливания, включающий регулирование сопротивления цепи нити накала в переходном режиме путем поочередного замыкания резистивных элементов, соединенных последовательно с нитью накала при помощи термореле (1) и термореле (2), отличающийся тем, что сопротивление цепи нити накала регулируют так, чтобы в каждый момент времени переходного процесса обеспечивалось выполнение соотношения Rн+(R1+R2) Rн*, где Rн – значение сопротивления нити накала в статическом режиме (в холодном состоянии); R1 и R2 – значения сопротивлений резисторов; Rн* – значение сопротивления нити накала в динамическом режиме работы (в горячем состоянии).
РИСУНКИ
|
|