|
|
(21), (22) Заявка: 2009101058/28, 14.01.2009
(24) Дата начала отсчета срока действия патента:
14.01.2009
(46) Опубликовано: 27.04.2010
(56) Список документов, цитированных в отчете о поиске:
RU 2275713 С2, 27.04.2006. RU 2096859 C1, 20.11.1997. US 4700099 A, 13.10.1987. US 6022637 A, 08.02.2000.
Адрес для переписки:
443087, г. Самара, пр-кт Кирова, 236, кв.5, В.Н. Ключнику
|
(72) Автор(ы):
Ключник Виталий Николаевич (RU)
(73) Патентообладатель(и):
Ключник Виталий Николаевич (RU)
|
(54) ТЕРМОЭЛЕКТРИЧЕСКИЙ ПРЕОБРАЗОВАТЕЛЬ
(57) Реферат:
Изобретение относится к области производства, преобразования и распределения электрической энергии и может быть использовано в устройствах для прямого преобразования тепловой энергии в электрическую. Термоэлектрический преобразователь содержит плоские спаи разнородных материалов и магнитную систему, причем один из спаев находится в магнитном поле и плоскость спая параллельна вектору магнитной индукции, а второй спай находится вне магнитного поля, или, по крайней мере, в области второго спая составляющая вектора магнитной индукции, параллельная плоскости второго спая, существенно меньше, чем в области первого спая. Потенциальные барьеры в спаях узкие, т.е. перенос электронов через барьеры носит баллистический характер. Технический результат – преобразование тепловой энергии в электрическую с высоким коэффициентом полезного действия. 2 з.п. ф-лы, 4 ил.
Изобретение относится к области производства, преобразования и распределения электрической энергии и может быть использовано в устройствах для прямого преобразования тепловой энергии в электрическую энергию.
Известен термоэлемент (см., например, Кухлинг X. Справочник по физике: Пер. с нем. – М.: Мир, 1983. – 520 с., ил. с.374), содержащий спаи разнородных материалов. Работа термоэлемента основана на возникновении в месте контакта разности потенциалов, обусловленной диффузией на микроскопическом уровне носителей электрического заряда, и зависит от разности работ выхода материалов, образующих спаи, и температур спаев.
Недостатком такого термоэлемента является низкий коэффициент полезного действия.
Наиболее близким по технической сущности является термоэлектрический преобразователь энергии (Патент РФ RU 2275713 С2, H01L 35/00, H01J 45/00. Термоэлектрический преобразователь и способ преобразования тепловой энергии. / ХЭДЖЕЛСТЕЙН Питер Л. (US); КУЧЕРОВ Ян P. (US); Заявлено US 01/07046; 06.03.2001. Опубликовано WO 01/69657; 20.09.2001). Преобразователь содержит эмиттер, коллектор и область промежутка между эмиттером и коллектором, находящуюся в электрическом и тепловом соединении с эмиттером и коллектором. Для использования электрического тока цепь замыкают снаружи с использованием электрической нагрузки. Работа преобразователя основана на использовании баллистического переноса носителей заряда в структурах с узкими потенциальными барьерами.
Недостатком такого преобразователя является низкий коэффициент полезного действия.
Заявляемое изобретение направлено на увеличение коэффициента полезного действия преобразования тепловой энергии в электрическую энергию.
Решение поставленной задачи достигается тем, что в термоэлектрический преобразователь, содержащий плоские спаи разнородных материалов, введена магнитная система, расположенная таким образом, что один спай находится в магнитном поле и плоскость спая параллельна направлению магнитного поля, а второй спай находится вне магнитного поля или, по крайней мере, в области второго спая, составляющая вектора магнитной индукции, параллельная плоскости второго спая, существенно меньше, чем в области первого спая.
Термоэлектрический преобразователь показан на фиг.1 – 4:
фиг.1 – схематическое изображение термоэлектрического преобразователя;
фиг.2 – вид А с фиг.1 (проводники и нагрузка не показаны);
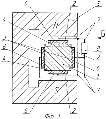
фиг.3 – вариант термоэлектрического преобразователя с взаимно перпендикулярными спаями (показаны две пары спаев, соединенные параллельно);
фиг.4 – вид Б с фиг.3 (токоподводы и нагрузка не показаны).
Преобразователь содержит пластины 1 и 2 из разнородных материалов (например, пластина 1 – полупроводник p-типа, а пластины 2 – полупроводник n-типа), образующие плоские спаи 3 и 4 с узкими потенциальными барьерами. Малая ширина потенциальных барьеров подразумевает преодоление электронами барьеров, в отсутствие магнитного поля, практически без столкновений. В области спая 3 установлена магнитная система 5, создающая магнитное поле, вектор магнитной индукции которого направлен параллельно плоскости спая 3. К поверхностям пластин 1 и 2 посредством омических контактов 6 и проводников 7 присоединена электрическая нагрузка 8.
Преобразователь по фиг.1 и 2 работает следующим образом. В результате переноса (преимущественно баллистического) электронов из пластин 2 в пластину 1 в областях спаев 3 и 4 создаются объемные заряды, положительные в пластинах 2 и отрицательные в пластине 1. Поскольку направление скорости электронов, определяющее их перенос через потенциальный барьер, перпендикулярно направлению магнитного поля, на электроны действует отклоняющая сила. В сильном магнитном поле, обеспечивающем циклотронный (ларморовский) радиус электронов меньше ширины потенциального барьера, баллистический перенос электронов затруднен. Уменьшение баллистического переноса электронов за счет искривления траектории электронов магнитным полем эквивалентно уменьшению баллистического переноса за счет снижения температуры спая.
Масштаб разделения зарядов и, следовательно, контактная разность потенциалов в спае 3 (замагниченном) меньше, чем в спае 4 (незамагниченном), в цепи действует разность потенциалов и через электрическую нагрузку 8 течет ток.
Дрейф носителей заряда в скрещенных магнитном и электрическом полях направлен в плоскости спая и может привести в случае различных концентраций и (или) подвижностей электронов и дырок к появлению разности потенциалов в плоскости спая, направленной перпендикулярно направлению магнитного поля (на фиг.1 – перпендикулярно плоскости листа), однако существенного влияния на контактную разность потенциалов это не окажет.
Обеспечение незамагниченности спая 4, т.е. слабого, не препятствующего баллистическому переносу электронов, магнитного поля в его области, требует большого, сравнимого с расстоянием между полюсами магнитной системы 5, расстояния между спаями 3 и 4, что, учитывая высокое удельное электрическое сопротивление полупроводниковых материалов, приводит к большому внутреннему электрическому сопротивлению преобразователя.
У преобразователя по фиг.3 и 4 оба спая находятся в сильном магнитном поле, однако плоскость спая 4 перпендикулярна направлению вектора магнитной индукции и баллистический перенос электронов происходит вдоль магнитного поля, т.е. спай 4 в отношении влияния магнитного поля на баллистический перенос электронов можно считать незамагниченным.
Предполагаемое устройство позволяет производить преобразование с высоким коэффициентом полезного действия, что позволяет использовать его в качестве источника электрической энергии.
Формула изобретения
1. Термоэлектрический преобразователь, содержащий плоские спаи разнородных материалов, отличающийся тем, что в него введена магнитная система, расположенная таким образом, что один спай находится в магнитном поле и вектор магнитной индукции направлен параллельно плоскости спая, а второй спай находится вне магнитного поля или, по крайней мере, в области второго спая составляющая вектора магнитной индукции, параллельная плоскости второго спая, существенно меньше, чем в области первого спая.
2. Преобразователь по п.1, отличающийся тем, что плоскости спаев взаимно перпендикулярны.
3. Преобразователь по п.2, отличающийся тем, что в него введена дополнительная пара спаев.
РИСУНКИ
|
|