|
|
(21), (22) Заявка: 2009107781/09, 08.08.2007
(24) Дата начала отсчета срока действия патента:
08.08.2007
(30) Конвенционный приоритет:
10.08.2006 JP PCT/JP2006/315853
(46) Опубликовано: 27.04.2010
(56) Список документов, цитированных в отчете о поиске:
JP 10-144189 A1, 29.05.1998. JP 62259326 A, 11.11.1987. JP 8-161954 A, 21.06.1996. RU 2114929 C1, 10.07.1998. SU 147638 A1, 01.01.1962.
(85) Дата перевода заявки PCT на национальную фазу:
10.03.2009
(86) Заявка PCT:
JP 2007/065551 20070808
(87) Публикация PCT:
WO 2008/018515 20080214
Адрес для переписки:
129090, Москва, ул.Б.Спасская, 25, стр.3, ООО “Юридическая фирма Городисский и Партнеры”, пат.пов. Е.В.Поповой, рег. 520
|
(72) Автор(ы):
УЕДА Йосихиса (JP), КОЙКЕ Такео (JP), УРАНО Мицухиро (JP), САТО Сигеми (JP)
(73) Патентообладатель(и):
УБУКАТА ИНДАСТРИЗ КО., ЛТД. (JP)
|
(54) ТЕРМОЧУВСТВИТЕЛЬНЫЙ ПЕРЕКЛЮЧАТЕЛЬ
(57) Реферат:
Изобретение относится к области электротехники. Техническим результатом является повышение срока службы, уменьшение размеров и улучшение характеристики прерывания тока. Термочувствительный переключатель включает в себя герметичный резервуар (2), включающий в себя металлический кожух (3) и основание (4), по меньшей мере, один проводящий штырьковый вывод (10А, 10В), герметично закрепленный в сквозном отверстии (4А, 4В), неподвижный контакт (8), закрепленный на штырьковом выводе (10А, 10В) в резервуаре (2), термочувствительную пластинку (6), один конец которой электрически соединен и закреплен на внутренней поверхности резервуара (2) и направление кривизны которой меняется при заданной температуре на обратное, и, по меньшей мере, один подвижный контакт (7), прикрепленный к другому концу термочувствительной пластинки (6). Как неподвижный контакт (8), так и подвижный контакт (7) содержат контактную деталь с использованием системы серебро-оксид олова-индия. Резервуар (2) заполнен газом с содержанием гелия 50-95%, создающим внутри резервуара (2) давление, которое при комнатной температуре составляет 0,25÷0,8 атм. 11 з.п. ф-лы, 8 ил.
ОБЛАСТЬ ТЕХНИКИ, К КОТОРОЙ ОТНОСИТСЯ ИЗОБРЕТЕНИЕ
Настоящее изобретение относится к термочувствительному переключателю, имеющему механизм переключения контактов, использующий термочувствительную пластинку, например из биметалла, установленную в герметичном резервуаре.
УРОВЕНЬ ТЕХНИКИ ИЗОБРЕТЕНИЯ
Термочувствительные переключатели этого типа раскрыты в патенте Японии 2519530 (документ 1 прототипа) и заявках на патент Японии, опубликованных под JP-A-H10-144189 (документ 2 прототипа), JP-A-2002-352685 (документ 3 прототипа) и JP-A-2003-59379 (документ 4 прототипа). Термочувствительный переключатель, описываемый в каждом документе, содержит термочувствительную пластинку, установленную в герметичном резервуаре, содержащем металлический кожух и основание. При заданной температуре термочувствительная пластинка изменяет направление своей кривизны на обратное. Через основание вставлен электропроводный штырьковый вывод, герметично закрепленный с помощью электроизоляционного наполнителя, например из стекла. К дальнему концу штырькового вывода непосредственно или посредством держателя прикреплен неподвижный контакт, расположенный в герметичном резервуаре. Кроме того, один конец термочувствительной пластинки закреплен посредством держателя на внутренней поверхности герметичного резервуара, а к другому ее концу прикреплен подвижный контакт. Вместе с неподвижным контактом подвижный контакт образует переключающий контакт.
Термочувствительный переключатель установлен в закрытом корпусе герметичного электрического компрессора и используется в качестве устройства тепловой защиты для электродвигателя компрессора. В этом случае обмотки двигателя соединены со штырьковым выводом или основанием. В случае, когда температура вокруг термочувствительного переключателя становится сверхвысокой или при протекании аварийного тока в двигателе, термочувствительная пластинка меняет направление своей кривизны на обратное. При снижении температуры до или ниже заданного значения происходит повторное замыкание контактов и включение питания двигателя компрессора.
РАСКРЫТИЕ ИЗОБРЕТЕНИЯ
ЗАДАЧИ, РЕШАЕМЫЕ ИЗОБРЕТЕНИЕМ
Размыкание контактов термочувствительного переключателя должно осуществляться при каждом возникновении вышеуказанного анормального условия работы на всем протяжении срока службы холодильной установки или кондиционера воздуха, в котором установлен компрессор. В частности, при запуске двигателя с заторможенным ротором или при коротком замыкании между обмотками двигателя термочувствительный переключатель должен обеспечивать прерывание тока, значительно превышающего номинальный ток двигателя. Прерывание такого большого индуктивного тока в результате размыкания контактов приводит к возникновению электрической дуги между этими контактами и вызывает повреждение поверхности контактов под действием тепла, выделяемого дугой. В случае, когда число операций переключения контактов превышает гарантированное число операций, происходит сваривание контактов. При этом для обеспечения прерывания электрической цепи даже после сваривания контактов с целью предотвращения дополнительного развития аварийной ситуации в случае необходимости требуется предпринимать удвоенные меры предосторожности и защиты (например, использовать плавкий участок нагревателя, описываемого в документах 1 и 2 прототипа).
Использование контакта, содержащего кадмий, в последнее время ограничено по экологическим причинам. Однако контакт системы серебро-оксид кадмия (Ag-CdO) имеет малую силу сваривания контактов и поддается меньшему износу под действием электрической дуги. Поэтому контакт системы серебро-оксид кадмия используется в большом числе термочувствительных переключателей. Эквивалентные традиционным термочувствительным переключателям срок службы и характеристика тока прерывания должны в будущем обеспечиваться за счет использования альтернативного материала для формирования контактов. Простая замена контакта системы серебро-оксид кадмия на бескадмиевый контакт приводит к двукратному ухудшению характеристики тока прерывания.
Для обеспечения улучшения характеристики прерывания тока была предложена конструкция, в которой в целях повышения теплоемкости и, следовательно, снижения вероятности возникновения сваривания контактов даже после возникновения электрической дуги увеличен размер контактов. Кроме того, была предложена другая конструкция, в которой увеличены размеры термочувствительной пластинки и, следовательно, увеличена сила, обеспечивающая отделение контактов одного от другого. Однако использование любой из этих конструкций ведет к увеличению размеров термочувствительного переключателя и вызывает трудности при монтаже термочувствительного переключателя в герметичном корпусе компрессора.
Цель настоящего изобретения заключается в создании термочувствительного переключателя с использованием бескадмиевых контактов, имеющего малые размеры, большой срок службы и улучшенную характеристику прерывания тока.
СУЩНОСТЬ ИЗОБРЕТЕНИЯ
В настоящем изобретении предлагается термочувствительный переключатель, используемый для прерывания переменного тока, протекающего через двигатель компрессора, где этот термочувствительный переключатель содержит герметически уплотненный резервуар, включающий в себя металлический кожух и основание, герметично закрывающее кожух со стороны его открытого конца, по меньшей мере, один проводящий штырьковый вывод, вставленный через сквозное отверстие, сформированное в основании, и герметично закрепленный в сквозном отверстии с помощью электроизоляционного наполнителя, неподвижный контакт, закрепленный на штырьковом выводе в резервуаре, термочувствительную пластинку, один из двух концов которой электрически соединен и закреплен на внутренней поверхности резервуара и которой путем вытяжки придана форма тарелки, изменяющей при заданной температуре направление своей кривизны на обратное, по меньшей мере, один подвижный контакт, прикрепленный к другому концу термочувствительной пластинки и образующий вместе с неподвижным контактом, по меньшей мере, одну пару переключающих контактов, причем как неподвижный контакт, так и подвижный контакт содержат контакт системы серебро-оксид олова-индия, а резервуар заполнен газом с содержанием гелия 50-95%, создающим внутри резервуара давление, которое при комнатной температуре составляет 0,25-0,8 атм, а более предпочтительное давление от 0,3 атм до 0,6 атм.
РЕЗУЛЬТАТ ИЗОБРЕТЕНИЯ
Согласно изобретению термочувствительный переключатель является стойким к локальному повреждению под действием электрической дуги, так как появление электрической дуги при размыкании контактов сопровождается ее перемещением по каждому контакту. В результате этого термочувствительный переключатель имеет небольшой размер и увеличенный срок службы и позволяет получить улучшенную характеристику прерывания тока даже при использовании бескадмиевых контактов.
КРАТКОЕ ОПИСАНИЕ ЧЕРТЕЖЕЙ
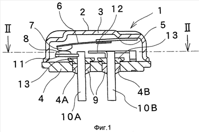
Фиг.1 – продольное сечение термочувствительного переключателя согласно одному примеру осуществления настоящего изобретения;
Фиг.2 – поперечный разрез термочувствительного переключателя, представленного на фиг.1, по линии II-II;
Фиг.3 – вид сбоку термочувствительного переключателя;
Фиг.4 – вид сверху термочувствительного переключателя;
Фиг.5 – график результатов испытаний по определению срока службы при изменении давления газа внутри резервуара;
Фиг.6 – вид состояния поверхностей подвижного контакта (А) и неподвижного контакта (В) по окончании испытаний по определению срока службы при давлении газа внутри резервуара, составляющем 0,5 атм;
Фиг.7 – тот же вид при давлении газа внутри резервуара, составляющем 0,7 атм и
Фиг.8 – тот же вид при давлении газа внутри резервуара, составляющем 1,3 атм.
ПОЯСНЕНИЯ УСЛОВНЫХ ОБОЗНАЧЕНИЙ ССЫЛОЧНЫХ ПОЗИЦИЙ
Позицией 1 обозначен термочувствительный переключатель, позицией 2 – герметичный резервуар, 3a – кожух, 4 – основание, 6 – термочувствительная пластинка, 7 – подвижный контакт, 8 – неподвижный контакт, 9 наполнитель, а 10A и 10B – проводящие штырьковые выводы.
ЛУЧШИЙ ВАРИАНТ ОСУЩЕСТВЛЕНИЯ ИЗОБРЕТЕНИЯ
Ниже со ссылками на чертежи приводится описание одного примера осуществления изобретения. В этом примере осуществления настоящее изобретение используется применительно к устройству тепловой защиты для электродвигателя компрессора. На фиг.3 и 4 представлены виды соответственно сбоку и сверху термочувствительного переключателя, на фиг.1 – его продольное сечение, а на фиг.2 – поперечное сечение термочувствительного переключателя, представленного на фиг.1, по линии II-II. Термочувствительный переключатель 1 содержит герметично уплотненный резервуар 2, включающий в себя металлический кожух 3 и основание 4. Кожух 3 имеет форму удлиненного купола с двумя концами практически сферической формы и соединяющим эти концы средним участком, полученного путем вытяжки железной пластины или т.п. заготовки под прессом. Основание 4, выполненное из более толстой, чем кожух 3 железной пластины, которой придана овальная форма, герметично закрывает кожух 3 со стороны его открытого конца, причем соединение выполнено, например, кольцевой рельефной сваркой.
Один конец термочувствительной пластинки 6 закреплен посредством держателя 5, выполненного в виде металлической пластины, внутри резервуара 2. Термочувствительной пластинке 6 путем вытяжки термочувствительного элемента, например из биметалла или триметалла, придана форма мелкой тарелки, которая при достижении заданной температуры может скачкообразно менять направление своей кривизны на обратное. К другому концу термочувствительной пластинки 6 прикреплен подвижный контакт 7. Часть резервуара 2, на которой закреплен держатель 5, со стороны внешней поверхности подвергнута изгибной деформации, обеспечивающей возможность регулирования рассматриваемого ниже контактного давления между неподвижным контактом 7 и подвижным контактом 8 и последующего калибрования температуры, при которой термочувствительная пластинка 6 меняет направление своей кривизны на обратное, до заданного значения.
Основание 4 имеет два сквозных отверстия 4A и 4B, через которые вставлены электропроводные штырьковые выводы 10A и 10B, герметично закрепленные в этих сквозных отверстиях, путем электрически изолирующего наполнителя 9, такого как стекло или подобного, с учетом коэффициента температурного расширения, с помощью известного усаживаемого герметичного уплотнителя. К участку штырькового вывода 10A вблизи его дальнего конца, расположенного внутри герметически уплотненного резервуара 2, прикреплен держатель 11 контакта. Неподвижный контакт 8 прикреплен к участку держателя 11 контакта, расположенному напротив подвижного контакта 7.
Как подвижный, так и неподвижный контакты 7 и 8 содержат контакт серебро-оксид олова-индия (Ag-(Sn-In)Ox) с содержанием оксидов металлов, составляющим 9,7 мас.%. Каждый контакт 7 или 8 имеет трехслойную структуру, включающую в себя промежуточный слой меди и нижний слой железа. Каждому контакту придана форма диска, диаметр которого составляет 3-5 мм и который имеет слегка выпуклую криволинейную поверхность (образованную в рассматриваемом примере осуществления сферой с радиусом 8 мм).
Один из двух концов нагревателя 12, используемого в качестве нагревательного элемента, закреплен на участке штырькового вывода 10B вблизи его дальнего конца, расположенного внутри герметически уплотненного резервуара 2. Другой конец нагревателя 12 закреплен на основании 4. Нагреватель 12 размещен вдоль штырькового вывода 10B практически параллельно термочувствительной пластинке 6, что обеспечивает эффективную передачу теплоты, выделяемой нагревателем 12, на термочувствительную пластинку 6.
Нагреватель 12 имеет плавкий участок 12A, площадь поперечного сечения которого меньше, чем на других его участках. В случае, когда компрессор, являющийся объектом контроля, работает в нормальном режиме, плавления плавкого участка 12A в результате протекания рабочего тока электродвигателя не происходит. Не плавится плавкий участок 12A и после возникновения заторможенного состояния ротора двигателя, так как термочувствительная пластинка 6 меняет направление своей кривизны на обратное и, тем самым, обеспечивает размыкание контактов 7 и 8 в течение короткого промежутка времени. Однако при повторении операций размыкания и замыкания контактов термочувствительного переключателя 1 в течение длительного периода времени в ряде случаев после достижения гарантированного числа операций переключения происходит сваривание подвижного и неподвижного контактов 7 и 8 одного с другим и, следовательно, их размыкание одного от другого становится невозможным. В этом случае под действием сверхбольшого тока, обусловленного заторможенным состоянием ротора двигателя, температура плавкого участка 12A повышается, что обеспечивает плавление плавкого участка и отключение питания двигателя.
Как указывается ниже, резервуар 2 заполнен газом с содержанием гелия 50-95%, создающим внутри резервуара 2 давление, которое при комнатной температуре составляет 0,25-0,8 атм. Газ, заполняющий резервуар 2, содержит азот, сухой воздух, диоксид углерода и т.п. отличные от гелия компоненты. Заполнение резервуара 2 гелием в качестве инертного газа объясняется следующими причинами. Гелий имеет такую высокую теплопроводность, что после возникновения сверхбольшого тока промежуток времени, требуемый для размыкания контактов 7 и 8 под действием теплоты, выделяемой нагревателем 12, может быть, как описывается в документе 2 прототипа, сокращен (размыкание с кратковременной выдержкой по времени (S/T)). По сравнению с традиционными устройствами тепловой защиты возможно также увеличение минимального значения рабочего тока (предельного тока отключения (UTC)). Кроме того, в случае, когда термочувствительной пластинке 6 в целях усиления ее нагрева придана форма и размеры, обеспечивающие ее высокое сопротивление, заполнение резервуара 2 гелием может обеспечивать эффективный отвод теплоты, выделяемой этой термочувствительной пластинкой 6. Следовательно, указанное выше размыкание с кратковременной выдержкой по времени (S/T) может осуществляться в течение более длительного времени. Однако, так как с увеличением содержания гелия в газе внутри резервуара происходит снижение пробивного напряжения, то в случае питания от обычной сети переменного тока общего пользования напряжением 100-260 В содержание гелия в газе внутри резервуара в предпочтительном варианте составляет 30-95% или, в частности, 50-95%.
Над наполнителем 9, закрепляющим штырьковые выводы 10A и 10B, с плотным прилеганием закреплен термостойкий неорганический изолятор 13, содержащий керамику и диоксид циркония. Форма и размеры термостойкого неорганического изолятора 13 заданы с учетом такой характеристики физической прочности, как, например, устойчивость к поверхностному разряду или устойчивость к нагреву в результате распыления. Поэтому даже при возникновении распыления в процессе расплавления нагревателя 12 и осаждении распыляемых частиц на поверхность термостойкого неорганического изолятора 13 возможно сохранение его изоляционных характеристик на удовлетворительном уровне и, следовательно, предотвращение перемещения электрической дуги, возникающей между плавкими участками, в промежуток между штырьковым выводом 10B и основанием 4 или в промежуток между штырьковыми выводами 10A и 10B.
В случае, когда ток, протекающий в двигателе, представляет собой ток нормального режима работы, включающий в себя кратковременный пусковой ток, контакты 7 и 8 термочувствительного переключателя 1 остаются замкнутыми и работа двигателя продолжается. С другой стороны, в случае, когда в двигателе в результате увеличения нагрузки, прикладываемой к двигателю, непрерывно протекает ток, превышающий ток нормального режима работы, когда в двигателе в течение нескольких секунд непрерывно протекает сверхбольшой кратковременный ток или когда температура охлаждающей среды в герметичном корпусе компрессора становится сверхвысокой, термочувствительная пластинка 6 меняет направление своей кривизны на обратное и, таким образом, обеспечивает размыкание контактов 7 и 8 и прерывание тока в двигателе. Затем, после снижения температуры внутри термочувствительного переключателя 1 термочувствительная пластинка 6 снова меняет направление своей кривизны на обратное, вследствие чего контакты 7 и 8 замыкаются и подача питания на двигатель возобновляется.
Ниже приводится описание оптимизации конструкции термочувствительного переключателя 1 на основе испытаний по определению срока службы. Необходимым условием использования термочувствительного переключателя 1 в качестве устройства тепловой защиты для двигателя компрессора является характеристика прерывания сверхбольшого тока, например кратковременного тока, протекающего в случае возникновения заторможенного состояния ротора, или тока короткого замыкания, протекающего в случае возникновения короткого замыкания между обмотками двигателя. Кроме того, термочувствительный переключатель 1 должен иметь более длительный срок службы, чем у холодильной установки или кондиционера воздуха, в котором будет установлен компрессор, являющийся объектом защиты. Так как термочувствительный переключатель 1 в герметичном кожухе устанавливается в закрытом корпусе компрессора, то с точки зрения установочного пространства и термочувствительности переключатель 1 должен также иметь малые размеры.
В случае размыкания контактов 7 и 8 при протекании сверхбольшого индуктивного тока, например указанного выше кратковременного тока или тока короткого замыкания, между контактами 7 и 8 возникает электрическая дуга. Эффективным средством увеличения срока службы (гарантированного числа операций переключения) и улучшения характеристики прерывания тока термочувствительного переключателя 1 может быть сокращение времени исчезновения дуги или уменьшение повреждений, обусловленных действием дуги. Повреждения, обусловленные действием дуги, в ряде случаев распространятся не только на контакты 7 и 8, но и за пределы контактов, например на термочувствительную пластинку 6.
Известные средства сокращения времени исчезновения дуги включают в себя поддержание повышенного давления или поддержание сверхнизкого давления заполняющего газа (вакуумирование), увеличение межконтактного зазора, установку рогового разрядника, магнитное наведение дуги и срывание дуги. Однако эти средства приводят к значительному снижению эффективности процесса изготовления термочувствительного переключателя 1, усложнению его конструкции и увеличению его размеров. Поэтому использовать эти средства применительно к термочувствительным переключателям для защиты двигателей относительно малых размеров в компрессорах нецелесообразно.
Термочувствительный переключатель 1 согласно примеру осуществления предназначен для защиты двигателей переменного тока, работающих от сети электроснабжения общего пользования. Максимальная продолжительность дуги достигает десяти с лишним мс (полупериод), в то время как ее средняя продолжительность составляет несколько мс. Испытания по определению срока службы проводились при условии обеспечения возможности достижения большого срока службы и улучшенной характеристики прерывания тока путем максимально возможного уменьшения повреждений, обусловленных действием дуги, а не путем сокращения времени исчезновения дуги. Оптимизация конструкции была выполнена на основе результатов испытаний по определению срока службы.
При испытаниях по определению срока службы верхняя часть герметичного корпуса компрессора, в котором установлен двигатель, была срезана, и термочувствительный переключатель 1 был установлен в компрессоре. Затем компрессор был установлен на испытательном стенде, и при условии протекания сверхбольшого тока в двигателе был проведен цикл операций переключения термочувствительного переключателя 1.
Двигатель представлял собой однофазный асинхронный двигатель с номинальным напряжением 220 В (50 Гц), номинальным током 10,8 А и номинальной мощностью 23 Вт. Ротор двигателя был заблокирован. Питание в процессе испытаний осуществлялось напряжением 240 В с частотой 50 Гц. Температура окружающей среды на момент начала испытаний было комнатной (25°С). Кратковременный ток в момент начала испытаний по определению срока службы (когда температура двигателя была комнатной) составил 60 А. В результате повторения операций включения и отключения питания температура двигателя поднялась и достигла равновесия при кратковременном токе 52 А. Минимальный рабочий ток (UTC) термочувствительного переключателя 1, подвергнутого испытаниям по определению срока службы, составил 18,4-25,4 А (120°C), а выдержка времени при размыкании (S/T) контактов 7 и 8 при протекании тока 54 А составила 3-10 с.
Кратковременный ток электродвигателя в несколько раз превышал номинальный ток, а промежуток времени (S/T), необходимый для размыкания контактов 7 и 8, был в результате нагрева двигателя сокращен до нескольких секунд, причем нагреватель 12 и термочувствительная пластинка 6 в термочувствительном переключателе 1 соответствовали описываемым выше. После размыкания контактов 7 и 8 температура внутри термочувствительного переключателя 1 постепенно снижалась и приблизительно через 2 минуты происходило повторное замыкание контактов 7 и 8 и включение питания двигателя. В процессе проведения испытаний по определению срока службы измерялось число нормальных операций переключения в цикле. Каждая операция переключения состояла из включения питания в результате размыкания контактов термочувствительного переключателя 1 и отключения питания (приблизительно в течение 2 мин) в результате размыкания контактов термочувствительного переключателя 1.
В процессе цикла размыкания и замыкания контактов 7 и 8 происходило постепенное повреждение контактов 7 и 8 под действием дуги, возникающей во время размыкания контактов, следствием чего являлось возникновение сваривания контактов. В случае, когда в процессе испытаний по определению срока службы время включения питания (S/T) превышало 10 секунд, принималось решение о сваривании контактов и испытание завершалось. Было установлено, что степень повреждения термочувствительной пластинки 6 под действием дуги зависит от величины межконтактного зазора. Кроме того, так как каждая операция переключения сопровождалась скачкообразным изменением направления кривизны термочувствительной пластинки 6 на обратное, то при сверхбольшом числе переключений в ряде случаев наблюдалось разрушение термочувствительной пластинки 6 в результате усталости еще до сваривания контактов.
На фиг.5 представлены результаты испытаний по определению срока службы при изменении давления газа в герметичном резервуаре 2. По оси абсцисс отложено давление (атмосферное давление (атм)), а по оси ординат – число операций переключения до возникновения сваривания контактов. На фиг.5 представлены измеренные значения и кривая интерполяции минимальных значений для множества образцов. В состав газа внутри резервуара входило 90% гелия и 10% сухого воздуха. Как подвижный, так и неподвижный контакты 7 и 8 были образованы контактом системы серебро-оксид олова-индия с содержанием оксидов металлов, составившим 9,7 мас.%, и имели трехслойную структуру, включающую в себя промежуточный слой, содержащий медь, и нижний слой, содержащий железо, полученные путем осаждения и совместного прессования с композицией серебро-оксид олова-индия. Каждому контакту была придана форма диска диаметром 4 мм и толщиной 0,9 мм, имеющего контактную поверхность в форме сферы с радиусом 8 мм. Межконтактный зазор составил 1,0 мм. Температура изменения направления кривизны термочувствительной пластинки 6 на обратное при размыкании контактов составила 160°C, а при замыкании контактов – 90°C.
Согласно результатам испытаний по определению срока службы, как показано на фиг.5, число операций переключения достигало максимального значения (не ниже 23000) при давлении приблизительно 0,4 атм и постепенно снижалось с повышением давления. При давлении 0,6 атм число операций переключения составило приблизительно 20000 (минимальное значение выборки), а при давлении 0,8 атм – приблизительно 15000 (минимальное значение выборки). При давлении выше 1,3 атм число операций переключения оставалось практически постоянным и составило 7000 (минимальное значение выборки). С другой стороны, при снижении давления приблизительно с 0,4 атм до приблизительно 0,3 атм число операций переключения постепенно уменьшалось. При давлении 0,3 атм и ниже наблюдалось быстрое уменьшение числа операций переключения, которое при 0,25 атм составило приблизительно 15000 (минимальное значение выборки), при 0,2 атм составило приблизительно 8000 (минимальное значение выборки), а при 0,1 атм – приблизительно 2000 (минимальное значение выборки).
В частности, как показано на фиг.5 штрихпунктирной линией и стрелкой, при давлении газа внутри резервуара в диапазоне 0,25-0,8 атм термочувствительный переключатель 1 с описываемой выше структурой позволяет обеспечить число операций переключения, составляющее по меньшей мере не менее 15000. При давлении же в диапазоне 0,3-0,6 атм может быть гарантировано по меньшей мере не менее 20000 операций переключения.
На фиг.6, 7 и 8 представлены фотографии поверхностей подвижного контакта 7 (A-1-A-3) и неподвижного контакта 8 (B-1-B-3) после завершения испытаний по определению срока службы при давлении газа внутри резервуара, составившем соответственно 0,5, 0,7 и 1,3 атм. При относительно высоком давлении газа внутри резервуара, составляющем порядка 1,3 атм (фиг.8), происходит остановка дуги на одном участке каждого контакта. Поэтому поверхность каждого контакта подвергается локальному расплавлению, вследствие которого формируется выступ. Можно предположить, что осаждение участка выступа происходит беспрепятственно и поэтому срок службы сокращается. С другой стороны, при относительно низком давлении газа внутри резервуара, порядка 0,5 атм (фиг.6) или 0,7 атм (фиг.7), происходит перемещение дуги по поверхности каждого контакта без остановки на одном участке. Можно предположить, что в результате равномерного износа поверхности контактов срок службы увеличивается и происходит подавление процессов формирования выступа и сваривания контактов.
Однако при снижении давления газа внутри резервуара до уровня, при котором дуга может легко перемещаться, существует вероятность ее перемещения за пределы зазора между контактами 7 и 8. В случае, когда дуга, возникающая между контактами 7 и 8, распространяется на термочувствительной пластинке 6, термочувствительная пластинка 6 повреждается так, что срок службы не увеличивается, а уменьшается. Кроме того, недостаточное пробивное напряжение приводит к продолжению существования дуги даже при переходе тока через нуль. В этом случае срок службы чрезвычайно уменьшается. Чрезвычайное уменьшение числа операций переключения при давлении 0,1 атм на фиг.5 является, главным образом, результатом двух указанных выше причин. Поэтому верхний предел межконтактного зазора задается как значение, позволяющее в зависимости от снижения давления газа внутри резервуара предотвратить перемещение дуги за пределы контактов. С другой стороны, нижний предел межконтактного зазора определяется в зависимости требуемого пробивного напряжения. В результате анализа результатов экспериментов было установлено, что предпочтительный диапазон значений межконтактного зазора для термочувствительного переключателя 1 согласно примеру осуществления составляет 0,7-1,5 мм.
В процессе изменения направления кривизны термочувствительной пластинки на обратное при размыкании контактов 7 и 8 конец термочувствительной пластинки 6 со стороны подвижного контакта соприкасается с внутренней поверхностью кожуха 3 и дальнейшее изменение направления кривизны термочувствительной пластинки 6 прекращается. С другой стороны, конструкцией термочувствительного переключателя 1 может быть предусмотрено увеличенное расстояние между внутренней поверхностью кожуха 3 и верхней поверхностью термочувствительной пластинки 6, вследствие чего прекращения изменения направления ее кривизны посредине операции происходить не будет. В случае, когда термочувствительный переключатель 1 имеет указанную выше конструкцию, в результате скачкообразного изменения направления силы действия термочувствительной пластинки 6 контакты 7 и 8 могут расходиться один от другого на большее расстояние. Несмотря на то что эта конструкция считается эффективной для гашения дуги, термочувствительная пластинка 6, если не ограничивать процесс изменения направления ее кривизны на обратное, легко ломается и срок ее службы чрезвычайно уменьшается. Поэтому указанный выше верхний предел межконтактного зазора, составляющий 1,5 мм, является значением, задаваемым в конструкции как расстояние, необходимое для того, чтобы конец термочувствительной пластинки 6 со стороны подвижного контакта соприкасался с внутренней поверхностью кожуха 3 посредине операции изменения направления кривизны на обратное.
Как описывается выше, термочувствительный переключатель 1 согласно примеру осуществления содержит установленные в герметичном резервуаре 2 неподвижный контакт 8, закрепленный на проводящем штырьковом выводе 10A, термочувствительную пластинку 6, направление кривизны которой меняется в зависимости от температуры на обратное, и подвижный контакт 7, соединенный со свободным концом термочувствительной пластинки 6. Как подвижный, так и неподвижный контакты 7 и 8 содержат контакт системы серебро-оксид олова-индия. Резервуар 2 заполнен газом, содержащим 50-95% гелия, создающим внутри резервуара 2 давление, составляющее при комнатной температуре 0,25-0,8 атм или, в более предпочтительном варианте, 0,3-0,6 атм.
В такой конструкции электрическая дуга, возникающая при размыкании контактов 7 и 8, перемещается по поверхности контактов, и это приводит к равномерному износу поверхностей контактов. При этом подавление процесса сваривания контактов позволяет увеличить срок службы, несмотря на использование бескадмиевых контактов. Причем каждый из контактов 7 и 8 характеризуется сроком службы, эквивалентным сроку службы традиционного кадмиевого контакта (например, контакта системы серебро-оксид кадмия). Кроме того, так как резервуар 2 заполнен гелием, имеющим хорошую теплопроводность, то промежуток времени, необходимый для размыкания контактов 7 и 8 после начала протекания сверхбольшого тока, например кратковременного тока, может быть сокращен (или увеличен в зависимости от конструкции), а номинальный рабочий ток может быть увеличен. Содержание гелия в газе внутри резервуара оказывает относительно слабое влияние.
В этом случае, так как заданный межконтактный зазор составляет не менее 0,7 мм, то требуемое пробивное напряжение может быть обеспечено при питании от сети электроснабжения общего пользования. Кроме того, так как заданный межконтактный зазор не превышает 1,5 мм, то это позволяет в максимально возможной степени предотвратить распространение дуги за пределы зазора между контактами 7 и 8 и в результате подавления процесса возникновения повреждений периферийных компонентов типа термочувствительной пластинки 6, обусловленных действием дуги, позволяет предотвратить уменьшение срока службы. Кроме того, в случае, когда заданный межконтактный зазор не превышает 1,5 мм, конец термочувствительной пластинки 6 со стороны подвижного контакта соприкасается с внутренней поверхностью кожуха 3 посередине операции размыкания контактов. Это позволяет предотвратить чрезмерное смещение термочувствительной пластинки 6 в результате скачкообразного изменения направления ее кривизны на обратное, а также возникновение последующих колебаний и, как следствие, предотвратить уменьшение срока службы.
В качестве каждого из контактов – подвижного и неподвижного контактов 7 и 8 – использован диск диаметром 3-5 мм. С увеличением размеров каждого контакта срок службы каждого контакта в условиях теплового воздействия дуги увеличивается. Однако так как основным материалом каждого контакта является серебро, то это приводит к значительному возрастанию их стоимости. И наоборот, преимуществом использования контакта малого размера является снижение стоимости каждого контакта. Однако в процессе экспериментов было подтверждено, что для обеспечения требуемой долговечности при токе 60 А минимальный диаметр каждого контакта должен составлять 3 мм. Поэтому возможно использование контактов, диаметр каждого из которых составляет не менее 5 мм, например 6 мм, и это позволяет увеличить срок службы. Непрактичным такой контакт является с точки зрения стоимости и размеров термочувствительного переключателя.
Таким образом, увеличения срока службы и улучшения характеристики прерывания тока термочувствительного переключателя 1 удается достичь без увеличения размеров контактов 7 и 8 и термочувствительной пластинки 6. Поэтому термочувствительный переключатель 1 без труда можно разместить в герметичном корпусе двигателя компрессора, и, следовательно, такой термочувствительный переключатель удовлетворяет требованиям, предъявляемым к устройству тепловой защиты для двигателя компрессора.
Изобретение не ограничивается описываемым выше примером осуществления. Возможна, например, следующая модификация примера осуществления. Герметичный резервуар 2 заполнен газом с содержанием гелия 50-95%, создающим внутри резервуара 2 давление, которое при комнатной температуре составляет 0,25-0,8 атм. Межконтактный зазор, форма и размер контактов 7 и 8, несмотря на обязательность этих признаков, не ограничиваются указанными выше областями числовых значений.
Форма герметичного резервуара 2 не ограничивается формой удлиненного купола. Например, в случае, когда ребра жесткости, ориентированные в направлении длины герметичного резервуара 2, позволяют достичь определенной прочности, герметичный резервуар может иметь или не иметь форму удлиненного купола. Основание 5 закреплено на одном конце герметичного резервуара 2, однако в случае дальнейшего уменьшения размеров термочувствительного переключателя термочувствительная пластинка 6 может быть установлена примерно в центре герметичного резервуара 2. Основание 5 может быть выполнено в форме кнопки и может вообще отсутствовать.
Нагреватель 12 и термостойкий неорганический изолятор 13 являются необязательными компонентами. Несмотря на то что основание 4 снабжено двумя штырьковыми выводами 10A и 10B, возможно использование только одного штырькового вывода, а металлическое основание 4 может служить другим выводом.
Переключающих контактов 7 и 8 может быть две или несколько пар. По меньшей мере, один из контактов – подвижный контакт 7 или неподвижный контакт 8 – может иметь выпуклую криволинейную поверхность. Кроме того, на вершине этой выпуклой криволинейной поверхности может быть плоский участок.
Двигатель, применительно к которому термочувствительный переключатель используется в качестве устройства тепловой защиты, не ограничивается однофазным асинхронным двигателем, а может включать в себя трехфазные асинхронные двигатели. Кроме того, термочувствительный переключатель может использоваться применительно к электродвигателям других типов, например к двигателям, питание которых осуществляется напряжением переменного тока, типа синхронных двигателей.
ПРОМЫШЛЕННАЯ ПРИМЕНИМОСТЬ
Как описывается выше, термочувствительный переключатель согласно изобретению целесообразно использовать в качестве устройства тепловой защиты для двигателя компрессора.
Формула изобретения
1. Термочувствительный переключатель, используемый для прерывания переменного тока, протекающего через двигатель компрессора, причем термочувствительный переключатель содержит: герметизированный резервуар (2), включающий в себя металлический кожух (3) и основание (4), герметично закрывающее кожух (3) со стороны его открытого конца; по меньшей мере, один проводящий штырьковый вывод (10А, 10В), вставленный через сквозное отверстие (4А, 4В), сформированное в основании (4), и герметично закрепленный в сквозном отверстии (4А, 4В) с помощью электроизоляционного наполнителя (9); неподвижный контакт (8), закрепленный на штырьковом выводе (10А, 10В) в резервуаре (2); термочувствительная пластинка (6), один из двух концов которой электрически соединен и закреплен на внутренней поверхности резервуара (2) и которой путем вытяжки придана форма тарелки, изменяющей при заданной температуре направление своей кривизны на обратное; по меньшей мере, один подвижный контакт (7), прикрепленный к другому концу термочувствительной пластинки (6) и образующий вместе с неподвижным контактом (8), по меньшей мере, одну пару переключающих контактов; причем как неподвижный контакт (8), так и подвижный контакт (7) содержит контакт системы серебро-оксид олова-индия, а резервуар (2) заполнен газом с содержанием гелия 50-95%, создающим внутри резервуара (2) давление, которое при комнатной температуре составляет 0,25-0,8 атм.
2. Термочувствительный переключатель по п.1, в котором резервуар (2) заполнен газом, создающим внутри резервуара (2) давление, которое при комнатной температуре ранжирует от 0,3 до 0,6 атм.
3. Термочувствительный переключатель по п.1, в котором межконтактный зазор между подвижным контактом (7) и неподвижным контактом (8) в разомкнутом состоянии составляет не менее 0,7 мм, вследствие чего при размыкании контактов термочувствительная пластинка (6) соприкасается с внутренней поверхностью резервуара (2) и дальнейшее изменение направления ее кривизны ограничивается.
4. Термочувствительный переключатель по п.2, в котором межконтактный зазор между подвижным контактом (7) и неподвижным контактом (8) в разомкнутом состоянии составляет не менее 0,7 мм, вследствие чего при размыкании контактов термочувствительная пластинка (6) соприкасается с внутренней поверхностью резервуара (2) и дальнейшее изменение направления ее кривизны ограничивается.
5. Термочувствительный переключатель по п.1, в котором как неподвижному контакту (8), так и подвижному контакту (7) придана форма диска, диаметр которого составляет 3-5 мм.
6. Термочувствительный переключатель по п.2, в котором как неподвижному контакту (8), так и подвижному контакту (7) придана форма диска, диаметр которого составляет 3-5 мм.
7. Термочувствительный переключатель по п.3, в котором как неподвижному контакту (8), так и подвижному контакту (7) придана форма диска, диаметр которого составляет 3-5 мм.
8. Термочувствительный переключатель по п.4, в котором как неподвижному контакту (8), так и подвижному контакту (7) придана форма диска, диаметр которого составляет 3-5 мм.
9. Термочувствительный переключатель по п.5, в котором, по меньшей мере, один из неподвижного контакта (8) и подвижного контакта (7) имеет выпуклую криволинейную поверхность.
10. Термочувствительный переключатель по п.6, в котором, по меньшей мере, один из неподвижного контакта (8) и подвижного контакта (7) имеет выпуклую криволинейную поверхность.
11. Термочувствительный переключатель по п.7, в котором, по меньшей мере, один из неподвижного контакта (8) и подвижного контакта (7) имеет выпуклую криволинейную поверхность.
12. Термочувствительный переключатель по п.8, в котором, по меньшей мере, один из неподвижного контакта (8) и подвижного контакта (7) имеет выпуклую криволинейную поверхность.
РИСУНКИ
|
|