|
|
(21), (22) Заявка: 2007115404/09, 13.09.2005
(24) Дата начала отсчета срока действия патента:
13.09.2005
(30) Конвенционный приоритет:
24.09.2004 DE 102004047276.9
(43) Дата публикации заявки: 27.10.2008
(46) Опубликовано: 27.04.2010
(56) Список документов, цитированных в отчете о поиске:
US 2004/144757 A1, 29.07.2004. RU 2060026 C1, 20.05.1996. US 6172317 B1, 09.01.2001. DE 10249614 В3, 19.05.2004.
(85) Дата перевода заявки PCT на национальную фазу:
24.04.2007
(86) Заявка PCT:
EP 2005/054543 20050913
(87) Публикация PCT:
WO 2006/032618 20060330
Адрес для переписки:
129090, Москва, ул. Б.Спасская, 25, стр.3, ООО “Юридическая фирма Городисский и Партнеры”, пат.пов. С.А.Дорофееву
|
(72) Автор(ы):
ФОЛЬКМАР Ральф-Райнер (DE)
(73) Патентообладатель(и):
СИМЕНС АКЦИЕНГЕЗЕЛЛЬШАФТ (DE)
|
(54) САМОКЛЕЯЩИЙСЯ ЭЛАСТОМЕРНЫЙ СЛОЙ В ИЗОЛИРОВАННЫХ ТВЕРДЫМ ЭЛЕКТРОИЗОЛЯЦИОННЫМ МАТЕРИАЛОМ ПОЛЮСАХ ВЫКЛЮЧАТЕЛЯ
(57) Реферат:
Изобретение касается изолированного твердым электроизоляционным материалом полюса выключателя (1) с электрически непроводящим и стабильным по форме корпусом (2) из электроизоляционного материала, в котором расположена коммутационная (дугогасительная) камера (4), которая содержит неподвижную контакт-деталь, а также лежащую противоположно ей на стороне привода и установленную с возможностью продольного движения подвижную контакт-деталь. Корпус (2) со стороны привода является открытым, чтобы позволить ввод приводного движения в подвижную контакт-деталь. Между коммутационной (дугогасительной) камерой (4) и корпусом (2) расположена упругая амортизирующая прокладка (10). Упругая амортизирующая прокладка (10) имеет такие характеристики самоклейкости, что как с коммутационной (дугогасительной) камерой (4), так и с корпусом (2) из электроизоляционного материала в распоряжение предоставлено поверхностное соединение, разъединяемое только абразивно. Технический результат – упрощение изготовления и повышение электрической прочности за счет исключения воздушных включений между корпусом и камерой. 8 з.п. ф-лы, 1 ил.
Изобретение относится к изолированному твердым электроизоляционным материалом полюсу выключателя с электрически непроводящим и стабильным по форме корпусом из электроизоляционного материала, в котором расположена коммутационная (дугогасительная) камера, которая имеет неподвижную контакт-деталь, а также лежащую противоположно со стороны привода и установленную с возможностью продольного движения подвижную контакт-деталь, причем корпус из электроизоляционного материала является открытым со стороны привода, чтобы сделать возможным ввод приводного движения в подвижную контакт-деталь, и причем между коммутационной (дугогасительной) камерой и корпусом из электроизоляционного материала расположена упругая амортизирующая прокладка.
Подобный полюс выключателя уже известен из ЕР 0866481 А2. Раскрытый там полюс выключателя содержит жесткий или, другими словами, стабильный по форме корпус из электроизоляционного материала, в котором закреплена вакуумная дугогасительная камера. Вакуумная камера имеет стационарную неподвижную контакт-деталь, которая жестко связана с соединительной деталью, выходящей наружу из корпуса из электроизоляционного материала. Противоположно неподвижной контакт-детали расположена подвижная контакт-деталь, которая установлена с возможностью продольного движения относительно неподвижной контакт-детали. При этом неподвижная контакт-деталь и подвижная контакт-деталь вдаются внутрь вакуумной дугогасительной камеры. В вакуумной дугогасительной камере имеет место вакуум, который поддерживает гашение электрической дуги, тянущейся между контакт-деталями при открывании. Чтобы сделать возможным ввод приводного движения в подвижную контакт-деталь, корпус из электроизоляционного материала содержит со стороны привода входное отверстие, сквозь которое проходит оперативная штанга, которая через целесообразную рычажную механику связана с приводным агрегатом. Подвижная контакт-деталь связана через гибкий ленточный провод со второй соединительной деталью, которая также выведена из корпуса из изоляционного материала и тем самым может контактироваться снаружи. Во включенном состоянии подвижная контакт-деталь прилегает к неподвижной контакт-детали так, что между выведенными из корпуса из электроизоляционного материала соединительными деталями создано проводящее соединение. Для прерывания прохождения тока контакт-детали разделяют друг от друга посредством ввода приводного движения, причем электрическая дуга гасится при прохождении через нуль тока вакуумной дугогасительной камеры.
Для избежания воздушных включений и тем самым высоких пиков напряжения между вакуумной дугогасительной камерой и стабильным по форме корпусом из электроизоляционного материала предусмотрена упругая амортизирующая прокладка из этилен-пропилена, каучука, кремнийорганического полимера (силикона) или кремнийорганического каучука. Упругая амортизирующая прокладка выравнивает различные тепловые коэффициенты вакуумной камеры и предотвращает таким образом образование трещин в жестком корпусе из электроизоляционного материала. Для изготовления изолированного твердым электроизоляционным материалом полюса выключателя упругую амортизирующую прокладку накладывают в виде усаживаемого рукава на вакуумную камеру. После этого вакуумную дугогасительную камеру заливают способом фасонного литья в корпус из электроизоляционного материала.
Известному изолированному твердым электроизоляционным материалом полюсу выключателя присущ тот недостаток, что, несмотря на упругую амортизирующую прокладку, могут появляться воздушные включения. Вследствие возникающих при этом пиков напряжения существует, в частности, при высоких напряжениях опасность токов утечки по поверхности или частичных разрядов.
Из DE 2240106 является известным проходной изолятор большой мощности с герметизированным в корпусе вакуумным выключателем. При этом вакуумная дугогасительная камера полностью заделана в изолирующий корпус проходного изолятора. Для избежания образования трещин вследствие теплового расширения между стабильным по форме изолирующим корпусом и вакуумной дугогасительной камерой предусмотрена упругая амортизирующая прокладка. Для изготовления проходного изолятора вакуумную дугогасительную камеру выключателя покрывают слоем из упругого материала, который является, например, клеящим материалом или материалом замазки. После этого на вакуумную камеру напрессовывают эпоксидную смолу корпуса из электроизоляционного материала. Раскрытая там упругая амортизирующая прокладка является гибкой и прилипает как к вакуумной камере, так и к герметизирующему корпусу из электроизоляционного материала. Вследствие способа изготовления толщина упругой амортизирующей прокладки составляет между 1 мм и порядка 6 мм. В качестве материала для упругой амортизирующей прокладки приведены полиуретаны и полисульфиды.
Задачей изобретения является предоставление в распоряжение изолированного твердым электроизоляционным материалом полюса выключателя, названного вначале вида, который является простым в изготовлении и в котором исключаются воздушные включения между коммутационной (дугогасительной) камерой и корпусом из электроизоляционного материала.
Изобретение решает эту задачу за счет того, что упругая амортизирующая прокладка имеет такие свойства самоклейкости, что как с коммутационной (дугогасительной) камерой, так и с корпусом из электроизоляционного материала в распоряжение предоставлено поверхностное соединение, разъединяемое только абразивно.
Упругая амортизирующая прокладка согласно изобретению выполнена из самоклеющегося материала, что развивает такое высокое поверхностное сцепление на стабильном по форме корпусе из электроизоляционного материала, с одной стороны, и корпусом коммутационной (дугогасительной) камеры, с другой стороны, что даже в случае более продолжительных времен эксплуатации избегается возникновение воздушных включений между корпусом из электроизоляционного материала и коммутационной (дугогасительной) камерой. Вследствие сильного сцепляющего действия получается надежное крепление коммутационной (дугогасительной) камеры в корпусе из электроизоляционного материала. По этой причине можно выбирать параметры корпуса из электроизоляционного материала так, что является возможным более позднее встраивание коммутационной (дугогасительной) камеры в корпус из электроизоляционного материала. Согласно изобретению поэтому является возможным изготавливать независимо друг от друга корпус из электроизоляционного материала и вакуумную дугогасительную камеру, после этого крепить вакуумную дугогасительную камеру в корпусе из электроизоляционного материала и, наконец, окружать упругой амортизирующей прокладкой, которая позволяет жесткое и одновременно упругое крепление вакуумной дугогасительной камеры. Под понятием абразивный в рамках изобретения следует понимать, что поверхностное сцепление упругой амортизирующей прокладки как с коммутационной (дугогасительной) камерой, так и с корпусом из электроизоляционного материала является больше, чем прочность на разрыв и/или на разрастание трещин упругой амортизирующей прокладки.
Предпочтительным образом самоклейкость упругой амортизирующей прокладки предоставлена в распоряжение также на необработанных поверхностях. Сложное использование поверхностной обработки первичными грунтовочными покрытиями или тому подобным для предоставления в распоряжение сцепляющего действия тем самым согласно изобретению отпадает, за счет чего расходы на изготовление могут быть снижены еще больше.
Целесообразно упругая амортизирующая прокладка имеет электрическую прочность по крайней мере 20 кВ/мм. За счет этой высокой электрической прочности предоставляется в распоряжение компактная конструкция соответствующего изобретению изолированного твердым электроизоляционным материалом полюса выключателя.
Целесообразно твердость упругой амортизирующей прокладки имеет значения по Шору 00 или по Шору А между 30 и 40.
Удлинение при разрыве лежит целесообразно между 120 и 500%.
Предпочтительным образом упругая амортизирующая прокладка является беспористой. За счет беспористости избегается появление пиков напряжения.
В случае коммутационной (дугогасительной) камеры выключателя предпочтительным образом речь идет о вакуумной дугогасительной камере, которая, например, состоит из цилиндрического керамического корпуса, который на торцовых сторонах закрыт двумя металлическими крышками. Металлические крышки соответственно пронизываются несущими контактные детали контактными штангами, причем неподвижная контакт-деталь жестко соединена с соответствующей ей металлической крышкой. Лежащая против неподвижной контакт-детали в продольном направлении подвижная контакт-деталь соединена с торцовой крышкой посредством металлического сильфона так, что она направляется подвижно вдоль относительно неподвижной контакт-детали. Подвижная контакт-деталь через частично изолирующие оперативные штанги, а также через рычажную механику соединена с приводным агрегатом, приводное движение которого вводится в подвижную контакт-деталь.
Стабильный по форме корпус из электроизоляционного материала состоит, например, из литьевой смолы.
Дальнейшие целесообразные формы выполнения и преимущества изобретения являются предметом последующего описания примеров выполнения изобретения со ссылкой на чертеж, причем
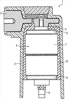
Чертеж показывает пример выполнения соответствующего изобретению полюса выключателя, изолированного твердым электроизоляционным материалом, в виде сбоку в сечении.
Чертеж показывает в виде поперечного сечения пример выполнения соответствующего изобретению полюса выключателя 1, изолированного твердым электроизоляционным материалом. Изолированный твердым электроизоляционным материалом полюс выключателя 1 предусмотрен для прерывания прохождения тока в одной фазе сети напряжения трехфазного тока. Так как обычные сети напряжения трехфазного тока содержат три фазы, в распространенных выключателях предусмотрены обычно три установленных рядом друг с другом изолированных твердым электроизоляционным материалом полюса выключателя 1, которые соединены с общим приводным агрегатом.
Представленный изолированный твердым электроизоляционным материалом полюс выключателя 1 содержит сформованный из эпоксидной смолы или, другими словами, из литьевой смолы корпус из электроизоляционного материала 2, в котором закреплены верхняя соединительная деталь 3 и не представленная на чертеже средняя соединительная деталь. В корпусе из электроизоляционного материала 2 можно видеть далее вакуумную дугогасительную камеру 4, которая через штангу неподвижной контакт-детали 5 жестко соединена с соединительной деталью 3. Штанга неподвижной контакт-детали 5 пронизывает выполненную из меди торцовую крышку 6, причем на своем расположенном внутри вакуумной дугогасительной камеры 4 конце она несет не представленную на чертеже неподвижную контакт-деталь. Торцовая крышка 6 соединена вакуум-плотно с выполненным из керамики полым цилиндрическим вакуумным корпусом 1, который содержит на своей противоположной первой торцовой крышке 6 стороне вторую торцовую крышку 8, которая, в свою очередь, пронизывается штангой подвижной контакт-детали 9. Штанга подвижной контакт-детали 9 на своем вдающемся в вакуумную камеру 4 конце несет подвижную контакт-деталь, которая лежит против неподвижной контакт-детали и посредством ввода приводного движения через не представленную на чертеже оперативную штангу приходит в контакт с неподвижной контакт-деталью.
Для продольно-подвижного направления подвижной контакт-детали предусмотрен также не представленный на чертеже сильфон, который соединен своим одним концом вакуум-плотно с торцовой крышкой 8 и своим другим концом с подвижной контакт-деталью.
Внутри вакуумного корпуса, состоящего из торцовых крышек 6 и 8, а также керамического корпуса 7, господствует вакуум, который поддерживает гашение тянущейся при разъединении контактов электрической дуги при прохождении через нуль переменного тока. Штанга подвижной контакт-детали 9 через не показанный на чертеже ленточный проводник электрически соединена со второй контакт-деталью так, что в одном коммутационном положении контакта является возможным прохождение тока между соединительной деталью 3 и второй соединительной деталью. Вследствие различных коэффициентов теплового расширения при температурных изменениях получаются различные тепловые расширения элементов вакуумной дугогасительной камеры 4. Для избежания воздушных включений поэтому между вакуумной дугогасительной камерой 4 и корпусом из электроизоляционного материала 2 предусмотрена упругая амортизационная прокладка 10. Упругая амортизационная прокладка 10 имеет настолько высокие силы самоклейкости, что она прочно соединяет вакуумную дугогасительную камеру 4 с корпусом из электроизоляционного материала 2. При этом упругая амортизационная прокладка 10 имеет удлинение при разрыве порядка 200%, а также высокую прочность на пробой так, что в распоряжение предоставлена необходимая диэлектрическая прочность вакуумной дугогасительной камеры 4. Вследствие высокой самоклейкости также при более продолжительных временах эксплуатации при высоких нагрузках окружающей среды возникновение воздушных включений является исключенным.
При этом упругая амортизационная прокладка имеет толщину между порядка 0,3 см до 3 см так, что становится возможным удобное встраивание вакуумной дугогасительной камеры 4 в стабильный по форме корпус 2 из электроизоляционного материала. Так согласно изобретению корпус 2 из электроизоляционного материала можно выполнять, например, способом фасонного литья. В заключение соединительную деталь 3 свинчивают с штангой неподвижной контакт-детали 5 и вводят упругую амортизационную прокладку 10.
Формула изобретения
1. Изолированный твердым электроизоляционным материалом полюс выключателя (1) с электрически непроводящим и стабильным по форме корпусом (2) из электроизоляционного материала, в котором расположена коммутационная (дугогасительная) камера (4), которая имеет неподвижную контакт-деталь, а также лежащую противоположно ей со стороны привода и установленную с возможностью продольного движения подвижную контакт-деталь, причем корпус (2) из изоляционного материала является открытым со стороны привода, чтобы позволить ввод приводного движения в подвижную контакт-деталь, и причем между коммутационной (дугогасительной) камерой (4) и корпусом (2) из электроизоляционного материала расположена упругая амортизирующая прокладка (10), отличающийся тем, что упругая амортизирующая прокладка (10) имеет такие свойства самоклейкости, что как с коммутационной (дугогасительной) камерой (4), так и с корпусом (2) из электроизоляционного материала предоставлено в распоряжение поверхностное соединение, разъединяемое только абразивно.
2. Изолированный твердым электроизоляционным материалом полюс выключателя (1) по п.1, отличающийся тем, что упругая амортизирующая прокладка (10) проявляет свойства самоклейкости также на необработанных поверхностях.
3. Изолированный твердым электроизоляционным материалом полюс выключателя (1) по п.1 или 2, отличающийся тем, что упругая амортизирующая прокладка (10) имеет электрическую прочность по крайней мере 20 кВ/мм.
4. Изолированный твердым электроизоляционным материалом полюс выключателя (1) по п.1 или 2, отличающийся тем, что упругая амортизирующая прокладка (10) имеет низкую твердость с значениям по Шору 00 или по Шору А между 30 и 40.
5. Изолированный твердым электроизоляционным материалом полюс выключателя (1) по п.1 или 2, отличающийся тем, что упругая амортизирующая прокладка (10) имеет удлинение при разрыве между 120 и 400%.
6. Изолированный твердым электроизоляционным материалом полюс выключателя (1) по п.1 или 2, отличающийся тем, что упругая амортизирующая прокладка (10) является беспористой.
7. Изолированный твердым электроизоляционным материалом полюс выключателя (1) по п.3, отличающийся тем, что упругая амортизирующая прокладка (10) имеет низкую твердость с значениям по Шору 00 или по Шору А между 30 и 40.
8. Изолированный твердым электроизоляционным материалом полюс выключателя (1) по п.3, отличающийся тем, что упругая амортизирующая прокладка (10) имеет удлинение при разрыве между 120 и 400%.
9. Изолированный твердым электроизоляционным материалом полюс выключателя (1) по п.3, отличающийся тем, что упругая амортизирующая прокладка (10) является беспористой.
РИСУНКИ
|
|