|
|
(21), (22) Заявка: 2008115798/09, 25.10.2006
(24) Дата начала отсчета срока действия патента:
25.10.2006
(30) Конвенционный приоритет:
25.10.2005 KR 10-2005-0100755 10.12.2005 KR 10-2005-0121207
(43) Дата публикации заявки: 10.12.2009
(46) Опубликовано: 27.04.2010
(56) Список документов, цитированных в отчете о поиске:
JP 11-040978 A, 12.02.1999. RU 2233495 C1, 27.07.2004. JP 2002-319504 A, 31.10.2002. JP 2002-124158 A, 26.04.2002. JP 16-146336 A, 20.05.2004.
(85) Дата перевода заявки PCT на национальную фазу:
26.05.2008
(86) Заявка PCT:
KR 2006/004384 20061025
(87) Публикация PCT:
WO 2007/049920 20070503
Адрес для переписки:
191186, Санкт-Петербург, а/я 230, “АРС-ПАТЕНТ”, пат.пов. М.В.Хмаре, рег. 771
|
(72) Автор(ы):
ДЖЕОНГ Хюн-Кё (KR), КАНГ Джонг-Хо (KR)
(73) Патентообладатель(и):
ЭМАТЕК ИНК. (KR)
|
(54) ЭЛЕКТРОМАГНИТНЫЙ ПРИВОД И ПРЕРЫВАТЕЛЬ ЦЕПИ, СНАБЖЕННЫЙ ЭТИМ ПРИВОДОМ
(57) Реферат:
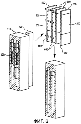
Изобретение раскрывает электромагнитный привод (ЭМП) и прерыватель цепи (выключатель) с таким приводом. Привод содержит корпус, в котором сформированы два канала, имеющие длину в продольном направлении, и средняя перегородка между указанными двумя каналами; основной магнитный элемент для генерирования магнитного поля, расположенный на обеих стенках двух каналов корпуса; и подвижный элемент, посередине которого расположена средняя перегородка, в котором установлена образующая тело катушка, намотанная в направлении, ортогональном продольному направлению каналов, причем левая и правая стороны подвижного элемента проходят через каналы, а его передняя и задняя стороны открыты наружу, при этом катушка выполнена с возможностью возвратно-поступательного движения вдоль каналов при подаче в катушку тока в прямом или обратном направлении. Технический результат – упрощение конструкции и изготовления, повышение компактности и надежности ЭМП, которому свойственно устойчивое движение подвижной части и повышенное удерживающее усилие, что расширяет область использования привода, 4 н. и 25 з.п. ф-лы, 44 ил.
Текст описания приведен в факсимильном виде.                                              
Формула изобретения
1. Электромагнитный привод, содержащий корпус, в котором сформированы два канала, имеющие длину в продольном направлении, и средняя перегородка между указанными двумя каналами; основной магнитный элемент для генерирования магнитного поля, расположенный на обеих стенках двух каналов корпуса; и подвижный элемент, посередине которого расположена средняя перегородка, в котором установлена образующая тело катушка, намотанная в направлении, ортогональном продольному направлению каналов, причем левая и правая стороны подвижного элемента проходят через каналы, а его передняя и задняя стороны открыты наружу, при этом катушка выполнена с возможностью возвратно-поступательного движения вдоль каналов при подаче в катушку тока в прямом или обратном направлении.
2. Привод по п.1, отличающийся тем, что корпус выполнен из ферромагнитного материала.
3. Привод по п.1, отличающийся тем, что основной магнитный элемент выполнен на основе постоянного магнита.
4. Электромагнитный привод, содержащий корпус, в котором сформированы два канала, имеющие длину в продольном направлении, и средняя перегородка между указанными двумя каналами; основной наружный магнитный элемент плоской формы для генерирования магнитного поля и основной внутренний магнитный элемент плоской формы для генерирования магнитного поля, которые расположены соответственно на поверхностях обеих стенок двух каналов корпуса; и подвижный элемент, посередине которого расположена средняя перегородка, в котором установлена образующая тело катушка, намотанная в направлении, ортогональном продольному направлению каналов, причем левая и правая стороны подвижного элемента проходят через каналы, а его передняя и задняя стороны открыты наружу, при этом катушка выполнена с возможностью возвратно-поступательного движения вдоль каналов при подаче в катушку тока в прямом или обратном направлении.
5. Привод по п.4, отличающийся тем, что корпус выполнен из ферромагнитного материала.
6. Привод по п.4, отличающийся тем, что основные магнитные элементы выполнены на основе постоянных магнитов.
7. Привод по п.4, отличающийся тем, что в местах верхних и нижних концов основных наружного и внутреннего магнитных элементов привод содержит помимо указанных элементов соответственно первые дополнительные наружные и внутренние магнитные элементы для генерирования магнитного поля, и вторые дополнительные наружные и внутренние магнитные элементы для генерирования магнитного поля, выполненные с возможностью дополнительной установки.
8. Привод по п.7, отличающийся тем, что ориентация полюсов первых дополнительных наружного и внутреннего магнитных элементов и вторых дополнительных наружного и внутреннего магнитных элементов противоположна ориентации полюсов основных наружного и внутреннего магнитных элементов.
9. Привод по п.1 или 4, отличающийся тем, что в подвижном элементе с верхней и нижней стороны катушки размещен первый магнитный материал и второй магнитный материал, при этом катушка с первым и вторым магнитными материалами образует единое тело.
10. Привод по п.9, отличающийся тем, что подвижный элемент сформирован в виде единой детали путем установки катушки и первого и второго магнитных материалов в каркас из немагнитного материала.
11. Привод по п.1 или 4, отличающийся тем, что на открытой наружу от корпуса части подвижного элемента сформирована выступающая направляющая рейка, а вблизи корпуса предусмотрена направляющая, выполненная с возможностью сопряжения с указанной направляющей рейкой и обеспечения ее скользящего движения, тем самым возвратно-поступательного движения подвижного элемента.
12. Привод по п.1 или 4, отличающийся тем, что на верхнем и нижнем концах каналов, в конечных точках движения подвижного элемента предусмотрены первый и второй амортизирующие материалы для предотвращения соударения подвижного элемента с корпусом.
13. Привод по п.1 или 4, отличающийся тем, что с наружной стороны привода установлен кабель-канал для размещения провода, подводящего ток к катушке подвижного элемента, совершающего возвратно-поступательное движение в вертикальном направлении.
14. Привод по п.1 или 4, отличающийся тем, что выполнен путем объединения нескольких узлов привода, причем подвижные элементы каждого из объединенных узлов привода соединены в одно целое и выполнены с возможностью совершения возвратно-поступательного движения как одно целое.
15. Электромагнитный привод, содержащий корпус, в котором сформированы два канала, имеющие длину в продольном направлении, и средняя перегородка, которая на вертикальном поперечном сечении проходит посредине между двумя указанными каналами; основной наружный магнитный элемент для генерирования магнитного поля и основной внутренний магнитный элемент для генерирования магнитного поля, расположенные на наружной и внутренней поверхностях стенок левого и правого каналов корпуса; дополнительный наружный магнитный элемент для генерирования магнитного поля и дополнительный внутренний магнитный элемент для генерирования магнитного поля, установленные соответственно на наружной и внутренней поверхностях стенок каналов с обоих концов основного наружного магнитного элемента и основного внутреннего магнитного элемента, рядом с концом, соответствующим стороне, на которой необходимо создание большего удерживающего усилия при соединении привода с ведомым пассивным элементом; и подвижный элемент, посередине которого расположена средняя перегородка, в котором установлена образующая тело катушка, намотанная в направлении, ортогональном продольному направлению каналов, причем левая и правая стороны подвижного элемента проходят через каналы, а его передняя и задняя стороны открыты наружу, при этом катушка выполнена с возможностью возвратно-поступательного движения вдоль каналов при подаче в катушку тока в прямом или обратном направлении; причем основной наружный и основной внутренний магнитные элементы в каждом канале прилегают к противоположным стенкам разноименными полюсами, а дополнительный наружный и дополнительный внутренний магнитные элементы в каждом канале прилегают к противоположным стенкам одноименными полюсами, при этом, когда магнитный материал подвижного элемента находится между дополнительным наружным и дополнительным внутренним магнитными элементами, то с наружной и внутренней стороны от вертикальной поверхности среднего сечения магнитного материала создаются независимые магнитные поля, магнитные силовые линии которых ориентированы перпендикулярно указанной вертикальной поверхности среднего сечения магнитного материала.
16. Привод по п.15, отличающийся тем, что корпус выполнен из ферромагнитного материала.
17. Привод по п.15, отличающийся тем, что основные магнитные элементы выполнены на основе постоянных магнитов.
18. Привод по п.15, отличающийся тем, что средняя перегородка выполнена в виде цилиндра, расположенного на оси корпуса, а канал выполнен в виде кольца, соосного со средней перегородкой цилиндрической формы, причем основной наружный магнитный элемент и основной внутренний магнитный элемент выполнены в виде колец, соосных со средней перегородкой цилиндрической формы и каналом кольцевой формы, и расположены соответственно на поверхностях наружной стенки и внутренней стенки указанного канала кольцевой формы, при этом подвижный элемент имеет форму кольца, а катушка подвижного элемента намотана перпендикулярно продольному направлению кольцевого канала между основным наружным и основным внутренним магнитными элементами кольцевого типа, причем магнитный материал, входящий в состав подвижного элемента, сформирован в виде кольца, обращенного к катушке, а кольцевая катушка и кольцевой магнитный материал заключены в каркас из немагнитного материала, образуя в целом узел кольцевой формы.
19. Привод по п.18, отличающийся тем, что к торцу подвижного элемента присоединены тяги из немагнитного материала, которые ориентированы в продольном направлении и проходят изнутри корпуса наружу, при этом внешний пассивный элемент присоединен к концам выведенных наружу тяг.
20. Привод по п.18, отличающийся тем, что оснащен выступающей частью, которая отходит в радиальном направлении от боковой стороны подвижного элемента, проходит через стенку корпуса с выступом наружу, при этом пассивный элемент присоединен к указанной выступающей части.
21. Привод по п.15, отличающийся тем, что два канала проходят сквозь корпус с передней стороны на заднюю сторону, а между каналами образована средняя перегородка, при этом основные наружный и внутренний магнитные элементы и дополнительные наружный и внутренний магнитные элементы расположены на наружной и внутренней поверхностях каналов, проходящих сквозь корпус с передней стороны на заднюю сторону, причем подвижный элемент проходит через каналы между наружными основными и дополнительными магнитными элементами и внутренними основными и дополнительными магнитными элементами, охватывая слева и справа внутренние основные и дополнительные магнитные элементы, а его передняя и задняя стороны открыты наружу и выступают из корпуса, при этом к открытой части подвижного элемента присоединен пассивный элемент.
22. Привод по п.15, отличающийся тем, что для обеспечения большого удерживающего усилия на стороне, противоположной дополнительному наружному магнитному элементу, на указанной стороне возле конца основного наружного магнитного элемента дополнительно установлен второй дополнительный наружный магнитный элемент, при этом в подвижном элементе на стороне, противоположной установленному в нем магнитному материалу, дополнительно установлен второй магнитный материал, обращенный к второму дополнительному наружному магнитному элементу.
23. Привод по п.15, отличающийся тем, что для обеспечения большого удерживающего усилия на стороне, противоположной дополнительному внутреннему магнитному элементу, на указанной стороне возле конца основного внутреннего магнитного элемента дополнительно установлен второй дополнительный внутренний магнитный элемент, при этом в подвижном элементе на стороне, противоположной установленному в нем магнитному материалу, дополнительно установлен второй магнитный материал, обращенный к второму дополнительному внутреннему магнитному элементу.
24. Привод по любому из пп.15, 18, 21 и 22 или 23, отличающийся тем, что между основными наружным и внутренним магнитными элементами и дополнительными наружным и внутренним магнитными элементами сформирован магнитный зазор, разделяющий корпус в магнитном отношении на верхнюю часть и нижнюю часть, и изолирующий магнитное поле, создаваемое основными наружным и внутренним магнитными элементами, от магнитного поля, создаваемого дополнительными наружным и внутренним магнитными элементами.
25. Привод по п.24, отличающийся тем, что указанный магнитный зазор заполнен немагнитным материалом.
26. Привод по п.24, отличающийся тем, что со стороны, противоположной дополнительным наружным и внутренним магнитным элементам и основным наружным и внутренним магнитным элементам, возле конца последних дополнительно образован второй магнитный зазор путем исключения определенного отрезка основных наружных и внутренних магнитных элементов в корпусе в вертикальном направлении.
27. Привод по любому из пп.12 и 13 или 16, отличающийся тем, что со стороны, противоположной дополнительным наружным и внутренним магнитным элементам и основным наружным и внутренним магнитным элементам, возле конца последних дополнительно образован второй магнитный зазор путем исключения определенного отрезка основных наружных и внутренних магнитных элементов в корпусе в вертикальном направлении.
28. Привод по п.15, отличающийся тем, что из основных наружных и внутренних магнитных элементов и дополнительных наружных и внутренних магнитных элементов в приводе установлены только магнитные элементы, принадлежащие одной стороне – наружной стороне или внутренней стороне.
29. Выключатель, содержащий изолирующую приводную тягу для привода узла контактов выключателя, соединенную с подвижным элементом привода, охарактеризованного в одном из пп.1, 4 или 15, в котором обеспечено за счет возвратно-поступательного перемещения подвижного элемента движение контактов выключателя для замыкания и размыкания цепи.
РИСУНКИ
|
|