|
|
(21), (22) Заявка: 2008136312/09, 16.03.2007
(24) Дата начала отсчета срока действия патента:
16.03.2007
(30) Конвенционный приоритет:
17.03.2006 CN 200610057088.6
(46) Опубликовано: 27.04.2010
(56) Список документов, цитированных в отчете о поиске:
RU 2192790 C1, 20.01.1995. RU 2236702 C2, 20.09.2004. RU 2004108154 A, 27.09.2005. US 2004242321 A1, 02.12.2004. JP 2003205176 A, 22.07.2003. KR 20020014264 A, 25.02.2002. WO 03079257 A1, 25.09.2003.
(85) Дата перевода заявки PCT на национальную фазу:
17.10.2008
(86) Заявка PCT:
CN 2007/000859 20070316
(87) Публикация PCT:
WO 2007/107094 20070927
Адрес для переписки:
191002, Санкт-Петербург, а/я 5, ООО “Ляпунов и партнеры”, пат.пов. Е.Г.Ильмер, рег. 1144
|
(72) Автор(ы):
ЯН Цянь (CN)
(73) Патентообладатель(и):
ТЕНСЕНТ ТЕКНОЛОДЖИ (ШЭНЬЧЖЭНЬ) КОМПАНИ ЛИМИТЕД (CN)
|
(54) СПОСОБ, СИСТЕМА, КЛИЕНТСКИЙ ТЕРМИНАЛ И СЕРВЕР ДЛЯ ПРЕДОТВРАЩЕНИЯ ОБМАНА В СЕТЕВЫХ ИГРАХ
(57) Реферат:
Изобретение относится к технологиям сетевых игр и может быть использовано для предотвращения обмана в сетевой игре. Техническим результатом является обеспечение эффективности предотвращения обмана в сетевых играх. Способ для предотвращения обмана в сетевых играх включает определение игровым сервером партнера для игрока согласно информации, предоставленной игровым клиентским терминалом, используемым игроком, а также передачу игроку информации о партнере на игровой клиентский терминал, используемый игроком; и отказ игрового клиентского терминала, используемого игроком, от передачи сообщения партнеру игрока. Изобретение также раскрывает систему, клиентский терминал и сервер, соответствующие указанному способу. 6 н. и 13 з.п. ф-лы, 5 ил.
Область изобретения
Настоящее изобретение относится к технологиям сетевых игр и, в частности к способам предотвращения обмана, системе для предотвращения обмана, клиентскому терминалу для предотвращения обмана и серверу для предотвращения обмана в сетевых играх.
Предпосылки к созданию изобретения
Наряду с постоянным развитием сетевых игр растет количество сетевых пользователей, принимающих регулярное участие в этих играх. В настоящее время широко распространенными сетевыми играми являются шахматные и карточные игры, и обычно они базируются на платформе Мгновенного обмена Сообщениями МоС (IM). Ниже объясняются основные рабочие процедуры в существующих сетевых шахматных и карточных играх.
Когда пользователь входит на игровую платформу, Сервер Каталогов СрКт (Dir-Svr) предоставляет пользователю доступ к каталогу всех сетевых игр и к релевантной информации для каждой сетевой игры. В релевантной информации для каждой сетевой игры указываются количество игровых комнат и количество игроков в каждой игровой комнате. Игровой комнатой для пользователя фактически является Игровой Сервер ИгСр (Game-Svr). Пользователь может выбрать игровую комнату для игры, т.е. игровой сервер для входа в систему. Игровой сервер предоставляет игровые сервисные приложения, а также хранит информацию обо всех игроках, принимающих участие в играх на игровом сервере. Информация обо всех игроках включает сведения о количестве проведенных игроками игр и о количестве набранных игроками очков. Информация об игроках извлекается из вспомогательного Сервера Базы Данных СрБД (DB-Svr), и измененная информация о каждом игроке сохраняется на сервере СрБД (DB-Svr). Например, в сетевой карточной игре перед началом игрового раунда пользователь должен выбрать стол и дождаться появления достаточного количества других игроков за столом; затем, после получения согласия от других игроков, начинается игра. Игровое сервисное приложение, функционирующее на игровом сервере, в произвольном порядке раздает игрокам игральные карты и передает информацию о картах, выложенных на стол одним из игроков, на клиентские терминалы остальных трех игроков, отображающие эту информацию. По окончании раунда игровое сервисное приложение определяет результаты согласно правилам игры и сохраняет самую последнюю информацию об игроках на сервере СрБД (DB-Svr). Под игроками понимаются все пользователи, принимающие участие в играх.
В сетевых шахматных и карточных играх довольно часто прибегают к обману. В настоящее время в сетевых шахматных или карточных играх, в которых возможен обман, необходимо минимум четыре игрока. Минимум четыре игрока делятся на две стороны, противодействующие друг другу, т.е. игроки на одной стороне являются партнерами, а игроки на другой стороне – противниками. В честной игре игрокам не должны быть известны карты, розданные другим игрокам. Однако сетевые игры имеют особенность, заключающуюся в том, что два партнера могут информировать друг друга (с помощью службы мгновенного обмена сообщениями или иных подобных средств обмена сообщениями) о раздаче, а также обсуждать стратегии, что нарушает принципы честной игры. Например, в карточной игре, в которой принимают участие четыре игрока, партнерами считаются игроки, сидящие за столом лицом друг к другу. Два игрока, собирающиеся прибегнуть к обману, могут преднамеренно выбрать один и тот же стол и такие места за этим столом, чтобы во время игры находиться лицом друг к другу. Таким образом, в целях обмана эти игроки могут информировать друг друга о раздаче в процессе игры. Средствами обмена сообщениями являются, главным образом, средства мгновенного обмена сообщениями.
Для предотвращения подобного обмана должны быть приняты технические меры. В существующих сетевых шахматных и карточных играх реализована некоторая технология предотвращения обмана, а именно: после входа в игровую комнату игрок не может выбрать место за столом, игровое сервисное приложение назначает игроку место случайным образом и игрок не может получить информацию о других игроках. Таким образом, поскольку игроку не разрешено выбирать партнера по игре, то обманывающие игроки не могут по своему усмотрению выбирать себе тот же стол, за которым находятся партнеры, и поэтому игрокам не нужно и невозможно передавать информацию другим игрокам в целях обмана.
Однако автор настоящего изобретения обнаружил, что во многих случаях пользователи хотели бы выбирать своих друзей партнерами по игре, а существующая технология предотвращения обмана препятствует удовлетворению этого желания пользователей.
Сущность изобретения
В варианте осуществления настоящего изобретения предлагается способ предотвращения обмана в сетевой игре, применимый к множеству игровых клиентских терминалов и игровому серверу.
Этот способ включает:
определение игровым сервером партнера для игрока согласно информации, предоставленной используемым игроком игровым клиентским терминалом, передачу игроку информации о партнере на используемый игроком игровой клиентский терминал; и
отказ игрового клиентского терминала, используемого игроком, от передачи сообщения партнеру игрока.
В другом варианте осуществления настоящего изобретения предлагается система для предотвращения обмана в сетевой игре, включающая множество игровых клиентских терминалов и игровой сервер.
Каждый из игровых клиентских терминалов выполнен с возможностью предоставления информации об игроке, использующем данный игровой клиентский терминал, и отказа передавать сообщение партнеру игрока на основании информации о партнере игрока, полученной от игрового сервера;
игровой сервер выполнен с возможностью определения партнера игрока согласно информации об игроке, предоставленной игровым клиентским терминалом, и передачи информацию о партнере игрока на игровой клиентский терминал.
В другом варианте осуществления настоящего изобретения также предлагается игровой клиентский терминал, включающий:
первый модуль, предназначенный для предоставления игровому серверу информации об игроке, использующем данный игровой клиентский терминал;
второй модуль, предназначенный для отказа на основании информации о партнере игрока, полученной от игрового сервера передавать сообщение партнеру игрока, использующего данный игровой клиентский терминал.
В другом варианте осуществления настоящего изобретения также предлагается игровой сервер, включающий:
первый модуль, предназначенный для приема информации об участвующем в игре игроке от используемого игроком игрового клиентского терминала и
второй модуль, предназначенный для определения партнера для игрока согласно информации об игроке, полученной первым модулем, и передачи информации о партнере игрока на используемый игроком игровой клиентский терминал. Причем второй модуль передает информацию о партнере игрока на игровой клиентский терминал, чтобы уведомить используемый игроком игровой клиентский терминал о необходимости отказа от передачи сообщения партнеру игрока.
В другом варианте осуществления настоящего изобретения предлагается способ предотвращения обмана в сетевой игре, применимый к игровым клиентским терминалам и игровому серверу. Этот способ включает:
предоставление игровым клиентским терминалом, используемым игроком, информации об игроке игровому серверу;
прием игровым клиентским терминалом, используемым игроком, информации о партнере игрока от игрового сервера; и отказ игрового клиентского терминала, используемого игроком, от передачи сообщения партнеру игрока на основании информации о партнере игрока, полученной от игрового сервера.
В другом варианте осуществления настоящего изобретения предлагается способ предотвращения обмана в сетевой игре, применимый к игровым клиентским терминалам и игровому серверу. Этот способ включает:
прием игровым сервером информации об участвующем в игре игроке от используемого игроком игрового клиентского терминала;
определение игровым сервером партнера для игрока согласно полученной информации об игроке;
передачу игровым сервером информации о партнере игрока на используемый игроком игровой клиентский терминал; причем
информация о партнере игрока используется для уведомления
используемого игроком игрового клиентского терминала о необходимости отказа от передачи сообщения партнеру игрока.
Способы и система для предотвращения обмана в сетевых играх, предлагаемые в вариантах осуществления настоящего изобретения, действительно могут предотвратить передачу сообщений, производимую в целях обмана во время игры, между игроками, являющимися партнерами по игре. Эти методы и система оставляют игрокам возможность произвольного выбора своих партнеров по игре. Следовательно, способы и система для предотвращения обмана, предлагаемые в вариантах осуществления настоящего изобретения, вполне применимы к существующим популярным сетевым шахматным и карточным играм. Техническое решение по настоящему изобретению обеспечивает честное проведение сетевых игр и, одновременно, предоставление игровых сервисов, удобных для пользователей.
Краткое описание чертежей
На фиг.1 показана блок-схема, представляющая инициализацию игрового сервера в соответствии с вариантом осуществления настоящего изобретения;
на фиг.2 показана блок-схема, представляющая действия игрового сервера в начале игры в соответствии с одним из вариантов осуществления настоящего изобретения;
на фиг.3 показана блок-схема, представляющая действия игрового клиентского терминала в начале игры в соответствии с одним из вариантов осуществления настоящего изобретения;
на фиг.4 показана структурная схема системы в соответствии с одним из вариантов осуществления настоящего изобретения;
на фиг.5 показана схема, представляющая соединения между компьютерами игроков в соответствии с одним из вариантов осуществления настоящего изобретения.
Подробное описание изобретения
Ниже приведено подробное описание настоящего изобретения со ссылками на прилагаемые чертежи и конкретные варианты осуществления.
В варианте осуществления настоящего изобретения раскрывается способ предотвращения обмана в сетевой игре. Этот способ применяется для множества игровых клиентских терминалов, используемых игроками, и игрового сервера, на котором функционирует игровое приложение. Используемые игроками игровые клиентские терминалы собирают информацию об игроках в режиме реального времени и предоставляют эту информацию игровому серверу. Во время игры игровой сервер определяет партнера для игрока согласно информации об игроке, полученной от используемого игроком игрового клиентского терминала, и передает информацию о партнере игрока на игровой клиентский терминал игрока.
Перед передачей сообщения на другой игровой клиентский терминал игровой клиентский терминал игрока определяет, предназначено ли сообщение партнеру игрока согласно полученной информации о партнере игрока, и отказывается передавать любое сообщение партнеру игрока.
Вариант осуществления настоящего изобретения делится на два основных этапа. Во-первых, игровой сервер получает информацию об игроках и выдает информацию о партнерах. Во-вторых, каждый из игровых клиентских терминалов игроков предоставляет информацию об игроке и отказывается передавать сообщение партнеру игрока, использующего данный игровой клиентский терминал. Этап, обеспечивающую получение информации об игроках и выдачу информации о партнерах игровым сервером, включает следующее: во-первых, получение информации об игроках до начала игры; во-вторых, получение информации об игроках и выдачу информации о партнерах после начала игры. Далее приведено подробное описание последовательности действий со ссылками на фиг.1-3.
На фиг.1 показана блок-схема, которая представляет процесс, выполняемый игровым сервером до начала игры в соответствии с вариантом осуществления настоящего изобретения. Как показано на фиг.1, этот процесс включает перечисленные ниже процессы.
Блок 101: игровой сервер определяет, присоединяется ли к данной игре новый игрок. Если присоединяется новый игрок, выполняется блок 102; в противном случае выполняется блок 106.
Блок 102: игровой сервер получает адрес компьютера, используемого новым игроком. Используемый игроком компьютер представляет собой компьютер, на котором установлен используемый игроком игровой клиентский терминал. Адресом компьютера может являться IP-адрес компьютера. Однако разные компьютеры, подключенные к магистральной сети через одну и ту же локальную сеть, могут иметь одинаковый IP-адрес, но при этом два компьютера, находящиеся на одной и той же локальной сети, никогда не будут иметь одинаковый адрес Управления Доступом к Среде УДС (MAC). Следовательно, для точного распознавания используемого игроком компьютера может использоваться комбинация IP-адреса и адреса УДС (MAC), позволяющая распознавать компьютер на сети. Соответственно, адрес компьютера также может включать комбинацию IP-адреса и адреса УДС (MAC).
Блок 103; игровой сервер определяет, был ли ранее зарегистрирован адрес компьютера, полученный в блоке 102. Если адрес компьютера уже регистрировался, выполняется блок 105; в противном случае выполняется блок 104.
Блок 104: игровой сервер регистрирует адрес компьютера, полученный в блоке 102.
Блок 105: игровой сервер получает и регистрирует одну или несколько учетных записей игрока для службы обмена сообщениями. Игрок уже активировал учетную запись на локальном компьютере. Игрок может располагать несколькими учетными записями для передачи сообщений по сети; например, игрок может одновременно активировать несколько учетных записей для службы мгновенного обмена сообщениями. Следовательно, учетные записи игрока, используемые для передачи сообщений с помощью службы обмена сообщениями и полученные игровым сервером, могут быть представлены списком учетных записей, содержащим по крайней мере одну учетную запись. Здесь термин “учетная запись” применяется для обозначения учетной записи, используемой для передачи сообщений с помощью инструмента обмена сообщениями, например, учетной записи службы мгновенного обмена сообщениями для передачи сообщений через службу мгновенного обмена сообщениями. Следует специально отметить, что и игровой сервер, и все игровые клиентские терминалы включают модуль передачи сообщений и игровой сервисный модуль. Модуль передачи сообщений и игровой сервисный модуль соединены друг с другом. Когда игрок присоединяется к игре, расположенный в игровом клиентском терминале игрока игровой сервисный модуль может извлекать из модуля передачи сообщений активированную учетную запись игрока, используемую для передачи сообщений, и затем эта учетная запись для передачи сообщений включается в информацию об игроке и предоставляется игровому серверу.
Блок 106: игровой сервер определяет, выбрал ли игрок место в данной игре. Если игрок выбрал место, выполняется блок 107; в противном случае выполняется блок 101.
Блок 107: игровой сервер регистрирует место, выбранное игроком.
Когда игрок намеревается присоединиться к игре, игрок входит в систему на игровом сервере через игровой клиентский терминал, используемый игроком на локальной машине, и направляет на игровой сервер запрос на присоединение к игре. В этот запрос могут включаться идентификатор игры, к которой присоединяется игрок, адрес используемого игроком компьютера и одна или несколько активированных учетных записей игрока для службы обмена сообщениями. Игрок также может направить на игровой сервер через игровой клиентский терминал запрос на выбор места в игре, и игровой сервер идентифицирует партнера каждого игрока согласно месту, выбранному игроком.
В соответствии с настоящим изобретением, игровой сервер также реализует функциональность для предотвращения обмана, а также предоставляет игровые сервисные приложения для предотвращения обмана. Следовательно, игровой сервер должен вести таблицу памяти, чтобы регистрировать информацию об игроках. В информацию об игроках включаются: адреса используемых игроками компьютеров, учетные записи игроков для службы обмена сообщениями и места игроков в игре. Игровой сервер в режиме реального времени регистрирует в таблице памяти адреса используемых игроками компьютеров, учетные записи игроков для службы обмена сообщениями и места игроков в игре.
В процессе, показанном на фиг.1, блоки 101-105 выполняются для новых игроков, а блоки 106 и 107 – для игроков, выбирающих места в игре. Эти два этапа могут выполняться одновременно, и в вариантах осуществления настоящего изобретения не требуется выполнять эти два этапа в каком-либо конкретном порядке. При выполнении блоков от блока 101 до блока 105 адреса используемых игроками компьютеров регистрируются в блоках 102-104, учетные записи игроков для службы обмена сообщениями регистрируются в блоке 105, причем выполнение блоков 102-104 не зависит от выполнения блока 105. Следовательно, сразу после обнаружения нового игрока в блоке 101 можно зарегистрировать одну или несколько учетных записей нового игрока для службы обмена сообщениями.
На фиг.2 показана блок-схема, которая представляет процесс, выполняемый игровым сервером после начала игры в соответствии с одним из вариантов осуществления настоящего изобретения. Как показано на фиг.2, в процесс включены перечисленные ниже блоки.
Блок 201: игровой сервер определяет, начинается ли новая игра за столом. Если начинается новая игра, выполняется блок 202; в противном случае выполняется блок 204.
Как указано в описании предпосылок к созданию настоящего изобретения, в сетевой шахматной или карточной игре игроки могут выбирать игровую комнату и стол в игровой комнате перед началом игры, а затем выбирать свои места за столом. Каждый игровой раунд проводится между игроками за столом, и игроки делятся на партнеров и противников в игре за столом. Следовательно, этот блок фактически используется для того, чтобы определить, начинается ли игра.
Блоки 202, 203: игровой сервер получает информацию об игроках за столом, на котором началась игра, и передает соответствующую информацию о партнерах игроков на компьютеры, используемые игроками. В процессе, показанном на фиг.1, игровой сервер ведет в режиме реального времени таблицу памяти, в которой хранится информация об игроках. В информацию об игроках включаются адреса используемых игроками компьютеров, учетные записи игроков для службы обмена сообщениями и места игроков в игре. Таким образом, из таблицы памяти может быть получена информация обо всех игроках, находящихся за столом, на котором началась игра, и, согласно местам игроков, могут быть определены партнеры игроков. Место игрока может обозначаться комбинацией идентификатора игровой комнаты, идентификатора стола и идентификатора места. Основными элементами передаваемой игрокам информации о партнерах являются текущие активированные учетные записи партнеров для службы обмена сообщениями.
Блок 204: игровой сервер определяет, изменяются ли в игре текущие активированные учетные записи игроков для службы обмена сообщениями. Если текущие активированные учетные записи игроков для службы обмена сообщениями изменяются, то выполняется блок 205; в противном случае выполняется блок 201.
Используемые игроками компьютеры могут информировать игровой сервер об изменении текущих активированных учетных записей игроков для службы обмена сообщениями; например, клиентские терминалы игроков могут регулярно проверять рабочее состояние средств обмена сообщениями на локальной машине и информировать игровой сервер о новых активированных и неактивированных учетных записях игрока, так чтобы игровой сервер мог выполнить определение в блоке 204.
Блок 205: игровой сервер определяет, продолжает ли участвовать в игре игрок, чья учетная запись для службы обмена сообщениями изменилась в блоке 204. Если игрок продолжает участвовать в игре, выполняется блок 206; в противном случае выполняется блок 201.
Блок 206: игровой сервер передает одну или несколько самых последних активированных учетных записей игрока для которого обнаружено изменение учетной записи для службы обмена сообщениями для службы обмена сообщениями на компьютер партнера этого игрока.
Информация об учетных записях для службы обмена сообщениями может передаваться на компьютеры игроков или на компьютеры партнеров игроков согласно адресам компьютеров, полученным при выполнении процесса, представленного на фиг.1.
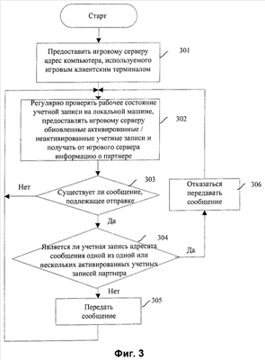
На фиг.3 показана блок-схема, представляющая процесс, который выполняет игровой клиентский терминал в соответствии с вариантом осуществления настоящего изобретения. Как показано на фиг.3, этот процесс включает перечисленные ниже процессы.
Блок 301: после запуска игровой клиентский терминал предоставляет игровому серверу адрес того компьютера, на котором установлен игровой клиентский терминал. Этот адрес включает комбинацию IP-адреса и адреса УДС (MAC) компьютера.
Блок 302: игровой клиентский терминал регулярно проверяет рабочее состояние средств обмена сообщениями на локальной машине и информирует игровой сервер о новых активированных и неактивированных учетных записях игрока, использующего данный игровой клиентский терминал. Игровой клиентский терминал также принимает информацию о партнере игрока.
Блок 303: игровой клиентский терминал определяет, существует ли сообщение, подлежащее отправке в настоящее время. Если существует подлежащее отправке сообщение, выполняется блок 304; в противном случае выполняется блок 302.
Блок 304: игровой клиентский терминал определяет, адресовано ли подлежащее отправке сообщение партнеру игрока, т.е. является ли учетная запись адресата сообщения одной из учетных записей партнера в полученной информации о партнере. Если учетная запись адресата сообщения является одной из учетных записей партнера, выполняется блок 306; в противном случае выполняется блок 305.
Блок 305: игровой клиентский терминал передает сообщение и выполняется блок 302.
Блок 306: игровой клиентский терминал отказывается передавать сообщение и выполняется блок 302.
В процессе, показанном на фиг.3, игровой клиентский терминал может предоставлять учетные записи игрока для службы обмена сообщениями и принимать информацию о партнере (в блоке 302), а также управлять передачей сообщений (блоки 303-306). В варианте осуществления настоящего изобретения не требуется выполнять действия в каком-либо конкретном порядке, и игровой клиентский терминал может начинать управление передачей сообщений сразу же после получения информации о партнере игровым клиентским терминалом.
Когда игровой раунд закончен или игрок вышел из игры, игровой сервер удаляет информацию о месте игроке из информации об игроке, зарегистрированной в таблице памяти. Когда к игре присоединяется новый игрок, в начале игры игровой сервер передает игрокам самую последнюю информацию о партнерах игроков. Когда игрок выходит из системы на игровом сервере, игровой сервер удаляет всю информацию об игроке из таблицы памяти.
В варианте осуществления настоящего изобретения также предлагается система для предотвращения обмана в сетевой игре. Система для предотвращения обмана включает игровой сервер и множество игровых клиентских терминалов. Игровые клиентские терминалы – это игровые клиентские терминалы, используемые игроками в игре. Игровые клиентские терминалы предоставляют игровому серверу информацию об игроках и принимают от игрового сервера информацию о партнерах игроков, а также, на основании информации о партнерах, отказываются передавать сообщения партнерам. Игровой сервер принимает информацию об игроках от игровых клиентских терминалов, определяет партнеров для игроков согласно информации об игроках и передает информацию о партнерах на игровые клиентские терминалы.
Для реализации вышеуказанных функций в состав игрового сервера могут быть включены: модуль сбора информации об игроках и модуль определения партнеров. В состав игрового клиентского терминала могут быть включены: модуль предоставления информации об игроке и модуль управления передачей сообщений. Рабочие процедуры, выполняемые предлагаемой в настоящем изобретении системой, объясняются со ссылками на действия, выполняемые игровым клиентским терминалом игрока, игровым клиентским терминалом партнера игрока и игровым сервером.
На фиг.4 показана структурная схема системы в соответствии с вариантом осуществления настоящего изобретения. В состав системы в этом варианте осуществления входят игровой клиентский терминал 1 и игровой клиентский терминал 2 игрока 1 и игрока 2, являющихся партнерами, а также игровой сервер. Игровой клиентский терминал 1, используемый игроком 1, включает модуль 1 предоставления информации об игроке и модуль 1 управления передачей сообщений. Игровой клиентский терминал 2, используемый игроком 2, т.е. партнером игрока 1, включает модуль 2 предоставления информации об игроке и модуль 2 управления передачей сообщений. Игровой сервер, соединенный с игровыми клиентскими терминалами 1 и 2, включает модуль сбора информации об игроках и модуль определения партнеров.
Модули 1 и 2 предоставления информации об игроке предоставляют информацию о соответствующих игроках модулю сбора информации об игроках. Модуль 1 предоставления информации об игроке предоставляет информацию об игроке 1. В информацию об игроке 1 включаются: адрес используемого игроком 1 компьютера, одна или несколько существующих активированных учетных записей игрока 1 для службы обмена сообщениями, место игрока 1 в игре. Модуль 2 предоставления информации об игроке предоставляет информацию об игроке 2. В информацию об игроке 2 включаются: адрес используемого игроком 2 компьютера, одна или несколько существующих активированных учетных записей игрока 2 для службы обмена сообщениями, место игрока 2 в игре. Модуль сбора информации об игроках принимает информацию об игроках 1 и 2 от модулей 1 и 2 предоставления информации об игроке, а также экспортирует информацию в модуль определения партнеров. Модуль определения партнеров извлекает информацию об игроках 1 и 2 (из информации, полученной от модуля сбора информации об игроках), определяет партнеров игроков 1 и 2 согласно местам игроков 1 и 2 в игре, зарегистрированным в информации об игроках 1 и 2, а также передает информацию о партнерах игроков 1 и 2 в модуль 1 управления передачей сообщений игрока 1 и в модуль 2 управления передачей сообщений игрока 2. Информация о партнерах может включать одну или несколько учетных записей партнеров для службы обмена сообщениями (например, учетные записи для QQ), которые в настоящее время активированы на компьютерах, используемых партнерами. Модули 1 и 2 управления передачей сообщений определяют (прежде чем осуществляется передача сообщения от компьютеров, на которых установлены соответствующие игровые клиентские терминалы), совпадает ли учетная запись адресата сообщения с одной из учетных записей в полученной информации о партнерах. Если учетная запись адресата сообщения совпадает с учетной записью в полученной информации о партнерах, модули 1 и 2 управления передачей сообщений отказываются передавать сообщение; в противном случае сообщение может быть передано в обычном порядке. В этом варианте осуществления игроки 1 и 2 являются партнерами по отношению друг к другу. Следовательно, информация о партнере, переданная в модуль 1 управления передачей сообщений, включает информацию об игроке 2, а информация о партнере, переданная в модуль 2 управления передачей сообщений, включает информацию об игроке 1. Перед передачей сообщения модуль 1 управления передачей сообщений определяет, адресовано ли сообщение любой из активированных учетных записей игрока 2, а модуль 2 управления передачей сообщений определяет, адресовано ли сообщение любой из активированных учетных записей игрока 1. Таким образом, в игре предотвращается обмен сообщениями между игроками 1 и 2, являющимися партнерами по отношению друг к другу, и, следовательно, предотвращается обман.
В состав системы, показанной на фиг.4, входят только игровой сервер и два игровых клиентских терминала, которые используются двумя игроками, являющимися партнерами. Предлагаемая в настоящем изобретении система действует в игровом раунде, и каждый из игроков в игре ассоциируется с игровым клиентским терминалом. Следовательно, предлагаемая в настоящем изобретении система фактически состоит из игрового сервера и игровых клиентских терминалов всех игроков, участвующих в игре, причем каждые два игровых клиентских терминала, которые используются игроками, являющимися партнерами по игре, и игровой сервер функционируют так, как показано на фиг.4. Здесь не приводится описание рабочих процедур в системах, включающих другое количество игровых клиентских терминалов, однако такие системы включаются в объем патентной защиты вариантов осуществления настоящего изобретения.
В варианте осуществления настоящего изобретения также предлагаются игровой клиентский терминал и сервер. Функции и состав игрового клиентского терминала и сервера уже были представлены на фиг.4 и дополнительно здесь не рассматриваются.
На фиг.5 показана схема, представляющая соединения между компьютерами игроков в соответствии с вариантом осуществления настоящего изобретения.
Система, показанная на фиг.5, используется в игре, в которой участвуют четыре игрока: игрок 1, игрок 2, игрок 3 и игрок 4. Прежде чем применить вариант осуществления настоящего изобретения компьютеры, на которых установлены игровые клиентские терминалы игроков 1, 2, 3 и 4, во время игры могут создать одноранговые соединения друг с другом для одноранговой передачи сообщений. Однако в варианте осуществления настоящего изобретения, показанном на фиг.5, игровой сервер определяет партнеров игроков согласно информации об игроках, предоставленной игровыми клиентскими терминалами игроков 1, 2, 3 и 4. Игроки 1 и 4 являются одной парой партнеров, а игроки 2 и 4 – другой парой партнеров (см. фиг.5). Игровой сервер передает информацию об игроке 4 игроку 1, и компьютер игрока 1, соответственно, отказывается передавать сообщение игроку 4. Игровой сервер передает информацию об игроке 1 игроку 4, и компьютер игрока 4, соответственно, отказывается передавать сообщение игроку 1. Игровой сервер передает информацию об игроке 3 игроку 2, и компьютер игрока 2, соответственно, отказывается передавать сообщение игроку 3. Игровой сервер передает информацию об игроке 2 игроку 3, и компьютер игрока 3, соответственно, отказывается передавать сообщение игроку 2. Следовательно, как показано на фиг.5, во время игры пресекаются передача сообщений между игроками 1 и 4 и передача сообщений между игроками 2 и 3, поэтому предотвращаются возможные обманные действия партнеров и обеспечивается честное проведение сетевой игры.
Резюмируя вышеизложенное: варианты осуществления настоящего изобретения способны эффективно предотвращать совершение обманных действий игроками, являющимися партнерами во время игры. Кроме того, техническое решение по настоящему изобретению обеспечивает честное проведение сетевых игр и предоставляет удобные для пользователей игровые сервисы без существенной модификации известного технического решения. Следовательно, техническое решение по настоящему изобретению характеризуется высокой степенью осуществимости.
Вышеизложенное соответствует только предпочтительным вариантам осуществления настоящего изобретения и не должно использоваться для ограничения объема патентной защиты настоящего изобретения. Все модификации, эквивалентные замены или усовершенствования должны входить в объем патентной защиты пунктов патентной формулы настоящего изобретения.
Формула изобретения
1. Способ предотвращения обмана в сетевой игре, применимый к игровым клиентским терминалам и игровому серверу, включающий: определение игровым сервером партнера для игрока согласно информации, предоставленной игровым клиентским терминалом, используемым игроком, а также передачу игроку информации о партнере на игровой клиентский терминал, используемый игроком; и отказ игрового клиентского терминала, используемого игроком, от передачи сообщения партнеру игрока.
2. Способ по п.1, в котором информация, предоставляемая игровым клиентским терминалом, включает: адрес компьютера, на котором установлен игровой клиентский терминал, одну или несколько активированных учетных записей для службы обмена сообщениями игрока, использующего игровой клиентский терминал, и место, выбранное игроком в игре; причем способ также включает: предоставление игровым клиентским терминалом, используемым игроком, адреса компьютера, на котором установлен игровой клиентский терминал, когда игрок заново вошел в систему на игровом сервере; предоставление игровым клиентским терминалом, используемым игроком, информации о месте, выбранном игроком; и проверку в режиме реального времени игровым клиентским терминалом, используемым игроком, одной или нескольких активированных учетных записей игрока для службы обмена сообщениями и предоставление одной или нескольких учетных записей игрока для службы обмена сообщениями.
3. Способ по п.2, в котором предоставление игровым клиентским терминалом, используемым игроком, адреса компьютера, на котором установлен игровой клиентский терминал, когда игрок заново вошел в систему на игровом сервере, включает: предоставление игровому серверу игровым клиентским терминалом, используемым игроком, адреса компьютера, на котором установлен игровой клиентский терминал, когда игрок заново вошел в систему на игровом сервере; причем способ дополнительно включает: определение игровым сервером, был ли уже зарегистрирован адрес компьютера, на котором установлен игровой клиентский терминал игрока; отказ от регистрации адреса компьютера, если адрес компьютера уже был зарегистрирован; регистрацию адреса компьютера, если адрес компьютера еще не был зарегистрирован.
4. Способ по п.2, в котором проверка в режиме реального времени игровым клиентским терминалом, используемым игроком, одной или нескольких активированных учетных записей игрока для службы обмена сообщениями и предоставление одной или нескольких учетных записей игрока для службы обмена сообщениями включает: проверку игровым клиентским терминалом, используемым игроком, рабочего состояния средств обмена сообщениями на компьютере, на котором установлен игровой клиентский терминал, и информирование игрового сервера об одной или нескольких новых активированных учетных записях игрока для службы обмена сообщениями; причем способ дополнительно включает: определение игровым сервером после получения одной или нескольких новых активированных учетных записей игрока для службы обмена сообщениями, выполнялась ли ранее регистрация одной или нескольких новых активированных учетных записей игрока для службы обмена сообщениями; обновление зарегистрированных учетных записей для службы обмена сообщениями одной или несколькими новыми активированными учетными записями игрока для службы обмена сообщениями, если одна или несколько учетных записей игрока для службы обмена сообщениями уже были зарегистрированы; регистрацию одной или нескольких новых активированных учетных записей игрока для службы обмена сообщениями, если одна или несколько учетных записей игрока для службы обмена сообщениями еще не были зарегистрированы.
5. Способ по п.2, дополненный следующим: передача на игровой клиентский терминал, используемый партнером игрока, одной или нескольких самых последних активированных учетных записей игрока для службы обмена сообщениями, когда во время игры произошло изменение учетной записи игрока для службы обмена сообщениями и игрок продолжает участвовать в игре.
6. Способ по п.2, в котором отказ используемого игроком игрового клиентского терминала от передачи сообщения партнеру игрока, включая отказ используемого игроком игрового клиентского терминала от передачи сообщения, когда учетная запись адресата сообщения совпадает с любой одной или любыми несколькими активированными учетными записями партнера игрока для службы обмена сообщениями.
7. Способ по любому из пп.1-6, дополнительно содержащий передачу сообщения используемым игроком игровым клиентским терминалом, когда учетная запись адресата сообщения не совпадает с любой одной или любыми несколькими активированными учетными записями партнера игрока для службы обмена сообщениями.
8. Способ по любому из пп.4-6, в котором из одной или нескольких учетных записей для службы обмена сообщениями составляется список учетных записей, включающий по крайней мере одну учетную запись.
9. Система для предотвращения обмана в сетевой игре, содержащая игровые клиентские терминалы и игровой сервер, причем каждый из игровых клиентских терминалов предназначен для предоставления информации об игроке, использующем данный игровой клиентский терминал, и отказа передавать сообщение партнеру игрока на основании информации о партнере игрока, полученной от игрового сервера; и игровой сервер предназначен для определения партнера игрока согласно информации об игроке, предоставленной игровым клиентским терминалом, и передачи информации о партнере игрока на игровой клиентский терминал.
10. Система по п.9, в которой информация об игроке, предоставляемая игровым клиентским терминалом, включает адрес компьютера, на котором установлен игровой клиентский терминал, одну или несколько активированных учетных записей для службы обмена сообщениями игрока, использующего игровой клиентский терминал, и место в игре, выбранное игроком, использующим игровой клиентский терминал; и игровой клиентский терминал также предназначен для предоставления адреса компьютера, на котором установлен игровой клиентский терминал, когда игрок заново входит в систему на игровом сервере, а также предоставления информации о месте в игре, выбранном игроком, проверки в режиме реального времени одной или нескольких активированных учетных записей игрока для службы обмена сообщениями и предоставления одной или несколько активированных учетных записей для службы обмена сообщениями.
11. Система по п.10, в которой игровой сервер дополнительно предназначен для передачи на игровой клиентский терминал, используемый партнером игрока, одной или нескольких самых последних активированных учетных записей игрока для службы обмена сообщениями, если во время игры происходит изменение учетной записи игрока для службы обмена сообщениями и игрок продолжает участие в игре.
12. Игровой клиентский терминал, включающий первый модуль, предназначенный для предоставления игровому серверу информации об игроке, использующем данный игровой клиентский терминал; второй модуль, предназначенный для отказа на основании информации о партнере игрока, полученной от игрового сервера, передавать сообщение партнеру игрока, использующего данный игровой клиентский терминал.
13. Клиентский терминал по п.12, в котором информация об игроке, предоставляемая первым модулем, включает адрес компьютера, на котором установлен игровой клиентский терминал, одну или несколько активированных учетных записей для службы обмена сообщениями игрока, использующего игровой клиентский терминал, и место в игре, выбранное игроком, использующим игровой клиентский терминал; причем первый модуль предназначен для предоставления адреса компьютера, на котором установлен игровой клиентский терминал, когда игрок заново входит в систему на игровом сервере, а также предоставления информации о месте в игре, выбранном игроком, проверки в режиме реального времени одной или нескольких активированных учетных записей игрока для службы обмена сообщениями и предоставления одной или нескольких активированных учетных записей для службы обмена сообщениями.
14. Игровой сервер, включающий первый модуль, предназначенный для приема информации об участвующем в игре игроке от используемого игроком игрового клиентского терминала; и второй модуль, предназначенный для определения партнера для игрока согласно информации об игроке, полученной первым модулем, и передачи информацию о партнере игрока на используемый игроком игровой клиентский терминал; причем второй модуль передает информацию о партнере игрока на игровой клиентский терминал, чтобы уведомить используемый игроком игровой клиентский терминал о необходимости отказа от передачи сообщения партнеру игрока.
15. Игровой сервер по п.14, в котором информация об игроке включает одну или несколько активированных учетных записей игрока для службы обмена сообщениями и второй модуль также предназначен для передачи на игровой клиентский терминал, используемый партнером игрока, одной или нескольких самых последних активированных учетных записей игрока для службы обмена сообщениями, когда во время игры происходит изменение учетной записи игрока для службы обмена сообщениями и игрок продолжает участие в игре.
16. Способ предотвращения обмана в сетевой игре, применимый к игровым клиентским терминалам и игровому серверу, включающий предоставление игровым клиентским терминалом, используемым игроком, информации об игроке игровому серверу; прием игровым клиентским терминалом, используемым игроком, информации о партнере игрока от игрового сервера и отказ игрового клиентского терминала, используемого игроком, от передачи сообщения партнеру игрока на основании информации о партнере игрока, полученной от игрового сервера.
17. Способ по п.16, в котором информация об игроке, предоставляемая игровым клиентским терминалом, включает адрес компьютера, на котором установлен игровой клиентский терминал, одну или несколько активированных учетных записей для службы обмена сообщениями игрока, использующего игровой клиентский терминал, и место в игре, выбранное этим игроком; причем способ дополнительно содержит предоставление игровым клиентским терминалом, используемым игроком, адреса компьютера, на котором установлен игровой клиентский терминал, когда игрок заново вошел в систему на игровом сервере; предоставление игровым клиентским терминалом, используемым игроком, информации о месте, выбранном игроком; и проверку в режиме реального времени игровым клиентским терминалом, используемым игроком, одной или нескольких активированных учетных записей игрока для службы обмена сообщениями и предоставление одной или нескольких учетных записей игрока для службы обмена сообщениями.
18. Способ предотвращения обмана в сетевой игре, применимый к игровым клиентским терминалам и игровому серверу, включающий прием игровым сервером информации об участвующем в игре игроке от используемого игроком игрового клиентского терминала и определение игровым сервером партнера для игрока согласно полученной информации об игроке; и передачу игровым сервером информации о партнере игрока на используемый игроком игровой клиентский терминал; причем информацию о партнере игрока используют для уведомления используемого игроком игрового клиентского терминала о необходимости отказа от передачи сообщения партнеру игрока.
19. Способ по п.18, дополнительно содержащий передачу на игровой клиентский терминал, используемый партнером игрока, одной или нескольких самых последних активированных учетных записей игрока для службы обмена сообщениями, когда во время игры происходит изменение учетной записи игрока для службы обмена сообщениями и игрок продолжает участвовать в игре.
РИСУНКИ
|
|