|
|
(21), (22) Заявка: 2008130773/06, 24.07.2008
(24) Дата начала отсчета срока действия патента:
24.07.2008
(30) Конвенционный приоритет:
25.07.2007 JP 2007-192761 25.07.2007 JP 2007-192762 06.08.2007 JP 2007-203776 06.08.2007 JP 2007-203822
(46) Опубликовано: 27.04.2010
(56) Список документов, цитированных в отчете о поиске:
JP 2004084999 A, 18.03.2004. JP 2007093041 A, 12.04.2007. JP 2001235174 A, 31.08.2001. JP 3284755 B2, 20.05.2002. RU 2194923 С1, 20.12.2002.
Адрес для переписки:
129090, Москва, ул.Б.Спасская, 25, стр.3, ООО “Юридическая фирма Городисский и Партнеры”, А.В.Мицу
|
(72) Автор(ы):
КОГА Сеиити (JP), ОГУРА Нобухиро (JP), ХАЯСИ Йосиказу (JP)
(73) Патентообладатель(и):
САНИО ЭЛЕКТРИК КО., ЛТД. (JP)
|
(54) КОНДИЦИОНЕР ПОТОЛОЧНОГО ТИПА (ВАРИАНТЫ) И ЕГО ВНУТРЕННИЙ БЛОК (ВАРИАНТЫ)
(57) Реферат:
Кондиционер и его блок предназначены для создания комфортных условий в различных помещениях. Кондиционер содержит кронштейны для его подвешивания и внутренний блок, включающий в себя корпус в виде короба, имеющий верхнюю пластину, боковые пластины и открытую область, выполненную в нижней части этого корпуса, лицевую панель, установленную с возможностью снятия в открытой области корпуса, теплообменник внутреннего блока, за счет которого упомянутый корпус внутри разделен на основное пространство и дополнительное пространство, и воздухонагнетатель, прикрепленный к верхней пластине корпуса с той стороны этой пластины, которая обращена в основное пространство, дополнительно содержит теплоизоляционный материал основного пространства, размещенный на верхней пластине таким образом, что его поверхность обращена в основное пространство корпуса, и теплоизоляционный материал дополнительного пространства, размещенный на боковых пластинах таким образом, что его поверхность обращена в дополнительное пространство корпуса, причем теплоизоляционный материал основного пространства снабжен открытой областью, которая позволяет прикрепить воздухонагнетатель к верхней пластине. Технический результат – уменьшение габаритов. 4 н. и 10 з.п. ф-лы, 24 ил.
Настоящее изобретение относится к кондиционеру потолочного типа.
Внутренний блок кондиционера потолочного типа имеет корпус в виде короба, с нижней стороны которого выполнена открытая область. Внутри корпус разделен на основное пространство и дополнительное пространство в результате размещения теплообменника внутреннего блока. Основное пространство ограничено верхней пластиной корпуса и теплообменником внутреннего блока, и внутренний воздух, который еще не подвергнут кондиционированию, забирается из помещения в основное пространство. Дополнительное пространство ограничено боковыми пластинами корпуса, верхней пластиной корпуса и теплообменником внутреннего блока, и подвергнутый кондиционированию воздух подается из основного пространства в дополнительное пространство. Для предотвращения возникновения конденсата из-за наличия подвергнутого кондиционированию воздуха на боковых пластинах и верхней пластине корпуса размещен теплоизоляционный материал, который предназначен для теплоизоляции дополнительного пространства и поверхность которого обращена к дополнительному и основному пространствам таким образом, чтобы закрывать всю поверхность боковых пластин и верхней пластины (например, см. документ JP-A-2004-84999).
В то же время, существует незначительный риск того, что, кроме как в дополнительном пространстве, конденсат возникнет в основном пространстве, такой конденсат может возникнуть, если высока влажность воздуха в пространстве под сводом помещения. Поэтому существует вариант, когда теплоизоляционный материал устанавливают снаружи корпуса на его внешней поверхности.
Если теплоизоляционный материал установлен снаружи корпуса на его внешней поверхности, то высота внутреннего блока увеличивается.
Кроме того, у внутреннего блока кондиционера потолочного типа порт нагнетания воздуха имеет вытянутую форму и проходит вдоль каждой стороны лицевой панели, при этом для регулирования направления нагнетания воздуха, подвергнутого теплообмену, внутри упомянутого порта предусмотрена заслонка. Эта заслонка проходит в продольном направлении порта нагнетания воздуха и закреплена таким образом, чтобы позволить ей поворачиваться относительно валов качания, созданных на обоих концах в продольном направлении. В центральной части заслонки предусмотрен регулирующий элемент, предназначенный для регулирования диапазона качания этой заслонки. Этот регулирующий элемент приводится в контакт с регулирующим элементом, размещенным на стороне основного тела, в момент начала работы, в результате чего задают начальную точку для диапазона качания заслонки (например, см. документ JP-А-2007-93041).
Однако заслонка имеет вытянутую форму и, кроме того, она представляет собой деталь из литого полимера, поэтому она может искривляться (деформироваться) в результате воздействия теплоты нагнетаемого воздуха или тому подобного. Когда заслонка искривляется, изменяется положение регулирующего элемента заслонки, а также положение контакта между регулирующим элементом заслонки и регулирующим элементом на стороне основного тела. Поэтому существует риск того, что сместится начальная точка диапазона качания этой заслонки.
Далее, известен кондиционер потолочного типа, в корпусе которого размещены воздухонагнетатель и теплообменник и лицевая панель которого расположена с нижней стороны корпуса (например, см. документ JP-А-2001-235174). Кондиционер этого типа имеет область временного крепления, предназначенную для временного крепления лицевой панели к корпусу для безопасности. Лицевая панель временно прикрепляется к области временного крепления, а затем эта панель неподвижно закрепляется на корпусе винтами.
В этом случае, например, с нижней стороны дренажного поддона расположены кронштейны для установки, и области временного крепления выполнены в этих кронштейнах. В результате возникают проблемы, связанные с усложнением конструкции, увеличением количества деталей и ростом стоимости производства.
Также известен кондиционер потолочного типа, основное тело которого подвешено к перекрытию посредством болтов подвешивания, лицевая панель прикреплена к нижней поверхности основного тела кондиционера, а на четырех углах тела этой лицевой панели расположены угловые панели, которые можно свободно снимать.
В этом типе кондиционера, например, если рабочий работает с болтами для подвешивания, чтобы отрегулировать высоту основного тела внутреннего блока или тому подобное, этот рабочий снимает угловую панель с тела лицевой панели для высвобождения открытой области, выполненной в теле панели, и просовывает руку или инструмент через эту открытую область или совершает подобные действия, чтобы получить доступ и работать с болтом подвешивания. При этом необходимо, чтобы угловая панель легко удалялась с тела лицевой панели во время работы, как описано выше, по соображениям быстроты выполнения операции.
Исходя из этого, предлагается кондиционер, в котором угловая панель снабжена постоянным магнитом, лицевая панель снабжена металлической пластиной, приводимой в контакт с этим постоянным магнитом, и легкость снятия угловой панели с лицевой панели повышается за счет использования силы притяжения, возникающей между постоянным магнитом и металлической пластиной (например, см. японский патент 3284755).
Однако для рассмотренного выше кондиционера из-за необходимости использования постоянного магнита и металлической пластины увеличивается стоимость производства, и, кроме того, также необходимо предусмотреть специальный механизм прикрепления постоянного магнита и металлической пластины к угловой панели и лицевой панели, в результате чего усложняется конструкция устройства.
Таким образом, задачей настоящего изобретения является создание внутреннего блока кондиционера потолочного типа, в котором теплоизоляция может быть обеспечена без увеличения высоты этого внутреннего блока.
Также, другой задачей настоящего изобретения является создание внутреннего блока кондиционера потолочного типа, в котором изменение диапазона качания заслонки может быть уменьшено даже при искривлении этой заслонки.
Кроме того, еще одной задачей настоящего изобретения является создание кондиционера потолочного типа, обеспечивающего простую схему временного крепления лицевой панели, в результате чего может быть уменьшено количество деталей и, таким образом, может быть снижена стоимость производства.
Кроме того, следующей задачей настоящего изобретения является создание кондиционера потолочного типа, стоимость которого может быть снижена и конструкция может быть упрощена с сохранением легкости снятия угловой панели с лицевой панели.
Согласно первому аспекту настоящего изобретения, чтобы выполнить указанные выше задачи, внутренний блок кондиционера потолочного типа, включающий в себя корпус в виде короба, имеющий верхнюю пластину, боковые пластины и открытую область, выполненную в нижней части этого корпуса, лицевую панель, установленную с возможностью снятия в открытой области корпуса, теплообменник внутреннего блока, за счет которого упомянутый корпус внутри разделен на основное пространство и дополнительное пространство, и воздухонагнетатель, прикрепленный к верхней пластине корпуса, с той стороны этой пластины, которая обращена в основное пространство, дополнительно содержит: теплоизоляционный материал основного пространства, размещенный на верхней пластине таким образом, что его поверхность обращена в основное пространство корпуса, и теплоизоляционный материал дополнительного пространства, размещенный на боковых пластинах таким образом, что его поверхность обращена в дополнительное пространство корпуса, причем теплоизоляционный материал основного пространства снабжен открытой областью, которая позволяет прикрепить воздухонагнетатель к верхней пластине.
Согласно такому выполнению, теплоизоляционный материал основного пространства может быть размещен на верхней пластине с той ее стороны, которая обращена в основное пространство корпуса (т.е. на внутренней поверхности верхней пластины), таким образом, чтобы не загораживать область крепления воздухонагнетателя.
При описанном выше выполнении теплоизоляционный материал основного пространства и теплоизоляционный материал дополнительного пространства могут быть изготовлены как единое целое. При таком выполнении теплоизоляционный материал изготавливают целиком, поэтому можно уменьшить количество деталей. Кроме того, также может быть уменьшено число этапов монтажа.
Далее, при описанном выше выполнении внутренняя поверхность теплоизоляционного материала основного пространства, которая обращена в сторону воздухонагнетателя, может быть выполнена плоской. При таком выполнении воздушному потоку, направляемому воздухонагнетателем, ничто не мешает, и воздух может протекать по прямой траектории.
При описанном выше выполнении на внутренней поверхности теплоизоляционного материала основного пространства может быть выполнен вырез, в котором проходят провода, эта поверхность может быть снабжена фиксатором проводов, предназначенным для закрепления проводов в вырезе и прикрепления теплоизоляционного материала основного пространства к верхней пластине корпуса. Согласно этому исполнению, провода могут быть надежно закреплены, и, кроме того, к верхней пластине может быть надежно прикреплен теплоизоляционный материал.
Согласно первому аспекту настоящего изобретения, теплоизоляционный материал основного пространства размещен на верхней пластине с той стороны, которая обращена к основному пространству корпуса, и в теплоизоляционном материале основного пространства выполнена открытая область, предназначенная для прикрепления воздухонагнетателя к верхней пластине. В результате теплоизоляционный материал основного пространства может быть прикреплен к верхней пластине, при этом не занимая зону монтажа воздухонагнетателя. Соответственно, нет необходимости смещать область монтажа воздухонагревателя на величину, соответствующую толщине теплоизоляционного материала основного пространства. Поэтому не требуется увеличивать высоту корпуса. В результате, по сравнению с ситуацией, когда теплоизоляционный материал размещен с внешней стороны верхней пластины, теплоизоляция может быть выполнена без увеличения общей высоты внутреннего блока.
Кроме того, теплоизоляционный материал основного пространства и теплоизоляционный материал дополнительного пространства изготовлены как единое целое, поэтому по сравнению с ситуацией, когда их закрепляют по отдельности, время закрепления может быть сокращено, а также может быть облегчена работа по закреплению. Кроме того, может быть уменьшено количество деталей, и в результате может быть уменьшено число этапов изготовления.
Далее, внутренняя поверхность теплоизоляционного материала основного пространства, которая обращена в сторону воздухонагнетателя, выполнена плоской, поэтому не возникает турбулентности даже в случае, когда поток воздуха, подаваемый от воздухонагнетателя, ударяется об эту внутреннюю поверхность. В дополнение к этому воздушный поток, подаваемый от воздухонагнетателя, может течь по прямой траектории, в результате чего можно уменьшить шум ветра (шум при протекании воздуха) и, как следствие, можно обеспечить шумоизоляцию.
Далее, на внутренней поверхности теплоизоляционного материала основного пространства выполнен вырез, в котором проходят провода воздухонагнетателя, и имеется фиксатор проводов, предназначенный для закрепления проводов в вырезе и прикрепления теплоизоляционного материала основного пространства к верхней пластине корпуса, что позволяет надежно закрепить провода воздухонагнетателя. В дополнение к этому, теплоизоляционный материал может быть надежно прикреплен к верхней пластине, и, как следствие, не возникает ненужный зазор между теплоизоляционным материалом и верхней пластиной.
Согласно второму варианту реализации настоящего изобретения, внутренний блок кондиционера потолочного типа, включающий в себя корпус в виде короба, имеющий верхнюю пластину, боковые пластины и открытую область, выполненную в нижней части этого корпуса, лицевую панель, установленную с возможностью снятия в открытой области корпуса, теплообменник внутреннего блока, за счет которого упомянутый корпус внутри разделен на основное пространство и дополнительное пространство, и воздухонагнетатель, прикрепленный к верхней пластине корпуса, с той стороны этой пластины, которая обращена в основное пространство, дополнительно содержит: порт нагнетания воздуха, выполненный вытянутой формы и проходящий вдоль боковой стороны лицевой панели; заслонку, которая проходит в продольном направлении порта нагнетания воздуха и имеет валы качания на обоих концах; и посадочное место, имеющее монтажное отверстие, в котором с возможностью качания устанавливают каждый из валов качания, и шаговый двигатель, предназначенный для приведения в действие вала качания заслонки, причем каждый из валов качания заслонки снабжен выступом, который выступает от внешней периферийной поверхности вала качания, и стенка монтажного отверстия, выполненного в посадочном месте, снабжена, по меньшей мере, одним вырезом зацепления, который контактирует с упомянутым выступом для регулирования диапазона качания заслонки.
Согласно описанному выше выполнению, диапазон качания заслонки можно регулировать в зависимости от положения монтажного отверстия.
При описанном выполнении стенка монтажного отверстия посадочного места может быть снабжена двумя вырезами зацепления, которые имеют взаимно симметричное расположение. При таком выполнении нет необходимости предусматривать несколько типов посадочных мест, соответствующих положению выреза зацепления.
Кроме того, монтажное отверстие может иметь цилиндрическую форму. При таком выполнении легко изготовить монтажное отверстие и вырез зацепления.
Согласно второму аспекту настоящего изобретения, вал качания заслонки снабжен выступом, который выступает от внешней периферийной поверхности этого вала, и стенка монтажного отверстия снабжена вырезом зацепления, предназначенным для регулирования диапазона качания заслонки за счет контакта с упомянутым выступом. В результате можно регулировать диапазон качания заслонки с использованием области монтажного отверстия, расположенной рядом с монтажной областью шагового двигателя. Поэтому даже при искривлении заслонки из-за воздействия теплоты нагнетаемого воздуха или тому подобного эта теплота не влияет на выступ, что позволяет предотвратить взаимное смещение выступа и выреза зацепления. В результате при кондиционировании воздух, подвергнутый теплообмену, может подаваться в желаемую зону.
Кроме того, вырезы зацепления выполнены в стенке монтажного отверстия симметричным образом. Поэтому даже при изменении ориентации заслонки при ее установке на посадочное место можно сделать так, чтобы выступ упирался в вырез зацепления. В результате нет необходимости предусматривать несколько типов посадочных мест, и детали могут быть унифицированы за счет использования одного посадочного места.
Далее, за счет использования монтажного отверстия цилиндрической формы можно легко изготовить это монтажное отверстие и вырезы зацепления, в результате чего можно снизить стоимость производства.
Согласно третьему аспекту настоящего изобретения, предлагается кондиционер потолочного типа, включающий в себя корпус в виде короба, имеющий верхнюю пластину, боковые пластины и открытую область, выполненную в нижней части этого корпуса, лицевую панель, установленную с возможностью снятия в открытой области корпуса, теплообменник внутреннего блока, за счет которого упомянутый корпус внутри разделен на основное пространство и дополнительное пространство, воздухонагнетатель, прикрепленный к верхней пластине корпуса с той стороны этой пластины, которая обращена в основное пространство, и кронштейны для подвешивания, которые выполнены на боковых пластинах корпуса и через которые вставляют болты подвешивания, опускающиеся от балок перекрытия, для подвешивания корпуса к перекрытию, отличающийся тем, что каждый из кронштейнов для подвешивания содержит первую часть, проходящую в корпусе, вторую часть, проходящую через отверстие, выполненное в корпусе, наружу корпуса, по существу, параллельно верхней пластине, и третью часть, которую зацепляют за нижний торец боковой пластины корпуса, для создания опоры для нижнего торца боковой пластины корпуса, и которая снабжена областью временного крепления, предназначенной для временного крепления лицевой панели к корпусу.
Согласно третьему аспекту настоящего изобретения, третья часть, входящая в состав кронштейна для подвешивания, снабжена областью временного крепления, предназначенной для временного крепления лицевой панели, в результате упрощается схема временного крепления лицевой панели и нет необходимости в наличии отдельной детали для временного крепления. Поэтому можно уменьшить количество деталей и, как следствие, снизить стоимость производства.
При описанном выше выполнении третья часть может быть снабжена областью окончательной фиксации, предназначенной для окончательной фиксации временно закрепленной панели на корпусе. Согласно такому выполнению, в упомянутой третьей части кронштейна для подвешивания предусмотрены область окончательной фиксации и область временного крепления, поэтому можно упростить схему фиксации лицевой панели. Кроме того, как область окончательной фиксации, так и область временного крепления выполнены в третьей части кронштейна для подвешивания. Поэтому после временного крепления лицевой панели можно непосредственно выполнить окончательную фиксацию этой панели к корпусу, например, без изменения положения лестницы-стремянки, на которой стоит рабочий, в результате чего можно усовершенствовать технологию монтажа.
Кроме того, область временного крепления может быть создана путем изгибания вверх концевого участка третьей части. Согласно такому выполнению, область временного крепления можно создать простым образом и можно упростить схему временного крепления лицевой панели.
При описанном выше выполнении лицевая панель может быть снабжена открытыми областями на четырех ее углах, которые соответствуют кронштейнам для подвешивания, причем эти открытые области лицевой панели закрыты угловыми панелями, и каждая из пары открытых областей, расположенных друг против друга по диагонали из числа открытых областей лицевой панели, может быть снабжена крюкообразным элементом, который зацепляют за область временного крепления. Согласно такому выполнению, при снятии угловой панели можно легко получить доступ к крюкообразному элементу, в результате чего можно легко зацепить крюкообразный элемент за область временного крепления/снять крюкообразный элемент с этой области временного крепления. Кроме того, крюкообразный элемент предусмотрен для каждой из расположенных друг против друга по диагонали открытых областей лицевой панели, поэтому в случае внутреннего блока миникассетного типа, имеющего небольшие габариты в горизонтальной плоскости, рабочий может в одиночку легко установить/снять лицевую панель.
Согласно третьему аспекту настоящего изобретения, третья часть, входящая в состав кронштейна для подвешивания, снабжена областью временного крепления, предназначенной для временного крепления лицевой панели, в результате чего упрощается схема временного крепления лицевой панели и, таким образом, нет необходимости в наличии отдельной детали для временного крепления. Соответственно, можно уменьшить количество деталей, а также снизить стоимость производства.
Согласно четвертому аспекту настоящего изобретения, предлагается кондиционер потолочного типа, включающий в себя корпус в виде короба, имеющий верхнюю пластину, боковые пластины и открытую область, выполненную в нижней части этого корпуса, лицевую панель, установленную с возможностью снятия в открытой области корпуса, теплообменник внутреннего блока, за счет которого упомянутый корпус внутри разделен на основное пространство и дополнительное пространство, воздухонагнетатель, прикрепленный к верхней пластине корпуса с той стороны этой пластины, которая обращена в основное пространство, и угловую панель, установленную с возможностью снятия в каждой из четырех угловых областей тела лицевой панели, отличающийся тем, что угловая панель снабжена лапкой зацепления, выполненной с возможностью зацепления в отверстии зацепления, созданном в каждой из четырех угловых областей тела лицевой панели, и крепежную ножку, которая создана в одной угловой области угловой панели таким образом, что она проходит к посадочной части, выполненной на внутренней угловой стенке тела лицевой панели, и закреплена в этой посадочной части при установке угловой панели на теле лицевой панели.
При описанном выше выполнении крепежная ножка может быть выполнена из упругого материала и снабжена выступом, выполненным с возможностью зацепления в отверстии зацепления, созданном на внутренней угловой стенке.
При описанном выше выполнении на концевом участке крепежной ножки может быть создана площадка, проходящая над посадочной частью, когда угловая панель установлена на тело лицевой панели.
Согласно четвертому аспекту настоящего изобретения, угловую панель перемещают с усилием в направлении перекрытия к тому месту тела лицевой панели, где эта угловая панель должна быть закреплена, лапку зацепления на угловой панели вводят в отверстие зацепления, созданное в теле лицевой панели, и выступ крепежной ножки угловой панели располагают в отверстии зацепления во внутренней угловой стенке тела лицевой панели, что позволяет с легкостью закрепить угловую панель на теле лицевой панели. Кроме того, при упругом деформировании крепежной ножки для ослабления зацепления между выступом и отверстием зацепления можно легко снять угловую панель с тела лицевой панели. В результате можно облегчить установку/снятие без использования какого-либо специального элемента, например постоянного магнита, пластины или тому подобного, можно уменьшить стоимость и упростить конструкцию устройства.
Сущность изобретения поясняется на чертежах, где:
Фиг.1 – схематичный вид внутреннего блока кондиционера потолочного типа, соответствующего настоящему изобретению, если смотреть под углом с нижней стороны;
Фиг.2 – вид сбоку в разрезе внутреннего блока, показанного на Фиг.1;
Фиг.3 – вид в плане, иллюстрирующий расположение теплоизоляционного материала и двигателя вентилятора при их монтаже в корпусе;
Фиг.4 – общий вид, соответствующий Фиг.3, если смотреть под углом сверху;
Фиг.5 – вид сбоку в разрезе, соответствующий Фиг.3;
Фиг.6 – общий вид, иллюстрирующий теплоизоляционный материал как единое целое, если смотреть под углом сверху;
Фиг.7 – общий вид, иллюстрирующий двигатель вентилятора в сборе;
Фиг.8 – вид сбоку резинового амортизатора, прикрепленного к основанию двигателя вентилятора;
Фиг.9 – общий вид в увеличенном масштабе порта нагнетания воздуха, созданного в лицевой панели, а также заслонки в кондиционере потолочного типа;
Фиг.10 – схематично показанное изображение в увеличенном масштабе опорной части заслонки, показанной на Фиг.9;
Фиг.11 – вид в плане, иллюстрирующий расположение шагового двигателя при монтаже на посадочном месте;
Фиг.12 – общий вид посадочного места для шагового двигателя;
Фиг.13 – общий вид заслонки как одной детали;
Фиг.14 – общий вид корпуса с установленными на нем кронштейнами для подвешивания;
Фиг.15 – схема операции установки кронштейнов для подвешивания на корпусе;
Фиг.16 – общий вид, иллюстрирующий лицевую панель, с которой снята угловая панель;
Фиг.17 – схема операции монтажа лицевой панели;
Фиг.18 – схема размещения кондиционера потолочного типа в подвесном потолке с ячеистой структурой, если смотреть на кондиционер со стороны помещения;
Фиг.19 – общий вид кондиционера с нижней его стороны;
Фиг.20 – вид кондиционера в продольном разрезе;
Фиг.21 – вид одной из угловых областей тела лицевой панели, если смотреть со стороны помещения;
Фиг.22 – общий вид угловой панели с обратной ее стороны;
Фиг.23 – схема, иллюстрирующая момент перед прикреплением угловой панели к телу лицевой панели; и
Фиг.24 – схема, иллюстрирующая момент после прикрепления угловой панели к телу лицевой панели.
Далее со ссылкой на сопровождающие чертежи будут описаны предпочтительные варианты реализации настоящего изобретения.
Первый вариант
Ниже со ссылкой на сопровождающие чертежи будет описан первый вариант реализации настоящего изобретения. На Фиг.1 представлен общий вид внутреннего блока 10 кондиционера потолочного типа, если смотреть со стороны нижней поверхности, а Фиг.2 представляет собой вид в продольном разрезе основного тела 20 внутреннего блока. В этом варианте реализации настоящего изобретения в качестве примера внутреннего блока 10 будет описан внутренний блок кассетного типа с подачей воздуха в четырех направлениях и миникассетного типа с габаритами в горизонтальной плоскости 600 мм × 600 мм. Однако настоящее изобретение не ограничивается указанным выше типом и может быть применено для внутреннего блока с двумя направлениями подачи воздуха или с четырьмя направлениями подачи воздуха, имеющего обычные габариты в горизонтальной плоскости.
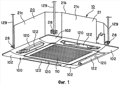
Как показано на Фиг.1, внутренний блок 10 кондиционера имеет основное тело 20, которое устанавливают в монтажное отверстие, выполненное в ячейке подвесного потолка, со стороны помещения, и лицевую панель 100, прикрепленную к основному телу 20 внутреннего блока с нижней стороны.
Основное тело 20 внутреннего блока имеет корпус 21, формирующий внешние очертания (габариты в горизонтальной плоскости) этого основного тела. Корпус выполнен в виде короба и содержит нижнюю открытую область 21а, которая представляет собой полностью открытый участок с нижней стороны, а также верхнюю пластину 21b и боковые пластины 21с. Верхняя пластина 21b и боковые пластины 21с изготовлены в результате обработки листового металла. Нижняя открытая область 21а закрыта лицевой панелью 100, которая описана выше.
Как показано на Фиг.1, в четырех угловых областях на внешних поверхностях боковых пластин 21с корпуса 21 расположены кронштейны 28 для подвешивания, предназначенные для подвешивания основного тела 20 внутреннего блока. Кронштейны 28 для подвешивания закреплены на болтах 129 для подвешивания, опускающихся от перекрытия, в результате чего основное тело 20 внутреннего блока подвешивают к перекрытию. Кроме того, основное тело 20 внутреннего блока может быть прикреплено к удерживающим рейкам, формирующим ячеистую структуру поверхности подвесного потолка.
Лицевая панель 100 имеет порт 110 всасывания воздуха, предназначенный для забора внутреннего воздуха в центральную часть лицевой панели, четыре порта 120 нагнетания воздуха, которые имеют вытянутую форму, расположены вдоль боковых сторон лицевой панели 100 вокруг порта 110 всасывания воздуха и нагнетают воздух, подвергнутый теплообмену, и угловые панели 102, образующие четыре угловых области лицевой панели 100. Каждый из портов 120 нагнетания воздуха снабжен заслонкой 122, предназначенной для регулирования направления нагнетания воздуха. Угловые панели 102 выполнены такой конструкции, которая позволяет устанавливать их с возможностью снятия с нижней стороны лицевой панели 100, и такого размера, чтобы рабочий-установщик мог рукой дотянуться до области установки кронштейнов 28 для подвешивания на болтах 129 для подвешивания, когда угловая панель 102 снята.
На всей внутренней поверхности верхней пластины 21b и боковых пластин 21с корпуса 21 установлен теплоизоляционный материал 22, изготовленный из пенополистирола (подробно описан далее), и основное тело 20 внутреннего блока имеет такую схему теплоизоляции, которая обеспечивает незначительный теплоперенос между внутренним пространством корпуса и внешней средой снаружи этого корпуса.
В корпусе 21 установлен теплообменник 24 внутреннего блока, каркас которого в плане имеет, по существу, прямоугольную форму. Верхняя торцевая часть теплообменника 24 внутреннего блока закреплена таким образом, что между этой торцевой частью и теплоизоляционным материалом 22, как показано на Фиг.2, не возникает зазора. Нижняя торцевая часть теплообменника 24 внутреннего блока закреплена таким образом, что между этой торцевой частью и дренажным поддоном 25, предназначенным для приема сливаемой воды, образующейся в процессе теплообмена, не возникает зазора.
Соответственно, теплообменник 24 внутреннего блока секционирует внутреннее пространство на основное пространство S1 (центральная область корпуса 21, если смотреть в горизонтальной плоскости) и дополнительное пространство S2 (периферийная область со стороны боковых пластин корпуса 21, если смотреть в горизонтальной плоскости).
Основное пространство S1 ограничено верхней пластиной 21b корпуса 21 и теплообменником 24 внутреннего блока, и в этом пространстве расположен воздухонагнетатель 23. Воздухонагнетатель 23 содержит двигатель 23а вентилятора, прикрепленный к верхней пластине 21b корпуса 21 подходящими средствами, и вентилятор 23b, установленный на поворотном вале двигателя вентилятора. Соответственно, при вращении вала вентилятора 23b воздух всасывается в направлении поворотного вала (в направлении Т1 на Фиг.2) через порт 110 всасывания воздуха и нагнетается в периферийную область (в направлении к теплообменнику 24 внутреннего блока, в направлении Т2 на Фиг.2).
Кроме того, между портом 110 всасывания воздуха на лицевой панели 100 и воздухонагнетателем 23 расположен колоколообразный раструб 26, выполненный таким образом, чтобы он сужался как конус к воздухонагнетателю 23. Сбоку от колоколообразного раструба 26 со стороны его внешней периферийной поверхности расположен блок 27 электрики. В блоке 27 электрики размещены электрические схемы управления, предназначенные для управления электрическими устройствами, такими как воздухонагнетатель 23 и т.д.
Дополнительное пространство S2 ограничено боковыми пластинами 21с и верхней пластиной 21b корпуса 21, а также теплообменником 24 внутреннего блока, и воздух, подаваемый из основного пространства S1, подвергается теплообмену посредством теплообменника 24 внутреннего блока и затем направляется в это дополнительное пространство S2.
На Фиг.3 представлен вид снизу, иллюстрирующий расположение теплоизоляционного материала 22, двигателя 23а вентилятора, входящего в состав воздухонагнетателя 23, и узла 29 дренажного насоса, предназначенного для откачивания сливаемой воды, находящейся в дренажном поддоне 25, при их монтаже в корпусе 21. На Фиг.4 представлен общий вид, полученный из Фиг.3, если смотреть под углом сверху, а на Фиг.5 представлен вид сбоку в разрезе, соответствующий Фиг.3. На Фиг.6 представлен общий вид, иллюстрирующий теплоизоляционный материал как единое целое, если смотреть под углом сверху. На Фиг.3-6 основное тело 20 внутреннего блока показано в перевернутом состоянии (нижняя открытая область 21а расположена сверху), именно в этом положении происходит изготовление основного тела 20 внутреннего блока.
Как показано на Фиг.2 и 6, теплоизоляционный материал 22 состоит из основного теплоизоляционного материала 22а, поверхность которого обращена в основное пространство S1, и дополнительного теплоизоляционного материала 22b, установленного таким образом, что его поверхность обращена в дополнительное пространство S2. Основной теплоизоляционный материал 22а и дополнительный теплоизоляционный материал 22b изготовлены как единое целое из пенополистирола. Основной теплоизоляционный материал 22а используют для создания препятствия теплопереносу между воздухом, находящимся выше верхней пластины 21b под сводом помещения, и внутренним воздухом, забираемым в основное пространство. Кроме того, дополнительный теплоизоляционный материал 22b используют для создания препятствия теплопереносу между воздухом, находящимся под сводом помещения, и воздухом, подвергнутым теплообмену при помощи теплообменника 24 внутреннего блока.
На внутренней поверхности Q основного теплоизоляционного материала 22а создана канавка 31, которая выполнена таким образом, чтобы она проходила с внешней стороны от двигателя 23а вентилятора, как показано на Фиг.3-6. Теплообменник 24 внутреннего блока изготовлен таким образом, чтобы его верхняя торцевая часть соответствовала по форме поверхности дна канавки 31 и чтобы эта верхняя торцевая часть теплообменника 24 внутреннего блока и канавка 31 приводились во взаимный контакт без зазора между ними.
Как показано на Фиг.6, на внутренней поверхности Q основного теплоизоляционного материала 22а создана углубленная площадка R, на которой закрепляют двигатель 23а вентилятора. Эта углубленная площадка R находится ниже относительно оставшейся части внутренней поверхности Q на расстоянии, соответствующем одному перепаду уровня по вертикали, и выполнена таким образом, чтобы двигатель 23а вентилятора находился на той же высоте, что и в обычном кондиционере. Как показано на Фиг.6, три отверстия 32 созданы в соответствии с положениями монтажных областей 40 двигателя 23а вентилятора. Отверстия 32 выполнены таким образом, чтобы они проходили насквозь от внутренней поверхности Q до поверхности обратной стороны.
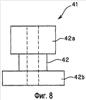
Как показано на Фиг.7, двигатель 23а вентилятора, расположенный на углубленной площадке R, имеет три монтажных области 40, в каждой из которых закрепляют резиновый амортизатор 41. Если говорить более подробно, резиновый амортизатор 41 выполнен, по существу, цилиндрической формы, и в центральной (в направлении по высоте) части этого амортизатора создана суженая часть 42, как показано на Фиг.8. Эту суженую часть 42 закрепляют в выемке 43, созданной в монтажной области 40, таким образом, чтобы зажать монтажную область 40 по толщине, как показано на Фиг.7. Кроме того, резиновый амортизатор 41 изготовлен таким образом, чтобы верхняя часть 42а и нижняя часть 42b имели отличающийся диаметр вплоть до суженой части 42.
Диаметр нижней части 42b задают таким образом, чтобы он был, по существу, равен диаметру отверстия 32 в основном теплоизоляционном материале 22а, в результате чего нижняя часть 42b входит в отверстие 32 без зазора. При сборке двигателя 23а вентилятора и верхней пластины 21b посредством болтов 44 двигатель 23а вентилятора неподвижно закрепляют на верхней пластине 21b. Резиновый амортизатор 41 обеспечивает поглощение вибрации двигателя 23а вентилятора, возникающей при вращении этого двигателя.
Как показано на Фиг.6, на внутренней поверхности Q основного теплоизоляционного материала 22а создан вырез 51, в котором размещают провода 50, проходящие от двигателя 23а вентилятора. Провода 50 соединены с блоком 27 электрики и подают питание на двигатель 23а вентилятора. Фиксатор 52 проводов закреплен относительно выреза 51 таким образом, чтобы закрывать этот вырез. Как показано на Фиг.3, фиксатор 52 проводов прикреплен к верхней пластине 21b посредством винтов 53 или тому подобного. Фиксатор 52 проводов закреплен на верхней пластине 21b, в результате чего он обеспечивает прижатие основного теплоизоляционного материала 22а к верхней пластине 21b без зазора между ними.
Внутренняя поверхность Q основного теплоизоляционного материала 22а образована плоской поверхностью без перепадов уровня. При закреплении фиксатора 52 проводов поверхность этого фиксатора 52 и внутренняя поверхность Q находятся, по существу, в одной плоскости.
То есть внутренняя поверхность Q расположена таким образом, что она обращена к воздухонагнетателю 23, и воздух, подаваемый из этого воздухонагнетателя 23, ударяется о внутреннюю поверхность Q. В результате воздух не ударяет в перепад уровней или разноуровневую зону и поэтому не возникает турбулентного потока воздуха. Кроме того, воздух ударяется о внутреннюю поверхность Q, и плоская поверхность обеспечивает движение воздуха по абсолютно прямой траектории.
В соответствующем этому варианту реализации настоящего изобретения внутреннем блоке 10 кондиционера потолочного типа на верхней пластине 21b с той ее стороны, которая обращена в основное пространство S1 корпуса 21, размещен основной теплоизоляционный материал 22а, и это создает препятствие теплопереносу между воздухом, находящимся под сводом помещения, и внутренним воздухом, всасываемым в основное пространство S1. Соответственно, можно предотвратить возникновение конденсата в корпусе 21.
В основном теплоизоляционном материале 22а создано отверстие 32 для прикрепления воздухонагнетателя 23 к верхней пластине 21b, в результате этого основной теплоизоляционный материал 22а может быть установлен на верхней пластине, не мешая закреплению резинового амортизатора 41 в монтажной области 40 воздухонагнетателя 23. Следовательно, не требуется смещать монтажное положение воздухонагнетателя 23 в направлении по высоте на величину, определяемую наличием основного теплоизоляционного материала 22а, поэтому не требуется увеличивать высоту корпуса 21. Таким образом, по сравнению с ситуацией, когда теплоизоляционный материал размещен с внешней стороны верхней пластины 21b, теплоизоляция может быть обеспечена без увеличения высоты основного тела 20 внутреннего блока.
Основной теплоизоляционный материал 22а и дополнительный теплоизоляционный материал 22b изготовлены как единое целое, и по сравнению с ситуацией, когда изготовленные по отдельности основной теплоизоляционный материал 22а и дополнительный теплоизоляционный материал 22b закрепляют по отдельности, можно сократить время монтажа. В дополнение к этому можно облегчить выполнение монтажа. Кроме того, можно уменьшить количество деталей и в результате можно уменьшить число этапов изготовления.
Далее, внутренняя поверхность Q основного теплоизоляционного материала 22а, которая обращена в сторону воздухонагнетателя 23, выполнена плоской формы, поэтому воздух, подаваемый воздухонагнетателем 23, ударяется о внутреннюю поверхность Q основного теплоизоляционного материала 22а и при этом не возникает турбулентного воздушного потока. Более того, можно выпрямить траекторию движения воздуха, подаваемого воздухонагнетателем 23, в результате чего можно уменьшить создаваемый им шум и обеспечить шумоизоляцию.
На внутренней поверхности основного теплоизоляционного материала 22а выполнен вырез 51, по которому проходят провода 50 воздухонагнетателя 23, и провода 50 закреплены в этом вырезе 51. В дополнение к этому предусмотрен фиксатор 52 проводов, предназначенный для прикрепления основного теплоизоляционного материала 22а к верхней пластине 21b корпуса 21, за счет этого провода 50 воздухонагнетателя 23 могут быть надежно закреплены. Кроме того, основной теплоизоляционный материал 22а может быть надежно прикреплен к верхней пластине 21b, и поэтому не возникает ненужного зазора между основным теплоизоляционным материалом 22а и верхней пластиной 21b.
Настоящее изобретение не ограничивается описанным выше вариантом его реализации, и на основе общей технической идеи настоящего изобретения могут быть выполнены модификации и изменения различного типа.
Что касается теплоизоляционного материала 22, то во внутреннем блоке 10, соответствующем этому варианту реализации настоящего изобретения, основной теплоизоляционный материал 22а и дополнительный теплоизоляционный материал 22b изготовлены как единое целое. Однако они могут быть изготовлены по отдельности. То есть теплоизоляционный материал может быть получен путем выбора подходящим образом либо объединения, либо разделения с учетом размера металлической формы для изготовления теплоизоляционного материала, стоимости этой формы и т.п., при том, что размер теплоизоляционного материала 22 варьируется в соответствии с размером внутреннего блока 10 (например, миникассетного типа, габариты которого уменьшены до 600 мм × 600 мм).
Второй вариант
На Фиг.9 представлен общий вид в увеличенном масштабе порта 120 нагнетания воздуха и заслонки 122, размещенных в лицевой панели 100, и на Фиг.10 представлено изображение в увеличенном масштабе опорной части этой заслонки. На Фиг.11 представлен вид в плане, иллюстрирующий при снятой угловой панели 102 расположение посадочного места для шагового двигателя при его монтаже на лицевой панели 100. На Фиг.12 представлен общий вид посадочного места 30 для шагового двигателя, и на Фиг.13 представлен общий вид заслонки 122 как одной детали.
Заслонка 122 проходит, по существу, вдоль всей длины порта 120 нагнетания воздуха в его продольном направлении, как показано на Фиг.1 и Фиг.9. Из четырех угловых областей лицевой панели 100 в одной такой угловой области, которая показана в верхней левой части чертежа на Фиг.5, созданы два посадочных места 30, служащих опорой для одного из концов заслонки 122 в ее продольном направлении (то есть в других трех угловых областях посадочное место не предусмотрено). Как показано на Фиг.10, посадочное место 30 служит опорой для одного из концов заслонки 122.
Как показано на Фиг.12, посадочное место 30 выполнено таким образом, что в сечении оно имеет, по существу, L-образную форму и содержит горизонтальную часть 31а и вертикальную стенку 31b, и на внешней поверхности вертикальной стенки 31b выполнен цилиндрический опорный элемент 32, проходящий в направлении наружу. В горизонтальной части 31а создано монтажное отверстие 33, предназначенное для прикрепления посадочного места 30 к основному телу лицевой панели 100. Как показано на Фиг.10, внешняя поверхность вертикальной стенки 31b образует внутреннюю поверхность одного из торцов порта 120 нагнетания воздуха, расположенных в продольном направлении.
Кроме того, в L-образной внутренней части посадочного места 30 закреплен шаговый двигатель 34. Шаговый двигатель 34 соединен с блоком 27 электрики проводами (не показаны), и углом поворота этого двигателя управляют при помощи контроллера, находящегося в блоке 27 электрики.
Цилиндрический опорный элемент 32 состоит из сплошной стенки 32а отверстия и полой части 32b, окруженной этой стенкой 32а отверстия. В стенке 32а отверстия создан, по меньшей мере, один вырез зацепления. В данном варианте реализации настоящего изобретения в стенке 32а отверстия создано два выреза 35а, 35b зацепления, которые расположены взаимно симметрично, если смотреть на посадочное место 30 спереди (в направлении А, показанном на Фиг.12). Как показано на Фиг.12, вырезы 35а, 35b зацепления выполнены таким образом, что проходят от края стенки 32а отверстия к вертикальной стенке 31b.
Как показано на Фиг.12, по центру полой части 32b цилиндрического опорного элемента 32 размещен приводной вал 34а шагового двигателя 34, вытянутый в том же направлении, что и цилиндрический опорный элемент.
Заслонка 12 изготавливается с использованием литья из полимера как одна деталь и содержит пластину 40, задающую направление воздушного потока, которая вытянута в продольном направлении и ширина которой увеличивается к ее центральной части, а также два вала 41 качания, проходящих наружу от концевых частей пластины 40, задающей направление воздушного потока, в ее продольном направлении, как показано на Фиг.11. Вал 41 качания выполнен таким образом, чтобы он имел, по существу, цилиндрическую форму, а в верхней и нижней частях вала 41 качания созданы плоские участки 41а, которые взаимно параллельны. На верхнем плоском участке 41а создан выступ 42 в виде прямоугольного параллелепипеда, который выступает в направлении наружу от внешней поверхности вала 41 качания. В торцевых частях валов 41 качания созданы, по существу, эллиптические отверстия 43 зацепления, центры которых совпадают с осями соответствующих валов 41 качания. Диаметр дугообразного участка 41b задают таким образом, чтобы он был равен или чуть меньше диаметра полой части 32b цилиндрического опорного элемента 32.
Когда вал 41 качания устанавливают внутрь полой части 32b цилиндрического опорного элемента 32, показанного на Фиг.12, приводной вал 34а шагового двигателя 34 входит в отверстие 43 зацепления. Дугообразный участок 41b вала 41 качания может свободно поворачиваться, находясь в скользящем контакте с внутренней поверхностью стенки 32а отверстия. В то же время, выступ 42 вала 41 качания входит в вырез 35а или 35b зацепления и при повороте заслонки 122 выступ 42 приходит в контакт с вырезом 35а или 35b зацепления, таким образом регулируя диапазон качания заслонки 122.
Далее со ссылкой на Фиг.11 будет описана установка посадочного места 30.
Если рассматривать случай для одного посадочного места 30 из двух посадочных мест 30, приводной вал 34а шагового двигателя 34 (см. Фиг.12) установлен таким образом, что он обращен в нижнюю часть чертежа на Фиг.11 и этот шаговый двигатель 34 поворачивает заслонку 122 (на Фиг.11 обозначенную ссылочным номером 122L), установленную вдоль левой стороны лицевой панели 100.
В плоскости чертежа на Фиг.11 в нижней угловой области (не показана) лицевой панели 100 размещено соединительное устройство (не показано), предназначенное для соединения нижнего вала 41 качания заслонки 122L и вала 41 качания заслонки 122, установленной в направлении вдоль нижней стороны лицевой панели. Соединительное устройство может непосредственно передавать вращательный момент шагового двигателя 34 на заслонку 122, проходящую вдоль нижней стороны лицевой панели 100 и, кроме того, две заслонки 122 соединены друг с другом таким образом, чтобы поворачиваться синфазно.
Если рассматривать случай для другого посадочного места 30 из двух посадочных мест, приводной вал 34а шагового двигателя 34 (см. Фиг.12) установлен таким образом, что обращен в правую часть чертежа на Фиг.11, и шаговый двигатель 34 поворачивает заслонку 122 (на Фиг.11 обозначенную ссылочным номером 122U), установленную вдоль верхней стороны лицевой панели 100.
В плоскости чертежа на Фиг.11 в верхней правой угловой области (не показана) лицевой панели 100 размещено соединительное устройство (не показано), предназначенное для соединения вала 41 качания на правой стороне заслонки 122U и вала 41 качания заслонки 122, установленной в направлении вдоль правой стороны лицевой панели. Как и в случае рассмотренного выше соединительного устройства, это соединительное устройство может непосредственно передавать вращательный момент шагового двигателя 34 на заслонку 122, проходящую вдоль правой стороны лицевой панели 100, и, кроме того, две заслонки 122 соединены друг с другом таким образом, чтобы поворачиваться синфазно.
Когда вал 41 качания устанавливают в цилиндрический опорный элемент 32 посадочного места 30, выступ 42 вала 41 качания рассмотренной выше заслонки 122L входит в вырез 35а зацепления, находящийся с левой стороны, если смотреть в направлении по стрелке А на Фиг.12. Когда вал 41 качания устанавливают в цилиндрический опорный элемент 32 посадочного места 30, выступ 42 вала 41 качания рассмотренной выше заслонки 122U входит в вырез 35а зацепления, находящийся с правой стороны, если смотреть в направлении по стрелке А на Фиг.12. То есть вырезы 35а и 35b созданы таким образом, что они взаимно симметричны, в результате чего можно одновременно использовать два посадочных места 30.
Монтажное отверстие 33 посадочного места 30 расположено таким образом, что оно обращено в сторону помещения, когда угловая панель 102 (см. Фиг.1) снята, как показано на Фиг.11. Соответственно, при снятии угловой панели можно заменить посадочное место 30.
Далее будет описана работа внутреннего блока, соответствующего этому варианту реализации настоящего изобретения.
Когда внутренний блок 10 начинает работать, четыре заслонки 122, находящиеся в порте 120 нагнетания воздуха, приводятся в действие шаговыми двигателями 34, установленными на двух посадочных местах 30, что приводит к началу качания заслонок 122. При этом выступ 42, имеющийся на вале 41 качания заслонки 122, упирается в боковую часть выреза 35а или 35b, что определяет начальную точку диапазона качания заслонки 122. После этого шаговый двигатель 34 поворачивается на заданный угол в ответ на сигнал от схемы управления, и диапазон качания заслонки определяется на основе сигнала, поступившего от схемы управления.
Во внутреннем блоке 10 кондиционера потолочного типа, соответствующем настоящему изобретению, вал 41 качания заслонки снабжен выступом 42, выступающим в направлении наружу от внешней поверхности вала 41 качания, а стенка 32а отверстия снабжена вырезами 35а, 35b зацепления, в которые упирается выступ 42 для регулирования начальной точки диапазона качания заслонки 122. В результате посредством цилиндрического опорного элемента 32, находящегося рядом с монтажной областью шагового двигателя 34, можно регулировать начальную точку диапазона качания заслонки 122. Таким образом, даже при искривлении пластины 40, задающей направление воздушного потока, которая выполнена на заслонке 122, из-за воздействия теплоты нагнетаемого воздуха или тому подобного это искривление пластины 40 не влияет на выступ 42, и поэтому можно предотвратить взаимное смещение выступа 42 и вырезов 35а, 35b зацепления. В результате во время операции кондиционирования воздух, подвергнутый теплообмену, может подаваться в заданную область.
Так как вырезы 35а и 35b зацепления выполнены в стенке 32а отверстия симметричным образом, то выступ 42 может быть выполнен таким образом, чтобы упираться в вырез 35а, 35b даже при смене направления установки заслонки 122 в посадочном месте 30 на обратное. В результате нет необходимости предусматривать несколько типов посадочных мест 30, и детали могут быть унифицированы за счет использования одного посадочного места 30.
Кроме того, отверстие, в которое устанавливают вал 41 качания, определено цилиндрическим опорным элементом 32, за счет чего легко создать полую часть 32b и вырезы 35а, 35b зацепления, а также можно снизить стоимость.
Когда угловая панель 102 снята, монтажное отверстие 33 посадочного места 30 расположено таким образом, что оно обращено в сторону помещения. Таким образом, при снятии угловой панели 102 можно с легкостью заменить посадочное место 30, в результате чего можно облегчить техническое обслуживание.
Настоящее изобретение не ограничивается описанным выше вариантом его реализации, и на основе общей технической идеи настоящего изобретения могут быть выполнены модификации и изменения различного типа.
В описанном выше варианте цилиндрический опорный элемент 32 создан в посадочном месте 30 и вал 41 качания устанавливают в этот цилиндрический опорный элемент 32. Однако может быть использована другая схема. Например, отверстие соответствует дугообразному участку 41b вала 41 качания и для этого отверстия может быть выполнен вырез, предназначенный для регулирования диапазона перемещения выступа 42.
Третий вариант
На Фиг.14 представлен общий вид корпуса 21с установленными на нем кронштейнами для подвешивания, и на Фиг.15 представлена схема операции установки кронштейнов для подвешивания на корпусе.
Как описано выше, кронштейны 28 для подвешивания прикрепляют соответственно с четырех углов корпуса 21, и болты 129 для подвешивания проходят через кронштейны 28 для подвешивания, что позволяет подвесить корпус 21 к перекрытию посредством этих болтов 129 для подвешивания. Как показано на Фиг.15, каждый из кронштейнов 28 для подвешивания содержит первую часть 31, проходящую в корпусе 21, вторую часть 32 и третью часть 33. Вторая часть 32 проходит, по существу, параллельно верхней пластине 21b снаружи корпуса 21, когда первая часть 31 вставлена через отверстие (не показано), созданное в корпусе 21, в направлении по стрелке Р и затем повернута в направлении по стрелке R до примыкания расположенной напротив поверхности 31а первой части 31 к внутренней поверхности боковой пластины 21с корпуса 21, а также содержит вырез 32а (Фиг.14), через который проходит болт 129 для подвешивания. Третью часть 33 устанавливают вплотную к нижнему торцу 21d боковой пластины 21с корпуса 21 для использования ее в качестве опоры этому нижнему торцу 21d, когда первая часть 31 вставлена через отверстие (не показано), созданное в корпусе 21, в направлении по стрелке Р и затем повернута в направлении по стрелке R до примыкания расположенной напротив поверхности 31а первой части 31 к внутренней поверхности боковой пластины 21с корпуса 21.
Более конкретно, кронштейны 28 для подвешивания выполнены, по существу, U-образной формы, при которой вторая часть 32 и третья часть 33 проходят от верхнего и нижнего концов первой части 31 параллельно друг другу. Первая часть 31, вторая часть 32 и третья часть 33 изготовлены как единая деталь из одной листовой заготовки, например, с использованием обработки давлением. Таким образом, можно легко изготовить кронштейны 28 для подвешивания и можно уменьшить стоимость производства.
Как показано на Фиг.15, кронштейн 28 для подвешивания прикрепляют к боковой пластине 21с корпуса 21 посредством винта 35 в том положении, когда расположенная напротив поверхность 31а первой части 31 примыкает к внутренней поверхности этой боковой пластины 21с корпуса 21. В этом случае вторая часть 32 примыкает к верхнему краю отверстия (не показано), созданному в корпусе 21, и третья часть 33 в качестве крючка зацепляет нижний торец 21d боковой пластины 21с корпуса 21. Соответственно, кронштейн 28 для подвешивания выполнен такой конструкции, чтобы самостоятельно выдерживать вес корпуса 21. Поэтому винт 35 служит исключительно для соединения кронштейна 28 для подвешивания и боковой пластины 21с, и этот винт 35 сам не воспринимает вес корпуса 21. Таким образом, даже если винт 35 ослаблен, кронштейн 28 для подвешивания поддерживает корпус 21 посредством второй части 32 и третьей части 33, и это предотвращает высвобождение кронштейна 28 для подвешивания из соединения с корпусом 21.
Кронштейн 28 для подвешивания используют, чтобы подвесить основное тело 20 внутреннего блока к балке перекрытия через болт 129 для подвешивания, и если высота основного тела 20 внутреннего блока изменяется, то болт 129 для подвешивания регулируют. В положениях (на четырех углах), соответствующих кронштейнам 28 для подвешивания, расположены угловые панели 102. Таким образом, когда угловая панель 102 снята, открываются кронштейны 28 для подвешивания, и в результате можно легко получить доступ к болтам 129 для подвешивания. Соответственно, имеется преимущество, заключающееся в том, что можно легко получить доступ к кронштейнам 28 для подвешивания снаружи, просто сняв угловые панели 102.
В этом варианте реализации настоящего изобретения кронштейн 28 для подвешивания имеет область 34 временного крепления, предназначенную для временного крепления лицевой панели 100 (Фиг.1) к третьей части 33, как показано на Фиг.15. Область 34 временного крепления представляет собой крючок, созданный путем изгибания концевого участка третьей части 33 в направлении вверх, и ее создают как единое целое с первой частью 31 и второй частью 32 при изготовлении с использованием обработки давлением.
Кроме того, кронштейн 28 для подвешивания имеет резьбовое отверстие 33а, созданное в третьей части 33, как показано на Фиг.14. Резьбовые отверстия 33а используют, когда лицевую панель 100 прикрепляют к корпусу посредством винтов и они служат в качестве областей для окончательной фиксации.
Как описано выше, при наличии области 34 временного крепления в третьей части 33 кронштейна 28 для подвешивания к этой области 34 временного крепления можно легко получить доступ, когда угловая панель 102 снята, и это позволяет временно прикрепить лицевую панель 100 к области 34 временного крепления. Кроме того, нет необходимости создавать область временного крепления отдельно от кронштейна для подвешивания, в результате чего можно уменьшить количество деталей и, как следствие, можно снизить стоимость производства. Более того, в третьей части 33 кронштейна 28 для подвешивания создано резьбовое отверстие 33а. Соответственно, после временного крепления лицевой панели рабочий может окончательно прикрепить лицевую панель на корпусе 21, не изменяя положение лестницы-стремянки, на которой он стоит, что позволяет усовершенствовать технологию монтажа.
На Фиг.16 представлен общий вид, на котором показана угловая область лицевой панели 100, с которой снята угловая панель. На Фиг.16 приведено изображение для того состояния, когда внутренний блок 10 подвешен, в перевернутом виде.
Как показано на Фиг.16, угловая область лицевой панели 100 имеет углубленный участок 41, расположенный ниже по уровню, чем поверхность лицевой панели 100, и открытую область 42, созданную между углубленным участком 41 и краем 100А лицевой панели 100. Углубленный участок 41 и открытая область 42 закрываются угловой панелью 102 (Фиг.1). Открытая область 42 создана в положении, соответствующем кронштейну 28 для подвешивания, установленному на корпусе 21, и через эту открытую область 42 можно получить доступ к кронштейну 28 для подвешивания.
При таком выполнении углубленный участок 41 имеет посадочное место 43, полученное в результате продолжения части этого углубленного участка 41 в направлении открытой области 42, и в этом посадочном месте создано сквозное отверстие 44, предназначенное для прикрепления лицевой панели 100 к корпусу 21.
На краю посадочного места 43 размещен крюкообразный элемент 151, который зацепляют за область 34 временного крепления. Крюкообразный элемент 151 изготовлен путем изгибания металлической пластины, например пластинчатой пружины или тому подобного, и имеет основание 52, прикрепленное к посадочному месту 43, упругую часть 53, которая является продолжением основания 52 и проходит вверх (на Фиг.16 – вниз), и крючок 54, который зацепляют за область 34 временного крепления, созданный путем изгибания концевого участка упругой части 53 в направлении внутрь. Крючок 54 создан таким образом, что угол между ним и упругой частью 53 в месте их пересечения составляет приблизительно 45°. Основание 52 проходит от торца посадочного места 43 в область нижней поверхности этого посадочного места 43 (на Фиг.16 – верхней поверхности) и прикреплено к посадочному месту 43 посредством винта 45. Как описано выше, при этом выполнении крюкообразный элемент 151 расположен на краю открытой области 42, поэтому он не закрывает эту область 42 и не препятствует работе.
Кроме того, крюкообразный элемент 151 размещен на краю каждой из пары находящихся друг против друга по диагонали открытых областей 42 из числа открытых областей лицевой панели 100 (не показаны). Соответственно, в случае миникассетного внутреннего блока 10, имеющего небольшие габариты в горизонтальной плоскости, рабочий может установить и снять лицевую панель в одиночку, работая одной рукой с каждым из крюкообразных элементов 151, размещенных в расположенных друг против друга по диагонали открытых областях лицевой панели 100.
Далее со ссылкой на Фиг.17 будет описана операция монтажа лицевой панели 100 на корпусе.
Сначала располагают руки в расположенных друг против друга по диагонали открытых областях 42 и пальцем отклоняют в направлении наружу (на Фиг.17 в направлении по стрелке Х) верхний край (то есть крючок 54) крюкообразного элемента 151, расположенного в открытой области 42. В этом состоянии поднимают вверх лицевую панель 100 и зацепляют крючок 54 крюкообразного элемента 151 за область 34 временного крепления на кронштейне 28 для подвешивания. При таком исполнении крюкообразный элемент 151 изготовлен из пластинчатой пружины, и поэтому упругая часть 53 возвращается в исходное состояние при освобождении пальцем крючка 54, в результате чего область 34 временного крепления на кронштейне 28 для подвешивания и крючок 54 крюкообразного элемента 151 сцепляются друг с другом, и лицевая панель 100 временно прикреплена к корпусу 21.
Затем винт 60 вставляют в сквозное отверстие 44 (Фиг.16), созданное в каждом посадочном месте 43 лицевой панели 100, и закрепляют этот винт 60 в резьбовом отверстии 33а, созданном в третьей части 33 каждого из кронштейнов 28 для подвешивания. Таким образом, лицевую панель можно легко прикрепить к корпусу 21. Кроме того, когда лицевая панель снята, можно выполнить операцию, обратную операции установки.
Как описано выше, согласно этому варианту реализации настоящего изобретения, в кондиционере потолочного типа, который имеет корпус 21, предназначенный для размещения в нем воздухонагнетателя 23 и теплообменника 24 внутреннего блока, лицевую панель 100, расположенную с нижней стороны корпуса 21, и кронштейны 28 для подвешивания, размещенные на боковых пластинах 21с корпуса, и в котором корпус 21 подвешивают к балке перекрытия, и опорой этому корпусу служат болты для подвешивания, опускающиеся от упомянутой балки и вставленные в кронштейны 28 для подвешивания, каждый из кронштейнов 28 для подвешивания содержит первую часть 31, проходящую в корпусе 21, вторую часть 32, которая проходит в направлении наружу корпуса через отверстие, созданное в корпусе 21, таким образом, что она, по существу, параллельна верхней пластине 21b, и третью часть 33, которую зацепляют за нижний торец 21d боковой пластины 21с корпуса 21 для создания опоры нижнему торцу 21d боковой пластины. Третья часть 33 снабжена областью 34 временного крепления, предназначенной для временного крепления лицевой панели 100. Таким образом, за счет использования части кронштейна 28 для подвешивания можно временно прикрепить лицевую панель 100 к этому кронштейну 28 для подвешивания и можно упростить схему временного крепления лицевой панели 100. Более того, нет необходимости создавать область 34 временного крепления отдельно. Соответственно, можно уменьшить количество деталей и, как следствие, можно снизить стоимость производства.
Согласно этому варианту реализации настоящего изобретения, третья часть 33 имеет резьбовое отверстие 33а, с использованием которого выполняют окончательную фиксацию на корпусе 21 лицевой панели 100, находящейся в состоянии временного крепления, и поэтому временное крепление и окончательную фиксацию лицевой панели 100 к корпусу 21 можно выполнять, используя третью часть 33 кронштейнов 28 для подвешивания, и можно упростить схему установки лицевой панели 100. Кроме того, резьбовое отверстие 33а и область 34 временного крепления расположены в третьей части 33 кронштейна 28 для подвешивания. Следовательно, после временного крепления лицевой панели 100 ее можно окончательно закрепить на корпусе 21, не меняя положения лестницы-стремянки, на которой стоит рабочий, и, таким образом, можно усовершенствовать технологию монтажа.
Более того, согласно этому варианту реализации настоящего изобретения, область 34 временного крепления создана путем изгибания концевого участка третьей части 33, поэтому можно легко создать область 34 временного крепления и можно упростить схему временного крепления лицевой панели 100.
Далее, согласно этому варианту реализации настоящего изобретения, лицевая панель 100 имеет открытые области 42, закрываемые угловыми панелями 102, которые расположены на четырех углах лицевой панели 100 в соответствии с положением кронштейнов 28 для подвешивания; паре открытых областей 42 из упомянутых четырех открытых областей 42, которые расположены друг против друга по диагонали на лицевой панели 100, соответствуют крюкообразные элементы 151, которые входят в зацепление с областями 34 временного крепления, и, таким образом, при снятии угловых панелей 102 можно легко получить доступ к крюкообразным элементам 151. Соответственно, крюкообразные элементы 151 и области 34 временного крепления можно легко сцепить/расцепить. Кроме того, расположение крюкообразных элементов соответствует положению открытых областей 42, находящихся друг против друга по диагонали. Поэтому в случае внутреннего блока 10 так называемого миникассетного типа, имеющего небольшие габариты в горизонтальной плоскости, рабочий может с легкостью установить/снять лицевую панель в одиночку, одной рукой работая с каждым из крюкообразных элементов 151, находящихся друг против друга по диагонали лицевой панели.
Настоящее изобретение не ограничивается описанным выше вариантом его реализации, и на основе общей технической идеи настоящего изобретения могут быть выполнены модификации и изменения различного типа. В описанном выше варианте реализации настоящего изобретения область 34 временного крепления выполнена как единое целое с третьей частью путем изгибания концевого участка третьей части, однако настоящее изобретение не ограничивается таким способом. Например, область временного крепления можно создать отдельно от третьей части и прикрепить ее к третьей части за счет таких способов соединения как сварка, привинчивание или тому подобное.
Четвертый вариант
На Фиг.18 представлена схема размещения кондиционера 102 потолочного типа, соответствующего четвертому варианту реализации настоящего изобретения, в подвесном потолке 101 с ячеистой структурой, если смотреть на кондиционер с нижней стороны.
Этот подвесной потолок с ячеистой структурой имеет множество удерживающих реек 103, которые подвешены к перекрытию при помощи множества элементов для подвешивания (не показаны). Эти удерживающие рейки 103 установлены с получением ячеистой структуры, в каждой ячейке, ограниченной удерживающими рейками 103, возникает открытая область 104 между удерживающими рейками. В этом варианте реализации настоящего изобретения каждая из открытых областей между удерживающими рейками имеет размер 600 мм х 600 мм. В соответствующих открытых областях 104 между удерживающими рейками установлены потолочная панель 105, соответствующая размеру открытой области и формирующая поверхность подвесного потолка, блок 106 освещения, предназначенный для освещения помещения, кондиционер 102, предназначенный для кондиционирования помещения, и т.д.
На Фиг.19 представлен общий вид кондиционера 102 с нижней его стороны, и на Фиг.20 представлен вид кондиционера 102 в продольном разрезе.
Кондиционер 102, соответствующий этому варианту реализации настоящего изобретения, представляет собой кондиционер кассетного типа с подачей воздуха в четырех направлениях, габариты которого в горизонтальной плоскости соответствуют открытой области 104 между удерживающими рейками, и этот кондиционер имеет основное тело 111, подвешенное к перекрытию посредством болтов для подвешивания, и лицевую панель 112, прикрепленную к нижней поверхности основного тела 111 кондиционера, как показано на Фиг.19 и 20.
Как показано на Фиг.19 и 20, основное тело 111 кондиционера имеет корпус 113, формирующий внешние очертания (габариты в горизонтальной плоскости) этого кондиционера 102. Корпус выполнен, по существу, в виде короба, имеющего открытую область на нижней поверхности, и содержит верхнюю пластину 113А и боковые пластины 113В. Как показано на Фиг.19, в четырех угловых областях на внешних поверхностях боковых пластин 113В расположены кронштейны 114 для подвешивания, и эти кронштейны 114 для подвешивания закрепляют на болтах 110 для подвешивания, опускающихся от перекрытия, в результате чего корпус 113 подвешивают болтами 110 для подвешивания и используют в качестве поддержки этого корпуса упомянутое перекрытие.
Как показано на Фиг.20, на всей внутренней поверхности верхней пластины 113А и боковых пластин 113 В корпуса 113, как и в случае первого варианта, размещен теплоизоляционный материал 115, изготовленный из пенополистирола. К верхней пластине 113А корпуса 113 прикреплен вентилятор 116 для нагнетания воздуха и с внешней стороны по всей периферии вентилятора 116 для нагнетания воздуха размещен внутрикомнатный теплообменник 117. Воздух, который всасывается через порт 121 всасывания воздуха (описан позднее) на лицевой панели 112 вентилятором 116 для нагнетания воздуха, подается во внутрикомнатный теплообменник 117, и, кроме того, воздух, подвергнутый теплообмену во внутрикомнатном теплообменнике 17, нагнетается из порта 122 нагнетания воздуха (описан позднее) на лицевой панели 112. Ниже внутрикомнатного теплообменника 117 размещен дренажный поддон 118, изготовленный из пенополистирола, предназначенный для приема капель водяного конденсата, падающих из этого теплообменника 117.
Лицевая панель 112 имеет тело 120 лицевой панели, выполненное, по существу, прямоугольной формы в плане, как показано на Фиг.19, и тело 120 лицевой панели имеет порт 121 всасывания воздуха, созданный, по существу, в центре этого тела 120, порт 122 нагнетания воздуха, созданный на каждой из четырех сторон тела 120 лицевой панели таким образом, чтобы проходить вдоль каждой из упомянутых сторон тела 120. Решетка 123 всасывания воздуха с возможностью свободного снятия установлена в порте 121 всасывания воздуха, также в порте 121 всасывания воздуха установлен фильтр 124 для удаления пыли, содержащейся в воздухе, протекающем через порт 121 всасывания воздуха в корпус 113. Кондиционер 102 всасывает воздух, находящийся внутри помещения, через порт 121 всасывания воздуха в корпус 113, подвергает этот воздух теплообмену и затем нагнетает его через порт 122 нагнетания воздуха в помещение.
Кроме того, на четырех углах тела 120 лицевой панели ниже кронштейнов 114 для подвешивания, показанных на Фиг.19, созданы боковые отверстия 125 лицевой панели (см. Фиг.21 и 23), и на теле 120 лицевой панели с возможностью свободного снятия установлены угловые панели 130 таким образом, чтобы закрывать боковые отверстия 125 лицевой панели. Как и в случае вариантов реализации настоящего изобретения с первого по третий, когда устанавливается кондиционер 102 или регулируется его высота, рабочий или другой человек снимает угловую панель 130, чтобы открыть боковое отверстие 125 лицевой панели, просовывает руку или инструмент в боковое отверстие 125 лицевой панели для получения доступа к болту 110 для подвешивания и работает с этим болтом 110 для подвешивания, чтобы расположить кондиционер 102 или совершить аналогичные действия. Поэтому требуется, чтобы угловую панель 130 можно было легко установить/снять во время работы для легкого и быстрого выполнения этой работы, и чтобы реализовать на практике легкость установки/снятия угловых панелей, тело 120 лицевой панели и угловые панели 130 согласно этому варианту реализации настоящего изобретения конструктивно выполнены рассмотренным ниже образом.
На Фиг.21 представлен вид одной угловой области 120А из четырех угловых областей тела 120 лицевой панели, если смотреть со стороны помещения, и на этом чертеже показано состояние, когда угловая панель 130 и решетка 123 всасывания воздуха сняты. На Фиг.22 представлен общий вид угловой панели 130 со стороны ее обратной поверхности. В данном случае обратная поверхность угловой панели 130 представляет собой поверхность этой панели, обращенную в пространство под сводом помещения, когда угловая панель установлена на теле 120 лицевой панели. На Фиг.23 и 24 представлены схемы, иллюстрирующие способ установки угловой панели 130 на основное тело 120 лицевой панели/снятия угловой панели 130 с основного тела 120 лицевой панели. На Фиг.23 представлен момент перед установкой угловой панели 130 на тело 120 лицевой панели, и на Фиг.24 представлен момент после установки угловой панели 130 на тело 120 лицевой панели. В приведенном ниже описании четыре угловых области лицевой панели 112 имеют, по существу, одинаковую конструкцию и поэтому далее они будут рассмотрены на примере одной угловой области 120А. Подобным же образом четыре угловые панели 130, размещенные на четырех углах тела 120 лицевой панели, имеют, по существу, одинаковую конструкцию, поэтому далее они будут рассмотрены на примере одной угловой панели 130.
Сначала будет описана угловая область 120А тела 120 лицевой панели, в которой закрепляют угловую панель 130.
Как показано на Фиг.24, тело 120 лицевой панели имеет раму 180, выполненную как каркас, окружающий порты 122 нагнетания воздуха, и эта рама 180 имеет четыре рамных элемента 181. Два рамных элемента 181А и 181В, показанные на Фиг.21, создают прямой угол между собой в зоне угловой области 120А тела 120 лицевой панели, и угловая область 120А представляет собой продолжение бокового отверстия 125 лицевой панели в сторону свода помещения. Со стороны бокового отверстия 125 лицевой панели, которая обращена в сторону помещения, создана открытая область 131 для монтажа (далее называемая открытой областью), в которую входит угловая панель 130. Открытая область 131 выполнена, по существу, прямоугольной формы в соответствии с формой угловой панели 130, в результате чего угловая панель 130 входит в эту открытую область 131. На внутренней торцевой поверхности внешней угловой части 132 открытой области 131 создано внешнее отверстие 133 зацепления, представляющее собой углубление, обращенное в направлении от центра (направление от центра указано стрелкой на Фиг.21, и это направление далее будет называться “направлением наружу”), из общего числа четырех угловых частей открытой области 131. Внешнее отверстие 133 зацепления представляет собой отверстие зацепления, в которое входит внешняя лапка 152 зацепления (Фиг.22) угловой панели 130, которая будет описана позднее.
На внутренней торцевой поверхности открытой области 131 в двух боковых угловых частях 134, соседних с внешней угловой частью 132, из общего числа четырех угловых частей открытой области 131 созданы боковые отверстия 135 зацепления, как показано на Фиг.21 и 23. Боковые отверстия 135 зацепления представляют собой отверстия зацепления, в которые входят боковые лапки 154 зацепления (Фиг.22) угловой панели 130, которые будут описаны позднее.
Кроме того, во внутренней угловой части 136, расположенной в направлении к центру, из общего числа четырех угловых частей открытой области 131 создана внутренняя угловая стенка 140.
Как показано на Фиг.21 и 23, внутренняя угловая стенка 140 представляет собой элемент, который соединяет поверхности 182, 183 (Фиг.23 и 24) внутренних стенок двух рамных элементов 181А и 181В, и эта стенка 140 содержит ограничивающую пластину 186 и посадочную часть 142.
Ограничивающая пластина 186 представляет собой элемент в виде пластины, за счет которого открытая область 131 и порт 121 всасывания воздуха отделены друг от друга, и эта пластина проходит в направлении помещения и, в то же время, под наклоном наружу относительно тела 120 лицевой панели. В ограничивающей пластине 186 на поверхности внутренней угловой стенки создано боковое отверстие 141 зацепления путем удаления части материала этой ограничивающей пластины 186, как показано на Фиг.23. Это боковое отверстие 141 зацепления на поверхности внутренней угловой стенки представляет собой отверстие зацепления, в которое входит выступ 159, созданный в крепежной ножке 156 угловой панели 130, которая описана позднее. В данном случае ограничивающая пластина 186 наклонена в направлении наружу, так как выступ 159 (Фиг.22) крепежной ножки 156 угловой панели 130 перемещают в направлении к боковому отверстию 141 зацепления на поверхности внутренней угловой стенки, когда угловую панель 130 устанавливают в открытую область 131, но это более подробно будет описано ниже.
В основании внутренней угловой стенки 140 со стороны порта 121 всасывания воздуха выполнена посадочная часть 142. Посадочная часть 142 представляет собой посадочное место, к которому примыкает площадка 158 (Фиг.22) крепежной ножки 156, выполненной на угловой панели 130, которая описана позднее, и эту площадку 158 прикрепляют к посадочной части 142. Посадочная часть 142 имеет посадочный выступ 145, проходящий в сторону порта 121 всасывания воздуха (в направлении к центру). Посадочный выступ 145 снабжен резьбовым отверстием 144, в которое завинчивают фиксирующий винт 143, предназначенный для прикрепления угловой панели 130 к телу 120 лицевой панели.
Этот посадочный выступ 145 выполнен таким образом, что он выступает в сторону порта 121 всасывания воздуха. Соответственно, при установке решетки 123 всасывания воздуха в порт 121 всасывания воздуха посадочный выступ 145 и фиксирующий винт 143, завинченный в резьбовое отверстие 144 на этом посадочном выступе 145, не видны из помещения, в результате чего улучшается внешний вид кондиционера.
Как показано на Фиг.22, угловая панель 130 выполнена таким образом, чтобы она имела прямоугольную форму, соответствующую форме открытой области 131, а внешняя периферийная стенка 150, идущая в сторону перекрытия, создана таким образом, чтобы она проходила вдоль двух внешних сторон из общего числа четырех сторон угловой панели 130. Во внешней периферийной стенке 150 угловой панели создана внешняя лапка 152 зацепления, выступающая в направлении наружу и расположенная во внешней угловой части из числа четырех угловых частей угловой панели 130. Внешняя лапка 152 зацепления входит во внешнее отверстие 133 зацепления (Фиг.21), созданное в открытой области 131.
Кроме того, во внешней периферийной стенке 150 угловой панели в двух боковых угловых частях 153, соседних с внешней угловой частью 132, созданы боковые лапки 154 зацепления, которые должны входить в боковые отверстия 135 зацепления (Фиг.21 и 23), созданные в открытой области 131. Далее, во внутренней угловой части 155, расположенной со стороны ближе к центру, из общего числа четырех угловых частей угловой панели размещена крепежная ножка 156.
Крепежная ножка 156 изготовлена из материала, обладающего упругостью, и имеет прямостоящую часть 157, проходящую в сторону перекрытия, и площадку 158, которая выполнена таким образом, чтобы отклоняться от концевого участка прямостоящей части 157 в сторону центра, как показано на Фиг.22.
Прямостоящая часть 157 снабжена выступом 159, проходящим в направлении наружу, как показано на Фиг.22. Этот выступ 159 входит в боковое отверстие 141 зацепления на поверхности внутренней угловой стенки 140, описанное выше, а на внешней поверхности этого выступа 159 создан наклонный участок 160, который наклонен в направлении к центру. Этот наклонный участок 160 направляет выступ 159 в боковое отверстие 141 зацепления на поверхности внутренней угловой стенки 140, когда угловую панель 130 устанавливают в открытую область 131.
Кроме того, площадка 158 приводится в контакт с посадочной частью 142, описанной выше, и закрепляется на этой части 142, и на этой площадке 158 выполнено сквозное отверстие 161, ориентированное в направлении от перекрытия к помещению. Это сквозное отверстие 161 представляет собой отверстие, через которое проходит фиксирующий винт 143. Когда угловую панель 130 и тело 120 лицевой панели соединяют друг с другом, как показано на Фиг.23 и 24, в сквозное отверстие 161 устанавливают специальный фиксирующий винт 143, завинчивая его в резьбовое отверстие 144, что позволяет прикрепить угловую панель 130 к телу 120 лицевой панели посредством резьбового соединения.
На площадке 158 длина L1 (см. Фиг.22) участка, проходящего в направлении внутрь (к центру) от края сквозного отверстия 161, превышает длину L2 (Фиг.21) участка, проходящего в направлении внутрь (к центру) от края резьбового отверстия 144 в посадочной части 142, и при установке угловой панели 130 в открытой области 131 концевой участок площадки 158 проходит внутрь (к центру) дальше по сравнению с посадочной частью 142, и рабочий или другой человек может взяться за эту удлиненную часть. Соответственно, при вынимании угловой панели 130 из открытой области 131 рабочий или другой человек берется за эту площадку 158 и при помощи этой площадки 158 перемещает угловую панель 130, в результате чего угловая панель 130 высвобождается из открытой области 131.
Установка угловой панели 130 на теле 120 лицевой панели происходит следующим образом.
А именно, угловую панель 130 временно прикрепляют в открытой области 131 тела 120 лицевой панели, не используя фиксирующий винт 143, когда решетка 123 всасывания воздуха снята с тела 120 лицевой панели, а затем производят окончательную фиксацию угловой панели 130 на теле 120 лицевой панели посредством фиксирующего винта 143. После этого к телу 120 лицевой панели прикрепляют решетку 123 всасывания воздуха.
Более конкретно, как показано на Фиг.23, внешнюю лапку 152 зацепления на угловой панели 130 зацепляют как крючок во внешнем отверстии 133 зацепления в открытой области 131, и внутреннюю угловую часть 136 угловой панели 130 перемещают с усилием в сторону перекрытия, когда внешняя лапка 152 зацепления вошла во внешнее отверстие 133 зацепления.
Когда угловую панель 130 перемещают с усилием в сторону перекрытия, боковые лапки 154 зацепления на угловой панели 130 входят внутрь открытой области 131 и затем упруго защелкиваются в боковых отверстиях 135 зацепления. В то же время прямостоящая часть 157 крепежной ножки 156 на угловой панели 130 и выступ 159 направляются за счет наклона внутренней угловой стенки 140 и перемещаются по этой стенке 140 со стороны порта 121 всасывания воздуха. При этом наклонный участок 160 выступа 159 направляет этот выступ 159 таким образом, что выступ 159, скользя, перемещается в сторону перекрытия, одновременно находясь в контакте с внутренней угловой стенкой 140. Одновременно с этим прямостоящая часть 157 упруго деформируется в соответствии с наклоном наклонного участка 160 выступа 159. При последующем прижимании угловой панели 130 наклонный участок 160 направляет выступ 159, и этот выступ попадает в боковое отверстие 141 зацепления на поверхности внутренней угловой стенки 140, в результате чего выступ 159 упруго фиксируется в этом отверстии 141, и операция временного крепления заканчивается.
После временного крепления фиксирующий винт 143 устанавливают через сквозное отверстие 161, созданное в площадке 158 крепежной ножки 156, и завинчивают в резьбовом отверстии 144, созданном в посадочном выступе 145 посадочной части 142, таким образом выполняя окончательную фиксацию. После окончательной фиксации решетку 123 всасывания воздуха устанавливают на порт 121 всасывания воздуха. В то же время, посадочный выступ 145 выполнен таким образом, что он выступает в сторону порта 121 всасывания воздуха, как описано выше, поэтому фиксирующий винт 143 не виден после того, как решетка 123 всасывания воздуха установлена, как показано на Фиг.18 и 19.
Как описано выше, согласно этому варианту реализации настоящего изобретения, временное крепление угловой панели 130 можно выполнить путем легкого и простого зацепления внешней лапки 152 зацепления, созданной на угловой панели 130, как крючка во внешнем отверстии 133 зацепления, созданном в теле 120 лицевой панели, и последующего перемещения с усилием угловой панели в сторону перекрытия. Таким образом, работу можно сделать легко и быстро. Кроме того, в период временного крепления угловая панель 130 установлена в открытой области 131 посредством внешней лапки 152 зацепления, боковых лапок 154 зацепления и выступа 159 крепежной ножки 156, которые созданы в четырех угловых частях угловой панели 130, поэтому можно гарантированно сохранять состояние временного крепления угловой панели. Следовательно, можно предотвратить падение угловой панели 130 после выполнения операции временного крепления и, таким образом, повысить безопасность.
Далее будет описана операция снятия угловой панели 130 с тела 120 лицевой панели.
При снятии угловой панели 130, как показано на Фиг.24, сначала снимают решетку 123 всасывания воздуха с тела 120 лицевой панели, открывается фиксирующий винт 143, завинченный в посадочной части 142, и после этого этот фиксирующий винт 143 вывинчивают. При этом даже во время снятия фиксирующего винта 143 (в состоянии временного крепления) угловая панель 130 не падает, как описано выше, и поэтому рабочий или другой человек может выполнять работу по вывинчиванию фиксирующего винта 143, используя обе руки. В результате можно увеличить эффективность и скорость работы, а также повысить безопасность.
После вывинчивания фиксирующего винта 143 берутся за площадку 158 крепежной ножки 156, площадку 158 перемещают в сторону центра (в направлении, указанном стрелкой Y1 на Фиг.24) для деформирования упругим образом прямостоящей части 157 крепежной ножки 156, выступ 159 прямостоящей части 157 вытягивают из бокового отверстия 141 зацепления на поверхности внутренней угловой стенки 140, чтобы вывести выступ 159 из зацепления с упомянутым отверстием 141, и затем площадку 158 перемещают с усилием вниз в сторону помещения, в результате чего внутренняя угловая часть 136 угловой панели 130 перемещается в сторону помещения. Одновременно с перемещением угловой панели 130 в сторону помещения выходят из зацепления в боковых отверстиях 135 зацепления в открытой области 131 боковые лапки 154 зацепления на угловой панели 130, а также выходит из зацепления во внешнем отверстии 133 зацепления в открытой области 131 внешняя лапка 152 зацепления на угловой панели 130. Таким образом, выходят из зацепления все четыре угловые части угловой панели 130, и угловую панель 130 снимают с тела 120 лицевой панели.
Как описано выше, согласно этому варианту реализации настоящего изобретения, угловую панель 130 можно снять с тела 120 лицевой панели, просто взявшись за площадку 158 крепежной ножки 156 на угловой панели 130 и деформировав упругим образом площадку 158 для перемещения угловой панели 130 в сторону помещения, и работа может быть выполнена легко и быстро. Кроме того, во время операции снятия даже при вынутом фиксирующем винте 143 предотвращается падение угловой панели 130 и, как следствие, может быть повышена безопасность.
Кроме того, согласно этому варианту реализации настоящего изобретения, угловую панель 130 снимают с тела 120 лицевой панели, перемещая тянущим движением угловую панель 130 в направлении помещения. При этом, например, в случае применения схемы снятия угловой панели 130 путем сдвига угловой панели 130 в направлении наружу, учитывая соседнее расположение кондиционера 102 и блока 106 освещения, как показано на Фиг.18, блок 106 освещения расположен в той области, куда сдвигают угловую панель 130, и поэтому этот блок 106 препятствует сдвигу угловой панели 130, в результате чего снятие затрудняется. Однако, в этом варианте реализации настоящего изобретения, угловую панель 130 снимают, перемещая ее в сторону помещения, и поэтому, например, даже при соседнем расположении кондиционера 102 и блока 106 освещения, как показано на Фиг.18, не возникает такой ситуации, что блок 106 освещения мешает снятию угловой панели 130, и не возникает трудностей при снятии этой панели.
Как описано выше, согласно этому варианту реализации настоящего изобретения, когда угловую панель 130 прикрепляют к телу 120 лицевой панели, это легко и быстро можно сделать путем зацепления внешней лапки 152 зацепления угловой панели 130 во внешнем отверстии 133 зацепления в теле 120 лицевой панели с последующим перемещением с усилием угловой панели 130 в направлении перекрытия. Более того, когда угловую панель 130 снимают с тела 120 лицевой панели, это быстро можно сделать, взявшись за площадку 158 крепежной ножки 156 угловой панели 130, смещая площадку 158 в направлении к центру, для деформирования упругим образом прямостоящей части 157 крепежной ножки 156, вытягивая выступ 159 прямостоящей части 157 из бокового отверстия 141 зацепления на поверхности внутренней угловой стенки, чтобы вывести их из взаимного зацепления, а затем перемещая угловую панель 130 в направлении помещения посредством площадки 158. Как описано выше, согласно этому варианту реализации настоящего изобретения, можно снизить стоимость и упростить конструкцию устройства, не используя каких-либо специальных элементов, таких как постоянный магнит, пластина и т.д., одновременно сохраняя легкость установки/снятия угловой панели 130.
Кроме того, согласно этому варианту реализации настоящего изобретения, на концевом участке крепежной ножки 156 создана площадка 158, проходящая над посадочной частью 142, что позволяет легко и надежным образом взяться за эту площадку 158, в результате чего работу можно выполнить легко и эффективным образом.
В описанный вариант реализации настоящего изобретения могут быть внесены любые модификации и изменения, не выходящие за пределы сущности и объема этого изобретения. Например, кондиционер 102 устанавливают в подвесной потолок с ячеистой структурой, однако настоящее изобретение может быть применено к кондиционеру встроенного типа, когда кондиционер монтируют в отверстии, выполненном в перекрытии. Кондиционер 102, соответствующий этому варианту реализации настоящего изобретения, представляет собой кондиционер кассетного типа с подачей воздуха в четырех направлениях и габаритами в горизонтальной плоскости 600 мм × 600 мм, однако настоящее изобретение не ограничивается этим типом кондиционера. Например, настоящее изобретение может быть применено для кондиционера с габаритами в горизонтальной плоскости 640 мм × 640 мм или для кондиционера с подачей воздуха в двух направлениях.
Формула изобретения
1. Внутренний блок кондиционера потолочного типа, содержащий корпус в виде короба, имеющий верхнюю пластину, боковые пластины и открытую область, выполненную в нижней части этого корпуса, лицевую панель, установленную с возможностью снятия в открытой области корпуса, теплообменник внутреннего блока, за счет которого корпус внутри разделен на основное пространство и дополнительное пространство, и воздухонагнетатель, прикрепленный к верхней пластине корпуса с той стороны этой пластины, которая обращена в основное пространство, дополнительно содержащий: теплоизоляционный материал основного пространства, размещенный на верхней пластине таким образом, что его поверхность обращена в основное пространство корпуса; и теплоизоляционный материал дополнительного пространства, размещенный на боковых пластинах таким образом, что его поверхность обращена в дополнительное пространство корпуса, причем теплоизоляционный материал основного пространства снабжен открытой областью, которая позволяет прикрепить воздухонагнетатель к верхней пластине.
2. Внутренний блок кондиционера потолочного типа по п.1, в котором теплоизоляционный материал основного пространства и теплоизоляционный материал дополнительного пространства изготовлены как единое целое.
3. Внутренний блок кондиционера потолочного типа по п.1, в котором внутренняя поверхность теплоизоляционного материала основного пространства, которая обращена в сторону воздухонагнетателя, выполнена плоской.
4. Внутренний блок кондиционера потолочного типа по п.1, в котором на внутренней поверхности теплоизоляционного материала основного пространства выполнен вырез, в котором проходят провода, и упомянутая внутренняя поверхность снабжена фиксатором проводов, предназначенным для закрепления проводов в вырезе и прикрепления теплоизоляционного материала основного пространства к верхней пластине корпуса.
5. Внутренний блок кондиционера потолочного типа, содержащий корпус в виде короба, имеющий верхнюю пластину, боковые пластины и открытую область, выполненную в нижней части этого корпуса, лицевую панель, установленную с возможностью снятия в открытой области корпуса, теплообменник внутреннего блока, за счет которого упомянутый корпус внутри разделен на основное пространство и дополнительное пространство, и воздухонагнетатель, прикрепленный к верхней пластине корпуса с той стороны этой пластины, которая обращена в основное пространство, дополнительно содержащий: порт нагнетания воздуха, выполненный вытянутой формы и проходящий вдоль боковой стороны лицевой панели; заслонку, которая проходит в продольном направлении порта нагнетания воздуха и имеет валы качания на обоих концах; и посадочное место, имеющее монтажное отверстие, в котором с возможностью качания устанавливают каждый из валов качания, и шаговый двигатель, предназначенный для приведения в действие вала качания заслонки, причем каждый из валов качания заслонки снабжен выступом, выступающим от внешней периферийной поверхности вала качания, и стенка монтажного отверстия, выполненного в посадочном месте, снабжена, по меньшей мере, одним вырезом зацепления, который контактирует с упомянутым выступом для регулирования диапазона качания заслонки.
6. Внутренний блок кондиционера потолочного типа по п.5, в котором стенка монтажного отверстия посадочного места снабжена двумя вырезами зацепления, которые имеют взаимно симметричное расположение.
7. Внутренний блок кондиционера потолочного типа по п.5, в котором монтажное отверстие выполнено цилиндрической формы.
8. Кондиционер потолочного типа, содержащий корпус в виде короба, имеющий верхнюю пластину, боковые пластины и открытую область, выполненную в нижней части этого корпуса, лицевую панель, установленную с возможностью снятия в открытой области корпуса, теплообменник внутреннего блока, за счет которого корпус внутри разделен на основное пространство и дополнительное пространство, воздухонагнетатель, прикрепленный к верхней пластине корпуса с той стороны этой пластины, которая обращена в основное пространство, и кронштейны для подвешивания, которые выполнены на боковых пластинах корпуса и через которые вставляют болты подвешивания, опускающиеся от балок перекрытия, для подвешивания корпуса к перекрытию, в котором каждый из кронштейнов для подвешивания содержит первую часть, проходящую в корпусе, вторую часть, проходящую через отверстие, выполненное в корпусе, наружу корпуса, по существу, параллельно верхней пластине, и третью часть, которую зацепляют за нижний торец боковой пластины корпуса для создания опоры для упомянутого нижнего торца боковой пластины корпуса и которая снабжена областью временного крепления, предназначенной для временного крепления лицевой панели к корпусу.
9. Кондиционер потолочного типа по п.8, в котором упомянутая третья часть снабжена областью окончательной фиксации, предназначенной для окончательной фиксации временно закрепленной панели на корпусе.
10. Кондиционер потолочного типа по п.8, в котором область временного крепления создана путем изгибания вверх концевого участка третьей части.
11. Кондиционер потолочного типа по п.8, в котором лицевая панель снабжена открытыми областями на четырех ее углах, которые соответствуют кронштейнам для подвешивания, причем эти открытые области лицевой панели закрыты угловыми панелями, и каждая из пары открытых областей, расположенных друг против друга по диагонали из числа открытых областей лицевой панели, снабжена крюкообразным элементом, который зацепляют за область временного крепления.
12. Кондиционер потолочного типа, содержащий корпус в виде короба, имеющий верхнюю пластину, боковые пластины и открытую область, выполненную в нижней части этого корпуса, лицевую панель, установленную с возможностью снятия в открытой области корпуса, теплообменник внутреннего блока, за счет которого корпус внутри разделен на основное пространство и дополнительное пространство, воздухонагнетатель, прикрепленный к верхней пластине корпуса с той стороны этой пластины, которая обращена в основное пространство, и угловую панель, установленную с возможностью снятия в каждой из четырех угловых областей тела лицевой панели, в котором угловая панель снабжена лапкой зацепления, выполненной с возможностью зацепления в отверстии зацепления, созданном в каждой из четырех угловых областей тела лицевой панели, и крепежную ножку, которая создана в одной угловой области угловой панели таким образом, что она проходит к посадочной части, выполненной на внутренней угловой стенке тела лицевой панели, и закреплена в этой посадочной части при установке угловой панели на теле лицевой панели.
13. Кондиционер потолочного типа по п.12, в котором крепежная ножка выполнена из упругого материала и снабжена выступом, выполненным с возможностью зацепления в отверстии зацепления, созданном на внутренней угловой стенке.
14. Кондиционер потолочного типа по п.12, в котором на концевом участке крепежной ножки создана площадка, проходящая над посадочной частью, когда угловая панель установлена на тело лицевой панели. Приоритет по пунктам:
25.07.2007 по пп.1-4;
25.07.2007 по пп.5-7;
06.08.2007 по пп.8-11;
06.08.2007 по пп.12-14.
РИСУНКИ
|
|