|
|
(21), (22) Заявка: 2005129905/28, 26.09.2005
(24) Дата начала отсчета срока действия патента:
26.09.2005
(30) Конвенционный приоритет:
27.09.2004 JP 2004-280751
(43) Дата публикации заявки: 10.04.2007
(46) Опубликовано: 27.04.2010
(56) Список документов, цитированных в отчете о поиске:
ЕР 933792 А1, 04.08.1999. JP 2001-184993 A, 06.07.2001. JP 11-273494 A, 08.10.1999. SU 1830152 A3, 23.07.1993.
Адрес для переписки:
129090, Москва, ул. Б.Спасская, 25, стр.3, ООО “Юридическая фирма Городисский и Партнеры”, пат.пов. Ю.Д.Кузнецову, рег. 595
|
(72) Автор(ы):
ТОЯМА Ясунори (JP)
(73) Патентообладатель(и):
СИТИЗЕН ЭЛЕКТРОНИКС КО., ЛТД. (JP), АЛЬФА КОРПОРЕЙШН (JP)
|
(54) ПЕРЕКЛЮЧАТЕЛЬ С ПОДСВЕТКОЙ
(57) Реферат:
Устройство переключателя с подсветкой содержит подложку, переключатель, расположенный на первой поверхности подложки, источник света, расположенный на второй поверхности подложки, поверхность клавиши, расположенную над переключателем, и механизм световода, предусмотренный в непосредственной близости к поверхности клавиши. Механизм световода содержит первый элемент световода, окружающий и удерживающий поверхность клавиши, и второй элемент световода, предназначенный для накрывания источника света. Свет, излученный от источника света, будет проходить через второй элемент световода на первый элемент световода, расположенный для окружения поверхности клавиши. Технический результат – обеспечение равномерной подсветки. 14 з.п. ф-лы, 4 ил.
Настоящая заявка основывается на приоритетной формуле изобретения патентной заявки Японии 2004-280751, поданной 27 сентября 2004 года, описание которой включено сюда в качестве ссылки во всей полноте.
Область техники, к которой относится изобретение
Настоящее изобретение относится к переключателю с подсветкой, используемому в автомобильных приборах, электрических бытовых приборах, парадных дверях или оборудовании и устройствах, используемых в темноте.
Описание предшествующего уровня техники
Один из известных традиционных переключателей с подсветкой, используемых в измерительных автомобильных приборах, содержит нажимную кнопку, подсвечивающую часть, предусмотренную на нажимной кнопке и множество светодиодов (CuD), размещенных на монтажной плате, а устройство реализовано на световоде, освещаемом светодиодами через подсвечивающую часть на излучающую поверхность, предусмотренную на верхней части нажимной кнопки (см. выложенную патентную заявку Японии 2004-146260, Фиг.3 и абзацы с 0016 по 0022).
Также известно устройство подсветки замочной скважины, содержащее световод, размещенный по периметру замочной скважины, источник света и установленный на боковой или нижней поверхности световода и используемый в ключе зажигания автомобиля; устройство выполнено с возможностью подсветки периметра замочной скважины с помощью световода за счет света излученного отражающей поверхностью (см. выложенную полезную модель Японии S62-137972, Фиг.1 и стр.1).
Однако в структуре переключателя с подсветкой, как описано в выложенном патенте Японии 2004-146260, поскольку расстояние от светодиодов до излучающей поверхности относительно мало, трудно распределить свет в направлении излучающей поверхности и следовательно излучающая поверхность имеет тенденцию быть точечной подсветкой. Наоборот, если рассеивающий материал представлен в подсвечивающей части для получения повышенной эффективности светового рассеяния, существует проблема того, что количество рассеиваемого света снижается.
Более того, в устройстве подсветки замочной скважины как описано в выложенной полезной модели Японии S62-137972 это устройство выполнено для индикации положения замочной скважины в темноте, однако существует проблема, что свет в световоде становится неоднородным, поскольку источник света прикрепляется к части световода. Поэтому в этом устройстве эта структура создает трудности для света, испускаемого от источника света для прохождения вокруг противоположной стороны источника света.
СУЩНОСТЬ ИЗОБРЕТЕНИЯ
Целью настоящего изобретения является обеспечение устройства переключателя с подсветкой, выполненного с возможностью осуществления однородной подсветки поверхности клавиши или подсветки по ее периметру, с тем, чтобы положение поверхности клавиши можно было обнаружить даже в темноте.
В завершение указанной выше задачи, устройство переключателя с подсветкой согласно одному из вариантов осуществления настоящего изобретения содержит подложку, переключатель, установленный на первой поверхности подложки, источник света, предусмотренный на второй поверхности подложки, поверхность клавиши для нажатия переключателя и механизм световода для направления света, излучаемого источником света на поверхность клавиши или по ее периметру.
Механизм световода включает первый элемент световода для удержания поверхности клавиши и второй элемент световода для накрывания источника света. Свет, излучаемый источником света, направляется с помощью второго элемента световода на первый элемент световода.
При такой структуре поверхность клавиши или ее периметр могут освещаться однородно.
В одном варианте осуществляется первый и второй элементы световода выполнены из прозрачного или полупрозрачного полимера. Кроме того, первый элемент световода содержит, по меньшей мере, один светорассеивающий материал или, по меньшей мере, одно светорассеивающее решение, такое как волнообразность или что-то в этом роде, которое применяется к поверхности первого элемента световода.
КРАТКОЕ ОПИСАНИЕ ЧЕРТЕЖЕЙ
Фиг.1 представляет вид сверху переключателя с подсветкой согласно одному варианту осуществления настоящего изобретения.
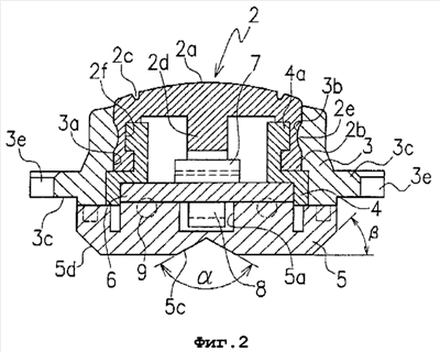
Фиг.2 представляет сечение, взятое по линии А-А на Фиг.1.
Фиг.3 представляет вид спереди переключателя с подсветкой, изображенного на Фиг.1.
Фиг.4 представляет вид снизу переключателя с подсветкой, изображенного на Фиг.1.
ДЕТАЛЬНОЕ ОПИСАНИЕ ПРЕДПОЧТИТЕЛЬНЫХ ВАРИАНТОВ ОСУЩЕСТВЛЕНИЯ ИЗОБРЕТЕНИЯ
Предпочтительные варианты осуществления настоящего изобретения будут подробно объяснены со ссылкой на сопутствующие чертежи, приведенные ниже.
Фиг.1-4 показывают один вариант осуществления устройства 1 переключателя с подсветкой согласно настоящему изобретению. Устройство 1 переключателя с подсветкой включает подложку 6 как показано на Фиг.2. Переключатель 7 размещается на первой поверхности, например, на верхней поверхности подложки 6, а источник света, например светодиод 8, размещается на второй поверхности подложки 6 (см. Фиг.2), например на нижней поверхности подложки 6 (см. фиг.2). Переключатель 7 прикрепляется к центру монтажной платы (не показано), предусмотренной на верхней поверхности подложки 6, а светодиод 8, подключенный к монтажной плате (не показано), предусмотрен на нижней стороне подложки 6. Переключатель 7 и светодиод 8 размещаются на центральной оси устройства 1 переключателя с подсветкой.
Поверхность клавиши 2 устанавливается сверху выключателя 7 для функционирования переключателя 7. Поверхность клавиши 2 выполнена из эластичного материала, например, такого как силикон. Поверхность клавиши 2 образована из прямоугольного цилиндра, имеющего равномерно скругленную верхнюю стенку 2а и боковую 2b, проходящую от верхней стенки 2а (см. Фиг.1 и 2). Поверхность клавиши 2 также снабжена канавкой 2с, предусмотренной по периферийному краю верхней поверхности или внешней поверхности верхней стенки 2а, а стоечная часть 2d предусмотрена на центральной оси устройства 1 переключателя с подсветкой для продолжения к переключателю 7 (см. Фиг.1 и 2). В результате свет, отраженный от светодиода 8, может осуществлять равномерную круговую подсветку поверхности клавиши 2.
Первый элемент световода 3 предусмотрен для окружения поверхности клавиши 2. Первый элемент световода 3 в проиллюстрированном варианте осуществления содержит трубчатый каркас световода, выполненный из прозрачного или полупрозрачного полимера, содержащего, по меньшей мере один светорассеивающий материал. Также, по меньшей мере, одно светорассеивающее решение, такое как волнистость или что-нибудь в этом роде, может быть осуществлено с поверхностью каркаса 3 световода вместо включения светорассеивающего материала в каркас 3 световода. Боковая стенка 2b поверхности клавиши 2 вставлена в центральное отверстие 3а, предусмотренное в каркасе 3 световода. Внешняя поверхность боковой стенки 2b поверхности клавиши 2, снабженная вогнутой частью 2е и выпуклой частью 3b для вхождения в контакт с вогнутой частью 2е, предусмотрена в центральном отверстии 3а каркаса 3 световода. Тем самым поверхность клавиши 2 нелегко отделить от каркаса 3 световода.
В каркасе 3 световода также предусмотрен фланец 3с, как показано на Фиг.1. Фланец 3с включает множество вырезов 3d и, как минимум, два полукруглых монтажных отверстия 3е для крепления устройства 1 переключателя с подсветкой на любое выбранное положение.
Блокирующий каркас 4 предусмотрен на внутренней поверхности боковой стенки 2b поверхности клавиши 2 как показано на Фиг.2. Блокирующий каркас 4 предназначен для удержания поверхности клавиши 2 изнутри, а поверхность клавиши 2 удерживается между блокирующим каркасом 4 и каркасом 3 световода. Блокирующий каркас 4 имеет верхнюю часть, которая монтируется в боковой стенке 2b поверхности клавиши 2, а нижняя часть, которой монтируется на подложке 6. Вогнутая часть 2f предусмотрена на внутренней поверхности 2а поверхности клавиши 2, а выпуклая часть 4а, подогнанная к вогнутой части 2f, предусмотрена на верхней части блокирующего каркаса 4. Предпочтительно чтобы выпуклая часть 4а была установлена в положении, обращенном к выпуклой части 3b каркаса 3 световода. Таким образом, боковая стенка 2b поверхности клавиши 2 удерживается выпуклой частью 4а блокирующего каркаса 4 и выпуклой частью 3b каркаса 3 световода, обращенной к выпуклой части 4а.
Второй элемент 5 световода размещается на нижней поверхности подложки 6 для накрывания светодиода 8 (см. Фиг.2). Второй элемент 5 световода содержит заглушку световода, выполненную из прозрачного полимера. Заглушка 5 световода имеет вогнутую часть 5а, которая предусмотрена в центральной части верхней поверхности заглушки 5 световода. Светодиод 8 устанавливается в вогнутой части 5а.
Заглушка 5 световода также снабжена крючками 5b (см. Фиг.1), установленными по четырем углам в верхней части и светоотражающей части. Светоотражающая часть включает коническую вогнутую часть 5с, установленную в центральной части нижней поверхности заглушки 5 световода, обращенной к вогнутой части 5а, и наклонную поверхность 5d, сформированную на внешней периферии заглушки 5 световода (см. Фиг.2). Заглушка 5 световода прочно соединена с каркасом 3 световода защелкивающимися крючками 5b в вырезах 3d каркаса 3 световода. В то же время поверхность клавиши 2 прочно удерживается между каркасом 3 световода и блокирующим каркасом 4 как описано выше, а подложка 6 также удерживается между заглушкой 5 световода и блокирующим каркасом 4.
Каркас 3 световода и заглушка 5 световода загерметизированы в соединительной части по периферии подложки 6 посредством прозрачного или полупрозрачного полимера типа эпоксидной смолы (не показано). Поскольку поверхность клавиши 2 и каркас 3 световода находятся в тесном контакте, как описано выше, а соединительная часть каркаса 3 световода и заглушки 5 световода загерметизированы посредствам прозрачного или полупрозрачного полимера, устройство 1 переключателя с подсветкой имеет водонепроницаемую структуру.
В этом варианте осуществления светодиод 8, который является единой компоновкой, содержащей синий светодиод для излучения белого цвета, монтируется в центральной части монтажной панели на нижней стороне подложки 6.
Свет, излученный от светодиода 8, отражается от конического вогнутого элемента 5с и наклонной поверхности 5d заглушки 5 световода как описано ниже. Как показано на Фиг.2 путем соответствующего отбора вершины угла конического вогнутого элемента 5с и угла наклона наклонной поверхности 5d, свет, излучаемый светодиодом 8 сейчас, передается на каркас 3 световода, не допуская рассеяние света от заглушки 5 световода. Далее в одном варианте осуществления изобретения указано, что оптимальная величина находится между 90° и 150°, а оптимальная величина находится между 60° и 120°.
Множество проволочных выводов 9 подсоединяются к монтажной плате, которая обеспечивает электрические контакты с переключателем 7 и светодиодом 8, расположенным на подложке 6. Желательно, чтобы множество проволочных выводов 9 проходили от подложки 6 через пограничную поверхность каркаса световода 3 и заглушку 5 световода на внешнюю сторону устройства переключателя с подсветкой. Предпочтительно, чтобы проволочные выводы 9, проходящие на внешнюю сторону устройства переключателя с подсветкой, были расположены таким образом, чтобы иметь максимально большое пространство между собой. В одном варианте осуществления изобретения соответствующие два проволочных вывода 9 проходят от обоих противоположных поверхностей устройства 1 переключателя с подсветкой, и соответствующие два проволочных вывода 9 располагаются так, чтобы иметь зазор между собой. Конец каждого из проволочных выводов 9, проходящий на внешнюю сторону переключателя с подсветкой, соединяется с внешней электрической цепью (не показано).
Далее, режим использования устройства переключателя с подсветкой объясняется в соответствии с вариантом осуществления изобретения, описанным ниже.
Светодиод 8 начинает светиться в результате подачи на него электрического тока посредством проволочных выводов 9. Свет, излучаемый светодиодом 8, распространяется во всех направлениях посредством конического вогнутого элемента 5с заглушки 5 световода и отражается на наклонной поверхности 5d, затем поступает на расположенный на верху каркас 3 световода. Свет, который входит и проходит через каркас 3 световода, рассеивается в каркасе 3 световода для равномерного подсвечивания поверхности 2 клавиши, а подсвечивание вокруг поверхности клавиши 2 имеет место в общем, кольцеобразном состоянии здесь.
Таким образом, можно воздействовать на клавишу путем нажатия на ее поверхность, которая подсвечивается однородным светом даже в темноте. Когда поверхность 2 клавиши нажимается для функционирования ею, поверхность 2 клавиши упруго деформируется в нижнем направлении, а стоечная часть 2d нажимает на переключатель 7, тем самым переключатель 7 включается и электрическая схема, которая подсоединена к переключателю 7 с помощью проволочных выводов, начинает функционировать.
Более того, в вышеупомянутом варианте осуществления поверхность 2 клавиши выполнена из упругого материала, а канавка 2с предусмотрена по периферийной части верхней поверхности 2 клавиши для того, чтобы облегчить верхнюю и нижнюю деформацию. Свет, излучаемый от светодиода, может рассеиваться во всех направлениях с помощью конического вогнутого элемента 5с, даже если в качестве источника света используется только одна компоновка, содержащая синий светодиод для излучения белого цвета. Более того, свет, рассеиваемый коническим вогнутым элементом, отражается на наклонной поверхности 5d и затем направляется на расположенный на верху каркас 3 световода. Свет, который входит в каркас 3 световода, эффективно передается и рассеивается, так как, по меньшей мере, один светорассеивающийся материал содержится в прозрачном или полупрозрачном каркасе 3 световода. В результате свет, переданный и рассеянный через каркас 3 световода, равномерно подсвечивает зону вокруг поверхности клавиши.
Синий светодиод, используемый здесь в единой компановке как источник света, в общем дорогостоящий, однако, в варианте осуществления согласно настоящему изобретению даже одной компоновки, содержащей единственный светодиод, достаточно для подсветки поверхности клавиши, поскольку свет, излучаемый светодиодом, используется эффективно. Следовательно, конфигурации согласно настоящему изобретению обеспечивают производство недорогих переключателей с подсветкой.
Устройство 1 переключателя с подсветкой может быть обнаружено даже в темноте из-за равномерно подсвечиваемой поверхности клавиши или ее положения. Более того, она имеет водонепроницаемую структуру. Поэтому устройство переключателя с подсветкой согласно настоящему изобретению может быть использовано в разных устройствах и оборудовании, установленной снаружи, например, любые переключатели, предусмотренные на автомобиле. Поскольку проволочные выводы 9 проходящие от подложки 6, расположены так, чтобы проходить сбоку от устройства переключателя с подсветкой, передача света от источника света к поверхности клавиши не рассеивается проволочными выводами. Кроме того, пропускание света не блокируется, поскольку прозрачный и полупрозрачный полимер используется для соединительной поверхности каркаса 3 световода и заглушки 5 световода. Более того, поскольку переключатель 7 и светодиод 8 могут быть легко заменены в зависимости от условий и требований, возможно быстро реагировать на требования пользователя. Более того, поскольку производство основных частей устройства переключателя с подсветкой согласно настоящему изобретению может быть недорогим за счет использования полимерной технологии, снижение стоимости может быть достижимо.
Согласно настоящему изобретению поверхность клавиши и область, ее окружающая, равномерно подсвечиваются, а местоположение клавиши может быть легко обнаружено даже в темноте, как указано выше. Более того, возможно, предусмотреть устройства переключателя с подсветкой с хорошими реализуемыми функциями и конструктивными особенностями путем выбора подходящего источника света без повышения стоимости.
Кроме того, настоящее изобретение необязательно ограничивается вышеупомянутым вариантом осуществления. Например, вырезы могут быть предусмотрены на заглушке 5 световода, а крючки могут быть предусмотрены на каркасе 3 световода для обеспечения жесткого сцепления между каркасом 3 световода и заглушкой 5 световода.
Более того, первый и второй элементы световода могут быть сварными или могут быть выполнены как единое целое. В этом случае легко монтируемый переключатель с подсветкой может выпускаться с небольшими изменениями формы частей элементов. Источник света не ограничивается комплектом светодиодов, содержащим синий светодиод; другие светодиодные комплекты, например одноцветный светодиодный комплект или многоцветный светодиодный комплект, содержащие, по меньшей мере, один светодиод, флуоресцентные материалы и/или красящее вещество, могут использоваться в качестве источника света. Более того, множество светодиодных элементов, имеющих разные цвета, например красный (R), зеленый (G), синий (В), могут быть скомпонованы в одном блоке. В этих случаях цвет испускаемого света может быть изменен для соответствия разным целям. Более того, яркость источника света может изменяться за счет использования увеличенного числа светодиодов. В вышеупомянутом варианте осуществления вместо упомянутого светодиодного комплекта или элемента в качестве источника света может использоваться лампа.
Кроме того, свет, испускаемый светодиодом, как источником света и проходящий через заглушку 5 световода на поверхность клавиши 2, может быть эффективно заблокирован от излучения из заглушки 5 световода путем установки отражающего слоя на внешней поверхности заглушки 5 световода, исключая верхние поверхности, которые обращены к источнику света, и верхнюю поверхность, соединенную с каркасом 3 световода.
Светоотражающий слой может быть создан, например, металлическим покрытием, напылением или покраской. Для хорошего дизайна пластиковая пластина может прикрепляться к верхней поверхности клавиши с целью получения блестящего металлического внешнего вида поверхности. Также источник света может быть снабжен верхней (внешней) поверхностью подложки, которая является стороной, к которой прикрепляется переключатель для подсветки поверхности клавиши. В этом случае поверхность клавиши выполнена из прозрачного или полупрозрачного материала.
Устройство переключателя с подсветкой согласно настоящему изобретению может использоваться в автомобилях, автомобильных измерительных приборах, электронных бытовых устройствах, парадных дверях или устройствах и оборудовании, которое может использоваться в темноте.
Формула изобретения
1. Устройство переключателя с подсветкой, содержащее: подложку; переключатель, предусмотренный на первой поверхности подложки; источник света, предусмотренный на второй поверхности подложки; поверхность клавиши, предусмотренная над переключателем; и механизм световода, предусмотренный в непосредственной близости к поверхности клавиши, при этом механизм световода содержит первый элемент световода для того, чтобы окружать и удерживать поверхность клавиши в положении, и второй элемент световода, предназначенный для накрывания источника света, и при этом свет, излученный от источника света, проходит через второй элемент световода на первый элемент световода, расположенный для окружения поверхности клавиши.
2. Устройство по п.1, в котором первый и второй элементы световода выполнены из прозрачного полимера.
3. Устройство по п.2, в котором по меньшей мере один светорассеивающий материал содержится в первом элементе световода.
4. Устройство по п.2, в котором по меньшей мере одно светорассеивающее решение применяется к поверхности первого элемента световода.
5. Устройство по п.1, в котором второй элемент световода имеет, по меньшей мере, одну светоотражающую часть для отражения света, излученного от источника света.
6. Устройство по п.5, в котором светоотражающая часть включает коническую вогнутую часть, обеспеченную в центральной части нижней поверхности второго элемента световода, и наклонную поверхность, обеспеченную на внешней периферии нижней поверхности второго элемента световода.
7. Устройство по п.2, в котором первый и второй элементы световода соединяются друг с другом.
8. Устройство по п.1, в котором один из первого и второго элементов световода включает множество крючков, другой включает множество вырезов, и в котором первый и второй элементы световода соединяются путем сцепления крючков и вырезов.
9. Устройство по п.1, в котором переключатель и источник света монтируются на монтажной плате, размещенной на первой и второй поверхностях подложки, в котором проволочные выводы проходят от монтажной платы к внешней стороне устройства переключателя с подсветкой и, в котором проволочные выводы, переходящие к внешней стороне устройства переключателя с подсветкой, располагаются на расстоянии друг от друга.
10. Устройство по п.1, в котором светоотражающий слой располагается на внешней поверхности второго элемента световода, исключая верхние поверхности.
11. Устройство с подсветкой по п.10, в котором отражающий слой образован посредством одного из способов: металлического покрытия, напыления, разбрызгивания и покраски.
12. Устройство по п.1, дополнительно содержащее блокирующий каркас, расположенный на поверхности клавиши, в котором поверхность клавиши удерживается блокирующим каркасом и первым элементом световода.
13. Устройство по п.1, в котором первый и второй элементы световода изготовлены как единое целое.
14. Устройство по п.1, в котором поверхность клавиши выполнена из упругого полимера, и в котором предусмотрена канавка на внешней поверхности клавиши.
15. Устройство по п.1, в котором источник света электрически подключен к переключателю и поверхность клавиши выполнена с возможностью активирования переключателя.
РИСУНКИ
|
|